Рельсовая плита предназначена для использования в конструкции безбалластного пути с плитным основанием. В рельсовой плите, содержащей тело плиты 4 с заливными отверстиями 7, имеющими четырехгранную форму со скругленными углами, с нижней поверхностью тела плиты 4 интегрировано упругое полимерное основание 5, а верхняя поверхность тела плиты 4 снабжена опорными подушками 6 для рельсов, интегрированными с телом плиты 6. Упругое полимерное основание 5 выполнено из закрытопористого полимерного материала, предпочтительно на основе вспененной композиции полимеров полиолефиновой группы или вспененных эластомеров. Упругое основание 5 из закрытопористого полимерного материала дополнительно может быть интегрировано (соединено) с боковыми поверхностями заливных отверстий 7. Технический результат, получаемый от использования полезной модели, заключается в повышении долговечности и надежности железнодорожного полотна безбалластной конструкции и сохранности подвижного состава за счет обеспечения регулировки общей жесткости конструкции безбалластного верхнего строения пути, а также за счет перераспределения динамической нагрузки от колеса подвижного состава на большую площадь безбалластного верхнего строения пути. 3 ил.
1. Рельсовая плита, содержащая тело плиты с заливными отверстиями, имеющими четырехгранную форму со скругленными углами, при этом с нижней поверхностью тела плиты интегрировано упругое полимерное основание, а верхняя поверхность тела плиты снабжена опорными подушками для рельсов, интегрированными с телом плиты, отличающаяся тем, что упругое полимерное основание выполнено из закрытопористого полимерного материала. 2. Рельсовая плита по п. 1, отличающаяся тем, что в качестве закрытопористого полимерного материала использован материал на основе вспененной композиции полимеров полиолефиновой группы. 3. Рельсовая плита по п. 1, отличающаяся тем, что в качестве закрытопористого полимерного материала использован материал на основе вспененных эластомеров. 4. Рельсовая плита по п. 1, отличающаяся тем, что в качестве закрытопористого полимерного материала использована вспененная композиция полимераполиолифиновой группы Gener. 5. Рельсовая плита по п. 1, отличающаяся тем, что в качестве закрытопористого полимерного материала использован материал на основе вспененного полиуретана Sylodyn. 6. Рельсовая плита по п. 1, отличающаяся тем, что в качестве закрытопористого полимерного материала использован материал на основе полиуретанового эластомера Vibrafoam. 7. Рельсовая плита по любому из пп. 1-5, отличающаяся тем, что упругое основание соединено с боковыми поверхностями заливных отверстий.
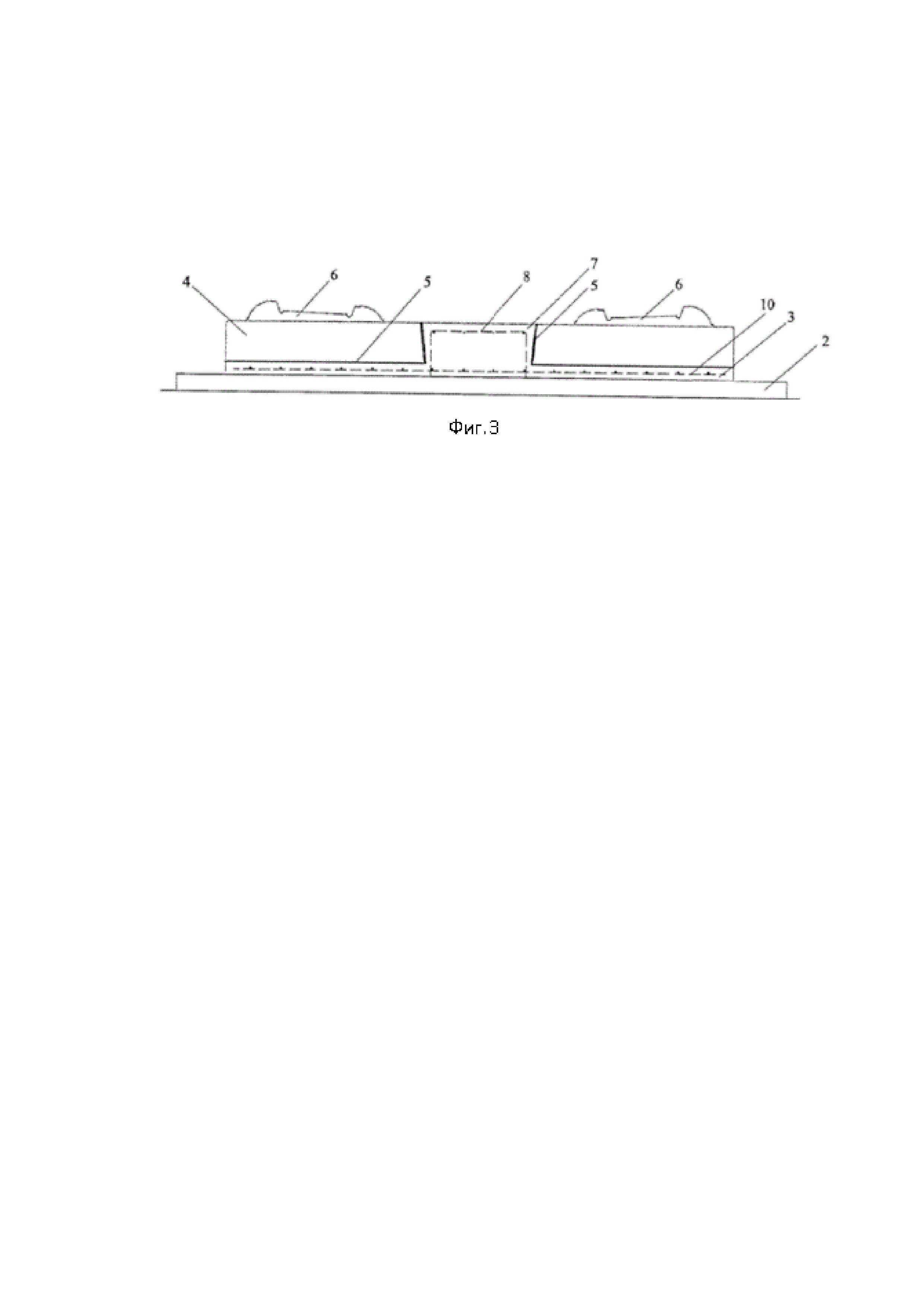
Полезная модель относится к скоростным железным дорогам, в частности к конструкции рельсовой плиты для безбалластного пути с плитным основанием. Из уровня техники известны рельсовые плиты, раскрытые в патенте RU 2588352, опубликованном 27.06.2016. Данное техническое решение направлено на повышение сопротивления деформациям. Рельсовая плита из предварительно напряженного бетона для безбалластного пути с плитным основанием содержит тело плиты, в котором предусмотрены встроенные крепежные трубы, и содержит продольные и поперечные ряды стержней из ненапряженной стали. Стержни закреплены в теле плиты по длине и ширине с помощью анкерных концевых пластин и крепежных устройств. Недостатки известной конструкции рельсовой плиты заключаются в следующем: - большой вес рельсовой плиты; - отсутствуют технические решения, обеспечивающие вибрационную и шумовую защиту окружающих конструкций и среды. Наиболее близким аналогом заявленной полезной модели является рельсовая плита, предназначенная для установки на фундамент безбалластного пути, содержащая тело плиты и упругое основание, при этом тело плиты в средней части снабжено по меньшей мере двумя заливными отверстиями с размещенным в них арматурным каркасом, а упругое основание интегрировано с нижней поверхностью тела плиты и с боковыми поверхностями заливных отверстий. Предпочтительно упругое основание выполнено полимерным. Рельсовая плита установлена с образованием пространства между рельсовой плитой и фундаментом безбалластного пути, заливаемого самоуплотняющимся бетоном. Опорные подушки для рельсов установлены на верхней поверхности плиты. Заливные отверстия выполнены сужающимися в направлении от верхней поверхности тела плиты к его нижней (патент РФ на полезную модель RU 213548, 15.09.2022 г.). В наиболее близком аналоге упругое основание, интегрированное с нижней поверхностью тела плиты, является разделительным слоем, причем в его функцию не входит регулировка общей жесткости плитных конструкций безбалластного верхнего строения пути. Техническая проблема, на решение которой направлено заявленная полезная модель, заключается в повышении долговечности и надежности железнодорожного полотна безбалластной конструкции и сохранности подвижного состава. Указанная техническая проблема решается за счет совокупности существенных признаков, обеспечивающих регулировку общей жесткости конструкции безбалластного верхнего строения пути. Регулировка общей жесткости конструкции безбалластного верхнего строения пути позволяет перераспределить динамическую нагрузку от колеса на большую площадь безбалластного верхнего строения пути, тем самым уменьшить возможность выхода из строя как элементов верхнего строения пути, так и элементов подвижного состава. Заявленная рельсовая плита, как и наиболее близкий аналог RU 213548, имеет упругое основание в виде упругого слоя полимерного материала, интегрированного (скрепленного) с нижней поверхностью тела плиты и, в частности, с боковыми поверхностями заливных отверстий. Отличие заявленного устройства от наиболее близкого аналога состоит в том, что для изготовления упругого основания использован полимерный материал с закрытыми порами, при этом слой полимерного материала наносится или наклеивается на нижнюю поверхность рельсовой плиты при ее изготовлении. Упругое основание полимерного материала с закрытыми порами не поглощает воду, сохраняет свои свойства в зимний период и обеспечивает постоянную общую жесткость конструкции, не зависимо от внешних условий. Технический результат, получаемый от использования полезной модели, заключается в повышении долговечности и надежности железнодорожного полотна безбалластной конструкции и сохранности подвижного состава за счет обеспечения регулировки общей жесткости рельсовой плиты, входящей в конструкцию безбалластного верхнего строения пути, а также за счет перераспределения динамической нагрузки от колеса подвижного состава на большую площадь безбалластного верхнего строения пути. Это позволяет уменьшить вероятность выхода из строя как элементов верхнего строения пути, так и элементов подвижного состава. Полезная модель обеспечивает стабильность характеристик упругого основания на всем протяжении срока эксплуатации при отсутствии необходимости его периодического обслуживания. Достижение технического результата обусловлено тем, что в рельсовой плите, содержащей тело плиты с заливными отверстиями, имеющими четырехгранную форму со скругленными углами, с нижней поверхностью тела плиты интегрировано упругое полимерное основание, а верхняя поверхность тела плиты снабжена опорными подушками для рельсов, интегрированными с телом плиты, при этом упругое полимерное основание выполнено из закрытопористого полимерного материала. В качестве закрытопористого полимерного материала предпочтительно использован материал на основе вспененной композиции полимеров полиолефиновой группы или вспененных эластомеров, например, материал на основе вспененного полиуретана, в частности Sylodyn (торговое наименование австрийского производителя), Sylomer (торговое наименование Российского производителя), или материал на основе полиуретанового эластомера Vibrafoam, или вспененная композиция полимера полиолифиновой группы Gener. Для компенсации продольных сил во время эксплуатации, в том числе, на искусственных сооружениях, которым свойственны наиболее большие перемещения пролетных строений от температурных нагрузок, упругое основание из закрытопористого полимерного материала дополнительно может быть интегрировано (соединено) с боковыми поверхностями заливных отверстий. Таким образом, использование упругого основания, выполненного из закрытопористого полимерного материала, позволяет получать общую жесткость конструкции, необходимую для конкретных условий, параметры которой не зависят от времени года и от присутствия влаги. В случае использования полимерного материала с открытыми порами набор воды материалом может привести к вымыванию цементных частиц из промежуточного слоя из самоуплотняющегося бетона, а также к замерзанию воды в осенне-зимний период и значительному увеличению его жесткости. В заявленном техническом решении жесткость полимерного закрытопористого материала и его толщина подбираются в соответствии с требованиями и условиями планируемой эксплуатации подобной конструкции, при этом свойства полимерного сохраняются длительное время практически без изменений, обеспечивая долговечность эксплуатации и надежность функционирования железнодорожного полотна безбалластной конструкции и, соответственно, сохранность подвижного состава. Полезная модель поясняется чертежами. На фиг. 1 изображен вид сверху рельсовой плиты. На фиг. 2 изображен продольный разрез рельсовой плиты в средней ее части. На фиг. 3 изображен поперечный разрез рельсовой плиты по заливному отверстию. Конструкция рельсовой плиты описана ниже на одном из примеров ее реализации. Рельсовая плита 1 предназначена для установки на фундамент 2 безбалластного пути с образованием пространства 3 между рельсовой плитой 1 и фундаментом 2. Рельсовая плита 1 (см. фиг. 1) содержит тело плиты 4, упругое основание 5 и опорные подушки 6 для рельсов, размещенные на верхней поверхности тела плиты 4 и интегрированные с телом плиты 4. Тело плиты 4 в средней части снабжено по меньшей мере двумя заливными отверстиями 7, имеющими в сечении форму прямоугольника со скругленными углами. Заливные отверстия 7 выполнены сужающимися в направлении от верхней поверхности тела плиты 4 к его нижней поверхности (см. фиг. 2) и предназначены для размещения в них арматурного каркаса 8. Пространство 3 между рельсовой плитой 1 и фундаментом 2 заливают самоуплотняющимся бетоном через заливные отверстия 7. В теле плиты 4 выполнены регулировочные отверстия 9 для регулировки положения плиты при установке ее на фундаменте 2 безбалластного пути посредством домкратов, например, резьбовых, устанавливаемых в регулировочные отверстия 9. Геометрические параметры пути выдерживают за счет непосредственного крепления рельсов к телу плиты 4 при помощи опорными подушками 6 для рельсов, интегрированными с телом плиты, при этом для установки рельсов могут быть использованы упругие резиновые прокладки, дополнительно способствующие снижению жесткости пути. Упругое основание 5 интегрировано (соединено) с нижней поверхностью тела плиты 4 и, кроме того, может быть соединено с боковыми поверхностями заливных отверстий 7. Упругое основание 5 выполнено из полимерного закрытопористого материала, например, на основе вспененной композиции полимеров полиолефиновой группы или вспененных эластомеров. Варьирование параметрами ячеек закрытопористого материала дает возможность изготавливать упругое основание 5 с набором свойств, необходимых для регулировки общей жесткости конструкции безбалластного верхнего строения пути для конкретных условий эксплуатации. Упругое основание 5 наносится на нижнюю поверхность рельсовой плиты или наклеивается на нее при изготовлении плиты, причем в частном случае исполнения упругое основание 5 может быть дополнительно интегрировано с боковой поверхностью заливных отверстий 7. Соединение упругого основания из закрытопористого полимерного материала с боковыми поверхностями заливных отверстий 7 позволяет компенсировать продольные силы от температурной и подвижной нагрузки во время эксплуатации. Особенно это важно для искусственных сооружений, где воздействие температуры на рельсовую плиту проявляется наиболее сильно за счет температурных деформаций пролетного строения моста. Обязательным требованием к закрытопористому полимерному материалу, из которого изготавливают упругое основание 5, является необходимость сохранять под действием воды свои динамические характеристики без существенных изменений в течение длительного периода эксплуатации, при этом материал должен обеспечивать необходимую жесткость и эффективно снижать вибрацию в диапазонах частот и амплитуд колебаний; возникающих при прохождении подвижного состава, а также обладать усталостной прочностью. В мировой практике принято, что для оптимального взаимодействия подвижного состава и конструкции пути необходимо обеспечение упругого прогиба рельса от 1,0 мм до 1,5 мм при воздействии вертикальной нагрузки 100 кН на колесо. Прогиб рельса у0 (мм) для одиночной нагрузки определяется по следующей формуле: где Q0 - нагрузка на колесо, принимается для данного расчета 100 кН; а - расстояние между узлами рельсового скрепления (мм); Ctot - жесткость конструкции безбалластного верхнего строения пути отнесенная к одной рельсовой опоре (кгс/мм2); Lel - упругая длина балки Винклера для рельса Р65 (мм). Для безбалластной конструкции жесткость подрельсового основания и жесткость его отдельных элементов связаны следующим соотношением, по формуле: где Ci - жесткость каждого отдельного упругого элемента (кгс/мм2). Исходя из этих формул производится подбор вида закрытопористого материала и параметров упругого основания в зависимости от применяемого скрепления и типа рельса. Упругая длина балки Винклера для рельса определяется по формуле: где ER - модуль Юнга [Н/мм2] рельса (обычно ER = 210000 Н/мм2); IR - вертикальный момент инерции рельса (для рельса Р65 равен 3540 мм4; а - расстояние между посадочными местами рельса или длина врезанного участка рельса (543 мм). Исходя из требований СТУ, что жесткость узла рельсового скрепления должна быть в диапазоне 30 до 50 кН/мм, а увеличение жесткости допускается не более чем в 2 раза, то для определения полного диапазона жесткости упругого слоя, целесообразно рассматривать значения от 30 до 100 кН. Выполняя расчет по представленным выше формулам, получаем следующие значения: - для жесткости узла рельсового скрепления 30 кН/мм - Сдин = 94,34 кН/мм; - для жесткости 100 кН/мм - Сдин = 232,56 кН/мм. Данные значения соответствуют прогибу рельса от расчетной нагрузки 100 кН 1,06 мм и 0,43 мм соответственно. Высокая динамическая жесткость пути способствует увеличению повреждаемости как элементов верхнего строения пути, так и элементов конструкции ходовой и экипажной части подвижного состава. Увеличение динамической жесткости негативно сказывается на плавности хода и комфорте пассажиров. Введение дополнительного упругого элемента в конструкцию безбалластного верхнего строения пути позволит уменьшить негативное влияния выше указанных факторов, влияющих не только комфорт пассажиров, но и на безопасность движения. Исходя из формулы 3 видно, что введение любой дополнительной жесткости уменьшает общую жесткость системы. Рассчитаем необходимые жесткости дополнительного упругого слоя. При статической жесткости узла скрепления 30 кН/мм необходимо ввести упругий слой жесткостью 125 кН/мм, что позволит достигнуть общей жесткости системы 64 кН/мм. При статической жесткости узла скрепления 100 кН/мм необходимо ввести упругий слой жесткостью 30 кН/мм, что позволит достигнуть общей жесткости системы 60 кН/мм для прогиба 1 мм. В качестве материала для упругого основания может быть использован закрытопористый материал на основе вспененной композиции полимеров полиолефиновой группы или вспененных эластомеров., длительное время сохраняющий эксплуатационные свойства при старении под воздействием статических нагрузок и влажности и обеспечивающий стабильные динамические характеристики в температурном диапазоне от минус 50°С до плюс 70°С. Заявленная рельсовая плита 1 монтируется следующим образом. На фундаменте 2 безбалластного пути размещают рельсовую плиту 1 с формированием пространства 3 между ними. Затем выравнивают положение и наклон рельсовой плиты 1 при помощи резьбовых домкратов, установленных в регулировочные отверстия 9 в теле плиты 4. После принятия рельсовой плитой 1 необходимого положения в заливные отверстия 7 рельсовой плиты 1 устанавливают арматурные каркасы 8. Каркасы 8 размещают так, чтобы их верхняя часть располагалась в плоскости рельсовой плиты 1, а нижняя часть в плоскости пространства 3 между рельсовой плитой 1 и фундаментом 2. На этапе установки арматурных каркасов 8 в пространстве 3 могут быть установлены дополнительные арматурные каркасы 10. Для усиления конструкции арматурные каркасы 8 заливных отверстий 7 и дополнительные арматурные каркасы 10 соединяют друг с другом. После установки всех арматурных каркасов через заливные отверстия 7 рельсовой плиты 1 заливают самоуплотняющимся бетоном пространство 3 и сами заливные отверстия 7 рельсовой плиты 1 с размещенными в них арматурными каркасами 8 и 10.

