патент
№ RU 2160570
МПК A61F2/60

ПРОТЕЗ НА КОРОТКУЮ КУЛЬТЮ ГОЛЕНИ

Авторы:
Шишкин Б.В. Кужекин А.П. Мельник И.В.
Все (6)
Номер заявки
99106115/14
Дата подачи заявки
22.03.1999
Опубликовано
20.12.2000
Страна
RU
Как управлять
интеллектуальной собственностью
Чертежи 
1
Реферат

[22]

Изобретение относится к медицинской технике, а именно к протезам голени. Протез снабжен устройством, состоящим из подвижных относительно друг друга в сагиттальной плоскости частей с заданными параметрами углового перемещения и содержащим упругий элемент, допускающий регулировку его характеристики в соответствии с масс-инерционными величинами пациента, причем верхняя часть устройства жестко связана с приемной гильзой, а нижняя часть - с трубкой голени. Технический результат заключается в создании протеза на короткую неактивную культю голени с подрессоренным подгибанием в коленном узле, что обеспечивает снижение мышечных энерготрат при ходьбе, амортизацию травмирующих толчков, антропоморфность походки. 2 ил.

Формула изобретения

Протез на короткую культю голени, содержащий гильзу бедра, приемную гильзу на короткую культю голени и трубку голени со стопой, отличающийся тем, что он снабжен устройством, состоящим из подвижных относительно друг друга в сагиттальной плоскости частей с заданными параметрами углового перемещения и содержащим упругий элемент, допускающий регулировку его характеристики в соответствии с масс-инерционными параметрами пациента, причем верхняя часть устройства жестко связана с приемной гильзой, а нижняя часть - с трубкой голени.

Описание

[1]

Изобретение относится к области медицинской техники, а именно к протезам голени.

[2]

Наиболее близким по технической сути является протез голени с подвесным чехлом для коротких культей голени, содержащей гильзу бедра, приемную гильзу для короткой культи, звено "голень" и искусственную стопу. Конструкции протезно-ортопедических изделий, под ред. А.П.Кужекина, М., 1984, стр. 63.

[3]

Недостатками прототипа являются отсутствие упругого подгиба в колене при наступании протезом на опору, поскольку короткая неактивная культя голени не в состоянии управлять движениями голени протеза, в результате чего имеет место травмирование коленного и тазобедренного суставов при переднем толчке протезированной конечностью, резко нарушается антропоморфность походки, возрастают энерготраты при ходьбе.

[4]

Целью изобретения является создание протеза на короткую неактивную культю голени с подрессоренным подгибанием в коленном узле, что обеспечивает снижение мышечных энергозатрат при ходьбе, амортизацию травмирующих толчков, антропоморфность походки.

[5]

Поставленная цель достигается тем, что протез на короткую культю голени, содержащий гильзу бедра, приемную гильзу для короткой культи, звено "голень" и искусственную стопу, снабжен устройством, состоящим из подвижных друг относительно друга в сагиттальной плоскости частей с заданными параметрами углового перемещения и содержащим упругий элемент, допускающий регулировку его характеристики в соответствии с масс-инерционными величинами пациента, причем верхняя часть устройства жестко связана с приемной гильзой, а нижняя часть - с трубкой голени.

[6]

Совокупность приведенных признаков, позволяющих изготавливать энерогосберегающие и антропоморфные протезы на короткую культю голени, в науке и технике до даты подачи заявки не обнаружены, что соответствует требованию "новизна".

[7]

Таким образом, заявляемое техническое решение соответствует критерию "положительный эффект".

[8]

Кроме того, соавторами не обнаружено подобных технических решений, следовательно, совокупность существенных признаков отвечает критерию изобретения "существенное отличие".

[9]

На фиг. 1 изображена схема протеза на короткую культю голени.

[10]

Протез содержит гильзу бедра 1, шарнирно соединенную с приемной гильзой 2 для короткой культи голени; устройство для подрессоренного подгибания 3; упругий элемент 4; трубку голени 5 и стопу 6.

[11]

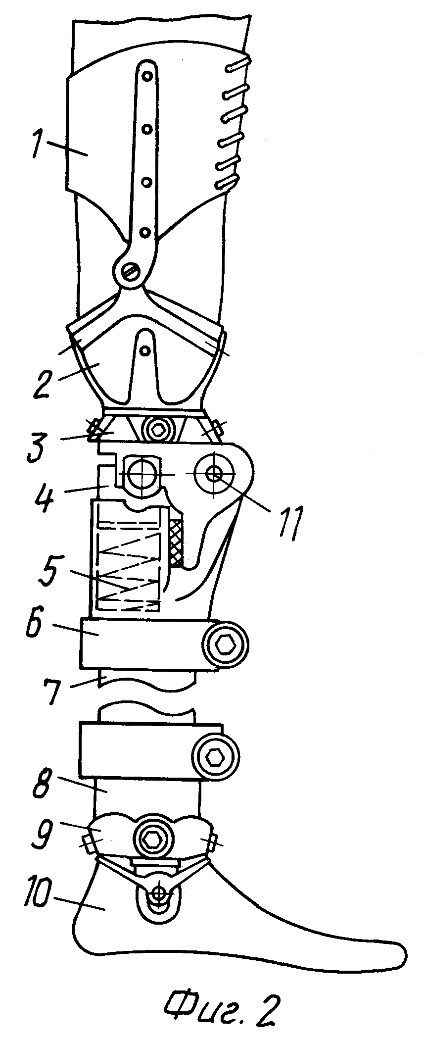
На фиг. 2 изображен конструктивный вариант протеза на короткую культю голени в исходном неподогнутом положении.

[12]

Протез содержит гильзу бедра 1, шарнирно соединенную с приемной гильзой 2 для короткой культи голени; адаптер 3, обеспечивающий соединение приемной гильзы 2 с модулем подгибания 4, в который встроена рессорная пружина 5; хомут 6, фиксирующий резьбовое соединение модуля подгибания с трубкой голени 7; втулку 8 с адаптером 9 для присоединения к трубке голени 7 стопы 10; ось вспомогательного шарнира 11, обеспечивающего взаимный поворот в пределах до 18o приемной гильзы 2 с гильзой бедра 1 относительно дистальной части голени в целях подрессоренного подгибания в первую половину фазы опоры.

[13]

Предлагаемый протез на короткую культю голени функционирует следующим образом.

[14]

В фазе переноса усилие предварительной затяжки рессорной пружины 5 устанавливает модуль подгибания 4 в положении полного разгибания относительно оси вспомогательного шарнира 11.

[15]

В момент наступания на опору под действием опорной реакции в сагиттальной плоскости создается момент относительно оси вспомогательного шарнира 11, в результате чего приемная гильза 2 вместе с гильзой бедра 12 совершает угловое перемещение относительно дистальной части модуля подгибания 4 и трубки голени, что приводит к обжатию рессорной пружины 5.

[16]

Вид упругой характеристики, определяющей характер подрессоренного подгибания, регулируется путем использования набора сменных пружин, а также величиной предварительной затяжки пружины.

[17]

В процессе переката на стопе реакция опоры меняет место приложения к стопе и угол наклона к горизонту, передвигаясь вперед, что сопровождается выходом из подгибания и возвращением рессорной пружины 5 в исходное положение. При переходе линии нагружения протеза вперед от оси вспомогательного шарнира 11 силовой момент, приложенный к модулю подрессоренного подгибания, меняет свой знак относительно указанной оси и модуль полностью разогнут. Вслед за этим начинается основное сгибание в коленном шарнире, соединяющем гильзу бедра 1 с приемной гильзой 2, что достигается поворотом бедра в сторону сгибания. Указанное предшествует переносу протеза над опорой.

[18]

Преимущества предлагаемого протеза перед базовым объектом следующие:
1. Снижаются мышечные энергозатраты при ходьбе за счет накопления потенциальной энергии в упругом элементе в фазу переднего толчка при наступлении на опору с последующим усилением заднего толчка, обеспечивающего поступательное перемещение тела.

[19]

2. Значительно улучшается антропоморфность походки, повышается ее ритмичность и симметрия.

[20]

3. Благодаря подрессоренному подгибанию улучшается амортизация переднего толчка, что устраняет травмирование культи и вышележащих частей тела, которое нарастает со временем.

[21]

4. Благодаря подрессоренному подгибанию допускается увеличение скорости ходьбы.

Как компенсировать расходы
на инновационную разработку
Похожие патенты