патент
№ RU 215869
МПК A61B17/50

УСТРОЙСТВО ДЛЯ ЗАХВАТА КЛЕЩЕЙ, ИХ УДАЛЕНИЯ, ХРАНЕНИЯ И УНИЧТОЖЕНИЯ

Авторы:
Гаусс Константин Робертович
Правообладатель:
Все (2)
Номер заявки
2022126681
Дата подачи заявки
13.10.2022
Опубликовано
30.12.2022
Страна
RU
Как управлять
интеллектуальной собственностью
Чертежи 
3
Реферат

[24]

Полезная модель относится к устройству для захвата клещей, их удаления, хранения и эвтаназии. Устройство выполнено в виде прямоугольного прозрачного двухкамерного корпуса. Боковая стенка первой камеры выполнена в виде задвижной крышки, передняя торцевая стенка первой камеры имеет прорезь остроугольной формы для захвата клеща и закругление со стороны, противоположной прорези. Задняя торцевая стенка первой камеры устройства одновременно является межкамерной перегородкой и передним торцом второй камеры устройства. Устройство снабжено пьезоэлектрическим элементом, смонтированным во второй камере таким образом, что его кнопка размещена в отверстии, выполненном в стенке заднего торца второй камеры устройства. Контактный электрод пьезоэлектрического элемента проходит сквозь отверстие межкамерной перегородки в полость первой камеры устройства, а контактная площадка высоковольтного электрода пьезоэлектрического элемента расположена на внутренней поверхности передней торцевой стенке первой камеры устройства. Контактная площадка высоковольтного электрода пьезоэлектрического элемента выполнена в виде металлической пластины, форма которой повторяет форму внутренней поверхности передней торцевой стенки первой камеры устройства, включая прорезь остроугольной формы. Использование полезной модели позволит расширить ассортимент устройств, предназначенных для удаления и хранения клещей. 3 ил.

Формула изобретения

Устройство для уничтожения клещей, удаленных с кожного покрова, выполненное в виде прямоугольного прозрачного двухкамерного корпуса, в котором задняя торцевая стенка первой камеры устройства одновременно является межкамерной перегородкой и передним торцом второй камеры, при этом устройство снабжено пьезоэлектрическим элементом, смонтированным во второй камере таким образом, что его кнопка размещена в отверстии, выполненном в стенке заднего торца второй камеры, контактный электрод пьезоэлектрического элемента проходит сквозь отверстие межкамерной перегородки в полость первой камеры устройства, а контактная площадка высоковольтного электрода пьезоэлектрического элемента расположена на внутренней поверхности передней торцевой стенки первой камеры устройства, контактная площадка высоковольтного электрода пьезоэлектрического элемента выполнена в виде металлической пластины, форма которой повторяет форму внутренней поверхности передней торцевой стенки первой камеры устройства, включая прорезь остроугольной формы, при этом пластина имеет электрическое соединение с высоковольтным выходом пьезоэлектрического элемента посредством изолированного электропровода.

Описание

[1]

Полезная модель относится к ветеринарии, в частности к устройству для захвата клещей, их удаления, хранения и эвтаназии. Оно может быть использовано как частными лицами, так и специалистами медицинских и ветеринарных учреждений.

[2]

Известно устройство для удаления клещей с двумя частично эластичными захватными рычагами, на свободных концах которых предусмотрены захватные губки, прижатые друг к другу с определенным усилием смыкания, которые могут быть открыты путем нажатия на захваты, выполненные за одно целое на захватных рычагах для приема клеща, причем захватные рычаги в одной точке между захватными элементами и захватными губками неразъемно соединены друг с другом через эластичную опорную перемычку, а их внутренние концы, обращенные в сторону от захватных губок, лежат на наклонных поверхностях, которые выполнены как единое целое с внутренней стороны цельного корпуса, в котором размещены захватные рычаги (см. DE 19827651 С1, опубл. 27.01.2000 г.).

[3]

Известно устройство для удаления клещей, содержащее корпус с наконечником, стержень, расположенный внутри корпуса и снабженный в верхней части нажимной кнопкой, а в нижней части - захватной петлей, при этом внутри корпуса установлена возвратная пружина, опирающаяся на упорную шайбу, при этом наконечник присоединен посредством резьбового соединения к нижней части корпуса, а возвратная пружина установлена между упорной шайбой и наконечником (см. RU 95494 U1, опубл. 10.07.2010).

[4]

Известно устройство для удаления клещей, состоящее из изогнутой в форме зажима упругой проволоки, один конец которого имеет тонкую рукоятку, а другой заканчивается узлом для фиксации клеща. Узел состоит из свободных концов проволоки, согнутых в форме треугольников, которые плотно прижимаются друг к другу основаниям (см. RU №2255687, опубл. 10.07.2005).

[5]

Недостатком всех вышеперечисленных устройств является то, что они только удаляют клеща, при этом большая вероятность раздавить и фрагментировать клеща, а также его потерять при переносе в контейнер для хранения и транспортировки.

[6]

Известно пьезоэлектрическое механическое устройство для удаления клещей с кожи человека или животного, состоящее из пьезоэлектрического элемента, имеющего кнопку для механического сжатия и два металлических электрода - контактный и высоковольтный (см. RU 122277 U1, опубл. 27.11.12 г).

[7]

Недостатком известного устройства является то, что оно только удаляет клеща.

[8]

Наиболее близким аналогом является устройство для снятия, временного хранения и транспортировки клеща, состоящее из корпуса с узлом для фиксации клеща. Корпус представляет собой емкость для временного хранения и транспортировки клеща, выполненную из эластичного прозрачного материала, причем емкость имеет суженную торцевую часть, в которой находится узел для фиксации клеща в виде щелевидной прорези, обеспечивающей при сжатии стенок суженной торцевой части захват и извлечение клеща (см. RU 124135 U1, опубл. 23.01.2013).

[9]

Недостатком известного устройства является то, что оно не предусматривает уничтожение клеща.

[10]

Заявленная полезная модель направлена на разработку устройства, способного обеспечить быстрое, простое и качественное удаление присосавшегося к коже животного или человека клеща, временное его хранение, безопасную транспортировку в лабораторию, и уничтожение клеща (эвтаназия клеща).

[11]

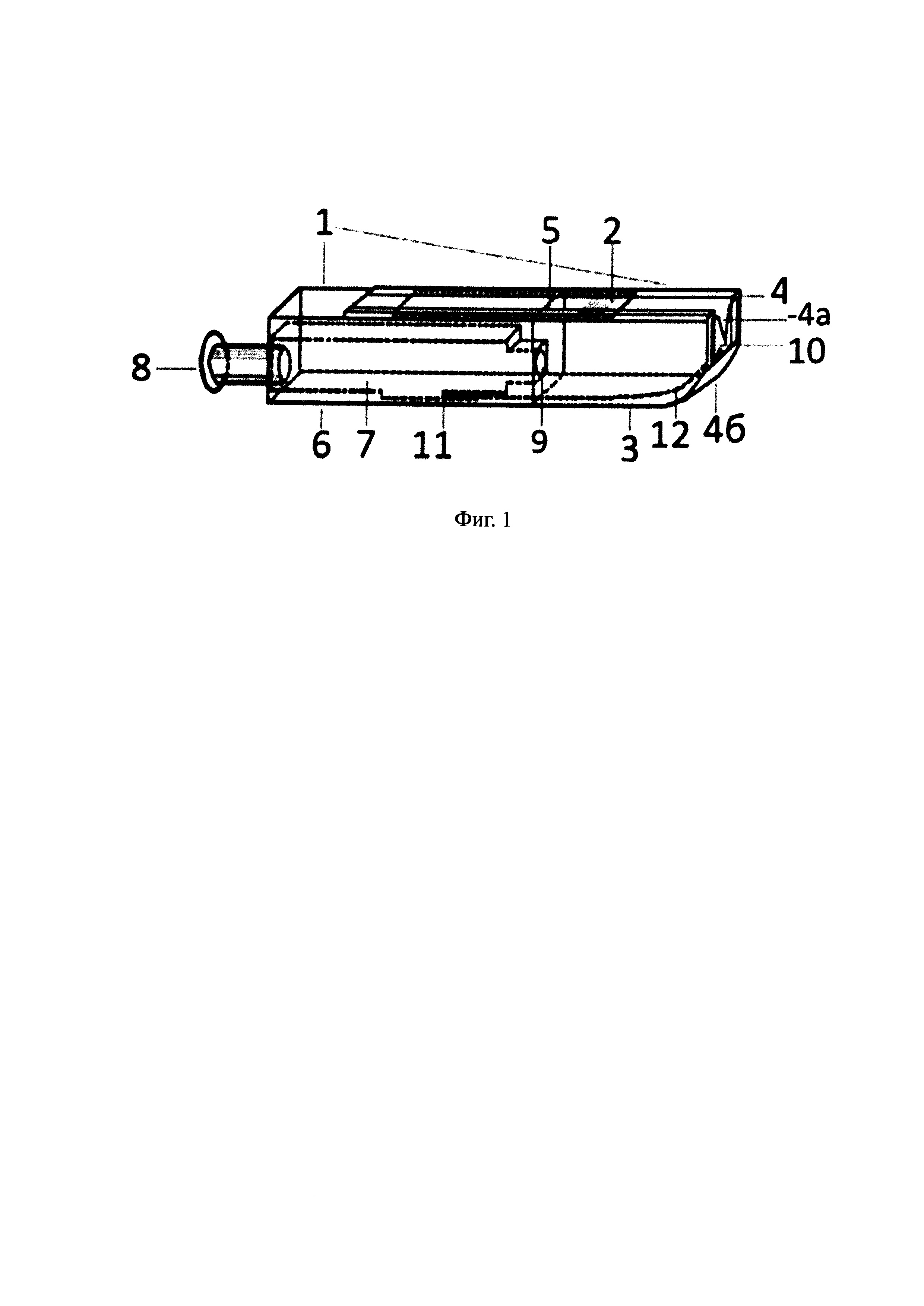
Поставленная задача решается за счет того, что заявленное устройство для захвата клещей, их удаления, хранения и эвтаназии выполнено в виде прямоугольного прозрачного двухкамерного корпуса (1), боковая стенка первой камеры выполнена в виде задвижной крышки (2), передняя торцевая стенка (4) первой камеры имеет прорезь остроугольной формы (4а) для захвата клеща (13) и закругление (46) со стороны, противоположной прорези (4а), задняя торцевая стенка первой камеры устройства одновременно является межкамерной перегородкой (5) и передним торцом второй камеры устройства, при этом устройство снабжено пьезоэлектрическим элементом (7), смонтированным во второй камере таким образом, что его кнопка (8) размещена в отверстии, выполненном в стенке заднего торца второй камеры устройства, контактный электрод (9) пьезоэлектрического элемента (7) проходит сквозь отверстие межкамерной перегородки (5) в полость первой камеры устройства, а контактная площадка (10) высоковольтного электрода (11) пьезоэлектрического элемента (7) расположена на внутренней поверхности передней торцевой стенке первой камеры устройства, контактная площадка (10) высоковольтного электрода (11) пьезоэлектрического элемента (7) выполнена в виде металлической пластины, форма которой повторяет форму внутренней поверхности передней торцевой стенки первой камеры устройства, включая прорезь остроугольной формы, при этом пластина имеет электрическое соединение с высоковольтным выходом пьезоэлектрического элемента посредством изолированного электропровода (12).

[12]

Технический результат, достигаемый заявленной совокупностью существенных признаков, заключается в расширении ассортимента устройств, предназначенных для удаления и хранения клещей, путем создания многофункционального устройства оригинальной конструкции, способного обеспечить не только удаление клещей с кожного покрова, но и их эвтаназию.

[13]

Сущность полезной модели поясняется чертежами.

[14]

На фиг. 1 изображено устройство для захвата клещей, их удаления, хранения и эвтаназии, общий вид.

[15]

На фиг. 2 - устройство для захвата клещей, их удаления, хранения и эвтаназии с размещенным внутри клещом, в разрезе.

[16]

На фиг. 3 - контактная площадка высоковольтного электрода пьезоэлектрического элемента, вид спереди.

[17]

Заявленное устройство содержит двухкамерный корпус (1), задвижную крышку (2), первую камеру устройства (3), переднюю торцевую стенку (4), в которой выполнена прорезь остроугольной формы (4а) и закругление (46) со стороны, противоположной прорези, межкамерную перегородку (5), вторую камеру (6) устройства, в которой размещен пьезоэлектрический элемент (7) с кнопкой (8). Устройство содержит контактный электрод (9) пьезоэлектрического элемента, контактную площадку (10), высоковольтный электрод (11) пьезоэлектрического элемента, изолированный электропровод (12). На фиг. 2 в первой камере изображен клещ (13). Контактная площадка (10) высоковольтного электрода (11) пьезоэлектрического элемента выполнена в виде металлической пластины, форма которой повторяет форму внутренней поверхности передней торцевой стенки первой камеры устройства, включая прорезь остроугольной формы. Пластина имеет электрическое соединение с высоковольтным выходом пьезоэлектрического элемента посредством изолированного электропровода (12)

[18]

Для воздействия может быть использован электрический разряд мощностью от 5 кВ до 20 кВ.

[19]

Заявленное устройство может дополнительно содержать элемент крепежной конструкции любого известного типа, например в виде магнита, прищепки, защелки-клипа, отверстия для цепочки или шнурка и т.д., предназначенный для удобства бытового использования (по принципу брелока, пенала или для фиксации на одежде, ошейнике и т.п.).

[20]

Заявленное устройство работает следующим образом.

[21]

Задвижную крышку (2) устройства переводят в положение «открыто», затем переднюю торцевую стенку (4) плотно прижимают к поверхности кожи и производят захват находящейся над поверхностью кожи части ротового аппарата клеща, посредством подведения под тело клеща (13) прорези остроугольной формы (4а) и тело клеща (13) оказывается внутри полости первой камеры (3), затем задвижную крышку (2) переводят в положение «закрыто» и парализуют клеща путем однократного воздействия электрического разряда, поступающего от пьезоэлектрического элемента (7) при нажатии на кнопку (8) пьезоэлектрического элемента устройства, затем устройство наклоняют в сторону закругления (46), используя его как рычаг, в результате чего тело парализованного клеща (13) оказывается внутри закрытой первой камеры (3) устройства. Одиночное воздействие электрического разряда пьезоэлектрического элемента способно на короткое время обездвижить клеща, в том числе и ротовой аппарат, т.е. заблокировать тоническую активность, что обеспечивает простое и полное выведение из кожного покрова ротового аппарата клеща из кожного покрова.

[22]

При хранении и транспортировке клеща (например, в клинику или диагностическую лабораторию) производят визуальный контроль проявления жизненной активности, и, по мере необходимости, проводят повторное нажатие на кнопку пьезоэлектрического элемента для обездвиживания клеща. В случае принятия решения об эвтаназии клеща проводят серию повторных нажатий на кнопку пьезоэлектрического элемента (по меньшей мере двух нажатий). Совокупность электрических разрядов, выдаваемых пьезоэлектрическим элементом, в течение малого промежутка времени вызывает летальный исход клеща.

[23]

Таким образом, заявленное устройство позволит быстро, просто и качественно удалить клеща, присосавшегося к кожному покрову животного или человека, обеспечит безопасное хранение и транспортировку клеща, и его уничтожение (эвтаназию).

Как компенсировать расходы
на инновационную разработку
Похожие патенты