патент
№ RU 215857
МПК A01C7/00

Сажалка луковых культур

Авторы:
Горшков Кирилл Андреевич Овтов Владимир Александрович Чиркова Наталья Сергеевна
Все (4)
Номер заявки
2022126985
Дата подачи заявки
17.10.2022
Опубликовано
29.12.2022
Страна
RU
Как управлять
интеллектуальной собственностью
Чертежи 
2
Реферат

[22]

Полезная модель относится к области сельскохозяйственного машиностроения, в частности к сажалкам для посадки материалов с низкой сыпучестью, точнее лука-севка при его посадке.

[23]

Полезная модель представляет сажалку луковых культур, которая содержит раму, бункер, приводное колесо, опорное колесо, редуктор-вариатор, высаживающие аппараты, семяпроводы, полозовидные сошники и заделывающие органы. Передний брус рамы выполнен из профильной трубы 80×80×4, продольные брусья, промежуточный брус, задний брус, центральная стойка и ее раскосы из профильной трубы 80×60×4, стойки крепления бункера и раскосы из профильной трубы 60×40×4, и при этом рама содержит рамку, выполненную из уголков 40×4 и профильной трубы 40×20×3 для крепления редуктора-вариатора.

[24]

Полезная модель позволяет повысить жесткость рамы, а следовательно надежность работы сажалки при посадке луковых культур.

Формула изобретения

Сажалка луковых культур, содержащая раму, бункер, приводное колесо, опорное колесо, редуктор-вариатор, высаживающие аппараты, семяпроводы, полозовидные сошники и заделывающие органы, отличающаяся тем, что передний брус рамы выполнен из профильной трубы 80×80×4, продольные брусья, промежуточный брус, задний брус, центральная стойка и ее раскосы — из профильной трубы 80×60×4, стойки крепления бункера и раскосы — из профильной трубы 60×40×4, при этом рама содержит рамку, выполненную из уголков 40×4 и профильной трубы 40×20×3 для крепления редуктора-вариатора.

Описание

[1]

Полезная модель относится к области сельскохозяйственного машиностроения, в частности к сажалкам для посадки материалов с низкой сыпучестью, точнее лука-севка при его посадке.

[2]

Известны сеялки для высева семян лука-севка с катушечными высевающими аппаратами, например, СЛН-6 и СЛС-8, состоящие из семенного ящика с катушечными высевающими аппаратами, семяпроводов и сошников с прикатывающими катками.

[3]

В этих сеялках лук-севок выносится из семенного ящика лопастями катушек не по одному, а порциями по несколько штук и через семяпроводы выбрасывается в борозды, образованные сошниками. Неравномерная раскладка лука-севка снижает урожайность и товарный выход лука.

[4]

Недостаток устройства - подача луковиц лука-севка порционно, а не поштучно.

[5]

Известна сеялка лука-сева (а.с. СССР №174873 МПК А01, Бюл. №18, 1965 г.), включающая бункер, высевающие катушечные аппараты с муфтой, одетой на свободно вращающийся валик с поджимающей ее пружиной, семяпроводы, полозовидные сошники и маркеры.

[6]

Недостатком известной сеялки для лука севка является порционная подача посевного материала.

[7]

Известна машина для посадки лука-севка (а.с. СССР №1029860 МПК А01С 11/02, Бюл. №27, 1983 г.) которая включает бункер, ориентирующее устройство, выполненное в виде колеблющегося лотка, высаживающего устройства, выполненного в виде пневматических секционных шин.

[8]

К недостаткам данной машины для посадки лука-севка следует отнести его низкую производительность и высокую энергоемкость, обусловленную применением вентилятора для создания разрежения в пневматических секционных шинах.

[9]

Известна сеялка для высева семян лука-сева (а.с. СССР №261001 МПК А01С 7/16, Бюл. №4, 1970 г.), включающая бункер с ворошилками, а под выходным окном бункера установлен закрытый подающий шнек с увеличивающим шагом к выходному концу, который расположен над цепным транспортером с захватами.

[10]

Сеялка работает следующим образом, семена лука-севка из бункера подаются ворошилкой через выходное окно в шнек, который транспортирует их к выходному концу, где они благодаря увеличивающемуся шагу витков шнека рассосредотачиваются в один ряд, а затем сталкиваются на захваты цепного транспортера, который уносит их в посадочную борозду.

[11]

Недостатком данной сеялки является то, что при перемещении посадочного материала шнеком, возможно, его повреждение, что приводит к неравномерности всходов и снижению урожайности.

[12]

Предлагаемая полезная модель направлена на устранение выше отмеченных недостатков, улучшение качества заделки луковиц и улучшение равномерности истечения семенного материала, подаваемого к высевающим аппаратам.

[13]

Известна сажалка лука-сева (Патент РФ №204165, МПК А01С 7/00, Бюл. №14 от 13.05.2021 г.) которая включает из раму, бункер, приводные колеса, цепной, катушечно-вильчатые высаживающие аппараты, со сменными звездочками (Z4=17, Z5=20), семяпровод, полозовидные сошники и заделывающие устройства. При движении сажалки лук-севок захватывается поштучно и подается катушечно-вильчатым аппаратом в семяпровод, соединенный с полозовидным сошником. Полозовидный сошник образует посадочную борозду, куда укладываются луковицы поштучно с последующей их заделкой почвой заделывающими органами.

[14]

К недостаткам данной сажалки лука-севка следует отнести способ регулирования нормы посадки влияющего на увеличение времени на замену звездочек при переходе посадки лука-севка одной фракции к другой фракции (у которой норма высева отличается).

[15]

Наиболее близкой по технической сущности к заявленному изобртению является сажалка лука с редуктором-вариатором (Патент РФ №204165, МПК А01С 7/00, Бюл. №14 от 13.05.2021 г.), которая состоит из рамы, бункера, приводных колес, редуктора-вариатора позволяющего бесступенчато регулировать норму высева при ленточном способе посева в диапазоне 10…15 луковиц на метр при скорости движения посадочного агрегата от 1,0 до 1,8 м/с, катушечно-вильчатых высаживающих аппаратов, цепной передачи с передаточным отношением iц=0,25, семяпроводов, полозовидных сошников и заделывающих органов. Сажалка лука с редуктором-вариатором работает следующим образом. При движении сажалки лук захватывается поштучно и подается катушечно-вильчатыми высаживающими аппаратами в семяпроводы соединенные с полозовидными сошниками. Полозовидные сошники образуют посадочные борозды, куда укладываются луковицы поштучно с последующей их заделкой почвой заделывающими органами.

[16]

К недостаткам данной сажалки лука с редуктором-вариатором следует отнести то, что имеющаяся рама не обладает достаточной жесткостью, обеспечивающей надежную работу сажалки.

[17]

Задача решена тем, что передний брус рамы выполнен из профильной трубы 80×80×4, продольные брусья, промежуточный брус, задний брус, центральная стойка и ее раскосы из профильной трубы 80×60×4, стойки крепления бункера и раскосы из профильной трубы 60×40×4, и при этом рама содержит рамку, выполненную из уголков 40×4 и профильной трубы 40×20×3 для крепления редуктора-вариатора.

[18]

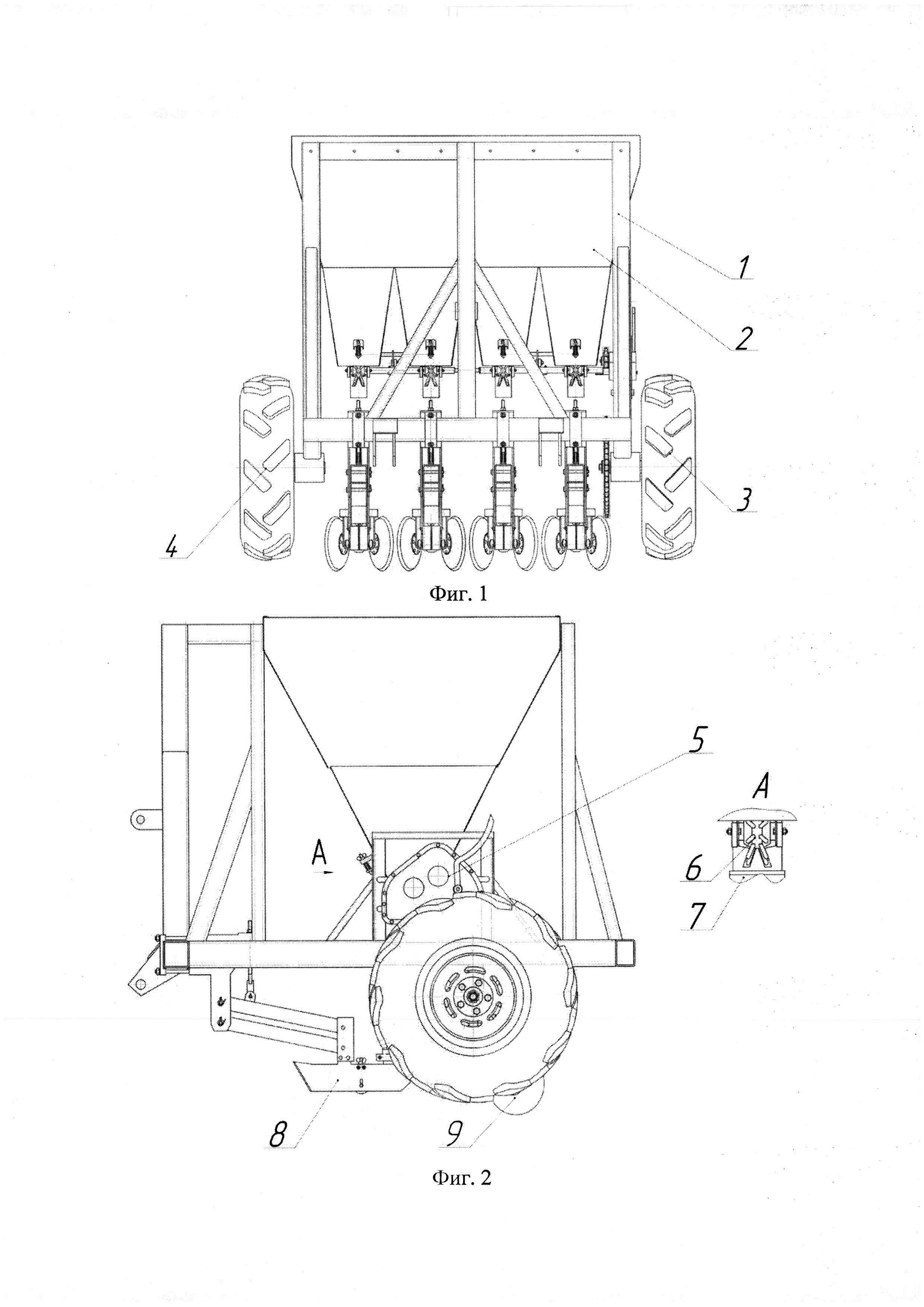
Полезную модель иллюстрируют фиг. 1-3. На фиг. 1 изображена сажалка луковых культур. На фиг. 2 - вид справа, А - местный вид. На фиг. 3 - модель рамы.

[19]

Предлагаемая сажалка луковых культур состоит из рамы 1 (фиг. 1), при этом передний брус 1 (фиг. 3) рамы 1 (фиг. 1) выполнен из профильной трубы 80×80×4, продольные брусья 2 (фиг. 3), промежуточный брус 3 (фиг. 3), задний брус 4 (фиг. 3), центральная стойка 5 (фиг. 3) и ее раскосы 6 (фиг. 3) из профильной трубы 80×60×4, стойки крепления 7 (фиг. 3) и раскосы 8 (фиг. 3) из профильной трубы 60×40×4, и при этом рама содержит рамку 9 (фиг. 3), выполненную из уголков 40×4 и профильной трубы 40×20×3 для крепления редуктора-вариатора, бункера 2 (фиг. 1), приводного колеса 3 (фиг. 1), опорного колеса 4 (фиг. 1), редуктора-вариатора 5 (фиг. 2), катушечно-вильчатых высаживающих аппаратов 6 (фиг. 2), семяпроводов 7 (фиг. 2), полозовидных сошников 8 (фиг. 2) и заделывающих органов 9 (фиг. 2).

[20]

Предлагаемая сажалка луковых культур работает следующим образом. При движении сажалки луковых культур посадочный материал захватывается поштучно и подается катушечно-вильчатыми высаживающими аппаратами 6 (фиг. 2) в семяпроводы 7 (фиг. 2) которые соединены с полозовидными сошниками 8 (фиг. 2). Полозовидные сошники 8 (фиг. 2) образуют посадочные борозды, куда укладываются луковицы поштучно с последующей их заделкой почвой заделывающими органами 9 (фиг. 2).

[21]

Таким образом, сажалка луковых культур обеспечивает поштучную высаживаемого материала в борозду независимо от скорости сажалки, что увеличивает производительность.

Как компенсировать расходы
на инновационную разработку
Похожие патенты