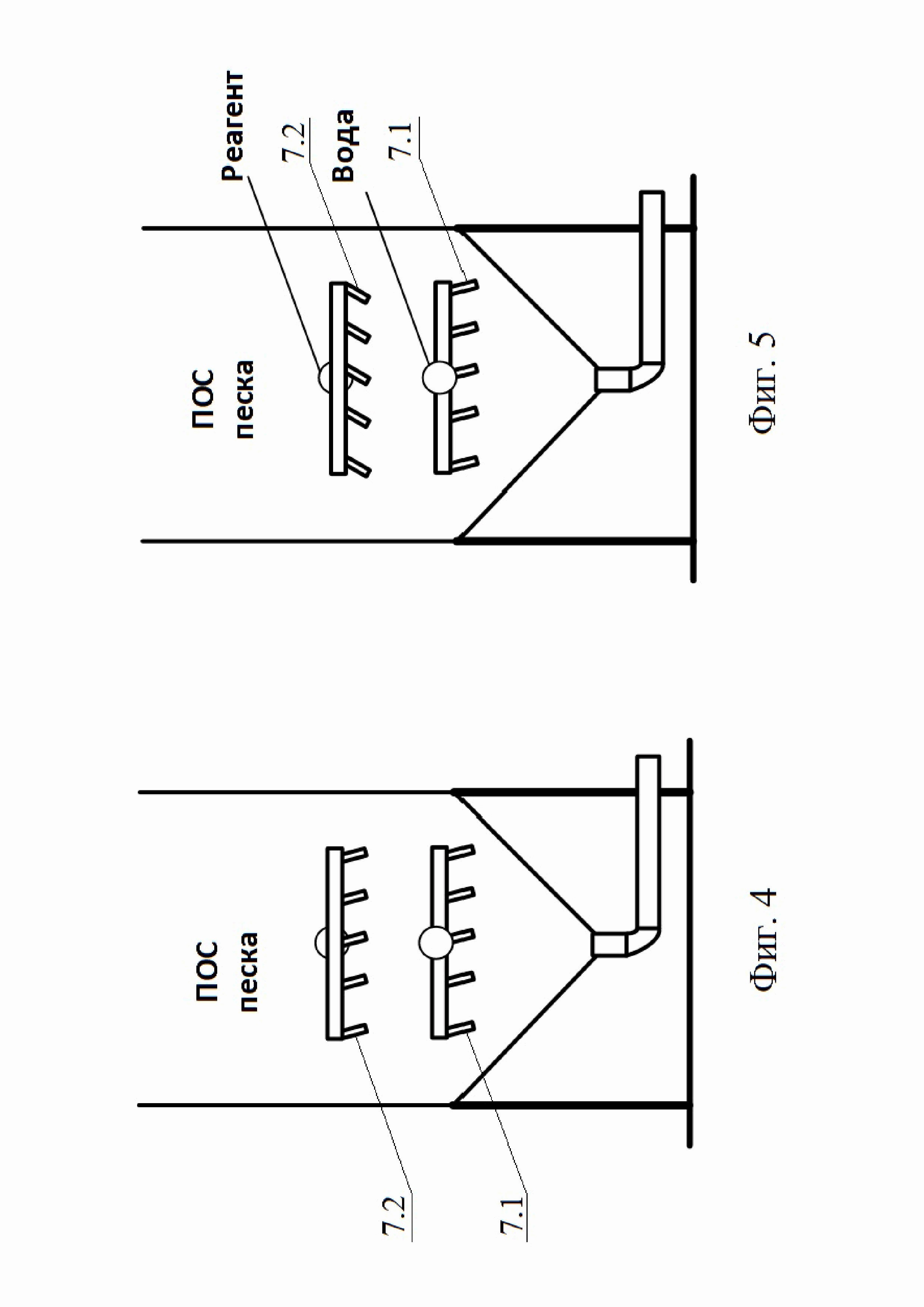
Полезная модель относится к водоочистительным сооружениям, а именно к установкам для реагентного умягчения воды с псевдоожиженным слоем носителя, и может использоваться в установках умягчения воды для подготовки питьевой воды, воды для энергетики, в химической и других отраслях промышленности. Реактор содержит корпус 1 в виде цилиндрической колонны с расширенной верхней частью 2, соединенной с лотком и патрубком 3 для сбора и отвода умягченной воды. Корпус 1 заполнен мелкозернистым материалом, например, песком 9 и снабжен патрубками подачи нового песка и отвода отработанного песка в виде гранул со слоем карбоната кальция, соответственно 10 и 11. В нижней части корпуса 1 расположены устройство 8 распределения реагента, под которым на заданном расстоянии расположено устройство 5 распределения воды. Оба устройства 5 и 8 выполнены в виде коллекторов из труб с направленными вниз патрубками, имеющими сечения меньше, чем сечения труб коллекторов. Под устройством 5 расположена воронка 4, соединенная с патрубком 11. Патрубки устройств 5 и 8 могут быть расположены вертикально или с наклоном в одну или в разные стороны под углом к вертикали до 60°. Технический результат: исключение возможности попадания песка в линии подачи реагентов и воды. 4 з.п. ф-лы, 5 ил.
1. Реактор для реагентного умягчения воды, содержащий корпус в виде цилиндрической колонны с расширенной верхней частью, соединенной с лотком для сбора и патрубком для отвода умягченной воды, при этом в нижней части корпуса расположены устройство распределения реагента, выполненное в виде коллектора из труб с направленными вниз патрубками, а под ним расположено устройство распределения воды, корпус заполнен мелкозернистым материалом и снабжен патрубками подачи нового и отвода отработанного мелкозернистого материала, отличающийся тем, что устройство распределения воды выполнено в виде коллектора из труб с направленными вниз патрубками, причем патрубки обоих указанных устройств имеют сечения меньше, чем сечения труб соответствующих коллекторов, при этом устройство распределения реагента расположено над устройством распределения воды на расстоянии, превышающем длину патрубков устройства распределения реагента. 2. Реактор по п. 1, отличающийся тем, что патрубки обоих указанных устройств расположены вертикально. 3. Реактор по п. 1, отличающийся тем, что патрубки обоих указанных устройств расположены с наклоном в одну сторону под углом к вертикали до 60°. 4. Реактор по п. 1, отличающийся тем, что патрубки одного из указанных устройств расположены с наклоном в сторону, противоположную наклону патрубков другого из указанных устройств, под углом к вертикали до 60°. 5. Реактор по п. 1, отличающийся тем, что в нижней части корпуса под устройством распределения воды расположена воронка, с которой соединен указанный патрубок для отвода отработанного мелкозернистого материала.
Полезная модель относится к водоочистительным сооружениям, а именно к установкам для реагентного умягчения воды с псевдоожиженным слоем носителя, и может использоваться в установках умягчения воды для подготовки питьевой воды, воды для энергетики, в химической и других отраслях промышленности. Для реагентного умягчения воды используются ряд технологических приемов и конструкций аппаратов. Наиболее распространенным способом является обработка воды известковым молоком с железным коагулянтом и органическим флокулянтом в горизонтальных и вертикальных осветлителях разного типа. Другим способом является обработка воды известковым молоком в присутствии специальной затравки, как правило это песок заданной крупности. Са(НСО3)2 +2NaOH = СаСО3↓ + Na2CO3+2Н2О. Известен реализующий названный способ вихревой реактор для декарбонизации воды. Он состоит из трех размещенных одна над другой цилиндрических камер с последовательно увеличивающимся диаметром, соединенных усеченными конусами, нижней камеры быстрого смешения, оснащенным тангенциальным патрубком ввода исходной воды и патрубками ввода щелочного реагента и вывода гранул затравочного материала. Камера быстрого смешения снабжена конгруэнтной вставкой, оснащенной спиралевидной направляющей, с увеличивающимся по высоте шагом и углом нарезки 30-35°. Средняя камера собственно кристаллизации со слоем затравочного материала соединена с верхней камерой стабилизации, которая снабжена патрубком для ввода частиц затравочного материала и патрубком вывода декарбонизированной воды. В камере быстрого смешения организовано интенсивное перемешивание реагента и воды так, что она близка к аппарату идеального смешения. В процессе подъема жидкости по колонне происходит описанная химическая реакция с осаждением осадка карбоната кальция на частицах затравки и, соответственно, ее умягчение. Частицы затравки постепенно увеличиваются в размере и оседают в нижнюю часть аппарата, откуда они периодически выгружаются (RU 2156747 С1, МПК C02F 5/06, опубл. 27.09.2000). Достоинством названного устройства является высокая производительность и малая занимаемая площадь и строительный объем, а также стабильность работы при изменении ряда входных параметров и получение минимального объема отходов в твердом виде. Недостаток известного устройства состоит в том, что жидкие реагенты вводятся в конусную часть устройства снизу в одной точке, что происходит только за счет энергии входного потока и ограничивает диапазон устойчивой работы устройства по расходу воды и возможность масштабирования установки. Кроме того, названный реактор требует периодической остановки для выгрузки гранул полученных отходов и достаточно металлоемок и сложен в изготовлении. В качестве прототипа принят реактор для реагентного умягчения воды, который представляет собой вертикальную цилиндрическую колонну с помещенным в нее псевдоожиженным слоем мелкозернистого материала, с расширением в верхней части и размещенным в ней лотком для сбора очищенной воды и расположенной в нижней части колонны распределительной системой для очищаемой воды, состоящей из распределительной тарелки с дренажными колпачками, системы подачи реагентов, трубопроводов для подачи очищаемой воды и вывода очищенной воды, трубопроводов для подачи свежей затравки и вывода конечного продукта. Трубопровод для подачи воды соединен с распределительной тарелкой, снабженной дренажными колпачками через буферную емкость, а система подачи реагентов выполнена таким образом, что реагенты вводятся над поверхностью распределительной тарелки на расстоянии, не менее высоты дренажных колпачков (RU 198959 U1, МПК C01F 1/00, опубл. 05.08.2020). Недостатком прототипа является трудность очистки устройства распределения реагентов в псевдоожиженном слое при его зарастании солями карбоната кальция. Для этого требуется не только останавливать работу реактора, но и выгружать из него образовавшиеся гранулы и песок. Другим недостатком прототипа является выгрузка полученного продукта - гранул в одной точке по центру реактора, что дает возможность собираться крупным гранулам на периферии колонны и образовывать там крупные скопления. Техническая проблема, решаемая полезной моделью, заключается в улучшении эксплуатационных свойств названного устройства, позволяющих устранить выявленные в процессе его эксплуатации недостатки, при сохранении положительных качеств прототипа, обеспечивающих надлежащее качество умягченной воды. Технический результат, направленный на решение названной технической проблемы, состоит в исключении возможности попадания песка в линии подачи реагентов и воды. Названный технический результат достигнут в полезной модели благодаря следующей совокупности признаков. Также как в прототипе реактор для реагентного умягчения воды содержит корпус в виде цилиндрической колонны с расширенной верхней частью, соединенной с лотком для сбора и патрубком для отвода умягченной воды. В нижней части корпуса расположены устройство распределения реагента, выполненное в виде коллектора из труб с направленными вниз патрубками, а под ним расположено устройство распределения воды. Корпус заполнен мелкозернистым материалом и снабжен патрубками подачи нового и отвода отработанного мелкозернистого материала. В отличие от прототипа устройство распределения воды выполнено подобно устройству распределения реагента в виде коллектора из труб с направленными вниз патрубками, причем патрубки обоих устройств имеют сечения меньше, чем сечения труб коллекторов. Устройство распределения реагента расположено над устройством распределения воды на расстоянии, превышающем длину патрубков устройства распределения реагента. Патрубки обоих устройств могут быть расположены вертикально или под углом к вертикали до 60° в одну или в разные стороны. В нижней части корпуса под устройством распределения воды может быть расположена воронка, соединенная с указанным патрубком для отвода отработанного мелкозернистого материала. Полезная модель поясняется чертежами. На фиг. 1 схематично изображена конструкция реактора для реагентного умягчения воды; на фиг. 2 схематично изображен коллектор (вид сверху); на фиг. 3-5 схематично изображены варианты расположения патрубков распределительных устройств. Реактор (фиг. 1) содержит корпус 1, имеющий форму цилиндрической колонны. В верхней части корпуса 1 образовано конусное расширение 2 с лотком для сбора умягченной воды и отвода ее по назначению в трубопровод через патрубок 3. Расширение 2 предназначено для снижения скорости воды и предотвращения уноса мелкого песка. Внутри нижней части корпуса 1 образована воронка 4. Благодаря ее форме обеспечена полная выгрузка всех фракций отработанного мелкозернистого материала. Над воронкой 4 расположено устройство 5 распределения воды, выполненное в виде коллектора (фиг. 2), соединенного с линией подачи воды и состоящего из труб 6.1, с сечением большего диаметра, и отходящих от них вниз множества патрубков 7.1, с сечением меньшего диаметра, чем трубы (фиг. 3). Устройство 5 предназначено для распределения исходной воды по всему сечению корпуса 1 реактора. Суммарное сечение патрубков 7.1 устройства 5 должно обеспечивать пропуск большого расхода жидкости, подаваемого в реактор. Над устройством 5 распределения воды расположено устройство 8 распределения реагента, аналогичное по конструкции устройству 5, также выполненное в виде коллектора, состоящего из труб 6.2, с сечением большего диаметра, и отходящих от них вниз множества патрубков 7.2, с сечением меньшего диаметра, чем трубы (фиг. 3). Длина патрубков 7.2 выбирается из условия, при котором обеспечена невозможность попадания в этот коллектор песка при остановке реактора, а сечение этих патрубков 7.2 выбирается из условия, при котором обеспечена возможность равномерного распределения незначительного расхода реагента по сечению корпуса 1 реактора, притом, чтобы реагент не попадал на устройство 5. В соответствии с проведенными экспериментами расстояние от концов патрубков 7.2 до устройства 5 для реакторов, диаметром более 1000 мм, должно составлять не менее 500 мм. Такое расположение верхнего устройства 8 распределения реагента обеспечивает протекание реакции образования карбоната кальция в пространстве, свободном от частей нижнего устройства 5 распределения воды. Корпус 1 реактора на 50-80% его высоты (объема) заполнен мелкозернистым материалом, преимущественно песком 9. Для заполнения корпуса 1 новой партией свежего песка предусмотрен патрубок 10, встроенный в цилиндрическую часть корпуса 1. Для отвода отработанного песка в виде гранул, состоящих из налипшего на песок слоя карбоната кальция, служит воронка 4 и патрубок 11. В процессе эксплуатации реактора в устройство 5 распределения воды подается вода, со скоростью ее прохождения в корпусе 1 реактора 50-100 м/ч, что обеспечивает псевдоожижение слоя загрузки из мелкозернистого материала, например, песка. Указанная скорость потока из патрубков 7.1 гарантирует отсутствие застойных зон в нижней части корпуса 1 реактора. Исходная вода, проходя через направленные вниз многочисленные патрубки 7.1, с большой скоростью вводится в слой затравка (обычно - песка) и ожижает его. Благодаря интенсивному перемешиванию псевдоожиженного слоя реагенты, вводимые через устройство 8, достаточно быстро распределяются по сечению корпуса 1 реактора. В устройство 8 распределения реагента насосом подается раствор щелочи, кальцинированной соды или известковой воды. Реакция образования карбоната кальция происходит в слое песка 9, карбонат откладывается на его частицах, обволакивая их и образуя твердый слой. По мере увеличения размеров образующихся частиц, последние превращаются в гранулы, которые образуют более тяжелый слой, осаждающийся в нижней части реактора. По мере накопления крупных гранул, они заполняют воронку 4 реактора и периодически выгружаются из нее через соединенный с трубопроводом патрубок 11, а сверху через патрубок 10 вводится порция свежей загрузки, например в виде песка. Для получения более равномерного распределения воды по сечению реакторов большого диаметра патрубки 7.1 устройства 5 распределения воды могут быть расположены вертикально либо под углом к вертикали до 60° (фиг. 3, 4), что обеспечивает закрутку псевдоожиженного слоя песка и устранение возникающих в нем каналов. При этом патрубки 7.2 устройства 8 распределения реагента могут быть установлены как вертикально, так и иметь наклон под углом до 60° в том же или в противоположном направлении по сравнению с патрубками 7.1 распределительного устройства для воды 5 (фиг. 4, 5). Во втором случае ускоряется смешение реагента с водой и уменьшается риск образования отложений на устройстве 8. Проведенные длительные испытания модели реактора с псевдоожиженным слоем производительностью 3 м3/ч показали его эффективную и устойчивую работу на скоростях 45-110 м/ч. При этом образование отложений на узлах распределительной системы и стенках корпуса не обнаружено. Степень умягчения полученной воды соответствовала концентрации временной жесткости.