патент
№ RU 215461
МПК G01R31/28

УСТРОЙСТВО ТЕСТИРОВАНИЯ ПЕЧАТНЫХ ПЛАТ

Авторы:
Власов Артур Вячеславович
Номер заявки
2022119766
Дата подачи заявки
19.07.2022
Опубликовано
14.12.2022
Страна
RU
Как управлять
интеллектуальной собственностью
Чертежи 
3
Реферат

[65]

Настоящее техническое решение, в общем, относится к области измерительной и испытательной техники, а в частности к устройству для сбора данных о тестировании печатных плат. Технический результат, достигаемый при реализации указанного решения, заключается в сокращении времени на сбор данных о тестировании. Устройство для сбора данных о тестировании печатных плат, содержащее корпус, включающий ложемент с областью для размещения печатной платы; первую матрицу контактов с размещенными на ней электропроводящими подпружиненными контактами, расположенную под ложементом, направляющие штифты; прижимную плиту, на которой расположена вторая матрица контактов с размещенными на ней электропроводящими подпружиненными контактами, блок интерфейсов для подключения измерительного оборудования; блок коммутации; блок управления прижимной плитой.

Формула изобретения

1. Устройство для сбора данных о тестировании печатных плат, содержащее корпус, включающий ложемент с областью для размещения печатной платы; первую матрицу контактов с размещенными на ней электропроводящими подпружиненными контактами, расположенную под ложементом, выполненную с возможностью контактирования с нижней стороной печатной платы; направляющие штифты; прижимную плиту, выполненную с возможностью перемещения по направляющим штифтам, на которой расположена вторая матрица контактов с размещенными на ней электропроводящими подпружиненными контактами, выполненная с возможностью контактирования с верхней стороной печатной платы; блок интерфейсов для подключения измерительного оборудования; блок коммутации, выполненный с возможностью коммутации измерительных приборов с подпружиненными электропроводящими контактами; блок управления прижимной плитой, выполненный с возможностью перемещения прижимной плиты.

2. Устройство по п. 1, характеризующееся тем, что электропроводящие подпружиненные контакты на прижимной плите расположены через проставки.

3. Устройство по п. 2, характеризующееся тем, что проставки представляют собой фторопластовые цилиндры.

4. Устройство по п. 1, характеризующееся тем, что блок управления прижимной плитой содержит две кнопки.

5. Устройство по п. 4, характеризующееся тем, что при нажатии двух кнопок выполняется перемещение прижимной плиты.

6. Устройство по п. 1, характеризующееся тем, что ложемент с областью для размещения печатной платы представляет собой ложемент с фрезеровкой под печатную плату.

7. Устройство по п. 1, характеризующееся тем, что содержит четыре направляющих штифта.

Описание

[1]

ОБЛАСТЬ ТЕХНИКИ

[2]

[1] Настоящее техническое решение, в общем, относится к области измерительной и испытательной техники, а в частности к устройству для сбора данных о тестировании печатных плат.

[3]

УРОВЕНЬ ТЕХНИКИ

[4]

[2] В настоящее время печатные платы являются неотъемлемой частью современного общества и представляют основу любого электронного изделия, входя в состав компьютеров, сотовых телефонов, бытовой техники и т.д. Так, в процессе разработки и производства электронных устройств, обязательным этапом является тестирование большого количества печатных плат, что является сложной и нетривиальной задачей.

[5]

[3] При малом масштабе проверок почетных плат процесс тестирования может осуществляться ручным способом. При ручном способе тестирования оператор щупами последовательно проводит тест всех цепей. Однако такое тестирование является не только трудозатратным, но и занимает много времени, а также обладает низкой эффективностью и точностью, ввиду человеческого фактора.

[6]

[4] Также, из уровня техники также известны адаптерные тестеры печатных плат. Например, известно решение, раскрытое в патенте РФ № RU 2256187 С1 (Открытое акционерное общество завод "Красное знамя"), опубл. 10.07.2005. Указанное решение обеспечивает автоматизированный контроль печатной платы с помощью адаптера с электрическими контактами.

[7]

[5] Недостатками данного решения являются низкая производительность процесса сбора данных о тестировании из-за длительного процесса сбора данных (ввиду особенностей адаптера), низкая универсальность устройства, а также невысокая точность тестирования.

[8]

[6] Общими недостатками существующих решений в данной области техники является отсутствие устройства для эффективного сбора данных о тестировании печатной платы в автоматизированном режиме, обеспечивающего высокую производительность с сохранением высокой точности тестирования. Кроме того, такого рода устройство должно также обладать универсальностью и быть безопасным.

[9]

СУЩНОСТЬ ТЕХНИЧЕСКОГО РЕШЕНИЯ

[10]

[7] Данное техническое решение направлено на устранение недостатков, присущих существующим решениям, известным из уровня техники.

[11]

[8] Заявленное решение позволяет решить техническую проблему в части создания нового и эффективного устройства для сбора данных о тестировании печатных плат.

[12]

[9] Техническим результатом является сокращение времени на сбор данных о тестировании.

[13]

[10] Также за счет создания заявленного устройства расширяется арсенал технических средств для сбора данных о тестировании печатных плат.

[14]

[11] Заявленные технические результаты достигаются за счет реализации устройства для сбора данных о тестировании печатных плат, содержащего корпус, включающий

[15]

ложемент с областью для размещения печатной платы; о первую матрицу контактов с размещенными на ней электропроводящими подпружиненными контактами, расположенную под ложементом, выполненную с возможностью контактирования с нижней стороной печатной платы;

[16]

направляющие штифты;

[17]

прижимную плиту, выполненную с возможностью перемещения по направляющим штифтам, на которой расположена вторая матрица контактов с размещенными на ней электропроводящими подпружиненными контактами, выполненная с возможностью контактирования с верхней стороной печатной платы;

[18]

блок интерфейсов для подключения измерительного оборудования;

[19]

блок коммутации, выполненный с возможностью коммутации измерительных приборов с подпружиненными электропроводящими контактами;

[20]

блок управления прижимной плитой, выполненный с возможностью перемещения прижимной плиты.

[21]

[12] В одном частном варианте реализации устройства электропроводящие подпружиненные контакты на прижимной плите расположены через проставки.

[22]

[13] В другом частном варианте реализации устройства проставки представляют собой фторопластовые цилиндры.

[23]

[14] В другом частном варианте реализации устройства блок управления прижимной плитой содержит две кнопки.

[24]

[15] В другом частном варианте реализации устройства при нажатии двух кнопок выполняется перемещение прижимной плиты.

[25]

[16] В другом частном варианте реализации устройства ложемент с областью для размещения печатной платы представляет собой ложемент с фрезеровкой под печатную плату

[26]

[17] В другом частном варианте реализации устройства содержит четыре направляющих штифта.

[27]

ОПИСАНИЕ ЧЕРТЕЖЕЙ

[28]

[18] Признаки и преимущества настоящего технического решения станут очевидными из приводимого ниже подробного описания технического решения и прилагаемых чертежей, на которых:

[29]

[19] Фиг. 1 иллюстрирует общий вид устройства для сбора данных о тестировании печатных плат.

[30]

[20] Фиг. 2 иллюстрирует вид спереди устройства для сбора данных о тестировании печатных плат.

[31]

[21] Фиг. 3 иллюстрирует вид сзади устройства для сбора данных о тестировании печатных плат.

[32]

ОСУЩЕСТВЛЕНИЕ ПОЛЕЗНОЙ МОДЕЛИ

[33]

[22] Заявленное техническое решение раскрывает новое и эффективное автоматизированное устройство сбора данных о тестировании печатных плат. Указанное устройство сокращает время, требуемое на сбор данных о тестировании, сохраняя при этом высокую точность сбора указанных данных. Кроме того, заявленное техническое решение обладает универсальностью и безопасно для использования за счет особенностей конструкции, которые описаны ниже.

[34]

[23] В нижеследующем описании с целью пояснения изложены многочисленные конкретные детали, чтобы обеспечить полное понимание различных вариантов осуществления заявленного технического решения. Однако специалисту в данной области техники будет очевидно, что различные варианты осуществления настоящего технического решения могут быть реализованы на практике без некоторых из этих конкретных деталей. Последующее описание предоставляет только примерные варианты осуществления и не предназначено для ограничения объема или применимости раскрытия. Также, следует принять во внимание, что элементы заявленного решения могут быть реализованы на практике множеством способов помимо конкретных деталей, изложенных в данном документе.

[35]

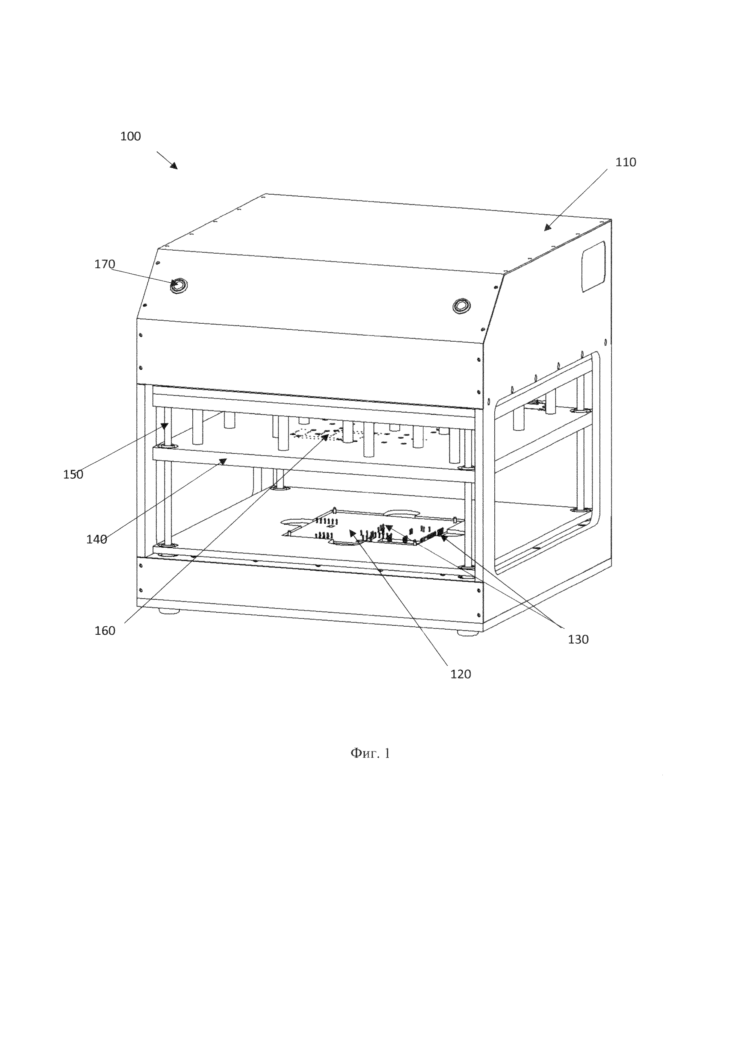
[24] На фиг. 1 представлен пример реализации устройства сбора данных о тестировании печатных плат 100. Устройство 100 содержит корпус 110, внутри которого расположены: ложемент 120, первая матрица контактов 130; прижимная плита 140, направляющие штифты 150, вторая матрица контактов 160, элемент управления 170, блок интерфейсов (не показан), блок коммутации (не показан), блок управления прижимной плитой (не показан).

[36]

[25] Элементы заявленного устройства 100 фиксируются между собой и несущими элементами конструкции, с помощью широкого спектра сборочных операций, например, свинчивания, сочленения, спайки, склепки и др., в зависимости от наиболее подходящего способа крепления элементов.

[37]

[26] Под сбором данных о тестировании печатных плат в данном решении понимается сбор электрических данных в результате контакта элементов заявленного устройства с печатной платой. Так, к электрическим данным могут относиться данные о наличии разрывов и коротких замыканий на печатной плате, значения напряжения/тока, частоты, формы сигналов в контрольных точках печатной платы, сигналы, поступающие с интерфейсов обмена данными, расположенными на печатной плате и т.д., не ограничиваясь.

[38]

[27] Возможность передачи данных по сети, в данном решении, означает наличие в устройстве приемопередатчика, выполненного с возможностью передачи данный удаленному устройству с использованием интерфейсов связи, например, по меньшей мере одним из следующих способов: коммуникации ближнего поля (NFC), Bluetooth, Ethernet карта, GSM модем, GPRS модем, LTE модем, 5G модем, модуль спутниковой связи и т.д. не ограничиваясь.

[39]

[28] Корпус 110 представляет собой конструкцию, внутри которой расположены элементы заявленного устройства 100. Указанный корпус 110 выполняется из прочных материалов, например, металла, углепластика, карбона и т.д. Центральная часть корпуса 110 имеет область для возможности установки печатной платы. В одном частном варианте осуществления корпус 110 выполнен подвижным. Возможность перемещения корпуса 110 может достигаться за счет оснастки указанного корпуса 110 колесами.

[40]

[29] Для специалиста в данной области техники будет очевидно, что указанный корпус 110 может быть выполнен и/или может содержать как любой материал, приведенный выше, так и эквивалентный по прочности материал.

[41]

[30] В задней части корпуса расположена панель интерфейсов, например, как показано на фиг. 3, панель интерфейсов 180. Указанная панель интерфейсов 180 представляет собой разъемы для подключения измерительного оборудования. Кроме того, в указанной части корпуса также расположен разъем для подключения источника питания, например, разъем 190, который может являться, например, 3-контактным разъемом для питания, USB-портом и т.д. Так, в одном частном варианте осуществления, панель интерфейсов 180 представляет собой порты для подключения сетевого кабеля и различного измерительного оборудования. Стоит отметить, что измерительное оборудование подбирается индивидуально в зависимости от параметров, которые необходимо протестировать, а также от типа тестируемой печатной платы. Так, для выполнения функционального контроля печатной платы, может быть подключено следующее оборудование: источники-измерители, цифровые мультиметры, осциллографы и т.д. Интерфейсная панель 180 обеспечивает коммутацию внешних устройств с материнской платой устройства 100, в том числе и сетевую коммутацию. Как указывалось выше, возможность передачи данных по сети, например, посредством проводной коммутации может быть обеспечена за счет наличия сетевой карты в устройстве 100.

[42]

[31] Кроме того, в корпусе 100 также может быть размещен и/или может подключаться (посредством интерфейсной панели) источник питания 190 (фиг. 3). Источник питания 190 предназначен для подачи электрической мощности на все электронные элементы устройства 100. Так, источник 190 может быть электрически соединен (например, шиной данных) блоком управления прижимной плитой, блоком коммутации и выполнен с возможностью передачи мощности на указанные элементы. В одном частном варианте осуществления питание устройства 100 может осуществляться через РоЕ (Power over Ethernet) сплиттером, обеспечивающим разделение канала передачи данных и канала подачи питания.

[43]

[32] Также, в корпусе 110 расположен блок коммутации, выполненный с возможностью коммутации измерительного оборудования, подключенного через интерфейсную панель 180, с подпружиненными электрическими контактами. Блок коммутации может быть связан с интерфейсной панелью 180 и матрицами 130 и 160, например, посредством шины данных. Блок коммутации может представлять собой, например программатор, конвертер интерфейсов, управляющий контроллер и т.д., связанный с матрицами контактов 130 и 160. Блок коммутации выполнен с возможностью получения электронных сигналов от измерительных щупов в момент контакта с контрольными точками печатной платы и передачи указанных сигналов в разъемы для измерительного оборудования. Так, в одном частном варианте осуществления передача собранных электрических сигналов может быть осуществлена через разъем интерфейсной панели 180, например, через коннектор RJ-45 и т.д., не ограничиваясь. Для организации работы компонентов устройства 100 и организации работы внешних подключаемых устройств в блоке коммутации могут применяться различные виды интерфейсов ввода/вывода. Выбор соответствующих интерфейсов зависит от конкретного исполнения блока коммутации, и могут представлять собой, не ограничиваясь: PCI, AGP, PS/2, IrDa, FireWire, LPT, COM, SATA, IDE, Lightning, USB (2.0, 3.0, 3.1, micro, mini, type C), TRS/Audio jack (2.5, 3.5, 6.35), HDMI, DVI, VGA, Display Port, RJ45, RS232 и т.п. Для специалиста в данной области техники очевидно, что в зависимости от используемых и поддерживаемых интерфейсов для взаимодействия с внешними устройствами (ПК, измерительное оборудование и т.д.), на панели 180 размещаются соответствующие разъемы.

[44]

[33] Так, в еще одном частном варианте осуществления заявленного технического решения, блок коммутации может включать в себя процессор, ОЗУ и ПЗУ. Так, процессор (или несколько процессоров, контроллер, микроконтроллер) может являться, например, процессором от компаний Intel™, AMD™, Apple™, Samsung Exynos™, MediaTEK™, Qualcomm Snapdragon™ и т.п. Под процессором также необходимо учитывать графический процессор, например, GPU NVIDIA или ATI. При этом средством памяти может выступать доступный объем памяти графической карты или графического процессора. ОЗУ представляет собой оперативную память и предназначено для хранения исполняемых процессором машиночитаемых инструкций для выполнения необходимых операций вычислительных операций (поддержки интерфейсов взаимодействия). ПЗУ представляет собой одно или более устройств постоянного хранения данных, например, жесткий диск (HDD), твердотельный накопитель данных (SSD), флэш-память (EEPROM, NAND и т.п.), оптические носители информации (CD-R/RW, DVD-R/RW, BlueRay Disc, MD) и др.

[45]

[34] На фиг. 2 показан вид спереди заявленного устройства 100. На лицевой части корпуса 110 расположены элементы управления прижимной плитой, например, элементы управления 170. Указанные элементы являются частью блока управления прижимной плитой. Опускание/поднятие прижимной плиты активируется только при одновременном замыкании указанных элементов 170. Такая мера необходима для защиты оператора от непреднамеренной травмы. В одном частном варианте осуществления элементы управления 170 представляют собой две кнопки, при одновременном нажатии которых блок управления прижимной плитой выполняет перемещение прижимной плиты 140. Так, кнопки разнесены между собой на таком расстоянии, чтобы можно было нажать их только двумя руками.

[46]

[35] Ложемент 120 предназначен для размещения печатной платы в устройстве 100. В одном частном варианте осуществления область для размещения печатной платы на ложементе 120 представляет ложемент с фрезеровкой под печатную плату. Так, в еще одном частном варианте осуществления ложемент может быть выполнен в виде подложки, подставки для фиксации печатной платы и т.д., не ограничиваясь. В качестве материала, из которого может изготавливаться ложемент, может быть выбран, например, металл, карбон, пластик, углепластик и т.д. Ложемент 120 обеспечивает надежную фиксацию печатной платы, что исключает ее смещение во время процесса сбора электрических данных о тестировании. Стоит отметить, что форма и размер ложемента 120, на котором располагается печатная плата, может быть изменена в зависимости от размера печатной платы и их количества. Так, в еще одном частном варианте осуществления стенки ложемента 120 могут перемещаться, например, по направляющим, расположенным в корпусе (например, путем фрезеровки).

[47]

[36] В нижней части ложемента 120 расположены сквозные отверстия. Указанные отверстия предназначены для подключения подпружиненных контактов, которые соединяются с тестовыми точками и выводами компонентов на печатной плате через указанные отверстия. Отверстия в ложементе могут быть изготовлены, например, путем сверления и/или на заводе изготовители специальным оборудованием.

[48]

[37] Так, под ложементом 120 расположена первая матрица контактов 130. Указанная матрица расположена в нижней части корпуса. Матрица 130 представляет собой набор закрепленных подпружиненных электрических контактов. Так, в одном частном варианте осуществления матрицей 130 является матрица типа «ложе гвоздей» (bed-of-nails). Принцип сбора тестируемых данных указанной матрицей 130 заключается в том, что во время тестирования все подпружиненные электрические контакты находятся в контакте с тестовыми точками печатной платы. В момент контакта происходит замыкание цепи, и сигнал о наличии/отсутствии тока/напряжения на определенном контакте передается в блок коммутации. Так, в одном частном варианте осуществления матрица 130 выполнена в съемном форм-факторе. Крепление матрицы 130 может быть осуществлено посредством, например, заводских защелок на корпусе 110. В зависимости от типа и размера тестируемой платы, а также расположения проводящих дорожек на плате, расположение «ложа гвоздей» будет отличаться, так как тестируемые точки у каждой платы различны по расположению и по функционалу. Для адаптации подпружиненных электрических контактов под конкретный тип печатной платы, может быть выполнена настройка указанной матрицы 130. В другом частном варианте осуществления адаптация матрицы 130 выполняется непосредственно в корпусе устройства 100. Все подпружиненные контакты матрицы 130 соединены с блоком коммутации, например, проводным способом подключения. Так, в одном частном варианте осуществления каждый контакт матрицы 130 по собственному проводу соединен с блоком коммутации.

[49]

[38] Над ложементом 120, в верхней части корпуса 110 расположена прижимная плита 140.

[50]

[39] Прижимная плита 140 представляет собой пневматический зажим, с помощью которого осуществляется подключение тестируемых печатных плат к измерительному оборудованию. Пневматический зажим представляет собой горизонтальную плиту, расположенную на направляющих штифтах 150. Указанная плита расположена параллельно ложементу 120. Зажим осуществляется с помощью пневматического цилиндра. Так, при подаче управляющего сигнала на блок управления прижимной плитой, например, с помощью элементов управления, указанный блок управления приводит в действие пневматический цилиндр, который выполняет опускание плиты на печатную плату. Шток пневматического цилиндра соединен с прижимной плитой. Для приведения в действие плиты используется компрессор. В зависимости от варианта реализации устройства 100, компрессор может располагаться как в корпусе 110, так и подключаться через панель 170. В еще одном частном варианте осуществления прижимная плита 140 может представлять собой механический зажим. Механический зажим представляет собой ручной механизм с рычагом, при перемещении его «вниз» прижимное устройство опускается, при перемещении «вверх» поднимается.

[51]

[40] Подключение тестируемых печатных плат к измерительному оборудованию при перемещении плиты 140 осуществляется через вторую матрицу 160. Матрица 160 расположена на прижимной плите, над ложементом 120. Указанная матрица 160 представляет собой набор закрепленных подпружиненных электрических контактов. Так, в одном частном варианте осуществления матрицей 160 является матрица типа «ложе гвоздей». Так, в одном частном варианте осуществления матрица 160 выполнена в съемном форм-факторе. Крепление матрицы 160 может быть осуществлено посредством, например, заводских защелок на корпусе 110. В другом частном варианте осуществления адаптация матрицы 160 выполняется непосредственно в корпусе устройства 100. Все подпружиненные контакты матрицы 160 соединены с блоком коммутации, например, проводным способом подключения. Так, в одном частном варианте осуществления каждый контакт матрицы 160 по собственному проводу соединен с блоком коммутации.

[52]

[41] Штифты 150 представляют собой детали цилиндрической формы. Штифты 150 расположены перпендикулярно плоскости расположения печатной платы. В одном частном варианте осуществления устройство 100 содержит четыре направляющих штифта 150, расположенных по краям устройства. В качестве материала может быть использован, например, металл, пластик, оргстекло и т.д., не ограничиваясь. Указанные штифты исключают нарушение соосности при перемещении плиты 140, что, как следствие, обеспечивает точный процесс сбора данных о тестировании. Кроме того, в одном частном варианте осуществления, электропроводящие подпружиненные контакты 160 расположены на прижимной плите через проставки, например фторопластовые проставки и т.д. Указанные проставки обеспечивают исключение повреждения контактами платы при совершении прижатия.

[53]

[42] Теперь рассмотрим принцип работы устройства 100.

[54]

[43] Далее будет приведен один из сценариев применения устройства 100. Указанный сценарий приведен в качестве примера и не должен ограничивать возможности применения заявленного технического решения.

[55]

[44] Устройство 100 может быть расположено, например, в компании по разработке и выпуску единичной продукции и/или крупносерийного и многономенклатурного производства печатных плат. Устройство 100 может поставляться в составе системы тестирования печатных плат. Указанная система тестирования печатных плат предназначена для полноценной проведения как функциональных, так и параметрических тестов исследуемой печатной платы. Среди параметров тестирования могут проверяться такие параметры, как ток или напряжение, проверка наличия короткого замыкания и т.д. Кроме того, упомянутая система выполнена с возможностью функционального контроля печатной платы в сборе (с элементами). Функциональный контроль подразумевает проверку функциональных элементов печатной платы, что включает в себя целый ряд тестов, например, программирование микросхем по различным протоколам, проверка работы интерфейсов и т.д. В состав системы тестирования может входить компьютер с блоком отображения, специальное программное обеспечение, комплект кабелей для подключения составных частей, и непосредственно устройство 100 для сбора данных о тестировании.

[56]

[45] Для начала процесса тестирования, оператор подключает устройство 100, посредством интерфейсной панели, такой как панель 180, к остальным элементам системы. Кроме того, устройство 100 также подключается к источнику питания, такому как источник 190.

[57]

[46] Далее, оператор устанавливает печатную плату. Печатная плата размещается в ложементе 120 в области расположения печатной платы. Как указывалось выше, ложемент может представлять собой ложемент с фрезеровкой под печатную плату. Форма и размеры ложемента могут быть выбраны в зависимости от размера и типа печатной платы. Кроме того, в нижней части ложемента 120 расположены сквозные отверстия, через которые осуществляется контакт матрицы 130 с печатной платой. Форма ложемента обеспечивает надежное фиксирование печатной платы.

[58]

[47] Для непосредственного начала тестирования, оператор подает управляющий сигнал на блок управления прижимной плитой 140 для замыкания подпружиненных контактов с контрольными точками печатной платы. В статике плита 140 находится в верхнем положении, печатная плата находится на ложементе 120 снизу. В динамике, при нажатии на элементы управления блока управления прижимной плитой, прижимная плита 140 с матрицей 160, на которой расположено определенное количество контактов, движется вниз, обеспечивая равномерное прижатие контактов к печатной плате. В частном варианте реализации, управляющий сигнал подается с помощью элементов управления, расположенных на корпусе 110. Так, элементами управления могут являться кнопки. На устройстве 100 расположены две кнопки. При одновременном нажатии на них прижимная плита 140 с матрицей 160, которая жестко закреплена на указанной плите 140, опускается и происходит равномерный контакт с печатной платой. В нижней точке движения плиты, обеспечивающей контакт матрицы 160 с печатной платой, на направляющих штифтах 150 могут быть установлены стопорные элементы. После прижатия плитой 140 печатной платы на ПК запускается ПО где можно выставить определенные настройки для заданных заказчиком тестов. Необходимые виды тестов, могут быть записаны в памяти ПК и могут проводиться в автоматическом режиме, после чего на устройство отображения ПК выводится результат - тесты пройдены или нет, если нет, то какой именно тест не пройден.

[59]

[48] Стоит отметить, что одной из особенностей указанного решения является наличие двух матриц контактов 130 и 160 (сверху и снизу), что значительно повышает производительность сбора данных о тестировании, и, сокращает время тестирования. Так, некоторые виды плат имеют проводящие дорожки с двух сторон указанной платы. Наличие двух матриц контактов позволяет значительно сократить время на сбор электрических сигналов, т.к. указанный сбор осуществляется одновременно с двух сторон платы, что исключает необходимость ее переворота. Так, нижняя матрица 130 контактирует с нижней частью печатной платы через отверстия в ложементе 120, а верхняя, непосредственно в момент прижатия плиты 140. Кроме того, время тестирования сокращается также за счет надежной фиксации платы в ложементе 120 и наличия направляющих штифтов 150, которые исключают нарушение соосности при опускании плиты, и смещения печатной платы. Так, очевидно, что если в процессе прижатия плиты, указанная плита сместится относительно печатной платы, то, как следствие контакты матрицы 160 также сместятся, что приведет к необходимости перезапуска теста.

[60]

[49] Во время проведения тестов, электрические сигналы с блока коммутации, расположенного внутри корпуса 110 и соединенного с матрицами 130 и 160, поступают на панель интерфейсов 180, откуда далее поступают на компьютер для дальнейшей обработки и преобразования. Стоит отметить, что сбор данных о тестировании может выполняться в аналоговом виде и преобразовываться за пределами устройства 100. В другом частном варианте осуществления блок коммутации может содержать АЦП (устройство, преобразующее получаемый от подпружиненных контактов аналоговый сигнал в дискретный код, который отправляется внешнему устройству (ПК)). Для специалиста в данной области техники будет очевидно, что АЦП может быть как встроен в блок коммутации, так и являться отдельным внутренним элементом устройства 100.

[61]

[50] После процесса обработки полученных данных на внешнем устройстве выдается решение о результатах тестирования - плата годна или нет. Тесты, которые необходимо проводить, предоставляются заказчиком.

[62]

[51] Алгоритмы управления аппаратной частью (программы на компьютере) ограничиваются только выбором тестов, которые необходимо провести с печатной платой - тесты всегда различны в зависимости от потребностей заказчиков. Так, для специалиста в данной области техники очевидно, что указанное устройство 100 подразумевает выполнение ряда тестов без участия оператора, например в ложементе 120 могут быть расположены четыре вида печатных плат, оператор нажимает кнопки, для того чтобы прижимное устройство присоединилось к печатной плате, на ПК запускается ПО и выбирается два теста на одной плате, четыре теста на другой плате, один на 3 плате и т.д. Количество располагаемых печатных плат зависит от формы и размера ложемента 120. В качестве проводимых тестов могут проводиться, например, следующие тесты: измерение напряжений, частоты, формы сигналов; программирование микросхем по протоколам (SPI, ISP, JTAG, SWD и т.п.); проверка работы интерфейсов обмена данными (RS-232, RS-485, CAN, LIN и т.д.) контроль индикаторов на объекте тестирования; контроль целостности данных и т.д.

[63]

[52] Таким образом, в представленных материалах было раскрыто автоматизированное устройство для сбора данных о тестировании печатных плат, обеспечивающее значительное сокращение времени, требуемого на сбор данных о тестировании печатных плат, за счет наличия двух матриц контактов, направляющих штифтов и ложемента.

[64]

[53] Модификации и улучшения вышеописанных вариантов осуществления настоящего технического решения будут ясны специалистам в данной области техники. Предшествующее описание представлено только в качестве примера и не несет никаких ограничений для целей осуществления иных частных вариантов воплощения заявленного технического решения, не выходящего за рамки испрашиваемого объема правовой охраны. Конструктивные элементы, такие как микроконтроллеры, блоки, модули и т.д., описанные выше и используемые в данном техническом решении, могут быть реализованы с помощью электронных компонентов, используемых для создания цифровых интегральных схем.

Как компенсировать расходы
на инновационную разработку
Похожие патенты