патент
№ RU 2152905
МПК C02F1/20

ВОДОУМЯГЧИТЕЛЬНАЯ УСТАНОВКА

Авторы:
Савин Ю.Б.
Номер заявки
96101980/12
Дата подачи заявки
01.02.1996
Опубликовано
20.07.2000
Страна
RU
Как управлять
интеллектуальной собственностью
Чертежи 
1
Реферат

[20]

Изобретение относится к области природных вод, а именно к водоумягчительным установкам, и может быть использована для термического умягчения воды, подаваемой в тепловые сети. Установка содержит термоумягчитель с реакционной и осадительной зонами, деаэратор, рабочий объем которого составляет 1,5 - 3,5 рабочего объема термоумягчителя, трубопровод для подачи исходной воды теплоносителя, трубопроводы для отвода умягченной воды из осадительной зоны и подвода суспензии шлама в реакционную зону, сообщенные с деаэратором, и трубопровод для отвода выпара из термоумягчителя в деаэратор. Установка компактна, обеспечивает высокую производительность и глубокое термоумягчение воды, 4 з.п. ф-лы, 2 ил.

Формула изобретения

1. Водоумягчительная установка, содержащая термоумягчитель с реакционной и осадительной зонами и трубопроводы для подачи исходной воды, теплоносителя и суспензии шлама в реакционную зону термоумягчителя и отвода умягченной воды и шлама из его осадительной зоны, отличающаяся тем, что она дополнительно снабжена деаэратором, рабочий объем которого составляет 1,5 - 3,5 рабочего объема термоумягчителя, и трубопроводом для отвода выпара из термоумягчителя в деаэратор, причем трубопроводы для отвода умягченной воды и подвода суспензии шлама также сообщены с деаэратором.

2. Установка по п.1, отличающаяся тем, что она снабжена дополнительным трубопроводом с подключенными к последнему катионным фильтром и теплообменником, а трубопровод для подачи исходной воды в реакционную зону термоумягчителя подключен к упомянутому теплообменнику.

3. Установка по п.1 и 2, отличающаяся тем, что она снабжена дополнительным шламопроводом, сообщающим осадительную зону термоумягчителя с подключенным к теплообменнику трубопроводом для подачи исходной воды.

4. Установка по п. 1, отличающаяся тем, что к трубопроводу для отвода умягченной воды из термоумягчителя перед деаэратором подключен шламоотделитель, например инерционный сепаратор.

5. Установка по п.1, отличающаяся тем, что на выходе трубопровода для отвода умягченной воды из деаэратора установлено шламоограждающее устройство.

Описание

[1]

Изобретение относится к области обработки природных вод, а именно, к водоумягчитиельным установкам и может быть использовано для умягчения воды, подаваемой в тепловые сети и для подпитки котлов.

[2]

Известна водоумягчительная установка системы Копьева, содержащая теплоумягчитель и осветлитель с подключенными к ним трубопроводами для подачи исходной воды, теплоносителя и отвода шлама и умягченной воды. См. Пилипенко А.Т. "Комплексная переработка минерализованных вод", Киев. 1984, с.57.

[3]

Основными недостатками указанной водоумягчительной установки является ее громоздкость и металлоемкость, низкая производительность, т.к. время пребывания воды в термоумягчителе составляет 30-45 мин.

[4]

Известна также водоумягчительная установка, наиболее близкая к заявляемой по технической сущности /прототип/, см. а.с. 1527182 от 09.10.87, МКИ C 02 F 1/58, известная установка содержит термоумягчитель с реакционной и осадительной зонами и трубопроводы для подачи исходной воды, теплоносителя и суспензии шлама в реакционную зону термоумягчителья и отвода умягченной воды и шлама из его осадительной зоны. Указанная водоумягчительная установка по сравнению с ранее известными компактна, производительна, однако не обеспечивает глубокого умягчения воды, т.к. термообработка ее ведется при сниженной температуре /75-90oC/.

[5]

При более высокой температуре идет интенсивное испарение и гидравлический затвор, образованный подаваемой в верхнюю часть реакционной зоны исходной водой, не может предотвратить выброс пара в атмосферу. Водоумягчитель - прототип целесообразно использовать для подготовки воды для горячего водоснабжения в летний период. Для более глубокого водоумягчения при вышеуказанной температуре необходимо резкое увеличение времени пребывания воды в термоумягчителе, что обеспечивается либо значительным увеличением его рабочего объема, либо установкой целого ряда термоумягчителей.

[6]

Задачей изобретения является создание компактной и производительной водоумягчительной установки, обеспечивающей наиболее глубокое термоумягчение воды.

[7]

Указанная задача решается тем, что известная водоумягчительная установка, содержащая термоумягчитель с реакционной и осадительной зонами, трубопроводы для подачи исходной воды, теплоносителя и суспензии шлама в реакционную зону и отвода умягченной воды и шлама из осадительной зоны, согласно изобретению дополнительно снабжена деаэратором, рабочий объем которого составляет 1,5 - 3,5 рабочего объема термоумягчителя, и трубопроводом для отвода выпара из термоумягчителя в деаэратор, причем трубопроводы для отвода умягченной воды и подвода суспензии шлама также сообщены с деаэратором.

[8]

При этом целесообразно для подпитки котла термоумягченной водой снабдить установку дополнительным трубопроводом с подключенными к последнему катионным фильтром и теплообменником, а трубопровод для подачи исходной воды в реакционную зону подключить к упомянутому теплообменнику.

[9]

Также целесообразно снабдить установку дополнительным шламопроводом, сообщающим отстойную зону термоумягчителя с подключенным к теплообменнику трубопроводом для подачи исходной воды.

[10]

Желательно к трубопроводу для отвода умягченной воды из осадительной зоны термоумягчителя перед деаэратором подключить шламооотделитель, выполненный любым известным образом, например, в виде инерционного сепаратора, а на входе трубопровода для отвода умягченной воды из деаэратора установить шламоограждающий стакан.

[11]

В дальнейшем изобретение поясняется описанием примеров его конкретного выполнения и чертежами, где на фиг. 1 изображена схема водоумгячительной установки, а на фиг. 2 - то же, но с узлом катионного умягчения.

[12]

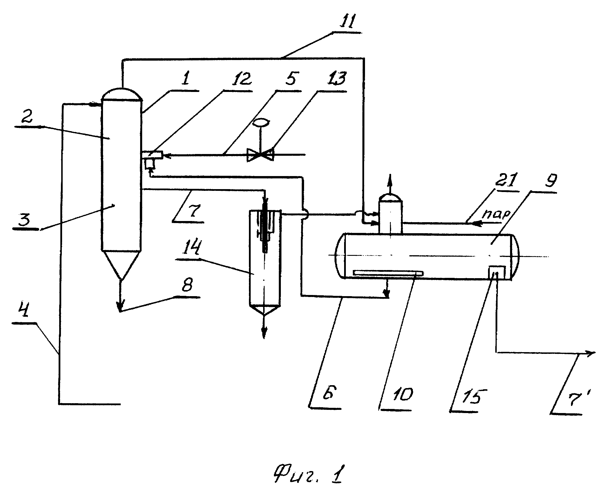
Водоумягчительная установка содержит термоумягчитель 1, внутри которого имеются реакционная 2 и осадительная 3 зоны. Имеются трубопроводы 4, 5, 6 для подвода в реакционную зону 2 соответственно исходной воды, теплоносителя и суспензии шлама и трубопроводы 7, 8 для отвода соответственно частично умягченной воды и шлама из осадительной зоны 3 термореактора 1. Установка содержит также деаэратор 9. В нижней части деаэратора 9 размещен шламоуловитель 10, представляющий собой, например, перфорированную трубу. Термоумягчитель 1 соединен с деаэратором трубопроводом 11 для отвода выпара. Трубопровод 7 для отвода умягченной воды также подключен к деаэратору 9. Трубопровод 6 сообщает шламоуловитель 10 с реакционной зоной 2 термоумягчителя 1 через эжектор 12. На трубопроводе 5 для подвода теплоносителя установлен регулятор 13 температуры. К трубопроводу 7 содсоединен шламоуловитель 14, выполненный в данном случае в виде инерционного сепаратора. В деаэраторе 9 на выходе трубопровода 7 для отвода умягченной воды установлен шламоограждающий стакан 15, являющийся шламооградительным устройством. Рабочий объем деаэратора 9 составляет 1,5 - 3,5 рабочего объема термоумягчителя 1.

[13]

При необходимости отвода части умягченной воды для подпитки котла, к трубопроводу 7' для отвода термоумягченной воды подсоединен дополнительный трубопровод 16 /фиг. 2/. К упомянутому дополнительному трубопроводу 16 подсоединен катионный фильтр 17 для дополнительного химического умягчения воды, предназначенной для подпитки котла, т.к. вода, подаваемая в котлы, требует дополнительного умягчения.

[14]

Для охлаждения воды, подаваемой в катионный фильтр 17, предназначен теплообменник 18. Охлаждающий средой служит исходная вода, подаваемая на термоумягчение в термореактор 1, поэтому трубопровод 4 для подачи исходной воды в описываемом случае подключен к теплообменнику 18 /фиг.2/.

[15]

Чтобы в теплообменнике 18 не образовывалась накипь, в исходную воду по дополнительному водопроводу 19, сообщающему осадительную зону 3 термореактора 1 с теплообменником 18, подают суспензию шлама. Закачивают ее эжектором 20. К деаэратору 9 подключен трубопровод 21 для подачи пара.

[16]

Водоумягчительная установка работает следующим образом. Исходная вода по трубопроводу 4 поступает в реакционную зону 2 термоумягчителя 1. Туда же по трубопроводу 5 через эжектор 12 подают теплоноситель, в данном случае - водяной пар. Вода подогревается до кипения, происходит разложение бикарбонатов кальция и магния, шлам оседает в осадительной зоне 3 термоумягчителя 1, откуда периодически удаляется по трубопроводу 8. Избыточный пар и выделившиеся газы по трубопроводу 11 поступают в деаэратор 9 выше уровня, на который по трубопроводу 21 поступает перегретый пар, что способствует быстрому их удалению. Умягченная вода по трубопроводу 7 выводится из термоумягчителя 1, при этом с потоком воды выносится и дисперсный шлам. Для его улавливания к трубопроводу 7 подключен инерционный сепаратор 14. После сепарации осветленная вода попадает в деаэратор 9, где поддерживается температура ~104oC и давление ~0,2 ати. Барботаж пара в деаэраторе 9 обеспечивает интенсивное перемешивание кипящей воды. Поскольку рабочий объем деаэратора 9 равен 1,5 - 3,5 рабочего объема термоумягчителя 1, то поступившая в последний частично умягченная вода поддерживается в состоянии кипения 20 - 30 мин, пока переместится от входа до выхода ее из деаэратора 9. В это время идет интенсивное выделение . В процессе дегазации и происходит завершающая, наиболее глубокая стадия термоумягчения. При этом, если рабочий объем деаэратора 9 меньше, чем 1,5 рабочего объема термоумягчителя 1, то умягченная вода будет удалена из деаэратора ранее, чем закончится наиболее глубокое разложение бикарбонатов, что снижает качество умягчения. Если рабочий объем деаэратора 9 будет больше, чем 3,5 рабочего объема термоумягчителя 1, то увеличивается время нахождения умягчаемой воды в деаэраторе 9, что снижает производительность установки, почти не влияя в дальнейшем на качество умягчения, увеличивается и металлоемкость установки. Выделившийся в деаэраторе 9 шлам оседает в его нижней зоне, в месте расположения шламоуловителя 10, и по трубопроводу 6 через эжектор 12 суспензия мелкодисперсного шлама подается в реакционную зону 2 термоумягчителя 1. Частичцы шлама являются центрами кристаллизации, интенсифицируя процесс. Отбор умягченной воды из деаэратора 9, в целях снижения проскока шлама, осуществляют через шламоограждающий стакан 15. Термоумягченная вода идет в тепловые сети.

[17]

При подпитке парового котла к трубопроводу 7' подключают дополнительный трубопровод 16, по которому часть термоумягченной воды направляется на дополнительное умягчение в катионный фильтр 17, где происходит более глубокое удаление солей кальция. Для охлаждения направляемой в катионный фильтр 17 воды ее пропускают через теплообменник 18, к которому подключают трубопровод 4 для подвода исходной воды, которая служит охлаждающим агентом.

[18]

Для предотвращения накипеобразования в теплообменнике 18 в него эжектором 20 подается суспензия шлама, поступающая из осадительной зоны 3 термореактора 1 по дополнительному шламопроводу 19. При этом отвод взвешенного шлама в теплообменник 18 и подвод его в реакционную зону 2 из деаэратора 9 позволяет поддерживать постоянный уровень взвешенного фильтрующего слоя в термоумягчителе 1, что снижает количество шлама, выносимого умягченной водой.

[19]

Таким образом, отличительные признаки предлагаемого технического решения в общей совокупности позволяет обеспечить наиболее глубокое разложение бикарбонатов кальция и магния, при этом:
- наличие в составе установки деаэратора, рабочий объем которого составляет 1,5 - 3,5 рабочего объема термореактора и связь их посредством трубопровода для отвода термоумягченной воды, обеспечивает суммарную выдержку при температуре кипения умягченной воды не менее 25 - 30 мин, т.е. время, в течение которого идет разложение максимального количества бикарбонатов. Дальнейшее увеличение времени выдержки нецелесообразно, т.к. снижается производительность установки, а качество термоумягчения почти не увеличивается;
- наличие трубопровода для отвода выпара из термоумягчителя в деаэратор наряду с подводом пара /теплоносителя/ в термоумягчитель позволяет поддерживать постоянное давление и температуру в термоумягчителе и утилизацию в деаэраторе подаваемого в термоумягчитель избыточного пара;
- установка на трубопроводе для отвода умягченной воды инерционного сепаратора позволяет улавливать часть шлама, унесенного умягченной водой;
- наличие в одном из вариантов установки катионного фильтра и теплообменника позволяет использовать часть отводимой воды в тепловые сети термоумягченной воды для подпитки парового котла; при этом подвод в теплообменник шлама снижает накипеобразование в последнем, а одновременный подвод шлама в термоумягчитель и деаэратор и отвод шлама из него посредством дополнительного шламопровода позволяет поддерживать постоянный уровень фильтрующего шламового слоя в термоумягчителе, что снижает уровень фильтрующего шламового слоя в термоумягчителе, что снижает вынос шлама термоумягченной водой.

Как компенсировать расходы
на инновационную разработку
Похожие патенты