патент
№ RU 2148026
МПК C02F1/46

СПОСОБ УМЕНЬШЕНИЯ ЖЕСТКОСТИ ВОДЫ

Авторы:
Дзегиленок В.Н.
Правообладатель:
Все (3)
Номер заявки
98114344/12
Дата подачи заявки
16.07.1998
Опубликовано
27.04.2000
Страна
RU
Как управлять
интеллектуальной собственностью
Реферат

[21]

Способ предназначен для уменьшения жесткости воды, применяемой, например, в теплоэнергетике. Процесс проводят в электролизере, рабочая поверхность которого служит катодом, а анод расположен коаксиально внутри электролизера по всей его длине. Водяной поток пропускают в ламинарном режиме вдоль оси электролизера и при достижении определенной толщины слоя осадка на катоде подают импульс тока, превышающего ток ионизации кислорода, достаточный для бурного выделения на катоде водорода, при этом направление движения водного потока изменяют на противоположное. Ионизацию кислорода катализируют за счет использования материалов с высоким перенапряжением выделения водорода, а водный поток перед обработкой электрическим током аэрируют. Технический результат - снижение жесткости воды, предотвращение образования накипи на поверхностях теплообменников, бактерицидная обработка воды за счет выделения на катоде активного хлора. 2 з.п. ф-лы, 1 ил.

Формула изобретения

1. Способ уменьшения жесткости воды, включающий обработку воды постоянным электрическим током, при котором на катоде происходит осаждение солей жесткости, отличающийся тем, что процесс проводят в электролизере, рабочая поверхность которого служит катодом, а анод расположен коаксиально внутри электролизера по всей его длине, водяной поток пропускают в ламинарном режиме вдоль оси электролизера и при достижении определенной толщины слоя осадка на катоде подают импульс тока, превышающего ток ионизации кислорода, достаточный для бурного выделения на катоде водорода, при этом направление движения водного потока изменяют на противоположное.

2. Способ по п.1, отличающийся тем, что ионизацию кислорода катализируют за счет использования материалов с высоким перенапряжением выделения водорода, например олова в виде покрытия.

3. Способ по п.1, отличающийся тем, что перед обработкой электрическим током водный поток аэрируют для повышения концентрации растворенного в нем кислорода.

Описание

[1]

Изобретение относится к способам уменьшения жесткости воды для повышения эффективности ее использования.

[2]

Известны реагентные способы уменьшения жесткости воды по /1/.

[3]

Недостатки /1/ - значительный расход химических реагентов, соответственно большие затраты средств на обработку воды.

[4]

Эти недостатки устранены при уменьшении жесткости воды с помощью электрического тока.

[5]

Известно устройство по /2/, в котором через циркуляционную воду пропускают постоянный электрический ток, при котором соли жесткости осаждаются на катоде.

[6]

Недостатки /2/ заключаются в следующем:
- катод быстро покрывается слоем осадка солей жесткости, после чего его нужно заменять или каким-то образом удалять осадок, в связи с чем /2/ может работать только на оборотной воде;
- при электролизе анод быстро изнашивается, из-за чего в годы создания /2/, когда отсутствовали такие материалы, как титан со специальным каталитическим покрытием, оно было практически не осуществимо.

[7]

Задачей изобретения является придание воде отрицательной жесткости с удалением из воды соответствующих солей.

[8]

Данная задача решается за счет того, что в способе уменьшения жесткости воды, основанном на поляризации рабочей поверхности электролизера, по оси которого в ламинарном режиме пропускают водный поток, когда анодом служит электрод, размещенный коаксиально внутри электролизера по всей его длине, процесс поляризации проводят при силе тока, соответствующей потенциалу ионизации кислорода ниже потенциала разряда ионов водорода, а в промывном режиме - при токе, соответствующем потенциалу выделения водорода, и направление движения водного потока изменяют на обратное. Кроме того, ионизацию кислорода катализируют за счет использования материалов с высоким перенапряжением выделения водорода, а водный поток перед обработкой электрическим током аэрируют.

[9]

Способ осуществляется следующим образом.

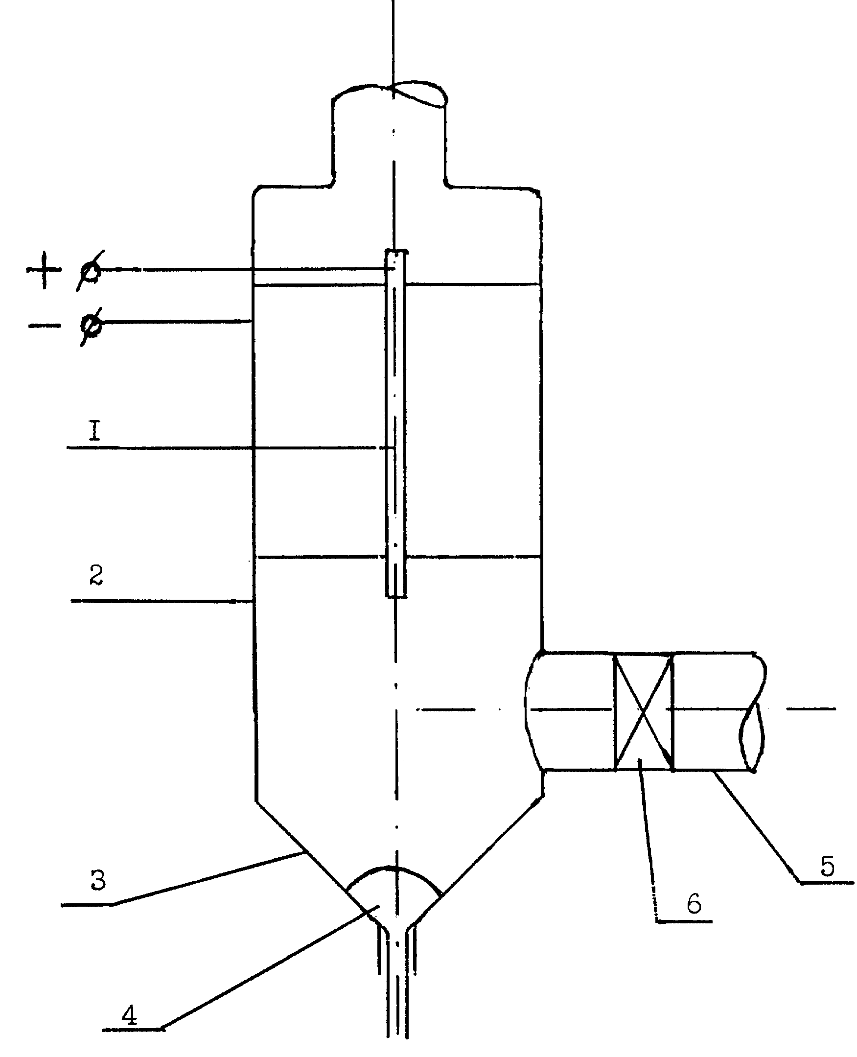
[10]

В устройстве (см. чертеж) анодом 1 служит электрод, размещенный коаксиально внутри корпуса 2 электролизера по всей его длине. В нижней части электролизера установлено хранилище осадка 3 с клапаном 4. На входном патрубке 5 установлена задвижка 6.

[11]

В промывном режиме на анод 1 и катод 2 подают соответствующий ток, при этом осадок отдирается от поверхности электролизера водородом и падает в хранилище 3. Задвижка 6 на входном патрубке 5 закрывается, а клапан 4 открывается. При этом осадок падает вместе с водой вниз.

[12]

Процесс малоэнергоемок, идет при низкой плотности тока на катоде. Катодный процесс заключается в ионизации кислорода, а не в выделении кислорода. При этом применяются электроды-катализаторы, препятствующие выделению водорода на катоде и кислорода - на аноде, чтобы выпадание осадка не тормозилось.

[13]

Перед обработкой электрическим током водный поток аэрируют для повышения концентрации в нем растворенного кислорода, затем пропускают в ламинарном режиме между анодом 1 и катодом 2, при этом прикатодное пространство защелачивается и соли жесткости (кальция, магния, железа, алюминия и др.) отлагаются на катоде в виде плотного пористого осадка.

[14]

Процесс ведется при постоянной силе тока. По мере роста слоя осадка напряжение на электролизере растет и при достижении определенной толщины слоя на 1-2 минуты дается импульс тока, значительно выше тока ионизации кислорода и направление водного потока меняется на обратное. При этом на катоде бурно выделяется водород и отдирает осадок от поверхности электролизера крупными частицами, которые падают в хранилище осадка 3 и периодически удаляются.

[15]

Вода, лишенная солей жесткости, подается в теплоэнергетические или др. системы, где из нее не будет выпадать накипь, а при соответствующей минерализации исходной воды она приобретает способность растворить накипь за счет гидратированных электронов, акцептированных примесями.

[16]

Количество электричества и скорость потока воды выбираются из расчета 25-50 амперчасов на каждый электрохимический эквивалент удаляемых солей жесткости, рассматриваемой, как реально замеренная в воде жесткость, так и требуемая отрицательная жесткость (мягкость воды).

[17]

При применении материалов с высоким перенапряжением водорода, катализирующих ионизацию кислорода (олово, свинец и т.п. в виде покрытий), процесс можно проводить с большими плотностями тока, что позволяет уменьшить рабочую поверхность катода и габариты установки.

[18]

Предлагаемый способ обеспечивает эффективное снижение жесткости воды, что позволяет предотвращать выпадание накипи на поверхностях теплообменников, а также получать другие эффекты активированной воды, обеспечивает бактерицидную обработку воды за счет выделения на катоде активного хлора и др. галогенов, а также увеличение скорости седиментации частиц за счет их укрупнения и уменьшения растворимости.

[19]

Литература:
1. С.Н. Черкинский. Гигиеническое нормирование солевого состава питьевой воды. М. 1963.

[20]

2. А.С. СССР N 132132 A, 20.09.60.

Как компенсировать расходы
на инновационную разработку
Похожие патенты