патент
№ RU 2141875
МПК B03B5/16

ОТСАДОЧНАЯ МАШИНА ДИАФРАГМОВАЯ

Авторы:
Абдулин М.Г.
Номер заявки
98118674/03
Дата подачи заявки
07.10.1998
Опубликовано
27.11.1999
Страна
RU
Как управлять
интеллектуальной собственностью
Чертежи 
1
Реферат

[17]

Изобретение относится к обогащению руд цветных, черных и редких металлов. Машина отсадочная диафрагмовая включает неподвижный корпус, разделенный вертикальной перегородкой на отсадочное отделение с решетом и диафрагмовое отделение с горизонтальной диафрагмой и дополнительной горизонтальной диафрагмой, связанными с электродвигателем единым эксцентриковым приводом с противоположными эксцентриками, причем каждая из горизонтальных диафрагм выполнена в виде диска с манжетами и снабжена колпаком с воздушной подушкой. Изобретение повышает эффективность обогащения руд, в частности извлечения золота, за счет снижения воздействия гидроударов и оптимизации режима отсадки. 2 ил.

Формула изобретения

Отсадочная машина диафрагмовая, включающая неподвижный корпус, разделенный вертикальной перегородкой на отсадочное и диафрагмовое отделения, причем в отсадочном отделении установлено решето, а в диафрагмовом - горизонтальная диафрагма, связанная с электродвигателем через эксцентриковый привод, шкивы и ременную передачу, отличающаяся тем, что диафрагмовое отделение снабжено дополнительной горизонтальной диафрагмой, связанной с электродвигателем единым эксцентриковым приводом с противоположными эксцентриками, причем каждая из горизонтальных диафрагм выполнена в виде диска с манжетами и снабжена колпаком с воздушной подушкой.

Описание

[1]

Изобретение относится к области руд, в частности к отсадочным машинам для гравитационного обогащения руд черных, цветных и редких металлов.

[2]

Известны отсадочные машины диафрагмовые типа МОД с горизонтальным или вертикальным расположением диафрагм и механическим приводом. См., например, "Справочник по обогащению руд, основные процессы ", под ред. О.С.Богданова, Москва, "НЕДРА", 1983 г., стр. 56-57.

[3]

Наиболее близким прототипом является диафрагмовая отсадочная машина с горизонтальной диафрагмой, например, типа МОД-3М Новосибирского завода "Труд".

[4]

Колебания воды в камере отсадочной машины МОД-3М создаются движением вверх и вниз конических днищ, обеспечиваемыми одним или двумя эксцентриковыми приводными механизмами через горизонтально расположенную диафрагму, соединенную с корпусом отсадочной машины резиновыми манжетами.

[5]

Недостатком взятой за прототип отсадочной машины является возникновение гидроударов, которые вызывают разрушение деталей и узлов и нарушают технологию отсадки, в связи с чем вместо разделения минеральных частиц по плотности, размерам и форме происходит механическое просеивание материала под решето.

[6]

Задачей изобретения является снижение воздействия гидроударов и сохранение оптимального технологического режима мокрой отсадки.

[7]

Задача достигается тем, что отсадочная машина диафрагмовая включает неподвижный корпус, разделенный вертикальной перегородкой на отсадочное и диафрагмовое отделения, причем в отсадочном отделении установлено решето, а в диафрагмовом - две горизонтальных диафрагмы, связанные с электродвигателем через единый эксцентриковый привод с противоположными эксцентриками, шкивы и ременную передачу, причем каждая из горизонтальных диафрагм снабжена колпаком с воздушной подушкой.

[8]

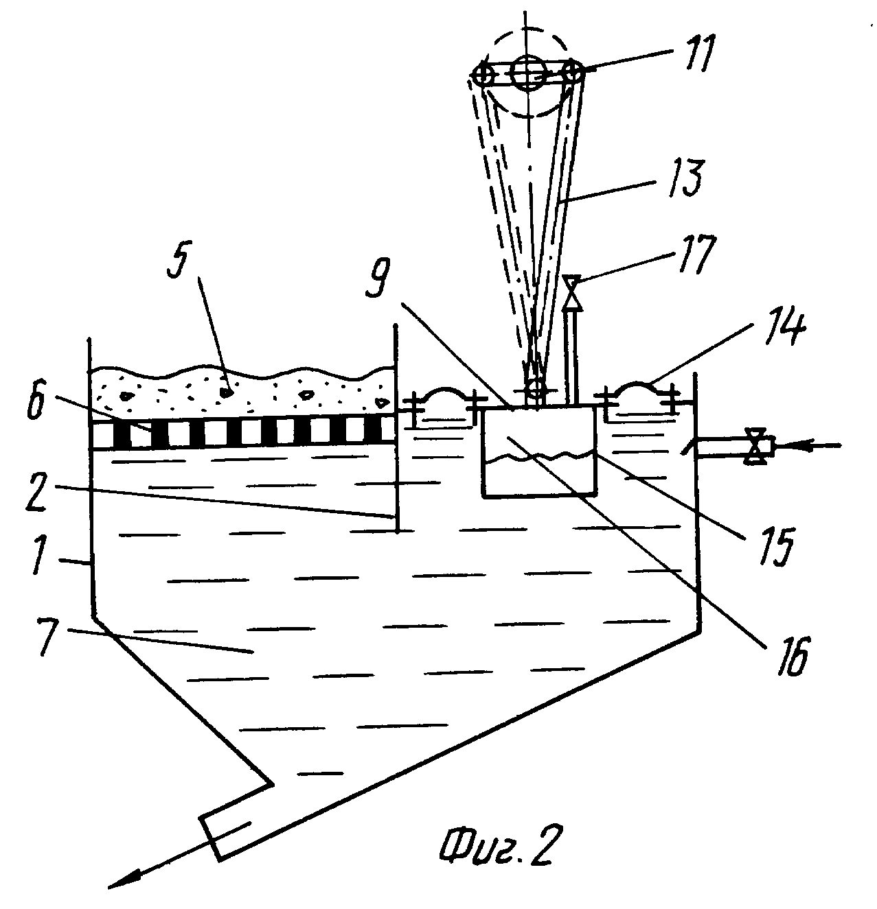
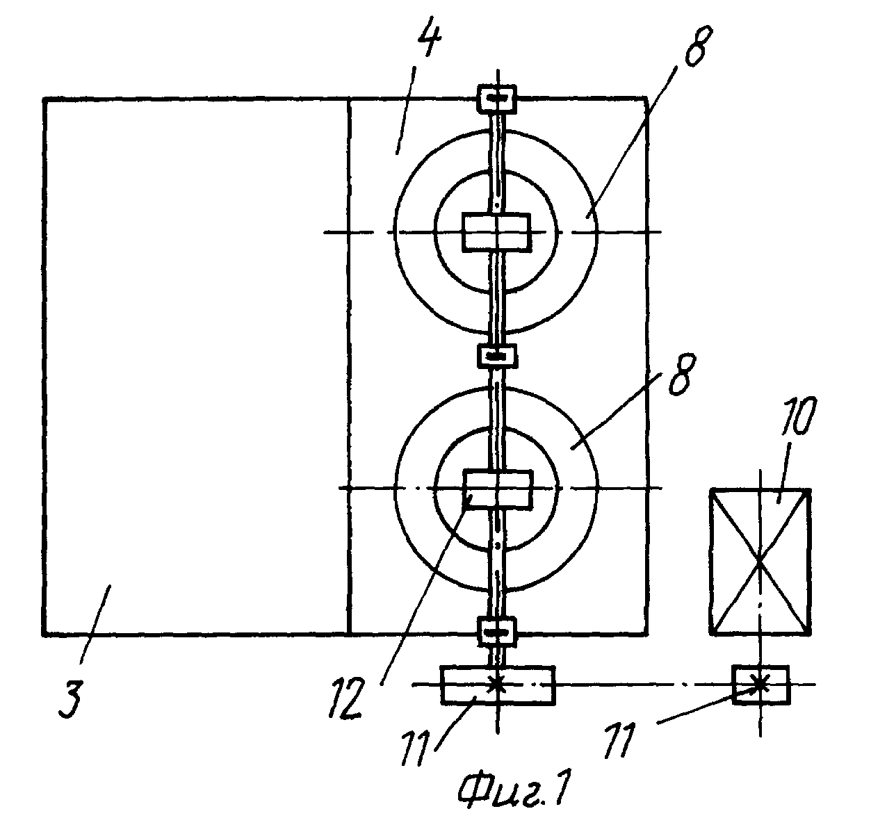
Устройство предлагаемой отсадочной машины диафрагмовой схематично показано на фиг. 1, 2 (план и разрез).

[9]

Отсадочная машина диафрагменная имеет неподвижный корпус 1, разделенный вертикальной перегородкой 2 на отсадочное отделение 3 и диафрагменное отделение 4.

[10]

Отсадочная машина диафрагмовая работает следующим образом.

[11]

Материал для отсадки 5 помещают на решето 6 отсадочного отделения 3 корпуса 1. Под решето 6 равномерно или периодически подается подрешетная вода 7. Подрешетная вода 7 пульсирует вследствие последовательных возвратно-поступательных движений двух горизонтальных диафрагм 8. Каждая диафрагма 8 состоит из диска 9 и манжеты 14, которая крепится к корпусу 1 в диафрагменном отделении 4.

[12]

Движение каждой из диафрагм 8 от электродвигателя 10 осуществляется через шкивы и ременную передачу 11. Колебания дискам 9 сообщает эксцентриковый привод 12 через штоки 13. Последовательность движения каждой из диафрагм 8 осуществляется поворотом в противоположные стороны эксцентриков привода 12.

[13]

Диски 9 снабжены колпаками 15 с воздушными подушками 16. Регулировка толщины воздушной подушки 16 производится воздухомерной трубкой 17.

[14]

Воздушные подушки 16 являются эффективной защитой от гидроударов.

[15]

Наличие двух горизонтальных диафрагм 8 увеличивает быстроходность отсадочной машины и позволяет получить оптимальные результаты мокрой отсадки руд, в том числе тонко истертых фракций полезных минералов, а также золотосодержащих россыпей, которые имеют свойство находиться в пульпе во взвешенном состоянии и сноситься в "хвосты" обогатительных фабрик.

[16]

Достижение оптимального режима мокрой отсадки в предлагаемой отсадочной машине осуществляется регулировкой эксцентриситета в эксцентриковом приводе 12, толщиной воздушной подушки 16, высотой надрешетного порога отсаживаемого материала 5, сменой шкива передачи 11.

Как компенсировать расходы
на инновационную разработку
Похожие патенты