Устройство относится к печи-каменке и может быть использовано для оборудования бань и саун. Печь содержит защитный кожух, топку с ребрами жесткости в виде вертикальных уголков с закрытой верхней частью, закрывающих отверстия на боковых поверхностях топки, опоры внутри топки, на которые устанавливается плита отбойника, закрытую каменку с крышкой с бортиками и установленной на ней воронкой и соплом, топочный канал с дверцей, верхняя часть которого состоит из двух плит с воздушным зазором между ними. Обеспечивается расширение функциональных возможностей устройства для получения различных режимов парообразования, обеспечение легкости обслуживания и смены оборудования, эффективность схемы прогрева камней и парильного помещения. 1 з.п., 5 ил.
1. Печь-каменка, содержащая кожух, топку, закрытую каменку, топочный канал с дверцей, отличающаяся тем, что топка имеет два ребра жесткости в виде вертикальных уголков с закрытой верхней частью, закрывающих отверстия на боковых поверхностях топки, опоры внутри верхней части топки, на которые устанавливается плита отбойника, закрытая каменка имеет крышку с бортиками, на крышке установлены воронка и сопло, расположенное под углом к горизонтальной поверхности крышки и прикрывающее прорези на крышке, верхняя часть топочного канала состоит из двух плит с воздушным зазором между ними. 2. Печь-каменка по п.1, отличающаяся тем, что плита отбойника состоит из двух частей, одна из которых имеет отверстия по центральной оси.
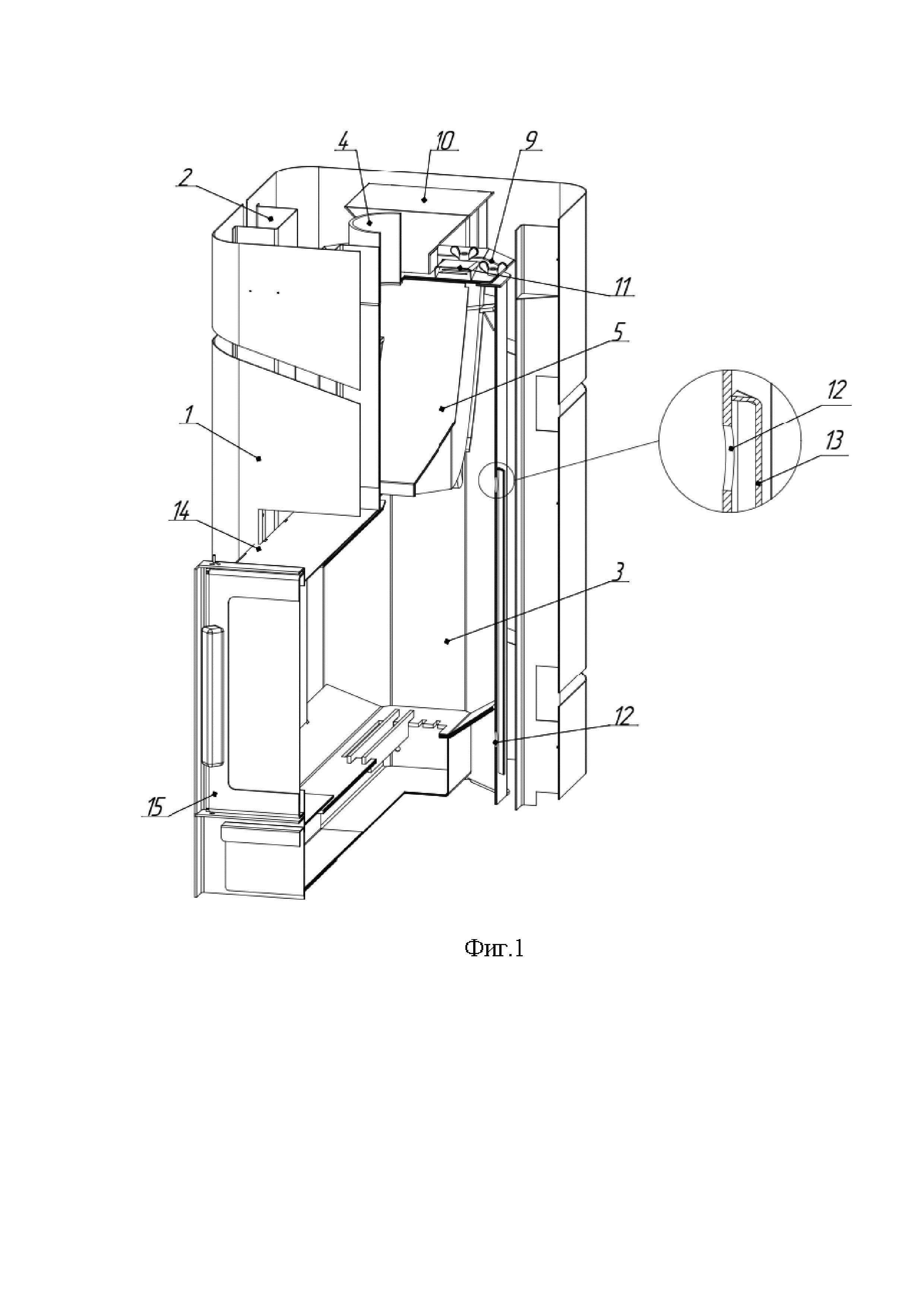
Область техники, к которой относится полезная модель Устройство относится к области теплотехники, в частности, к конструкции теплотехнического устройства, предназначенного для отопления и парообразования, и может быть использовано для оборудования бань и саун. Конструкция устройства позволяет использовать различные сочетания температуры и влажности воздуха, создавая режимы мелкодисперсного пара, классического пара и сауны. Уровень техники Известно устройство - печь для бани Услада (URL https://www.pban.ru/production/bannye-pechi-uslada/zhara-uslada-20s/), состоящее из сетки-каменки, корпуса топки и установленной съемной закрытой каменкой модульного типа, топочного короба с колосниковой решеткой, зольным совком и панорамной дверцей. Недостатком данного устройства является сложность обслуживания закрытой каменки (для обслуживания необходимо разобрать весь дымоход), невозможность пользоваться устройством без закрытой каменки, возможны лишь варианты использования в печи разных модулей. Также известно устройство - дровяная печь для бани (URL https://ermak-termo.ru/catalog/bannie-pechi-na-drovah/ermak-16-standart-st/?opts=y&opt[]=2077), взятое за прототип, содержащее металлический кожух, топочную камеру с колосниковой решеткой и дверцей, зольник с зольным ящиком, патрубок дымохода и открытую каменку с возможностью установки модуля закрытой каменки и парообразователя. Модуль устанавливается поверх открытой каменки, образуя закрытое пространство в каменке. Недостатком данной печи является сложность установки модуля (URL https://www.youtube.com/watch?v=ZGFeMJ1W5mA&t=1044s), малый объем закрытой каменки. Техническая задача - улучшение потребительских свойств устройства. Техническим результатом является улучшение конструкции устройства, что позволяет расширить функциональные возможности устройства для получения различных режимов парообразования, обеспечить легкость обслуживания и смены оборудования, эффективность схемы прогрева камней и парильного помещения. Раскрытие сущности полезной модели Основными элементами устройства являются: металлический кожух в форме правильного параллелепипеда с узкими круговыми прорезями на его поверхности; топка печи с двумя каналами дожига, модуль закрытой каменки, включающий в себя корпус закрытой каменки и крышку с бортиками, на которой расположены воронка для подачи воды и небольшое сопло, которое служит местом выхода мелкодисперсного пара, плиту отбойника, перекрывающую прямой ход газов и пламени из топки в трубу и способствующую полному сгоранию топлива; топливный канал в виде горизонтально расположенного параллелепипеда с двойной верхней защитой в виде пластин с небольшим зазором между ними, позволяющим направлять горячий воздух из топки непосредственно к закрытой каменке, топить в самом топочном канале; дверца в виде прямоугольной рамки со смотровым стеклом; колосниковая решетка на дне топки; зольный ящик под топочным каналом. На боковых поверхностях топки расположены отверстия, снаружи топки приварены вертикально уголки с закрытой верхней частью, прикрывающие эти отверстия и образующие каналы, через эти каналы дожига снизу поступает воздух и улучшает процессы горения в печи. Эти же уголки служат также дополнительными ребрами жесткости. Модуль закрытой каменки выполнен изогнутым и «садится» на опору, закрепленную на стенке топки. Благодаря конструкции закрытой каменки и ее расположению под некоторым углом, пламя охватывает каменку со всех сторон, нагревая теплоаккумулирующие элементы внутри него равномерно. Двойная верхняя защита топливного канала с воздушным зазором между плитами позволяет топить в самом канале, не подвергая сам топливный канал сильному тепловому воздействию и направлять подогретый воздух через воздушный зазор непосредственно к закрытой каменке. Это особенно актуально при использовании в устройстве удлиненного топочного канала. Прорези на кожухе печи выполнены следующим образом: две сквозные параллельные друг другу прорези проходят полностью через кожух печи под некоторым углом к горизонтальной поверхности передней и задней стенок кожуха, через обе боковые поверхности кожуха проходит вертикальная прорезь, кожух закреплен с помощью двух вертикальных опор на боковых поверхностях, внутрь кожуха укладывают теплоаккумулирующий материал, обеспечивающий защиту от жесткого инфракрасного излучения и являющийся источником так называемого «мягкого» тепла Длина топливного канала может варьироваться в зависимости от целей использования устройства, например топки печи из смежного помещения Эффективная схема прогрева камней и парильного помещения заключается в том, что топка имеет два канала дожига, а также топочный канал с двойной верхней защитой, позволяющий направлять горячий воздух из топки в закрытую каменку и топить в самом топочном канале. Краткое описание чертежей Сущность технического решения поясняется следующими чертежами. Фиг.1 - Общий вид устройства с модулем закрытой каменки. Фиг.2 - Общий вид устройства с модулем закрытой каменки. Фиг.3 - Общий вид устройства без модуля закрытой каменки. Фиг.4 - Крышка топки. Фиг.5 - Плиты отбойника. Устройство заключено в металлический кожух 1 (фиг.1), состоящий из П-образных панелей, соединенных между собой двумя При использовании устройства без закрытой каменки (фиг.3), вместо крышки 9 (фиг.1, фиг.2) и плиты отбойника 6 (фиг.2) устанавливают крышку 16 (фиг.3, фиг.4), плиту отбойника 17 (фиг.3, фиг.5) большего размера, чем плита отбойника 6 (фиг.2), которая имеет небольшие отверстия по центральной оси для выхода незначительных остатков дымовых газов и плиту отбойника 18 (фиг.3, фиг.5). Осуществление полезной модели Устройство работает следующим образом. При использовании устройства с модулем закрытой каменки устанавливают модуль закрытой каменки 5 (фиг.1, фиг.2) и заполняют ее теплоаккумулирующими элементами. Также теплоаккумулирующим материалом заполняют пространство между топкой 3 (фиг.1) и кожухом 1 (фиг.1) и верхнюю часть устройства. Топливо через топочный канал 15 (фиг.1, фиг.2) попадает в топку 3 (фиг.1). Благодаря каналам дожига 13 (фиг.1) происходит постоянная конвекция воздуха. В результате сгорания топлива пламя и дымовые газы в топке 3 (фиг.1), а также из топочного канала 15 (фиг.1) через верхний зазор в канале между верхними плитами, охватывают закрытую каменку 5 (фиг.1, фиг.2) и нагревают теплоаккумулирующий материал, находящийся в нем. Плита отбойника 6 (фиг.1) перекрывает прямой ход пламени и газов из топки 3 (фиг.1) в патрубок печи 4 (фиг.1, фиг.2), тем самым обеспечивая практически полное сгорание топлива и газов в печи. Для получения мелкодисперсного пара вода подается внутрь закрытой каменки 5 (фиг.1, фиг.2) через воронку 10 (фиг.1, фиг.2). Выход мелкодисперсного пара осуществляется через сопло 11 (фиг.1) Для получения классического пара вода подается на теплоаккумулирующий материал, расположенный на верхней части устройства. Устройство может использоваться как с закрытой каменкой 5 (фиг.1, фиг.2), так и без нее (фиг.3) в режиме получения только «классического пара». Для этого снимается крышка закрытой каменки 9 (фиг.1), извлекают теплоаккумулирующий материал и корпус закрытой каменки 5 (фиг.1, фиг.2), не разбирая узел дымохода, и заменяют на крышку 16 (фиг.3, фиг.4) и плиты отбойника 17 и 18 (фиг.3, фиг.5). Крышка устройства 16 (фиг.3, фиг.4) имеет по краям бортики, направленные вверх, чтобы при попадании на нее воды, вода не разбрызгивалась по сторонам через прорези в печи. Конструкция дверцы 15 (фиг.1) выполнена таким образом, что может открываться на любой необходимый для загрузки угол, при этом есть возможность поменять направление открывания дверцы. Теплоаккумулирующие материал, находящийся между топкой 3 (фиг.1) и кожухом 1 (фиг.1), в процессе эксплуатации устройства ограждают пользователя от жесткого инфракрасного излучения и являются источником так называемого «мягкого» тепла.