патент
№ RU 2139105
МПК A61M5/14

КАТЕТЕР ДЛЯ ИНЪЕКЦИИ ЖИДКОСТИ ИЛИ ЛЕКАРСТВЕННОГО СРЕДСТВА

Авторы:
Бертольд Хефлинг (DE)
Номер заявки
96120144/14
Дата подачи заявки
29.08.1994
Опубликовано
10.10.1999
Страна
RU
Дата приоритета
15.12.2025
Номер приоритета
Страна приоритета
Как управлять
интеллектуальной собственностью
Чертежи 
7
Реферат

[35]

Катетер предназначен для инъекции жидкости или лекарственного средства в полые органы или полости тела, в частности в коронарные сосуды и артерии. Пучок игл для инъекции размещен с возможностью перемещения относительно наконечника катетера, причем либо наконечник катетера перемещается вдоль по оси относительно хвостовой части катетера, либо при жестко связанном с хвостовой частью катетера наконечнике катетера перемещается в продольном направлении пучок игл для инъекции. Иглы для инъекции внутри хвостовой части катетера имеют различную форму и направляющую. Для обеспечения относительного перемещения игл для инъекции относительно наконечника катетера предусмотрено управляющее устройство, которое с помощью контролируемого перемещения двух подвижных относительно друг друга частей управляет выдвижением и втягиванием игл для инъекции и одновременно позволяет осуществлять введение медикаментов через соединительные элементы для лекарственного средства. Технический результат заключается в снижении поверхностного трения при инъекции и в обеспечении точного позиционирования игл для инъекции в ткани. 3 з.п. ф-лы, 8 ил.

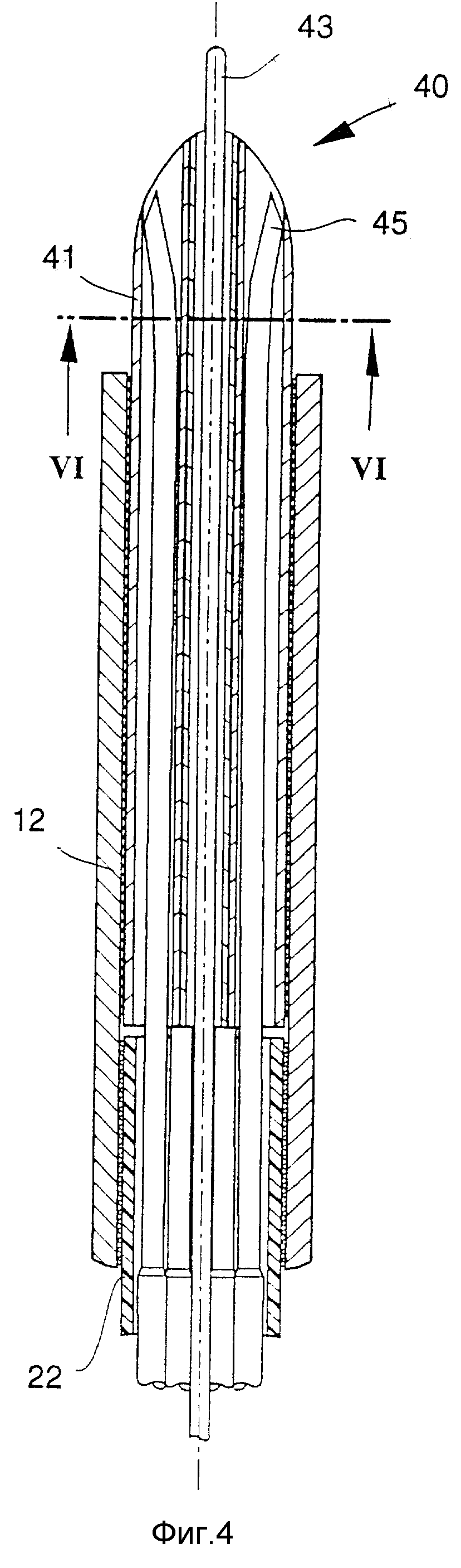
Формула изобретения

1. Катетер для инъекции жидкости или лекарственного препарата в полые органы и полости тела, в частности в коронарные сосуды и артерии, с наконечником (11) катетера, вводимым в артерии, и хвостовой частью (12, 14) катетера, несколькими расположенными в наконечнике катетера с возможностью смещения иглами (15) для инъекции, причем острия игл во втянутом положении размещены внутри наконечника катетера и для введения жидкости или лекарства в выдвинутом положении выступают из наконечника катетера, с расположенным на экстракорпоральном конце управляющим устройством (50), с предусмотренными в наконечнике катетера отверстиями (18) с направляющими для игл, выполненными с возможностью выхода игл для инъекции как в сторону, так и вперед, причем хвостовая часть (12, 14) катетера закреплена на части (57) управляющего устройства, а наконечник (11) катетера соединен с другой частью (56) управляющего устройства, с обеспечением возможности перемещения нескольких из направленных параллельно игл (15) для инъекции при приведении в действие управляющего устройства из отведенного назад положения в положение, выступающее наружу за счет относительного перемещения наконечника катетера и игл для инъекции относительно друг друга, отличающийся тем, что иглы (15) для инъекций, собранные в пучок, вблизи от периферийной зоны катетера вставлены в гибкую трубку (24), внутри хвостовой части (14) катетера, принимающую в своем внутреннем диаметре иглы (15) для инъекций.

2. Катетер по п.1, отличающийся тем, что в хвостовую часть катетера напылена проволочная оплетка (52) из нержавеющей стали.

3. Катетер по одному или нескольким пп.1 и 2, отличающийся тем, что в хвостовую часть катетера вмонтирована стабилизирующая проволока (67).

4. Катетер по одному или нескольким пп.1 - 3, отличающийся тем, что управляющее устройство (50) имеет выдвижной поршень (56) для перемещения проволоки (17) приведения в действие, что выдвижной поршень (56) снабжен резьбой (61) для осевого перемещения с помощью гайки (62) с накаткой и что в управляющем устройстве предусмотрены соединительные элементы (59) для лекарственного средства, сообщающиеся с отдельными иглами (15) для инъекции.

Описание

[1]

Изобретение относится к катетеру для инъекции жидкости или лекарственного средства в полые органы или полости тела, в частности в коронарные сосуды и артерии, с вводимым в артерии наконечником катетера и хвостовиком катетера, а также с несколькими, расположенными с возможностью перемещения в наконечнике катетера иглами для инъекции, причем острия игл лежат в наконечнике катетера во втянутом положении, а для ввода жидкости или лекарства выступают над наконечником катетера в выдвинутой позиции, с размещенным на находящемся вне тела конце устройством приведения в действие, с помощью которого острия игл могут перемещаться по хвостовой части катетера, и с предусмотренными в наконечнике катетера отверстиями с направляющими для игл, которые позволяют инъекционным иглам выдвигаться как сбоку, так и в направлении вперед, причем иглы для инъекций закреплены на установленном в катетере на продольной оси с возможностью перемещения шланге, который может перемещаться в хвостовой части катетера, причем хвостовая часть катетера прикреплена к одной части, а инъекционные иглы прикреплены к другой части устройства приведения в действие и при относительном перемещении обеих частей относительно друг друга одна или несколько игл для инъекции движутся из отведенной назад позиции в выступающих вперед позицию за счет относительного перемещения наконечника катетера и игл для инъекции по отношению друг к другу.

[2]

Из патента США US-PS 3598119 известен медицинский прибор для введения анестетика, в котором с помощью коаксиального канала (люмена), с одной стороны, игла для инъекций направляется под кожную поверхность во внутреннем канале, а с другой стороны, расположенный в периферийной (дистальной) области пузырь может надуваться с помощью коаксиального внешнего объема, чтобы зафиксировать острие иглы под кожей.

[3]

Из описания немецкого полезного образца G 8913761 известно эндоскопическое устройство для инъекций для фибринового клея, у которого предусмотрены три направляемых друг в друга соосно шланга с подающим устройством, причем наружный шланг служит в качестве направляющей для обоих внутренних шлангов, с помощью которой подается двухкомпонентный фибриновый клей и после смешивания в периферийной области вводится с помощью иглы для инъекций, закрепленной на одном из коаксиальных шлангов.

[4]

Из заявки WO 9210142 известен катетер, у которого иглы установлены с возможностью перемещения в продольном направлении в многоканальной хвостовой части катетера и могут выталкиваться в окружающую ткань через ведущие наружу отверстия в наконечнике катетера, чтобы с помощью этих игл разместить в ткани оптоволоконные элементы или термические измерительные элементы. Полые иглы пригодны далее также для ввода устройств для промывки и отсоса.

[5]

Из патента США 4578061 известен катетер, предназначенный для того, чтобы с помощью выдвигаемых игл для инъекции впрыскивать в вену или артерию жидкость. Игла для инъекций может выдвигаться в продольном направлении у переднего конца катетера, причем подаваемые через продольный канал (люмен) катетера лечебные средства можно подавать через сообщающееся соединение в выдвинутом состоянии иглы для инъекции. Благодаря предусмотренной в наконечнике катетера двухкамерной системе, в которой два поршня могут входить друг в друга соосно, можно, с одной стороны, с помощью одного поршня выталкивать иглу для инъекций, а с другой стороны, с помощью второго поршня через иглу для инъекций вводить определенную дозу лечебного средства.

[6]

В заявке WO-A-9408653 уже предложен катетер упомянутого вначале типа. В этом катетере перемещаются в продольном направлении в многоканальной хвостовой части несколько игл для инъекции, причем наконечник катетера с помощью насаженной и наклонной втулки соединен с многоканальным хвостовиком. Соответствующее раскрытие следует из заявки UK-A-2269538.

[7]

Так как катетер для лечения коронарных сосудов и коронарных артерий должен иметь сравнительно большую длину и, как правило, может иметь длину примерно 1,2 м до 1,6 м, получается относительно большое трение, если нужно перемещать по всей длине катетера в отдельные люмены (каналы) многолюменной хвостовой части некоторое число игл для инъекции. Недостатком является также то, что благодаря относительно большому трению на большой длине при применении полимерных материалов для многолюменного шланга могут возникнуть нежелательные продольные растяжения или продольные сжатия, которые затрудняют точное размещение игл для инъекции в ткани.

[8]

В основу изобретения положена задача устранить эти недостатки.

[9]

Для решения этой задачи согласно изобретению предлагается закрепить иглы для инъекций в хвостовой части катетера и чтобы иглы для инъекции за счет перемещения наконечника катетера относительно хвостовой части катетера занимали выступающее из наконечника катетера положение или втянутое положение.

[10]

Благодаря этому предпочтительно достигается то, что в зависимости от формы выполнения головки катетера или связки (пучки) игл для инъекции можно значительно снизить поверхностное трение и благодаря этому возможно точное позиционирование игл для инъекции в ткани.

[11]

Очень незначительное трение по длине катетера получается также при другом примере выполнения изобретения, в котором находит применение многоканальная хвостовая часть, в которой иглы для инъекции зафиксированы в отдельных люменах (каналах) и из которого в хвостовой части катетера проходит провод для приведения в действие для втягивания и выталкивания наконечника катетера из хвостовой части катетера через направляющий люмен (канал).

[12]

В особом примере выполнения изобретения предусмотрено, чтобы иглы для инъекции были связаны в пучок и за периферийной зоной катетера вставлены в гибкую, принимающую в своем внутреннем диаметре иглы для инъекции гибкую трубку внутри хвостовой части катетера. Благодаря этой форме выполнения получается то преимущество, что имеется лишь два соосных трубчатых люмена, которые благодаря своему выполнению будь они из соответствующих полимерных материалов или из металла не обнаруживают никакого продольного растяжения или деформации по длине и таким образом делают возможным позиционирование игл для инъекции с незначительным усилием. При этом предусмотрено, что пучок игл для инъекций между головкой катетера и соосными люменами проходит связанным на длине, которая из-за легкой гибкости связанных игл для инъекций обеспечивает высокую гибкость периферийного участка катетера.

[13]

Для того чтобы еще более повысить периферийную гибкость катетера, предусмотрено также отдельные иглы для инъекций в их периферийной части при одинаковом объеме по диаметру выполнять с более тонкими стенками, благодаря чему получаются более тонкие и тем самым более гибкие иглы для инъекций. Тонкостеночная часть игл для инъекций может направляться в виде пучка дальше по всей длине в трубчатой наружной хвостовой части или же также вклеиваться или впаиваться в трубчатый внутренний люмен, чтобы направляться дальше до устройства приведения в действие с большим объемом по диаметру. Благодаря этому достигается, что подведенная жидкость подается в иглы для инъекции с большим избытком и благодаря этому может вводиться равномерно.

[14]

Для стабилизации против нежелательного растяжения по длине или деформации сжатия по длине можно также в соответствии с другим примером выполнения изобретения на катетерный хвостовик напылить проволочную сетку из нержавеющей стали или же в хвостовую часть катетера, или в пучок нескольких люменов вмонтировать стабилизирующую проволоку.

[15]

Для позиционирования катетера или для целевого направления его предусмотрено, что в связанном в пучок игл для инъекций направляющем люмене проводится направляющая проволока. Этот направляющий люмен может быть расположен также между связкой игл и наружной хвостовой частью катетера эксцентрически, причем направляющая проволока выходит вне тела перед устройством приведения в действие. У катетера без направляющих люменов предусмотрено, чтобы на периферийном конце наконечника катетера была закреплена направляющая проволока.

[16]

С целью проведения игл для инъекций в наконечнике катетера по возможности без трения предусмотрено, что наконечник катетера состоит из пучка трубок из нержавеющей стали, через внутреннюю полость которых проходят иглы для инъекций или в случае необходимости направляющая проволока. Этот пример выполнения особенно предпочтителен для применения предварительно изогнутых игл для инъекций или материала игл, который имеет суперупругие свойства или свойства запоминания формы. Особенно предпочтительное проведение игл для инъекции в наконечнике катетера получается также благодаря тому, что пучок игл для инъекции вводится через центральное отверстие в наконечнике катетера и выходит в сторону через сообщающиеся с центральным отверстием направляющие шлицы.

[17]

Очевидно, что при большом числе направляющих люменов в наконечнике катетера не все они должны быть оснащены иглами для инъекций. Более того, отдельные направляющие люмены могут использоваться также в качестве световодов, с помощью которых можно подводить через катетер к ткани световую энергию, чтобы при применении фотоактивируемых веществ подавать требуемую для этого световую энергию. Предусмотрено также введение контрольных и/или измерительных систем. При таких примерах выполнения следует устройство приведения в действие соответственно переоборудовать с тем, чтобы предусмотренные для световодов полости были доступны непосредственно с помощью устройства приведения в действие. Однако также предусмотрено направляющие люмены заканчивать перед устройством приведения в действие вне тела, чтобы можно было ввести такие световоды или также направляющую проволоку в катетер.

[18]

Устройство приведения в действие для такого катетера имеет выдвижной поршень для игл для инъекции или для приводящей в действие проволоки, причем выдвижной поршень снабжен резьбой для осевого перемещения с помощью гайки с накаткой, а на устройстве приведения в действие предусмотрены сообщающиеся с отдельными иглами для инъекции отверстия для лекарственного средства. Можно, однако, также движением перемещения выдвижного поршня управлять пневматически, с помощью гидравлики или электрически, установив соответствующие приводные средства на устройстве приведения в действие. Можно предусмотреть также ножное управление работой выдвижного поршня. Такое, приводимое в действие не от руки управление выдвижным поршнем имеет преимущества особенно в том случае, когда на управляющем устройстве предусмотрено несколько отверстий для лекарственного средства. Устройство управления (приведения в действие) целесообразно снабдить шкалой для обеспечения точного и контролируемого пути подачи. При этом можно предусмотреть упоры для определенного ограничения пути подачи.

[19]

Наконец, для особых случаев применения также предусмотрено, что на катетере для инъекций периферийно и/или вблизи наконечника катетера можно установить как фиксирующий баллон для анкеровки катетера во время инъекции, так и ангиопластический баллон, чтобы одновременно с инъекцией можно было проводить расширение.

[20]

Иглы для инъекций могут служить полостями для ввода контрольных и измерительных приборов. Речь может идти, например, об ангиоскопах, ультразвуковых измерительных приборах, спектроскопах, приборах для измерения активности и концентрации, а также значений pH или приборах для измерения температуры и т.п. Само собой разумеется, катетер для инъекций предусмотрен также для применения через каналы для пункций, чтобы лечить, например, опухоли, метастазы, очаги воспаления, конволюты или т.п.

[21]

Преимущества и признаки изобретения вытекают из нижеследующего описания примеров выполнения в сочетании с притязаниями и чертежами, на которых показано:
фиг. 1 - расположенный с возможностью перемещения в хвостовой части наконечника катетера для направления поддерживаемого в нескольких люменах хвостовой части катетера пучок игл для инъекции при введении и выведении,
фиг. 2 - наконечник катетера с втянутыми иглами для инъекции, которые поддерживаются в виде пучка в однолюменном хвостовике,
фиг. 3 - зафиксированный на однолюменной хвостовой части наконечник катетера с перемещаемой в однолюменной хвостовой части гибкой трубкой, к которой прикреплен перемещаемый в наконечнике катетера пучок игл для инъекции,
фиг. 4 - выполненный в виде пучка трубок наконечник катетра, который прикреплен к однолюменной хвостовой части, через которую может перемещаться пучок игл для инъекции,
фиг. 5 - управляющее устройство для перемещения пучка игл для инъекций в однолюменной хвостовой части,
фиг. 6 - разрез через состоящий из пучка трубок наконечник катетера согласно фиг. 4,
фиг. 7 - другой пример выполнения наконечника катетера,
фиг. 8 - разрез через хвостовую часть катетера с полостью иглы и с направляющей полостью.

[22]

На фиг. 1 показан периферийный конец катетера, у которого наконечник катетера 11 установлен с возможностью перемещения по оси в фиксирующей гильзе 12. Фиксирующая гильза 12 связана с хвостовой частью 14 с несколькими люменами, в которой в отдельных люменах закреплены иглы для инъекций 15. В центральном направляющем люмене 16 проходит приводящий в действие провод 17, который закреплен в наконечнике катетера 11 и с помощью которого наконечник катетера может перемещаться в осевом направлении. В представленном на фиг. 1 втянутом положении наконечника катетера иглы для инъекций 15 сдвинуты наружу через направляющие пазы 18, где они могут воткнуться в окружающую катетер ткань. Иглы для инъекций выполнены предпочтительно так, что они имеют предварительный изгиб и благодаря этому легче могут сдвигаться наружу в направляющем пазе. Для материала игл используются предпочтительно нержавеющие стали или специальные сплавы, которые имеют достаточную гибкость и жесткость, чтобы, с одной стороны, путем воздействия наконечника катетера могли выдвигаться наружу, а с другой стороны, должны быть достаточно жесткими, чтобы проникнуть в ткань. Для оптимального втыкания в ткань можно использовать различные виды заточки игл.

[23]

Представленный на фиг. 2 пример выполнения периферийного конца 20 катетера показывает наконечник катетера 11 в выдвинутом вперед положении так, что иглы для инъекций 15 расположились в направляющих пазах 18. В этом положении катетер вводится в артерию или в вену, причем расположенная на его переднем конце в качестве так называемой фиксирующей проволоки направляющая проволока 19 облегчает введение катетера. В катетере согласно фиг. 2 иглы для инъекций 15 собраны в пучок и в таком виде закреплены в хвостовой части, состоящей из одного люмена, 22. Провод 17 проходит внутри пучка игл для инъекций и при этом направляется ими. Он закреплен в наконечнике катетера 11, так что за счет осевого перемещения приводящего в действие провода 17 наконечник катетера может выдвигаться из периферийного конца катетера или вдвигаться в него.

[24]

На фиг. 3 показан другой пример выполнения изобретения, у которого пучок игл для инъекций расположен с возможностью продольного перемещения внутри хвостовой части 14, состоящей из одного люмена, а наконечник катетера с помощью фиксирующей гильзы 12 закрепляется на хвостовой части 14, состоящей из одного люмена, в положении, в котором он не имеет возможности перемещения. Внутри однолюменной хвостовой части 14 предусмотрена гибкая трубка 24, в передний конец которой впаяны или вклеены обратные участки игл для инъекции 15, так что иглы для инъекций с помощью осевого перемещения гибкой трубки 24 в однолюменной хвостовой части 14 могут вдвигаться в наконечник катетера или перемещаться по нему наружу. Расстояние между наконечником катетера 11 и гибкой трубкой может быть существенно более длинным, чем показано на изображении, с тем, чтобы обеспечить высокую гибкость периферийного конца. Это значит, отклоняясь от изображения, фиксирующая гильза не доходит до зоны, в которой движется гибкая трубка 24. Чтобы облегчить возможность перемещения, предусмотрено также, что гибкая трубка 24 снабжена покрытием, улучшающим скольжение, например покрытием ПТФЭ. То же самое относится к инъекционным иглам, перемещаемым в хвостовой части с несколькими люменами согласно фиг. 1 или с одним люменом согласно фиг. 2.

[25]

Фиг. 4 показывает другой пример выполнения изобретения, у которого периферийный конец 40 катетера имеет состоящий из пучка трубок 41 наконечник катетера, поперечное сечение которого показано на фиг. 6. Предварительно изогнутые иглы для инъекций проходят внутри отдельных трубок пучка трубок до однолюменного шланга 22, который с помощью фиксирующей гильзы 12 жестко связан с наконечником катетера. Диаметр игл для инъекции 45 в зоне наконечника катетера, а также в зоне однолюменной хвостовой части 22 тоньше, чем в остальной части катетера, благодаря чему достигается высокая гибкость передних концов игл для инъекций, а в зоне хвостовика катетера, обеспечивается оптимальная жесткость, а также гибкость. Имеющие предпочтительно одинаковое покрытие иглы для инъекций скользят внутри однолюменной хвостовой части 22 и предпочтительно в своей середине имеют свободным один люмен для направляющей проволоки 43, которая может выходить вперед через соответствующую трубку в пучке трубок наконечника катетера. Большее по диаметру удлинение игл для инъекции 45 можно также снабдить большим внутренним диаметром, чем острия игл для инъекции, чтобы снизить трение потока и чтобы можно было вводить медикамент при небольшом давлении. В этом изображении также расстояние участка игл для инъекции с большим диаметром от наконечника катетера представлено относительно коротким. Для повышения гибкости наконечника катетера целесообразно утолщенному участку начинаться лишь на большем расстоянии от фиксирующей гильзы 12.

[26]

Для осевого перемещения игл для инъекции может найти применение управляющее устройство, как показано на фиг. 5. Это управляющее устройство состоит по существу из двух частей 54 и 55, причем часть 54 обозначена как неподвижная, а часть 55 - как подвижная. Подвижная часть 55 снабжена выдвижным поршнем 56, который погружается в цилиндр 57 и в котором закреплены находящиеся вне тела концы игл для инъекции, которые с помощью отверстий 58 соединены с соединительным элементом 59 для лекарства. Далее через подвижную часть 55 проходит отверстие 60, которое переходит в направляющую полость в хвостовой части катетера. На выдвижном поршне 56 предусмотрена резьба, на которую навинчена гайка с накаткой 62, которая поддерживается и направляется на неподвижной части 54, так что путем вращения этой гайки с накаткой выдвижной поршень в большей или меньшей степени вдавливается в цилиндр 57 и тем самым могут перемещаться иглы для инъекции. На цилиндр 57 можно нанести шкалу 65, а на выдвижной поршень - мерный штрих, чтобы можно было констатировать и контролировать величину перемещения. С цилиндром 57 связана хвостовая часть катетера, в которую можно напылить проволочную оплетку из нержавеющей стали, чтобы стабилизировать хвостовую часть против нежелательного продольного растяжения или деформации по длине при перемещении игл для инъекции. В представленной форме управляющее устройство может применяться, в частности, для катетера, который имеет периферийный конец согласно фиг. 4.

[27]

У катетера с периферийным концом согласно фиг. 3 вместо пучка игл для инъекции на выдвижном поршне 56 закреплена гибкая трубка 24 и, кроме того, предусмотрен лишь один соединительный элемент 59 для лекарства, который связан с внутренней частью гибкой трубки 24.

[28]

Для катетера с периферийным концом согласно фиг. 1 и 2 экстракорпоральные концы игл для инъекции соединены с неподвижной частью 54 управляющего устройства, которая снабжена соответствующими соединительными элементами для лекарственного средства. Подвижная часть 55 управляющего устройства воздействует на проволоку 17, с помощью которой можно перемещать наконечник катетера в продольном направлении на периферийном конце.

[29]

Хотя на чертеже и не показано, но также предусмотрено, что направляющий люмен для направляющей проволоки выходит не у управляющего устройства, а перед ним в экстракорпоральной зоне хвостовой части катетера, для чего направляющий люмен проводится эксцентрически между пучком игл и наружной хвостовой частью.

[30]

Наконец также предусмотрено, что с хвостовой частью катетера можно соединить стабилизирующую проволоку, которая или напылена в наружную оболочку хвостовой части, или же в случае многолюменной хвостовой части прикреплена в люмене предпочтительно путем склеивания. В представленном на фиг. 8 разрезе катетера с однолюменной хвостовой частью, к примеру, оба люмена для направляющей проволоки и для стабилизирующей проволоки напылены вместе по окружности хвостовой части, из-за чего пучок игл для инъекций расположен внутри хвостовой части с возможностью свободного перемещения.

[31]

Для наконечника катетера могут найти применение различные материалы, а именно, как полимерные материалы, так и металл, керамика или стекло, причем может быть желательным, чтобы наконечник катетера был выполнен рентгеноплотным.

[32]

Далее предусмотрено, что перемещаемые в катетере люмены внутри катетера уплотнены относительно обратного потока жидкостей, причем, например, эти функции может взять на себя средство для повышения скольжении.

[33]

Для стабилизации хвостовой части катетера и для того, чтобы обеспечить равномерный выход иглы для инъекции из наконечника катетера, предусмотрено также закручивать хвостовую часть катетера или располагать пучок игл для инъекции в хвостовой части катетера вдоль продольно вытянутой винтовой линии. Благодаря этому облегчается перемещаемость, в частности, в сочетании со средствами, снижающими трение средствами скольжения.

[34]

Функциональное применение катетера для инъекций можно оптимировать благодаря тому, что к катетеру уже предложенным способом устанавливаются баллоны, которые фиксируют катетер во время инъекции. Такие ангиопластические баллоны, которые расположены как периферийно, так и проксимально у наконечника катетера, улучшают применимость катетера и могут, в частности, способствовать тому, чтобы можно было одновременно с расширением баллона выполнять инъекцию лекарственного препарата в нужную ткань.

Как компенсировать расходы
на инновационную разработку
Похожие патенты