патент
№ RU 2138606
МПК E04G9/10

ЩИТОВАЯ ОПАЛУБКА ПЕРЕКРЫТИЙ

Авторы:
Афанасьев А.А.
Правообладатель:
Все (2)
Номер заявки
97121087/03
Дата подачи заявки
19.12.1997
Опубликовано
27.09.1999
Страна
RU
Как управлять
интеллектуальной собственностью
Чертежи 
5
Реферат

[16]

Изобретение относится к области строительства и может быть использовано при изготовлении перекрытия с помощью опалубки. Монолитные перекрытия возводят путем размещения щитов на телескопических стойках с прогонами. Прогоны выполнены из спаренных балок с шарнирным соединением по нижней внутренней кромке, обеспечивающим при распалубке поворот каждой балки на угол до 90o, их рабочее положение создается за счет замкового соединения. Оголовки телескопических стоек могут иметь опорный пояс с возможностью вертикального перемещения и направляющие в виде металлических планок, расположенных по осям прогонов для их фиксированного размещения. Опалубочные щиты могут быть выполнены многослойными. Технический результат - снижение трудозатрат на установку и демонтаж опалубки и сокращение цикла выдерживания бетона до приобретения распалубочной прочности. 2 з.п.ф-лы, 6 ил.

Формула изобретения

1. Опалубка перекрытий, состоящая из поддерживающих телескопических стоек, объединенных прогонами, на которые устанавливаются опалубочные щиты, отличающаяся тем, что прогоны выполнены из спаренных балок с шарнирным соединением по нижней внутренней кромке, обеспечивающим при распалубке поворот каждой балки на угол до 90o, а их рабочее положение создается за счет замкового соединения.

2. Опалубка перекрытий по п.1, отличающаяся тем, что оголовки телескопических стоек снабжены опорным поясом с возможностью вертикального перемещения и направляющими в виде металлических планок, расположенных по осям прогонов для их фиксированного размещения.

3. Опалубка перекрытий по п.2, отличающаяся тем, что опалубочные щиты выполнены многослойными с верхним греющим слоем из электропроводного плоского графитового покрытия в стеклопластиковой оболочке, объединенного с утеплителем из пенополистирола или другого материала, и защитным слоем из тонкого листового металла, расположенного по нижней плоскости опалубочного щита и его боковым поверхностям в виде коробчатого профиля.

Описание

[1]

Изобретение относится к области строительства и может быть использовано при изготовлении перекрытия с помощью опалубки.

[2]

Известны щитовые опалубки перекрытий, состоящие из телескопических стоек, по огловку которых размещаются прогоны, на которые вплотную размещаются опалубочные щиты [1]. Изменением высоты телескопических стоек обеспечивается процесс распалубки конструкции перекрытия после набора бетоном распалубочной прочности.

[3]

Известна также конструкция опалубки перекрытия, состоящая из опалубочных щитов, шарнирно соединенных с опорными элементами телескопических стоек и устанавливаемых в проектное положение путем поворота щита относительно шарнира с последующей установкой телескопических стоек на свободных концах щитов [2].

[4]

Наиболее близким аналогом описываемому изобретению является опалубочная система Outiform фирмы Outinord, которая состоит из телескопических стоек, поверху объединенных ригелями с боковыми консольными выпусками, на которые укладываются опалубочные щиты перекрытий [3, 4].

[5]

Отличительной особенностью данной системы является конструктивное решение, обеспечивающее демонтаж ригелей и соответственно щитов опалубки путем использования подвижной опорной системы оголовка телескопической стойки. Основным недостатком рассматриваемых опалубок является большая материалоемкость конструкций, что приводит к высоким трудозатратам на установку и демонтаж. Наиболее важным недостатком является необходимость дополнительных затрат на тепловую обработку и выдерживание бетона при пониженных температурах окружающей среды.

[6]

Целью изобретения является снижение трудозатрат на установку и демонтаж опалубки перекрытия и сокращение цикла выдерживания бетона до приобретения распалубочной прочности. Цель достигается тем, что прогоны выполнены из спаренных балок с шарнирным соединением по нижней внутренней кромке, обеспечивающим при распалубке поворот каждой балки на угол до 90 градусов, а их рабочее положение создается за счет замкового соединения. Для фиксированного размещения прогонов оголовки телескопических стоек снабжены опорным поясом с направляющими в виде металлических планок. При этом опалубочные щиты выполнены многослойными с верхним греющим слоем из электропроводного графитового покрытия в стеклопластиковой оболочке, объединенного с утеплителем, и защитным слоем из тонкого листового металла по нижней плоскости щита и его боковым поверхностям в виде коробчатого профиля.

[7]

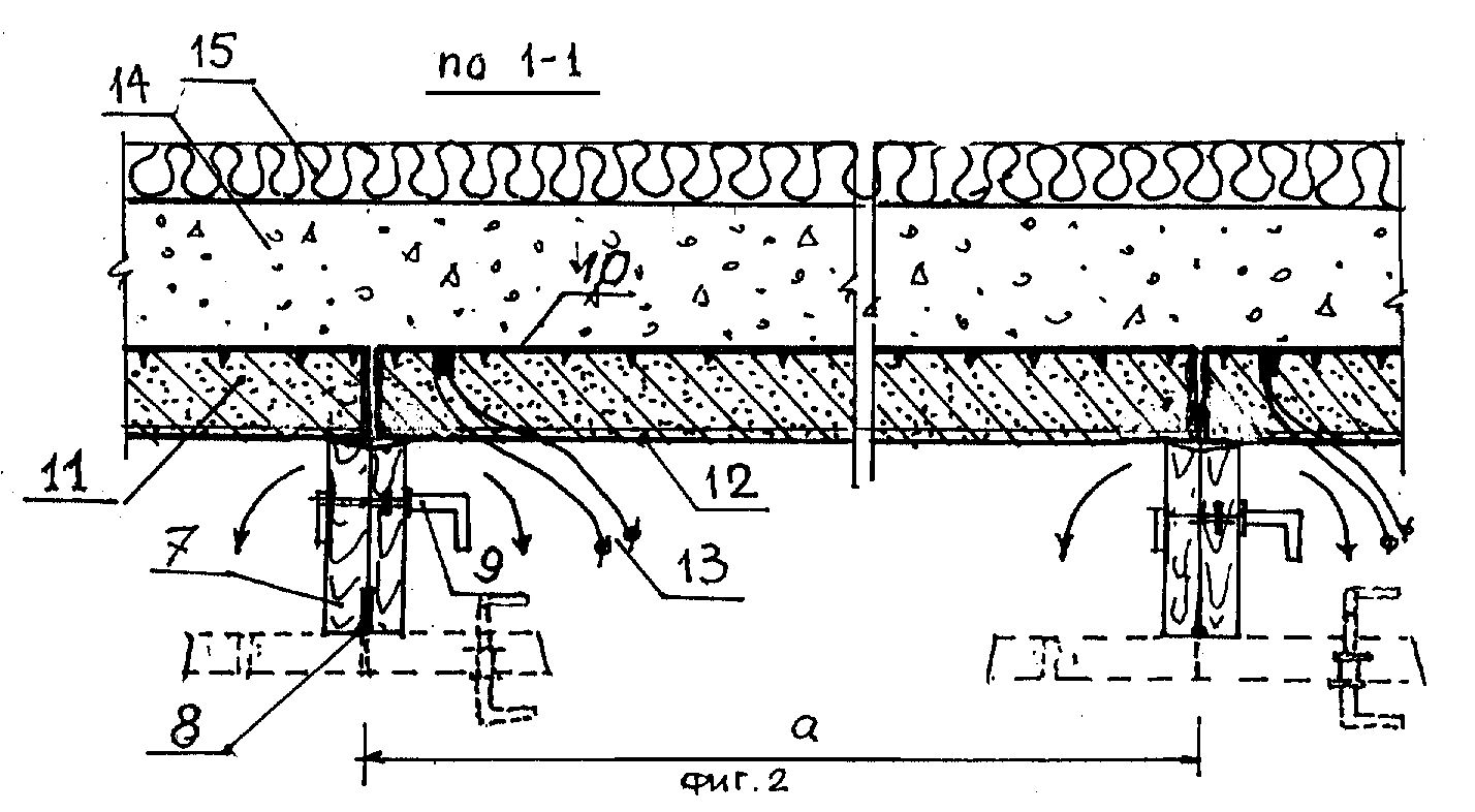
На фиг. 1 приведена схема раскладки щитов, размещение опорных стоек и ригелей. На фиг. 2 дан разрез, включающий расположение ригелей, термоактивных щитов опалубки, забетонированной плиты с открытой поверхностью, изолированной теплоизоляционным материалом. На фиг. 3 приведен узел сочленения ригелей с оголовком телескопической стойки и размещение опалубочных щитов. На фиг. 4, 5 изображены характерные разрезы, дополняющие конструктивные особенности опалубки перекрытий. На фиг. 6 приведена аксометрическая проекция узла, где показано соединение ригелей с оголовком телескопической стойки и примыкание щитов опалубки.

[8]

Щитовая опалубка перекрытий состоит из телескопических стоек 1, ригелей 2 и термоактивных щитов 3. Телескопические стойки 1 снабжены оголовком 4, на котором располагается опорный пояс 5 с возможностью вертикального перемещения и направляющие 6 в виде металлических пластинок, приваренных к цилиндрической части оголовка 4.

[9]

Ригели 2 выполнены из спаренных балок 7 с шарнирами 8 по нижней внутренней кромке и замковым соединением 9. Торцевые элементы балок имеют углубления, обеспечивающие плотный контакт балок с направляющими 6. Замковое соединение 9 представляет собой кронштейн, расположенный на одной из балок и снабженный фиксатором. Вторая балка снабжена продольным отверстием, в которое входит рабочая часть кронштейна. Поворотом рукоятки достигается объединение двух балок.

[10]

Многослойные термоактивные опалубочные щиты 3 состоят из верхнего слоя в виде электропроводного плоского графитового покрытия в стеклопластиковой оболочке 10 с клеммами 13, теплоизоляционного слоя 11 и защитного слоя из тонкого металла 12. Они выполнены как единое целое. Опалубочные щиты в местах сочленения с оголовком телескопических стоек имеют выемки с радиусом, на 2 - 3 мм большим радиуса оголовка.

[11]

Технология производства работ предусматривает первоначально установку двух телескопических стоек 1, которые объединяются ригелем 2. Затем устанавливается следующая пара телескопических стоек, которые объединяются с предыдущими двумя ригелями. Далее осуществляется укладка термоактивных щитов опалубки таким образом, чтобы обеспечивалось их плотное соединение по контуру. Наличие выемок в угловой части щитов способствует плотному соединению с оголовком телескопических стоек и фиксированному положению щитов на поверхности. После установки щитов опалубки осуществляется коммутация электрической сети и соединение с трансформатором. Затем производится армирование плиты в соответствии с проектным решением и укладка бетонной смеси известными способами. Подача напряжения на термоактивный слой возбуждает тепловое поле, которое распространяется по толщине бетонных слоев 14. Для снижения теплопотерь с открытых поверхностей бетона может использоваться дополнительная теплоизоляция 15 из рулонного или плитного утеплителя. После набора бетоном распалубочной прочности осуществляется распалубка. Технологическая последовательность распалубки состоит в отключении коммутационной сети, снижении уровня опорного пояса, раскрытии замковых соединений 9, ригелей, повороте балок 7 относительно шарниров 8, съеме опалубочных щитов 3, демонтаже ригелей 2 и телескопических стоек 1. Демонтаж телескопических стоек может производиться частично или полностью. Частичный демонтаж стоек предусматривается в случаях более ранней распалубки конструкции перекрытия.

[12]

Источники информации
1. Проспект-каталог фирмы Peri Erfolgreich bauen mit Peri, с. 165-166, 1987.

[13]

2. Проспект фирмы Hunnebeck. System Hunnebeck Tores, 1985.

[14]

3. Проспект фирмы Outinord. System Outiform, 1988.

[15]

4. Патент Англии N 1386966, кл. F 04 G 11/48, 1975.

Как компенсировать расходы
на инновационную разработку
Похожие патенты