патент
№ RU 2137670
МПК B63B9/06

ПЛАВУЧАЯ ПЛАТФОРМА И СПОСОБ ЕЕ СБОРКИ

Авторы:
Пауль-Эрик Кристиансен (DK)
Правообладатель:
Номер заявки
96116516/28
Дата подачи заявки
20.01.1995
Опубликовано
20.09.1999
Страна
RU
Дата приоритета
15.12.2025
Номер приоритета
Страна приоритета
Как управлять
интеллектуальной собственностью
Чертежи 
3
Реферат

[35]

Изобретение относится к судостроению, в частности к конструкции плавучей платформы и способу ее сборки. Плавучая платформа содержит полупогруженное в воду судно, имеющее по меньшей мере два понтона, плавучие колонны, идущие вверх от этих понтонов, палубу, поддерживаемую на колоннах, и плот, содержащий корпусную часть и по меньшей мере два плавучих кессона, расположенных на боковых краях плота или вблизи них. Плавучие кессоны установлены несколько выше над верхней поверхностью корпусной части, чем вертикальная осадка понтонов полупогруженного судна в его состоянии без балласта. Понтоны судна жестко прикреплены к верхней поверхности корпусной части плота. Способ сборки плавучей платформы заключается в том, что заполняют балластом плот таким образом, чтобы верхняя поверхность его корпусной части погрузилась на глубину, большую осадки судна без балласта. Располагают судно над корпусной частью плота и между обособленными плавучими кессонами на боковых краях плота. Удаляют балласт из плота таким образом, чтобы понтоны судна приподнялись над уровнем воды. Затем жестко крепят судно к верхней поверхности корпусной части плота. Достигается устойчивость плавучей платформы при более суровых погодных условиях в открытом море и обеспечивается возможность хранения нефти на месте в открытом море. 2 с. и 8 з.п. ф-лы, 4 ил.

Формула изобретения

1. Плавучая платформа, закрепленная долговременно в открытом море и предназначенная для использования в качестве плавучей производственной установки, содержащая полупогруженное судно, имеющее по меньшей мере два понтона, плавучие колонны, идущие вверх от этих понтонов, и палубу, поддерживаемую на колоннах, отличающаяся тем, что она имеет управляемую плавучую конструкцию, расположенную под полупогруженным судном, способную поднимать это судно и представляющую собой плот, содержащий корпусную часть, имеющую платформу, большую платформу полупогруженного судна, и по меньшей мере два отдельных плавучих кессона, расположенных на боковых краях плота или вблизи них, причем плавучие кессоны установлены несколько выше над верхней поверхностью корпусной части, чем вертикальная осадка понтонов полупогруженного судна в его состоянии без балласта, а понтоны судна жестко прикреплены к верхней поверхности корпусной части плота с возможностью образования из комбинации полупогруженного судна и управляемой плавучей конструкции постоянной производственной установки для работы в открытом море.

2. Плавучая платформа по п.1, отличающаяся тем, что корпусная часть плота имеет отсеки для хранения нефти и в ней предусмотрено средство для затопления отсеков противоположного борта для компенсирования накопления или удаления нефти из плота.

3. Плавучая платформа по п.1 или 2, отличающаяся тем, что два соседних плавучих кессона плота проходят вверх до уровня выше уровня моря и приспособлены для расположения на них дополнительной палубной площади, соединенной с палубой полупогруженного судна.

4. Плавучая платформа по любому из пп.1 - 3, отличающаяся тем, что кессоны имеют швартовое оборудование для закрепления платформы на месте.

5. Плавучая платформа по п.4, отличающаяся тем, что швартовое оборудование содержит ряд швартовых тросов, которые можно разматывать от кессонов.

6. Плавучая платформа по п.4, отличающаяся тем, что швартовое оборудование содержит вертикальные натянутые привязи, которые можно разматывать от кессонов.

7. Плавучая платформа по любому из пп.1 - 6, отличающаяся тем, что плот содержит оборудование динамического позиционирования.

8. Плавучая платформа по любому из пп.1 - 7, отличающаяся тем, что одна или обе верхняя и нижня поверхности плота наклонены вверх или вниз от края плота к его центру.

9. Плавучая платформа по любому из пп.1 - 8, отличающаяся тем, что периферийные края плотно профилированы для снижения сопротивления волне и/или нагрузок.

10. Способ сборки плавучей платформы, заключающийся в освобождении от балласта полупогруженного судна таким образом, чтобы оно плавало на своих понтонах, отличающийся тем, что заполняют балластом управляемую плавучую конструкцию, содержащую плот, таким образом, чтобы верхняя поверхность его корпусной части погрузилась на глубину, большую осадки судна без балласта, располагают судно над корпусной частью плота и между обособленными плавучими кессонами на боковых краях плота, удаляют балласт из плота таким образом, чтобы понтоны судна приподнялись над уровнем воды, и затем жестко крепят судно к верхней поверхности корпусной части плота.

Описание

[1]

Настоящее изобретение касается плавучей платформы и / способа сборки такой платформы.

[2]

В частности, изобретение касается плавучей платформы, образованной из существующего судна, полупогруженного в воду, и прикрепленной к верхней поверхности плота, специально изготовленного для этих целей.

[3]

Полупогруженные суда используют в течение нескольких лет при разработке полезных ископаемых в открытом море для бурения, добычи и проведения работ в открытом море.

[4]

Из патента Великобритании N 2068439A известна плавучая платформа, закрепленная долговременно в открытом море и предназначенная для использования в качестве плавучей производственной установки, содержащая полупогруженное судно, имеющее два понтона, плавучие колонны, идущие вверх от этих понтонов, и палубу, поддерживаемую на колоннах. В патенте США N 4 167 148 раскрыт способ сборки плавучей платформы, заключающийся в освобождении от балласта полупогруженного судна таким образом, чтобы оно плавало на своих понтонах.

[5]

При транспортировке судно освобождают от балласта так, чтобы оно могло плавать на понтонах с колоннами, находящимися над водой. Это позволяет судну действовать, как катамаран. Для работ, которые требуют устойчивой морской платформы, судно заполняют балластом таким образом, чтобы понтоны погрузились под воду, и только плавучие колонны оказались над поверхностью воды, обеспечивая таким образом судну существенную плавучесть с небольшой площадью плоскости ватерлинии.

[6]

Вышеописанная конструкция создает более устойчивую платформу для работ в открытом море, чем можно было бы обеспечить обычным судном корабельного типа. Однако, в случае суровых погодных условий даже полупогруженное судно подвергается перемещениям, которые неприемлемы для выполнения работ в открытом море в том числе бурения и добычи. Это ведет к "простою", в течение которого все расходы по эксплуатации полупогруженного судна накапливаются, но полезная работа не выполняется.

[7]

Экономическое развитие морских нефтяных и газовых месторождений в зонах с тяжелыми погодными условиями ведет к необходимости выполнения бурения, добычи и других работ в открытом море при постепенном проникновении в моря с более суровыми состояниями с минимизированием времени простоя.

[8]

Из авторского свидетельства СССР N 1303486 известно использование двойного плота с балластом, с платформой, используемой в качестве поднимающего устройства для сборки или ремонта полупогруженной буровой установки. Способный заполняться балластом двойной плот с платформой можно рассматривать как управляемую плавучую конструкцию. Этот плот с платформой располагают под полупогруженной буровой установкой и затем из него удаляют балласт для поднятия этой полупогруженной установки над водой для сборки или ремонта. Это комбинированное устройство устанавливают, используя якорные цепи, расположенные непосредственно на полупогруженной буровой установке. Такая конструкция имеет тот недостаток, что работы можно выполнять только при отсутствии какого-либо волнения на море в течение ограниченного периода времени. Поэтому комбинация полупогруженной буровой установки и управляемой плавучей конструкции, раскрытая в авторском свидетельстве СССР N 1303486, оказывается неподходящей в качестве постоянной плавучей производственной установки, расположенной в географической зоне с суровыми погодными, условиями в открытом море.

[9]

Техническим результатом настоящего изобретения является создание устойчивой плавучей платформы, способной продолжительное время работать при более суровых погодных условиях в открытом море, чем используемые в настоящее время полупогруженные суда, обеспечивающий возможность хранения нефти на месте в открытом море, дополнительную плавучесть для размещения дополнительного оборудования и придание жесткости корпусным элементам полупогруженного судна с помощью плота.

[10]

Этот технический результат достигается тем, что в плавучей платформе, закрепленной долговременно в открытом море и предназначенной для использования в качестве плавучей производственной установки, содержащей полупогруженное судно, имеющее, по меньшей мере, два понтона, плавучие колонны, идущие вверх от этих понтонов, и палубу, поддерживаемую на колоннах, согласно изобретению, имеется управляемая плавучая конструкция, расположенная под полупогруженным судном, способная поднимать это судно и представляющая собой плот, содержащий корпусную часть, имеющую платформу большую платформы полипогруженного судна, и, по меньшей мере, два отдельных плавучих кессона, расположенных на боковых краях плота или вблизи них, причем плавучие кессоны установлены несколько выше над верхней поверхностью корпусной части, чем вертикальная осадка понтонов полупогруженного судна в его состоянии без балласта, а понтоны судна жестко прикреплены к верхней поверхности корпусной части плота с возможностью образования из комбинации полупогруженного судна и управляемой плавучей конструкции постоянной производственной установки для работы в открытом море.

[11]

Предпочтительно, чтобы корпусная часть плота имела' отсеки для хранения нефти и в ней было предусмотрено средство для затопления отсеков противоположного борта для компенсирования накопления или удаления нефти из плота.

[12]

Целесообразно, чтобы два соседних плавучих кессона плота проходили вверх до уровня выше уровня моря и были приспособлены для расположения на них дополнительной палубной площади, соединенной с палубой полупогруженного судна.

[13]

Предпочтительно, чтобы кессоны имели швартовое оборудование для закрепления платформы на месте. Это швартовое оборудование может содержать ряд швартовых тросов, которые можно разматывать от кессонов, или вертикальные натянутые привязи, которые можно разматывать от кессонов.

[14]

Можно, чтобы плот содержал оборудование динамического позиционирования.

[15]

Предпочтительно, чтобы одна или обе верхняя и нижняя поверхности плота были наклонены вверх или вниз от края плота к его центру.

[16]

Желательно, чтобы периферийные края плота были профилированы для снижения сопротивления волне и/или нагрузок.

[17]

Вышеуказанный технический результат достигается и тем, что в способе сборки плавучей платформы, заключающемся в освобождении от балласта полупогруженного судна таким образом, чтобы оно плавало на своих понтонах, согласно изобретению, заполняют балластом управляемую плавучую конструкцию, содержащую плот, таким образом, чтобы верхняя поверхность его корпусной части погрузилась на глубину, больше осадки судна без балласта, располагают судно над корпусной частью плота и между обособленными плавучими кессонами на боковых краях плота, удаляют балласт из плота таким образом, чтобы понтоны судна приподнялись над уровнем воды, и затем жестко крепят судно к верхней поверхности корпусной части плота.

[18]

Ниже будут описаны два варианта осуществления настоящего изобретения со ссылками на прилагаемые чертежи, на которых:
фиг. 1 представляет вид сбоку плавучей платформы, согласно изобретению;
фиг. 2 представляет вид с торца платформы, показанной на фиг. 1;
фиг. 3 представляет вид сбоку другой плавучей платформы, согласно изобретению;
фиг. 4 представляет вид с торца платформы, показанной на фиг. 3
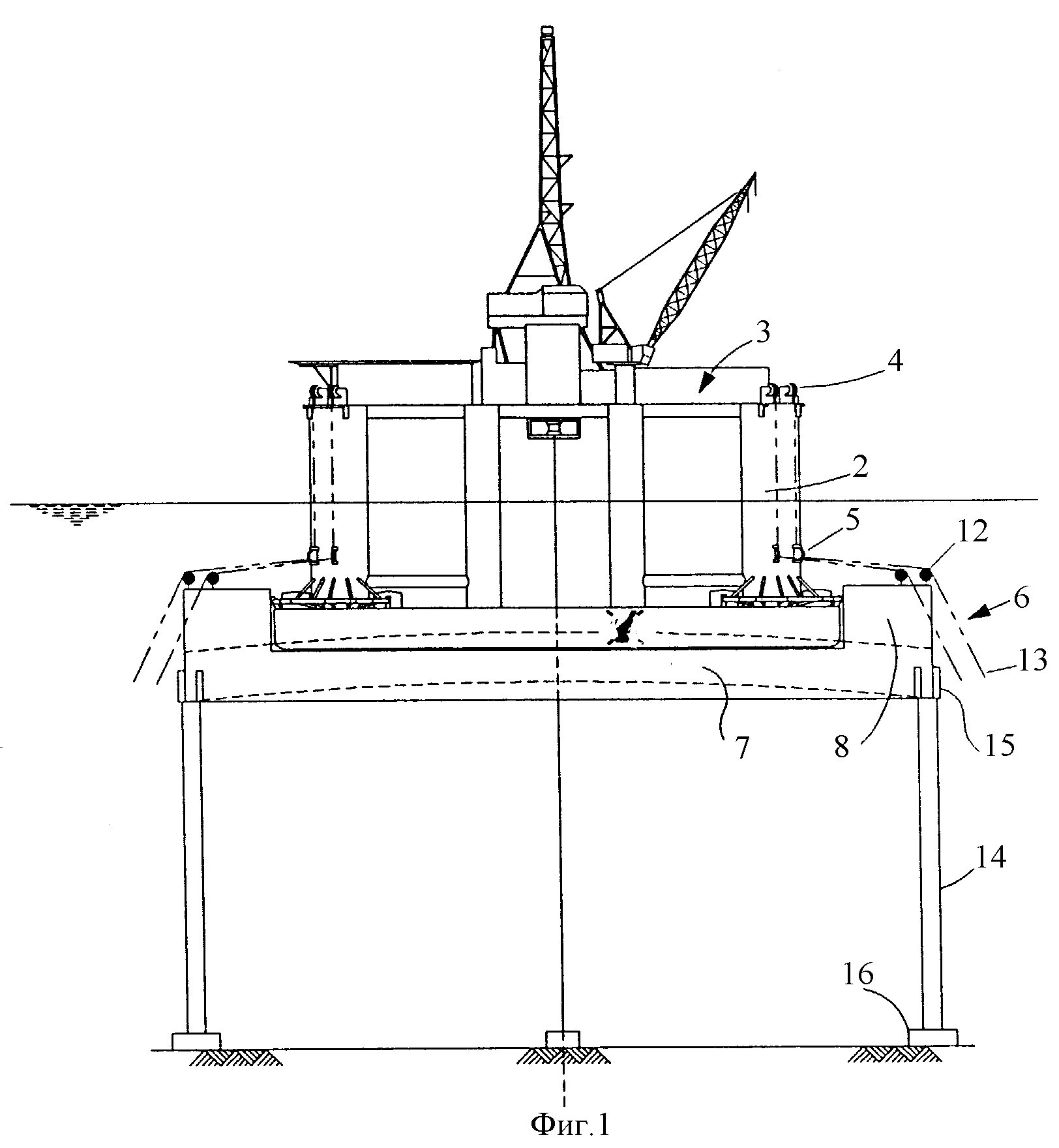
Как показано на фигуре 1, плавучая платформа содержит обычное полупогруженное буровое судно, которое часто называют в промышленности Подвижной Прибрежной Буровой Установкой (ППБУ). Эта ППБУ имеет два удлиненных понтона 1, восемь плавучих колонн 2, идущих вверх от этих понтонов 1, и палубу 3, поддерживаемую на колоннах 2. Понтоны 1 разделяются внутри на способные заполняться балластом по выбору водонепроницаемые отсеки. ППБУ имеет в угловых колоннах 2 ящики для якорных цепей, лебедки 4 на верхних частях этих колонн 2 и направляющие блоки 5 рядом с основаниями этих колонн 2, предназначенные для применения якорных групп.

[19]

Показанная в качестве примера ППБУ на самом деле представляет собой полупогруженное буровое судно серии SEDCO 700, приблизительно пятнадцать штук которых были использованы во всем мире для различных эксплуатационных целей во время составления этой заявки.

[20]

В соответствии с настоящим изобретением ППБУ прикреплена к изготовленному для специальных целей плоту 6. Плот 6 обычно имеет корпусную часть 7 с прямоугольной платформой, размеры которой больше размеров ППБУ. Корпусная часть 7 по углам имеет кессоны 8, которые распложены несколько выше над верхней поверхностью корпусной части 7, чем вертикальная осадка понтонов 1 ППБУ при их освобожденном от балласта состоянии.

[21]

В наипростейшем варианте выполнения изобретения ППБУ крепят к верхней поверхности корпусной части 7 между четырьмя угловыми кессонами 8. При таком способе плот 6 обеспечивает дополнительную плавучесть установке ППБУ, а также улучшает характеристики устойчивости ППБУ. Крепление ППБУ к плоту снижает прикладываемые к ППБУ волновые нагрузки, которые в значительной степени воспринимает на себя плот. Таким образом значительно уменьшается усталость, действующая в структурных элементах ППБУ.

[22]

Корпусная часть 7 плота 6 может иметь внутренние отсеки для балластной воды и хранения нефти. Эти отсеки на фигурах подробно не показаны, но если плот был изготовлен из стали, отсеки следует конструировать подобно обычным отсекам океанских крупнотонажных танкеров для перевозки сырой нефти. Если плот был изготовлен из бетона, отсеки следует выполнить подобно секциям в обычной неподвижной морской платформе с бетонным основанием гравитационного типа. Для компенсирования изменений плавучести в стальных плотах могут оказаться необходимыми средства для затопления отсеков противоположного борта, чтобы можно было менять морскую воду или заменять ее нефтью, когда отсеки опустошаются или заполняются. Из-за большой массы бетонного плота затопление отсеков противоположного борта может оказаться ненужным. Однако при хранении обезвоженной нефти может оказаться необходимым заполнять верхние части отсеков инертным газом.

[23]

Плот 6 может иметь центральную буровую шахту 9, через которую могут проходить к морскому дну системы 10 жестких или гибких вертикальных труб, как показано, в частности, на фигуре 2. В этом случае требуется, чтобы плавучая платформа оставалась на месте над опорной плитой для бурения или производственным коллектором 11.

[24]

На чертежах показаны два альтернативных способа удержания платформы на месте. При первом способе, (показанном пунктирными линиями), обычные стальные или цепные швартовые тросы 13 развертываются установкой ППБУ с лебедок 4 через направляющие блоки 5 и затем через дополнительные направляющие блоки 12, расположенные на верхних частях кессонов 8. Эти швартовые тросы 13 располагают в виде ряда из восьми или двенадцати якорных швартов (на чертеже не показаны).

[25]

При втором способе удержания платформы на месте она удерживается под действием своей собственной плавучести способом платформы с опорами натяжения. В этом случае привязи 14 (показанные сплошными линиями) идут вниз от устройств 15 натяжения, установленных сзади кессонов 8 к опорным плитам 16 для бурения фундамента привязи на морском дне.

[26]

При третьем способе удержания платформы на месте (на чертеже не показаны) платформу снабжают оборудованием динамического позиционирования так, что оказываются ненужными ни швартовые тросы 13, ни привязи 14.

[27]

При изменении основной конфигурации плота корпусная часть 7 может быть слегка выпуклой (как показано пунктирными линиями на фигуре 1 ), так что его осадка в центре меньше, чем осадка по его периферии. В случае выпуклого плота платформа стоит на волнах лучше, и поэтому теоретически будет требоваться меньший воздушный зазор между номинальным уровнем моря и самыми нижними элементами палубы.

[28]

Касательно конструкции и сборки платформы следует отметить, что многие из существующих ППБУ можно использовать в качестве верхней части платформы. Изготовленный для специальных целей плот 6 представляет собой простую конструкцию, и его можно строить секциями на обычной судостроительной верфи и затем собирать на защищенной воде. В качестве альтернативы плот можно изготавливать из бетона способом изготовления основы для бетонного морского основания гравитационного типа. Используя обычную технику кораблестроения или укладки бетона, можно очень экономично сконструировать и собрать плот (с внутренними отсеками для хранения нефти).

[29]

Способ сборки вышеописанной плавучей платформы осуществляют следующим образом. Плот 6 заполняют балластом, таким образом, чтобы верхняя поверхность его корпусной части 7 погрузилась на глубину, больше осадки ППБУ без балласта, располагают ППБУ над корпусной частью 7 плота 6 и между обособленными плавучими кессонами 8 на боковых краях плота 6. Затем удаляют балласт из плота б таким образом, чтобы понтоны 1 ППБУ приподнялись над уровнем воды, и далее жестко крепят ППБУ к верхней поверхности корпусной части 7 плота 6.

[30]

На фигурах 3 и 4, показан второй вариант осуществления настоящего изобретения, при этом ППБУ показана на плоту 17. В этом случае требуется дополнительное производственное оборудование, для которого на ППБУ нет места на палубе. Чтобы удовлетворить это требование, два кессона 18 плота 17 проходят до точки, находящейся гораздо выше уровня воды. Кессоны 18 соединены между собой элементом 19 и креплениями 20 и поддерживают дополнительную палубную площадь - 21, соединенную с палубой полупогруженного судна 22. На дополнительной палубной площади 21 можно монтировать дополнительные операционные элементы 23 и сигнальную стрелу 24.

[31]

В показанном на фигурах 3 и 4 варианте плот 17 сконструирован таким образом, чтобы обеспечить плавучесть и опору для дополнительной палубной площади 21 рядом с одним кессоном ППБУ. Если необходимо, то дополнительную палубную площадь можно образовать также на другом конце ППБУ, как показано пунктирными линиями.

[32]

Можно осуществлять большое количество изменений в рамках настоящего изобретения. Как упоминалось выше, плот можно также изготавливать из бетона. Это может быть предпочтительным вариантом для полупогружной платформы, выполненной из стали. Теоретически с плотом можно, конечно, объединять полупогружную платформу, изготовленную из бетона. Наиболее выгодным и оптимальным решением было бы объединить способную плавать платформу со стальными колоннами и бетонный плот.

[33]

Далее в качестве понтонов платформы можно использовать отдельные понтоны или отсеки плавучести либо их можно объединять кольцевым или прямоугольным единым корпусом или корпусом другой подходящей формы. Корпус может быть разделен на отсеки, как описано выше.

[34]

Плот может иметь любую удобную форму, которая подходит для размещения участков платформы с колоннами. Таким образом, его можно также конструировать в виде кольцеобразного плота с отверстием круглой, овальной или прямоугольной формы в центральной части. Место для расположения колонн плавучей платформы на плоту можно также подготовить специальным образом для этой цели и приспособить для крепления колонн платформы.

Как компенсировать расходы
на инновационную разработку
Похожие патенты