патент
№ RU 2134747
МПК E02F5/18

СПОСОБ БЕСТРАНШЕЙНОЙ ПРОКЛАДКИ КОММУНИКАЦИЙ В ГРУНТЕ И УСТРОЙСТВО ДЛЯ ЕГО РЕАЛИЗАЦИИ

Авторы:
Гилета В.П. Смоляницкий Б.Н. Тищенко И.В.
Все (5)
Номер заявки
97118844/03
Дата подачи заявки
30.10.1997
Опубликовано
20.08.1999
Страна
RU
Как управлять
интеллектуальной собственностью
Чертежи 
11
Реферат

[25]

Изобретение относится к технологии производства специальных строительных работ и может быть использовано при бестраншейной прокладке подземных коммуникаций, особенно в плотных и вязких грунтах. Способ бестраншейной прокладки коммуникаций, при котором трубу периодически погружают в грунт передним открытым торцом и удаляют поступающий внутрь керн грунтозаборным устройством, согласно изобретению удаление керна осуществляют сначала из нижней части трубы, затем в своде грунта в трубе прорезают продольные пазы, продолжают погружение трубы и удаляют грунт, обрушившийся из верхней части трубы при ее погружении. В устройстве для реализации способа, содержащем цилиндрическую желонку с наружным диаметром, меньшим внутреннего диаметра очищаемой трубы, соединенную с ударным механизмом, желонка снабжена режущими элементами, монтируемыми на ее наружной поверхности. Предложенные способ и устройство позволяют снизить энергозатраты процесса удаления грунтового керна и повысить производительность бестраншейной прокладки коммуникаций. 2 с. и 1 з.п. ф-лы, 12 ил.

Формула изобретения

1. Способ бестраншейной прокладки коммуникаций в грунте, включающий периодическое погружение трубы передним открытым торцом и удаление поступившего внутрь керна грунтозаборным устройством, например желонкой, отличающийся тем, что удаление керна осуществляют сначала из нижней части трубы, затем в своде грунта в трубе прорезают продольные пазы, продолжают погружение трубы и удаляют грунт, обрушившийся из верхней части трубы при ее погружении.

2. Устройство для осуществления способа, содержащее цилиндрическую желонку с наружным диаметром, меньшим внутреннего диаметра очищаемой трубы, соединенную с ударным механизмом, отличающееся тем, что желонка снабжена режущими элементами, монтируемыми на ее наружной поверхности.

3. Устройство по п.2, отличающееся тем, что режущие элементы установлены так, чтобы описанная по их периферийной части окружность прилегала к нижней части желонки.

Описание

[1]

Изобретение относится к технологии производства специальных строительных работ и может быть использовано при бестраншейной прокладке подземных коммуникаций, особенно в плотных и вязких грунтах.

[2]

Известен способ бестраншейной прокладки трубопровода в грунте (см. Н.Я. Кершенбаум и В. И. Минаев. Проходка горизонтальных и вертикальных скважин ударным способом. М.: Недра, 1984, с. 195), обеспечивающий погружение в грунт трубы открытым передним торцом путем приложения к другому ее торцу виброударной нагрузки. Под действием этой нагрузки труба погружается в грунт, а грунтовый керн при этом движется в противоположную сторону. Однако, по мнению авторов способа, процесс транспортирования грунта по трубе неэффективен даже в слабых грунтах типа супесей и легких суглинков. В плотных грунтах типа глин, тяжелых суглинков процесс транспортирования керна еще более затруднен, а при забивании трубы с уклоном вниз происходит транспортирование керна в сторону переднего торца трубы и переуплотнение его в забойной части с образованием грунтовой пробки.

[3]

Известен также способ бестраншейной прокладки трубопровода в грунте (см. а. с. СССР N 802464, кл. E 02 F 5/15), при котором трубу забивают в грунт открытым передним торцом до выхода его на свободную поверхность. Затем ударное воздействие прекращают, трубу стопорят и затем возобновляют на ее ударное воздействие. За счет инерционных сил грунт перемещается по трубе и выгружается из нее, например, через окна переходного устройства, предназначенного для передачи трубе ударных нагрузок. Применение этого способа возможно только при забивании трубы на всю длину сооружаемого перехода. Нанесение ударов по застопоренной трубе приводит к повышению напряжений в материале трубы, что может являться причиной разрыва сварных швов, соединяющих отдельные секции трубы. То же обстоятельство увеличивает напряжения в деталях ударной машины и способствует преждевременному выходу их из строя. Возникают дополнительные динамические нагрузки на инженерные объекты в месте выполнения бестраншейного перехода. Керн так же, как и в первом описанном способе, полностью из внутренней полости трубы не выходит, поэтому требуется дополнительная ее очистка.

[4]

Известен способ бестраншейной прокладки коммуникаций (см. Н.Я.Кершенбаум и В.И.Минаев. Проходка горизонтальных и вертикальных скважин ударным способом. М. : Недра, 1984, с. 31), при котором трубу погружают в грунт открытым торцом, а затем удаляют грунт из внутренней полости трубы при помощи желонки. Желонка, имеющая в хвостовой части разгрузочные окна, перемещается к забою при помощи канатно-блочной системы, внедряется в него под ударами вибромолота и затем посредством канатно-блочной системы извлекается на поверхность. Для разгрузки желонки вибромолот включается в работу, и под действием его ударов грунт высыпается через окна. Наличие канатно-блочной системы требует после внедрения трубы в грунт на глубину, не превышающую расстояние от переднего торца трубы до обводного блока, остановить процесс погружения, привести в действие желонку и извлечь грунт. В противном случае блок заштыбовывается грунтом и перестает нормально функционировать, что может быть причиной порыва каната при извлечении желонки. Все сказанное приводит к значительным непроизводительным потерям времени и уменьшению производительности. Кроме того, из-за необходимости размещения блоков и канатов во внутренней полости трубы диаметр желонки должен быть меньше диаметра трубы. Ввиду этого после желонирования на внутренней поверхности трубы остается значительный по толщине слой грунта. В случае забивания трубы в вязкие и плотные грунты этот слой не обрушивается, и его удаляют дополнительными средствами.

[5]

Наиболее близким к предлагаемому способу по технической сущности и достигаемому результату является способ бестраншейной прокладки коммуникаций по а. с. СССР N 1041646, кл. E 02 F 5/18, E 02 D 17/147. При этом способе очистку внутренней полости трубы от грунта осуществляют с образованием подстилающего слоя. Для извлечения грунта и образования подстилающего слоя используют грунтозаборное устройство с ударным приводом, например пневмопробойником. Подстилающий слой образуют с целью повышения скорости транспортирования грунтозаборного устройства за счет увеличения сил трения между контактирующими поверхностями. Подстилающий слой удаляют из трубы при последнем проходе грунтозаборного устройства. Образование подстилающего слоя является серьезным недостатком способа. Во-первых, при образовании этого слоя грунтозаборное устройство постоянно стремится приблизиться к верхней части внутренней поверхности трубы, из-за чего происходит его заклинивание между подстилающим слоем и трубой, на ликвидацию которого требуются дополнительные затраты времени, приводящие к снижению производительности процесса очистки внутренней полости трубы от грунта. Во-вторых, подстилающий слой образуется при внедрении грунтозаборного устройства в керн, поэтому он имеет достаточную высокую плотность и хорошо сцеплен с трубой. Подстилающий слой дополнительно уплотняется при многократных проходках по нему грунтозаборного устройства. Удаление подстилающего слоя является достаточно энергоемким процессом. Недостатки способа усугубляются при прокладке трубопровода в вязких и плотных грунтах.

[6]

Технической задачей, решаемой предлагаемым изобретением, является снижение энергоемкости процесса удаления грунтового керна из забитой в грунт трубы и повышение его производительности.

[7]

Она решается за счет того, что в известном способе бестраншейной прокладки подземных коммуникаций в грунте, при котором трубу периодически погружают передним открытым торцом и удаляют поступивший внутрь керн грунтозаборным устройством, например желонкой, согласно изобретению удаление керна осуществляют сначала из нижней части трубы, затем в своде грунта в трубе прорезают продольные пазы, продолжают погружение трубы и удаляют грунт, обрушившийся из верхней части трубы при ее погружении.

[8]

Удаление керна из нижней части трубы исключает возможность возникновения подстилающего слоя. Формирование пазов в своде грунта обеспечивает его обрушение под действием ударных нагрузок при забивании трубы без применения каких-либо дополнительных приспособлений. Обрушившийся свод не сцеплен с трубой, поэтому легко удаляется. Отмеченные обстоятельства дают возможность повысить производительность процесса удаления грунтового керна и одновременно снизить его энергоемкость. Эти достоинства предлагаемого способа особенно хорошо проявляются при прокладке трубопроводов в вязких и плотных грунтах.

[9]

Известно самоходное грунтозаборное устройство для очистки внутренней полости трубы от грунта (а.с. СССР N 1058647, кл. E 02 F 5/18, B 08 B 9/00), содержащее емкость трубчатой формы, ударный механизм с узлом крепления к емкости и свободноповоротную заслонку для удержания грунта в емкости при извлечении из трубы устройства в ударном режиме. На внешней поверхности емкости в нижней ее части смонтированы полозья, а со стороны забора грунта емкость имеет скребок. Устройство перемещается по трубе до забоя, набирает грунт в емкость и транспортируется с грунтом назад ударным механизмом. Недостатком устройства является то, что при его перемещении между нижней частью грунтозаборной емкости и трубой из-за наличия полозьев образуется грунтовый слой. Этот слой способствует подъему грунтозаборной емкости вверх при транспортировании устройства до забоя и обратно, а также при наборе грунта, что неизбежно приводит к заклиниванию устройства в трубе.

[10]

Наиболее близким по технической сущности и достигаемому результату является устройство для очистки полости трубы от грунтового керна (см. а.с. СССР N 1041646, кл. E 02 F 5/18, E 02 D 17/146) при реализации способа бестраншейной прокладки подземных коммуникаций по тому же авторскому свидетельству. Устройство содержит цилиндрическую желонку, выполненную с упорами на внутренней поверхности и соединенную с ударным механизмом, например пневмопробойником. Передний торец желонки выполнен асимметричным относительно ее продольной оси, а на части внешней поверхности сделан конический срез. Упоры имеют наружную поверхность цилиндрической формы, посредством которой они прикреплены к внутренней поверхности желонки равномерно по окружности, и внутреннюю поверхность в виде усеченного конуса, вершина которого направлена к носовой части устройства. Ударным механизмом желонка транспортируется до забоя и внедряется в грунт, который заполняет ее внутреннюю полость. Конический срез способствует образованию подстилающего грунтового слоя. После заполнения желонки грунтом устройство извлекают из трубы, удаляют грунт и снова транспортируют до забоя.

[11]

Недостатком устройства является наличие конического среза, который при внедрении желонки в грунтовый керн обеспечивает образование подстилающего слоя, приводящего к подъему устройства к верхней части внутренней поверхности трубы и его заклиниванию в ней. Кроме того, подстилающий слой вследствие многократных проходок по нему грунтозаборного устройства переуплотняется и требует дополнительных затрат энергии при его удалении. Отмеченные недостатки устройства приводят к снижению производительности процесса прокладки коммуникаций.

[12]

Технической задачей, решаемой предлагаемым изобретением, является повышение производительности процесса прокладки коммуникаций за счет снижения энергозатрат.

[13]

Это достигается тем, что в устройстве для осуществления способа, содержащем цилиндрическую желонку с наружным диаметром, меньшим внутреннего диаметра очищаемой трубы, соединенную с ударным механизмом, согласно изобретению желонка снабжена режущими элементами ширины, монтируемыми на ее наружной поверхности.

[14]

Такое выполнение устройства обеспечивает прорезание пазов в своде грунтового керна на всю его глубину, что способствует обрушению свода при последующем погружении трубы машиной ударного действия.

[15]

Поскольку обрушившийся свод представляет собой рыхлый грунт, то существенно снижаются энергозатраты на его удаление грунтозаборным устройством и повышается производительность процесса прокладки коммуникаций.

[16]

Целесообразно режущие элементы установить так, чтобы описанная по их периферийной части окружность прилегала к нижней части желонки. Это в сочетании с тем, что передний и задний торцы цилиндрической желонки имеют прямоугольный срез, обеспечит гарантированное подрезание свода грунта, исключит подъем желонки к верхней части внутренней поверхности трубы и образование подстилающего слоя грунта. Тем самым гарантированно предотвращается заклинивание грунтозаборного устройства в трубе, снижаются энергозатраты на извлечение керна и повышается производительность.

[17]

Сущность предлагаемого изобретения иллюстрируется примерами конкретного исполнения и чертежами, где на
фиг. 1 - 5 показаны операции заполнения внутренней полости трубы грунтовым керном при ее погружении в массив (а), удаление грунта из нижней части трубы (б), прорезание пазов в своде грунта в трубе (в), дальнейшее погружение трубы с обрушением свода грунта (г) и удаление обрушившегося грунта из трубы (д);
фиг. 6 - 10 - сечение по А-А на фиг. 1-5;
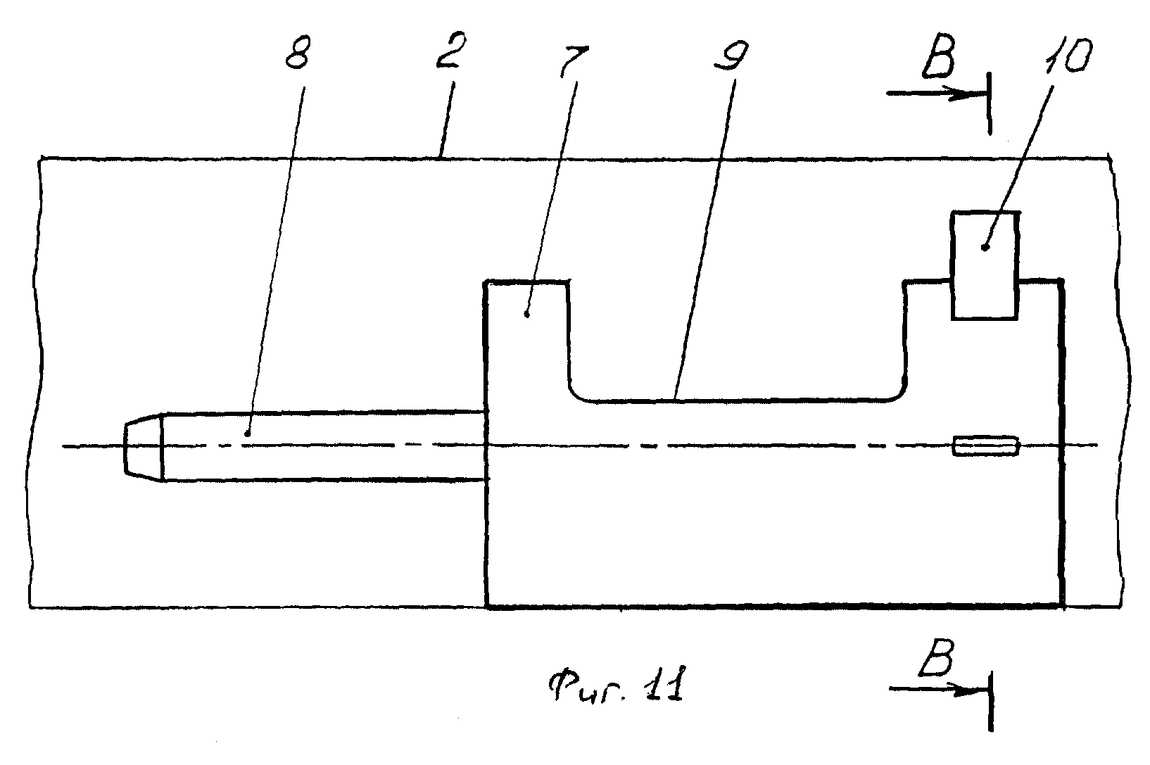
фиг. 11 изображен пример конкретного выполнения устройства для очистки внутренней полости трубы от грунтового керна, общий вид;
фиг. 12 - разрез по В-В на фиг. 11.

[18]

Реализация способа осуществляется следующим образом.

[19]

В грунтовый массив 1 забивают трубу 2 открытым передним торцом. При забивании трубы 2 в ее внутренней полости образуется грунтовый керн 3. Затем частично грунтовый керн удаляется из нижней части трубы 2. При этом в ее верхней части остается грунтовый свод 4. Последующей операцией обеспечивается прорезание в своде 4 грунта нескольких продольных пазов 5. Далее трубу 2 вновь забивают не некоторую глубину. При этом ослабленный пазами 5 грунтовый свод 4 обрушается в нижнюю часть трубы 2. Последней операцией предлагаемого способа обеспечивается удаление из трубы 2 обрушенного грунта 6. Далее описанный цикл повторяется.

[20]

Устройство для бестраншейной прокладки коммуникаций в грунте содержит цилиндрическую желонку 7, соединенную с ударным механизмом 8, обеспечивающим перемещение устройства в трубе до забоя, внедрение в забой и извлечение устройства из забоя и трубы. В верхней части желонки 7 выполнен вырез 9 для извлечения из нее грунта. На наружной части желонки установлены режущие элементы 10, которые при движении желонки до забоя обеспечивают прорезание пазов 5 в своде грунта в трубе 2. Режущие элементы 10 могут быть установлены таким образом, чтобы описанная по их периферийной части окружность прилегала к нижней части желонки 7. Наружный диаметр желонки 7 меньше внутреннего диаметра забиваемой трубы 2.

[21]

Первоначально желонку 7 забивают в грунтовый керн 3 без режущих элементов 10. При этом ее внутренняя полость заполняется грунтом, после чего желонка 7 извлекается из забиваемой трубы 2 и через окно 9 очищается от грунта. Поскольку наружный диаметр желонки 7 меньше внутреннего диаметра забиваемой трубы 2, то внутри последней образуется грунтовый свод 4. Для удаления его на желонке 7 монтируют режущие элементы 10, и желонка 7 вновь запускается в трубу 2, прорезая при своем движении пазы 5 в грунтовом своде 4.

[22]

После прорезания пазов 5 трубу 2 вновь погружают в грунтовый массив ударным механизмом 8. Под действием ударной нагрузки на трубу 2 грунтовый свод 4, ослабленный продольными пазами 5, обрушается в ее нижнюю часть, а затем удаляется той же желонкой в период последующей очистки внутренней полости трубы 2 от грунтового керна.

[23]

Удержание плотных и вязких грунтов в желонке 7 при ее извлечении достигается за счет выступающих внутрь емкости частей режущих элементов 10.

[24]

При работе в слабых грунтах удержание можно осуществить применением, например, свободно поворотной заслонки.

Как компенсировать расходы
на инновационную разработку
Похожие патенты