патент
№ RU 213116
МПК B26D1/01

Ножницы гидравлические для резки шин

Авторы:
Егошин Алексей Валентинович Чернов Борис Федорович Ситников Владимир Фаатович
Все (5)
Номер заявки
2022111677
Дата подачи заявки
28.04.2022
Опубликовано
25.08.2022
Страна
RU
Как управлять
интеллектуальной собственностью
Чертежи 
1
Реферат

[15]

Полезная модель относится к оборудованию для резки шин и может быть использована для переработки автошин. Ножницы гидравлические для резки шин включают сварную станину и подвижный нож, приводимый в движение силовым гидроцилиндром. Сварная станина в передней части имеет проем для входа ножа. С обеих сторон основания ножа и проема в станине симметрично размещены по два лезвия с режущими кромками. Режущие поверхности ножа и проема в станине образуют между собой угол 146°. Силовой гидроцилиндр посредством пальца подвижно закреплен на станине. Шток гидроцилиндра соединен при помощи пальца с ножом. Силовой гидроцилиндр приводится в движение гидростанцией посредством гидрораспределителя. Техническим результатом является упрощение конструкции.

Формула изобретения

Ножницы гидравлические для резки шин, включающие сварную станину и подвижный нож, приводимый в движение силовым гидроцилиндром, отличающиеся тем, что сварная станина в передней части имеет проём для входа ножа, причём с обеих сторон основания ножа и проёма в станине симметрично размещены по два лезвия с режущими кромками, при этом режущие поверхности ножа и проёма в станине образуют между собой угол 146°, также силовой гидроцилиндр посредством пальца подвижно закреплён на станине, а его шток соединён при помощи пальца с ножом, причём нож прикреплён к станине осью и центрирован болтами, при этом силовой гидроцилиндр приводится в движение гидростанцией посредством гидрораспределителя и рукавов.

Описание

[1]

Полезная модель относится к оборудованию для резки изношенных или бракованных шин различного диаметра на фрагменты нужной ширины и длины и может быть использована в технологических линиях для переработки автошин в резиновую крошку.

[2]

Известно устройство для резки изношенных шин (патент SU №1655774, МПК B26D 1/14, опубл. 15.06.91, Бюл. №22), содержащее установленные на станине механизм резки, механизм зажима, включающий основание для зажимных элементов, установленных с возможностью встречного перемещения и приводной вал, а также привод вращения механизма зажима в виде электродвигателя и связанного с ним редуктора. Механизм резки выполнен в виде дисковой пилы, кинематически связанной с электродвигателем привода вращения механизма зажима, основание механизма зажима выполнено в виде кронштейна, установленного с возможностью качания относительно оси тихоходного вала редуктора, на свободном конце которого расположены зажимные элементы.

[3]

Недостатком устройства является необходимость плотного крепления шины в механизме зажима, что возможно лишь при наличии бортовой проволоки. После разрезания шины на устройстве теряется жесткость половинок и удаление проволоки целиком проблематично, а дальнейшее измельчение шин с бортовой проволокой и удаление последней из крошки многократно усложняет последующий процесс переработки.

[4]

Наиболее близкой по технической сущности является установка для резки крупногабаритной и сверхкрупногабаритной шины (патент RU №125511, МПК B26D 1/01, B02C 18/00, опубл. 10.03.2013 г., Бюл. №7), содержащая раму с площадкой для укладки шины, фиксатор шины, а также нижний и верхний режущие ножи и силовой привод. Ножи выполнены Г-образной формы и установлены на двух подвижно закрепленных между собой Г-образных основаниях, образующих силовые ножницы, приводимые в движение посредством силового привода, при этом площадка для укладки шины оборудована фиксатором шины и снабжена механизмом подъема и/или наклона и/или поворота, а также механизмом линейного перемещения площадки вдоль рамы.

[5]

Недостатком установки является расположение верхнего и нижнего режущих ножей только с одной стороны силовых ножниц, поэтому при разрезании крупногабаритных шин с кордом из прочной проволоки на ножи действуют существенные боковые усилия, вследствие чего последние раздвигаются и возможно замятие шин.

[6]

Технические задачи заключаются в упрощении конструкции предлагаемого устройства за счет симметричного размещения лезвий с обеих сторон основания ножа и проема в станине, что снимет боковые усилия с ножа и устранит замятие шин, и расположения режущих поверхностей ножа и проема в станине под углом 146°, что позволит исключить выталкивающую силу, действующую на шину при резке.

[7]

Для решения технических задач предлагаются ножницы гидравлические для резки шин, включающие сварную станину и подвижный нож, приводимый в движение силовым гидроцилиндром.

[8]

Новым является то, что сварная станина в передней части имеет проем для входа ножа, причем с обеих сторон основания ножа и проема в станине симметрично размещены по два лезвия с режущими кромками, при этом режущие поверхности ножа и проема в станине образуют между собой угол 146°, также силовой гидроцилиндр посредством пальца подвижно закреплен на станине, а его шток соединен при помощи пальца с ножом, причем нож прикреплен к станине осью и центрирован болтами, при этом силовой гидроцилиндр приводится в движение гидростанцией посредством гидрораспределителя и рукавов.

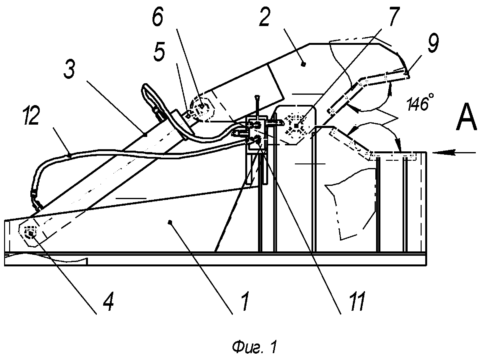
[9]

На фиг. 1 показан вид ножниц гидравлических для резки шин.

[10]

На фиг. 2 показан вид сбоку А.

[11]

Ножницы гидравлические для резки шин (фиг. 1, 2) включают в себя сварную станину 1, имеющую в передней части проем для входа ножа 2, силовой гидроцилиндр 3, подвижно закрепленный на станине 1 посредством пальца 4, шток 5 которого соединен посредством пальца 6 с ножом 2, причем нож 2 прикреплен к станине 1 осью 7 и центрирован болтами 8. На основании ножа 2 и проеме в станине 1, с обеих сторон, симметрично размещены по два лезвия 9 с режущими кромками, при этом режущие поверхности ножа 2 и проема в станине 1 образуют между собой угол 146°. Для привода в действие ножниц гидравлических используется гидростанция 10 посредством гидрораспределителя 11 и рукавов 12.

[12]

Ножницы гидравлические для резки шин работают следующим образом.

[13]

В исходном положении шток 5 силового гидроцилиндра 3 полностью втянут. Шина устанавливается на проем в станине 1. Включается гидростанция 10, посредством гидрораспределителя 11 и рукавов 12 масло подается в поршневую полость силового гидроцилиндра 3, при этом шток 5 выдвигается, и через палец 6 поворачивает нож 2 вокруг оси 7, режущие кромки лезвий 9 ножа 2 и проема в станине 1 смыкаются, и шина разрезается. При обратном ходе штока 5 силового гидроцилиндра 3 и достижения ножа 2 исходного положения ножницы гидравлические открываются. В раскрытые ножницы гидравлические снова кладется шина и цикл повторяется.

[14]

Конструкция гидравлических ножниц для резки шин, за счет симметричного расположения лезвий с обеих сторон основания ножа и проема в станине, и размещения режущих поверхностей ножа и проема в станине под углом 146°, позволит упростить конструкцию устройства.

Как компенсировать расходы
на инновационную разработку
Похожие патенты