патент
№ RU 212549
МПК B24B5/22

СТАНОК ДЛЯ ОБРАБОТКИ ЦИЛИНДРИЧЕСКИХ ПОВЕРХНОСТЕЙ БАНДАЖЕЙ ПРОМЫШЛЕННЫХ УСТАНОВОК В ПРОЦЕССЕ ИХ ТЕХНОЛОГИЧЕСКОГО ВРАЩЕНИЯ

Авторы:
Хуртасенко Андрей Владимирович Воронкова Марина Николаевна Шрубченко Иван Васильевич
Все (4)
Номер заявки
2021138468
Дата подачи заявки
23.12.2021
Опубликовано
28.07.2022
Страна
RU
Как управлять
интеллектуальной собственностью
Чертежи 
1
Реферат

[23]

Полезная модель относится к области станкостроения и может быть использована для обработки крупногабаритных изделий, в частности для обработки цилиндрических поверхностей бандажей промышленных установок в процессе их технологического вращения. Станок содержит корпус, подвижную роликовую опору, подпружиненный кронштейн с копирующим роликом, сдвоенные продольные рельсовые направляющие качения, закрепленные на подпружиненном кронштейне и несущие продольный суппорт с установленной на нем кареткой с обрабатывающим узлом. Монтажная рама выполнена с возможностью установки на корпусах подшипников опорного ролика обрабатываемого бандажа. Поперечные профильные направляющие станка связаны с возможностью качания с монтажной рамой. Корпус станка шарнирно связан с подвижной роликовой опорой. Подпружиненный кронштейн с копирующим роликом жестко закреплен на корпусе станка. Повышается точность обработки за счет возможности автоматической поднастройки станка во время обработки и точной установки станка относительно оси обрабатываемой детали. 2 ил.

Формула изобретения

Станок для обработки цилиндрических поверхностей бандажей промышленных установок в процессе их технологического вращения, содержащий подвижную роликовую опору, подпружиненный кронштейн с копирующим роликом, сдвоенные продольные рельсовые направляющие качения, закрепленные на подпружиненном кронштейне и несущие продольный суппорт с установленной на нем кареткой с обрабатывающим узлом, отличающийся тем, что он снабжен монтажной рамой, выполненной с возможностью установки на корпусах подшипников опорного ролика обрабатываемого бандажа, поперечными профильными направляющими, связанными с возможностью качания с монтажной рамой, и корпусом станка, шарнирно связанным с подвижной роликовой опорой, при этом подпружиненный кронштейн с копирующим роликом жестко закреплен на корпусе станка.

Описание

[1]

Полезная модель относится к области станкостроения, в частности к конструкциям станков для обработки крупногабаритных изделий.

[2]

Станок может быть использован для обработки цилиндрических поверхностей бандажей промышленных установок типа технологических барабанов (например, бандажей вращающихся цементных печей) в процессе их технологического вращения.

[3]

Известен станок для обработки бандажей - патент на полезную модель №97954 РФ, МПК7 В23В 5/00. Станок для обработки бандажей / Л.В. Мурыгина, И.В. Шрубченко, Н.А. Архипова; заявитель и патентообладатель: Белгор. гос.технол. ун-т им. В.Г. Шухова. - №2010119624 / 02; заявл. 17.05.2010; опубл. 27.09.2010, Бюл. №27 - 3 с.

[4]

Для обработки бандажа станок устанавливается на поверхности подшипниковых узлов при помощи опорных стоек, которые жестко фиксируются на опорной поверхности при помощи болтов. Обработка производится за счет движения суппорта, снабженного подпружиненной пинолью с шарнирно закрепленной на конце роликовой тележкой со шлифовальной установкой с бесконечной абразивной лентой и механизмом поперечной подачи, по направляющей круглого сечения, выполненной со шпонкой по всей своей длине, вдоль обрабатываемой поверхности. Станок предназначен для обработки поверхностей качения бандажей на работающем агрегате.

[5]

Недостатком такого устройства является низкая точность обработки и надежность станка, связанная с невысокой точностью установки станка, что обусловлено большим количеством промежуточных звеньев.

[6]

Наиболее близким техническим решением, выбранным в качестве прототипа, является станок для обработки бандажей - патент на полезную модель №162422 Российская Федерация, МПК В24В 5/22, В24В 21/02. Станок для обработки бандажей / Шрубченко ИВ., Хуртасенко А.В., Мурыгина Л.В., Гончаров М.С.; заявитель и патентообладатель: Белгор. гос.технол. ун-т им В.Г. Шухова. - 2015130983/02; заявл. 2015.07.24; опубл. 2016.06.10, Бюл. №16-3 с.

[7]

Для обработки бандажей станок устанавливается на корпусах подшипников опорных роликов с помощью шарниров. Обработка производится за счет продольного перемещения по сдвоенным профильным рельсовым направляющим качения продольного суппорта. Станок снабжен также копирующим роликом, контактирующим с обрабатываемой поверхностью бандажа.

[8]

С существенными признаками полезной модели совпадает следующая совокупность признаков прототипа: имеет копирующий ролик, подпружиненный кронштейн, продольный суппорт, выполненный с возможностью перемещения по сдвоенным продольным профильным рельсовым направляющим качения, причем на суппорте установлена каретка с регулировочным винтом и закрепленным на ней обрабатывающим узлом.

[9]

Основным недостатком такого устройства является недостаточная точность обработки, связанная с неточностью установки станка относительно оси бандажа.

[10]

Задачей, на решение которой направлена полезная модель, является повышение точности обработки бандажей за счет возможности автоматической поднастройки станка во время обработки и более точной установки станка относительно оси обрабатываемой детали.

[11]

Поставленная задача решается за счет того, что станок содержит подвижную роликовую опору, сдвоенные продольные рельсовые направляющие качения, подпружиненный кронштейн с копирующим роликом, продольный суппорт с кареткой. На каретке установлен обрабатывающий узел, например шлифовальная установка с бесконечной абразивной лентой.

[12]

В предлагаемом техническом решении станок снабжен поперечными профильными направляющими, которые соединены с возможностью качания с монтажной рамой, выполненной с возможностью установки на корпусах подшипников опорного ролика обрабатываемого бандажа. Корпус станка установлен на поперечных профильных направляющих и шарнирно связан с подвижной роликовой опорой, при этом подпружиненный кронштейн с копирующим роликом жестко закреплен на корпусе станка и снабжен сдвоенными продольными рельсовыми направляющими качения, на которых установлен продольный суппорт с кареткой, несущей обрабатывающий узел.

[13]

Возможность автоматической поднастройки обеспечивается за счет постоянного контакта копирующего ролика с обрабатываемой поверхностью бандажа, что позволяет передавать все неровности и радиальные перемещения поверхности бандажа на обрабатывающий узел, например, шлифовальную установку. Этому способствуют возможность корпуса станка свободно перемещаться по поперечным профильным направляющим и пружина, которая поджимает кронштейн и поддерживает постоянный контакт обрабатывающего узла и копирующего ролика с обрабатываемой поверхностью. Шарнир обеспечивает возможность изменения углового положения подвижной роликовой опоры, что позволяет компенсировать радиальные перемещения обрабатываемой поверхности и опорного ролика и выполнить автоматическую поднастройку станка во время технологического цикла, что приведет к повышению точности обработки.

[14]

Точность установки станка относительно оси обрабатываемой детали также влияет, в дальнейшем, на точность обработки. Это обеспечивается конструктивно за счет шарнира, который дает возможность поддерживать постоянный контакт роликов роликовой опоры станка с опорным роликом бандажа, благодаря чему продольная ось станка параллельна оси опорного ролика бандажа и, следовательно, параллельна оси обрабатываемой детали.

[15]

Таким образом, совокупность отличительных признаков предлагаемого решения обеспечит повышение точности обработки бандажей за счет возможности автоматической поднастройки станка во время обработки и более точной установки станка относительно оси обрабатываемой детали.

[16]

Конструкция предлагаемого станка для обработки цилиндрических поверхностей бандажей промышленных установок в процессе их технологического вращения поясняется графическим материалом.

[17]

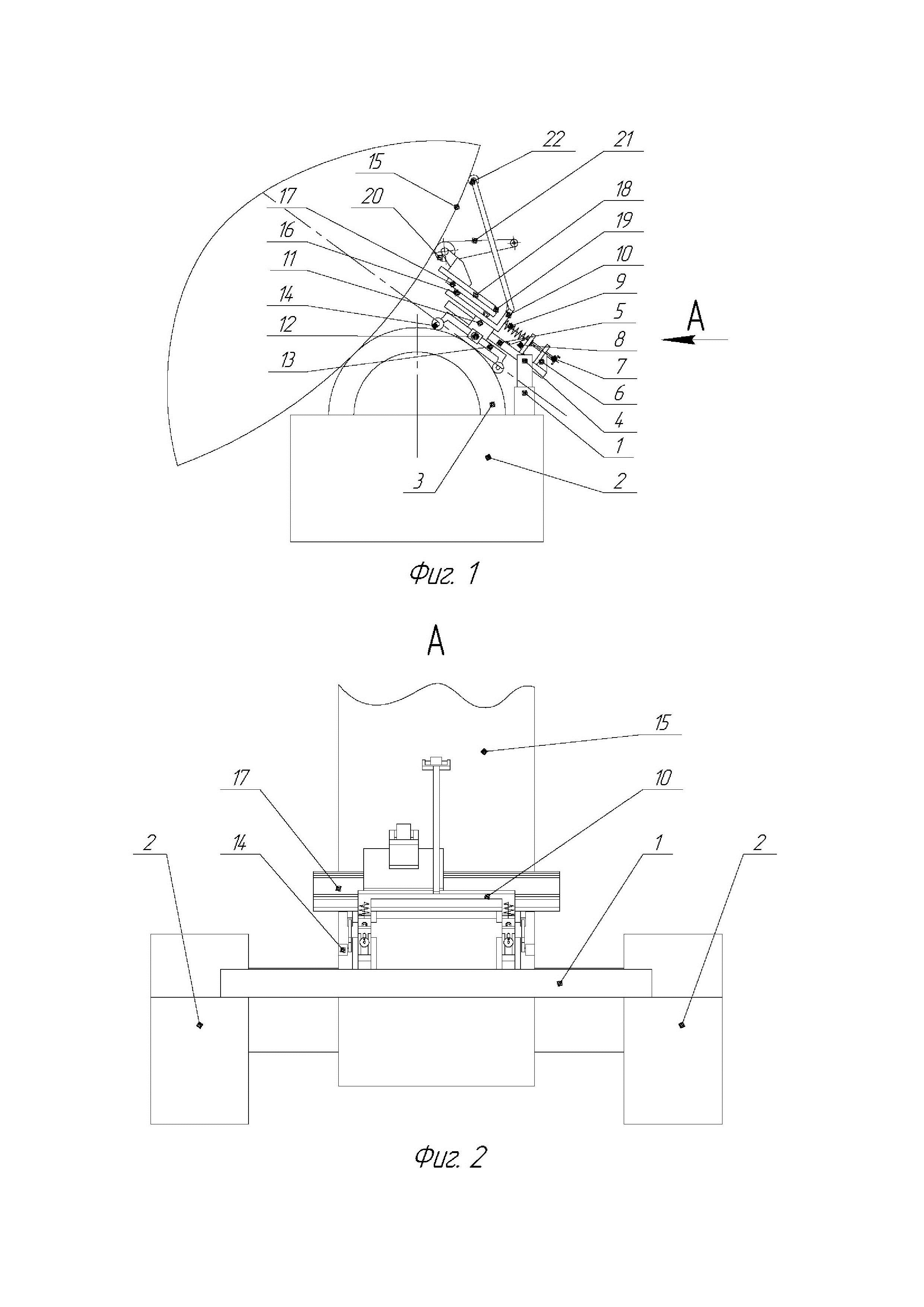
На фиг. 1 изображен общий вид станка; на фиг. 2 - вид А с фиг. 1

[18]

Станок для обработки цилиндрических поверхностей бандажей промышленных установок в процессе их технологического вращения снабжен монтажной рамой 1, выполненной с возможностью установки на корпусах 2 подшипников опорного ролика 3 обрабатываемого бандажа. С монтажной рамой 1 с помощью шарниров 4 связаны поперечные профильные направляющие 5, на которых жестко закреплена неподвижная пятка 6. В неподвижной пятке 6 установлен регулировочный винт 7, контактирующий с подвижным упором 8, также установленным на направляющих 5. С подвижным упором 8 связана пружина 9, прижимающая кронштейн 10. Подпружиненный кронштейн 10 жестко закреплен на корпусе 11 станка, который размещен на поперечных профильных направляющих 5 и посредством шарнира 12 связан с подвижной роликовой опорой 13. При подготовке станка к работе подвижная роликовая опора 13 будет устанавливаться роликами 14 на опорный ролик 3 обрабатываемого бандажа 15. На подпружиненном кронштейне 10 закреплены сдвоенные продольные рельсовые направляющие качения 16, несущие продольный суппорт 17, с установленной на нем кареткой 18 с регулировочным винтом 19. На каретке 18 закреплен, например с помощью болтов (на фигурах не показаны), обрабатывающий узел 20, например шлифовальная установка, содержащая бесконечную абразивную ленту 21. Подпружиненный кронштейн 10 в верхней части снабжен шарнирно установленным копирующим роликом 22.

[19]

Станок для обработки цилиндрических поверхностей бандажей промышленных установок в процессе их технологического вращения монтируется и работает следующим образом.

[20]

Монтажная рама 1 устанавливается на корпуса 2 подшипников опорного ролика 3 обрабатываемого бандажа. К монтажной раме 1 при помощи шарниров 4 присоединяют поперечные профильные направляющие 5, на которых установлен корпус 11 станка. Станок базируется на поверхности опорного ролика 3 бандажа с помощью роликов 14 роликовой опоры 13, а также шарнира 12. Подпружиненный кронштейн 10 подводят с помощью регулировочного винта 7, подвижного упора 8 и пружины 9 к бандажу до соприкосновения копирующего ролика 22 с обрабатываемой поверхностью бандажа 15.

[21]

После того, как копирующий ролик 22 соприкасается с обрабатываемой поверхностью бандажа 15, бесконечная абразивная лента 21 шлифовальной установки (обрабатывающего узла 20) приводится в движение приводом (на фигурах не показан) и подводится до контакта с обрабатываемой поверхностью бандажа 15 с помощью регулировочного винта 19 каретки 18. Обработка поверхности бандажа 15 по всей его ширине выполняется за счет продольного суппорта 17, который перемещается вдоль обрабатываемой поверхности 15 по сдвоенным продольным рельсовым направляющим качения 16, закрепленным на подпружиненном кронштейне 10. При изменении профиля обрабатываемой поверхности 15 копирующий ролик 22 передает перемещения на подпружиненный кронштейн 10, который, за счет возможности перемещения по поперечным профильным направляющим 5 и за счет действия пружины 9, поддерживает постоянный контакт обрабатывающего узла 20 с обрабатываемой поверхностью 15. Таким образом, происходит автоматическая поднастройка станка во время обработки. Шарнир 12 обеспечивает возможность изменения углового положения подвижной роликовой опоры 13, что позволяет компенсировать радиальные перемещения обрабатываемой поверхности 15 и опорного ролика 3, что также позволяет выполнить автоматическую поднастройку станка во время технологического цикла.

[22]

При такой конструкции увеличивается точность станка за счет автоматической поднастройки в момент обработки и более точной установки станка относительно оси обрабатываемой детали. Кроме того, выполнение установки станка на монтажную раму 1 повышает его устойчивость, а, следовательно, увеличивает надежность станка.

Как компенсировать расходы
на инновационную разработку
Похожие патенты