патент
№ RU 2123982
МПК C04B2/08

ЛИНИЯ ДЛЯ ПРИГОТОВЛЕНИЯ ИЗВЕСТКОВОГО МОЛОКА

Авторы:
Димитров З.И. Нагайцев П.В. Нагайцев В.Ф.
Все (4)
Номер заявки
96110553/03
Дата подачи заявки
27.05.1996
Опубликовано
27.12.1998
Страна
RU
Как управлять
интеллектуальной собственностью
Чертежи 
1
Реферат

[19]

Линия для приготовления известкового молока содержит емкость с механизмом подачи воды, магистральными трубопроводами для подачи воды и забора известкового молока, привод, направляющие с закрепленным в них узлом для размыва извести. Она снабжена приемным отделением, имеющим бункер, пылеуловители, многооперационный механизм, вибролоток. Линия оснащена вихревым насосом с центрифугой. Магистральные трубопроводы выполнены с ционными гасителями вибрационных колебаний. Изобретение позволит повысить технологические возможности процесса и увеличить производительность и качество при производстве растворов. 2 ил.

Формула изобретения

Линия для приготовления известкового молока, содержащая емкость, снабженную подающим воду механизмом, магистральными трубопроводами для подачи воды и забора известкового молока, а также приводом и направляющими, в которых закреплен узел для размыва извести, отличающаяся тем, что она содержит приемное отделение, связанное с бункером, пылеуловителем, многооперационным механизмом, служащим для подачи пускового материала в бункер, а через его окно к вибролотку, оснащенного пылеуловителями и далее в аппарат, оснащенный приводом размола и размыва кускового материала через вихревой насос, оснащенный центрифугой, обеспечивающий подачу раствора в технологические емкости, причем магистральные трубопроводы оснащены секционными гасителями частотных колебаний.

Описание

[1]

Предлагаемое изобретение относится к устройствам для гашения извести и может быть использовано в строительной, химической, легкой и пищевой промышленности для регенерации аммиака, производства соды и хлористого кальция и для решения других задач по смешению растворов.

[2]

Из известных аналогов: А.с. N 1085947 (СССР) C 04 B 2/08, 1981 и А.с. N 1625840 (СССР) C 04 B 2/08, 1991, последнее взято за прототип.

[3]

К недостаткам известных технических решений следует отнести: малую производительность процесса и слабую экологическую защиту окружающей среды при выполнении процесса.

[4]

Цель изобретения - повышение технологических возможностей процесса, увеличение производительности и качества при производстве растворов.

[5]

Это достигается тем, что линия для приготовления известкового молока, содержащая емкость, снабженную подающим воду механизмом, магистральными трубопроводами для подачи воды и забора известкового молока, а также приводом и направляющими, в которых закреплен узел для размыва извести, отличающаяся тем, что она содержит отделение, связанное с бункером, пылеуловителем, многооперационным механизмом, служащим для подачи кускового материала в бункер, а через его окно к вибролотку, оснащенного пылеуловителями, и далее в аппарат, оснащенный приводом размола и размыва кускового материала, через вихревой насос, оснащенный центрифугой, обеспечивающий подачу раствора в технологические емкости, причем магистральные трубопроводы оснащены секционными гасителями частотных колебаний.

[6]

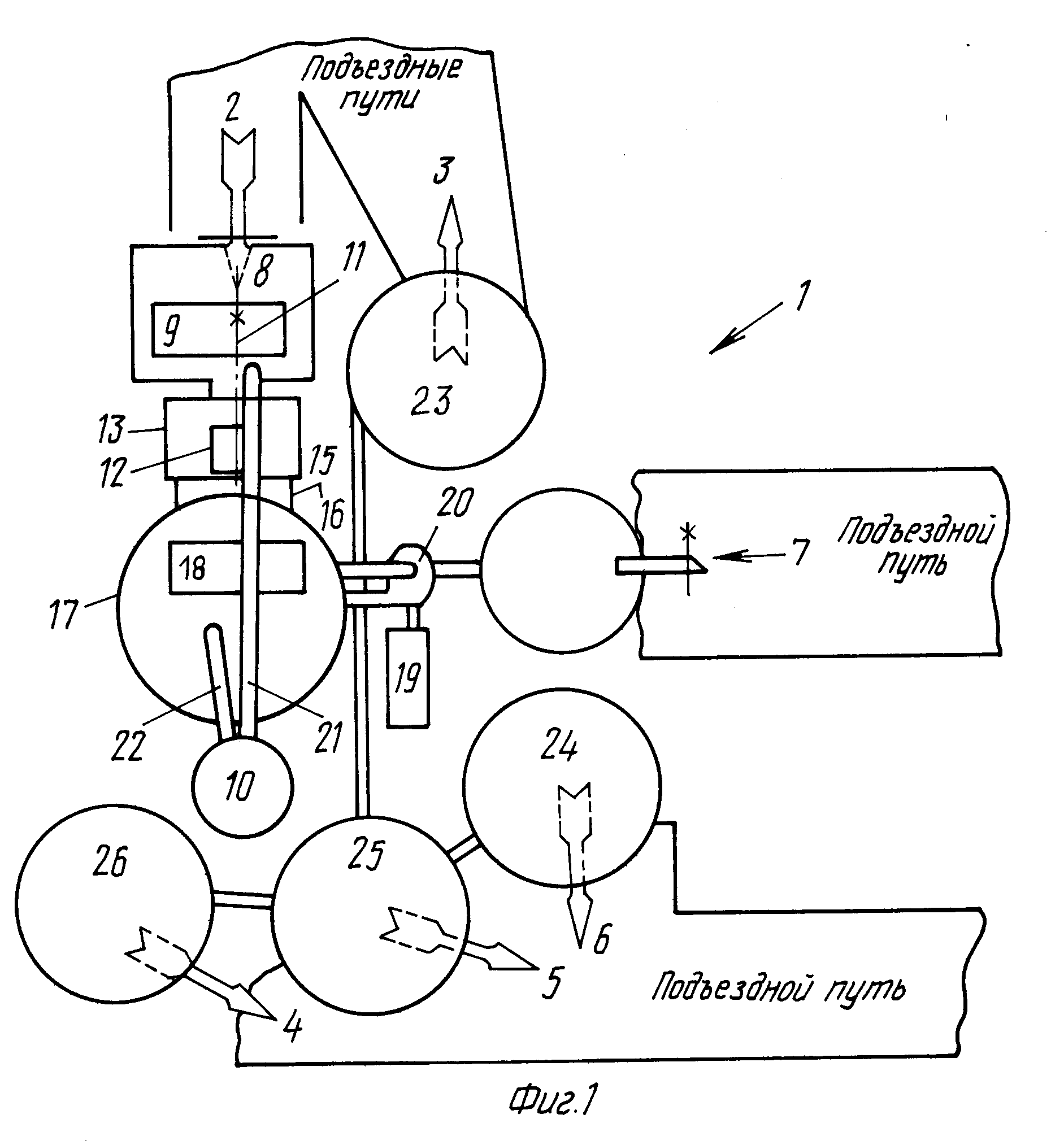
Графические материалы: фиг. 1 - вид в плане на линию для приготовления известкового раствора; фиг. 2 - схема принципиального взаимодействия узлов линии для приготовления известкового молока.

[7]

Описание линии для приготовления известкового молока.

[8]

Линия для получения известкового молока 1 имеет подъездные пути 2 - 7 для доставки сырья и воды. Последний может быть заменен на автоматизированный гидрант 7, подающий воду из магистрального трубопровода и/или артезианского колодца. Приемное отделение 8 включает в себя бункер 9 и пылеуловитель 10, необходимые для выгружаемого кускового материала и сбора выделяемой при этом пыли.

[9]

Многооперационный механизм 11 служит для подъема, подачи и загрузки исходного материала через окно 12 приемного бункера 13, который взаимодействует с переходной секцией вибролотка 14 с приемными и выходными патрубками, связанными с пылеуловителями 15 и 16 (фиг. 2).

[10]

Подаваемый материал поступает в вертикально установленный аппарат 17 с верхним размольным и нижним размывочным приводами 18 и 19. В аппарате происходит и просеивание материала с попутным его разрезанием вращающимся рабочим органом.

[11]

В процессе приготовления раствора участвует вихревой насос 20, содержащий центрифугу 27, причем магистральные трубопроводы 7 снабжены секционными гасителями колебаний 28 (фиг. 2).

[12]

Принцип работы.

[13]

От центрифуги 27 вода, а затем и раствор подаются в рабочую камеру аппарата 17. После многоциклового смешения раствора и подачи пыли из циклона 10 по трубопроводам 21 - 22 готовый раствор перекачивается в технологические емкости 23 - 26. Различные плотности растворов определяют качество молока по плотности известкового раствора. Под емкостями имеются выпускные отверстия 29, открываемые автоматически или вручную (в случае обесточивания линии).

[14]

Новая технологическая линия для приготовления известкового молока быстроокупаема и рентабельна.

[15]

Промышленная полезность предлагаемой линии состоит в ее многопрофильном назначении и основана на использовании нескольких направлений воздействия на кусковый материал.

[16]

Экологическая защита работающей установки обеспечивается экранированием зоны нагрузки, транспортировки и переработки кускового и пылевидного материалов.

[17]

Экономическая эффективность основана на высокой производительности и качестве процесса.

[18]

Новизна предлагаемой линии заключается в возможности беспыльного процесса, гидроэкструзионно-механического прерывистого дробления твердой фазы раствора с одновременным подавлением вибраций.

Как компенсировать расходы
на инновационную разработку
Похожие патенты