патент
№ RU 2121742
МПК H02B5/02

СТОЛБОВАЯ (МАЧТОВАЯ) ТРАНСФОРМАТОРНАЯ ПОДСТАНЦИЯ

Авторы:
Разгуляев В.Н.
Номер заявки
97100233/09
Дата подачи заявки
06.01.1997
Опубликовано
10.11.1998
Страна
RU
Как управлять
интеллектуальной собственностью
Чертежи 
3
Реферат

[22]

Подстанция содержит одну или две опоры 1, на которых размещены на траверсах 2 вводные изоляторы 3, предохранители-разъединители 5, силовой трансформатор, ограничители перенапряжений и устройство низкого напряжения 7, соединенные между собой проводами 8, а также заземляющий контур И. Для уменьшения габаритов, материалоемкости и повышения надежности подстанция снабжена защитным токопроводящим экраном 12, например, из металлической сетки с поясом жесткости по контуру. Экран 12 устанавливается между силовым трансформатором 6 и предохранителями-разъединителями 5 и электрически соединяется с заземляющим контуром 11 подстанции. Соединительные провода между предохранителями-разъединителями 3 и силовым трансформатором 6 расположены от экрана 12 и опоры 1 на необходимом изоляционном расстоянии. Как вариант, защитный экран 12 может устанавливаться на траверсе предохранителей-разъединителей 5. Либо предохранители-разъединители 5 могут устанавливаться на нижнем поясе жесткости защитного экрана 12. 2 з.п. ф-лы, 4 ил.

Формула изобретения

1. Столбовая (мачтовая) трансформаторная подстанция, содержащая по меньшей мере одну опору на которой размещены предохранители-разъединители, на траверсах - вводные изоляторы, силовой трансформатор, ограничители перенапряжений и устройство низкого напряжения, соединенные между собой проводами, заземляющий контур, отличающаяся тем, что она снабжена защитным токопроводящим экраном с поясом жесткости по контуру, установленным между силовым трансформатором и предохранителями-разъединителями и соединенными электрически с заземляющим контуром, а соединительные провода между предохранителями-разъединителями и силовым трансформатором расположены от защитного токопроводящего экрана и опоры на необходимом изоляционном расстоянии.

2. Подстанция по п.1, отличающаяся тем, что защитный токопроводящий экран установлен на траверсе, на которой закреплены предохранители-разъединители.

3. Подстанция по п.1, отличающаяся тем, что предохранители-разъединители установлены на нижнем поясе жесткости защитного токопроводящего экрана, закрепленного на опоре.

Описание

[1]

Изобретение относится к электротехнике и может быть использовано в конструкциях столбовых (мачтовых) трансформаторных подстанций, применяемых для электроснабжения различных потребителей.

[2]

Известна столбовая (мачтовая) трансформаторная подстанция (Л1), содержащая вводные (приемные) изоляторы, понизительный силовой трансформатор, высоковольтные ограничители перенапряжений (разрядники), предохранители и устройство низкого напряжения с коммутационной аппаратурой, соединенные между собой проводниками. Указанное оборудование, называемое трансформаторным блоком, размещается на металлоконструкциях (траверсах), закрепляемых на опоре (столбе или мачте), выполняемой железобетонной, металлической или деревянной. Оборудование электрически соединяется с заземляющим контуром подстанции (заземляется). Подстанция соединяется с потребителями через устройство низкого напряжения.

[3]

В зависимости от мощности подстанции ее оборудование закрепляется на одной опоре (Л2) (преимущественно с трансформаторами мощностью до 100 кВА) или на двух опорах (преимущественно с трансформаторами мощностью от 100 до 630 кВА).

[4]

Кроме того, в состав подстанции входит также разъединительный пункт, состоящий из разъединителя с приводом, который устанавливается на отдельно стоящей опоре в 5-7 м от трансформатора. Питающая линия электропередачи соединяется с разъединительным пунктом, который в свою очередь соединен ошиновкой с вводными (приемными) изоляторами трансформаторного блока.

[5]

Такое исполнение подстанции вызвано также тем, что при снятой нагрузке и отключенном разъединительном пункте можно было производить безопасный осмотр силового трансформатора и другого оборудования подстанции без нарушения нормальной работы соседних цепей, подсоединенных к той же питающей линии электропередачи, что и рассматриваемая подстанция.

[6]

Такие подстанции занимают большую площадь, имеют большие габариты и большой расход материалов, т.к. содержат отдельно стоящий разъединительный пункт, требующий соединения проводами с трансформаторным блоком. Кроме того, требуется большое количество металла для крепежных конструкций под оборудование. Наличие большого количества аппаратуры снижает надежность всей подстанции.

[7]

Задачей настоящего изобретения является создание столбовой (мачтовой) трансформаторной подстанции с уменьшенными габаритами, материалоемкостью и повышенной надежностью.

[8]

Решение этой задачи достигается тем, что в столбовой (мачтовой) трансформаторной подстанции, содержащей по крайней мере одну опору (столб), на которой размещены на траверсе вводные (приемные) изоляторы, предохранители-разъединители, силовой трансформатор и устройство низкого напряжения, соединенные между собой проводами, подстанция снабжена токопроводящим защитным экраном, выполненным, например, из металлической сетки с поясом жесткости по контуру, установленным между силовым трансформатором и предохранителями-разъединителями и соединенным электрически с заземляющим контуром подстанции, а соединительные провода между предохранителями-разъединителями и силовым трансформатором огибают экран и опору на необходимом изоляционном расстоянии. Экран может устанавливаться и закрепляться своей нижней частью пояса жесткости также на траверсе, на которой закреплены предохранители-разъединители или наоборот, на нижнем поясе жесткости экрана могут устанавливаться предохранители-разъединители.

[9]

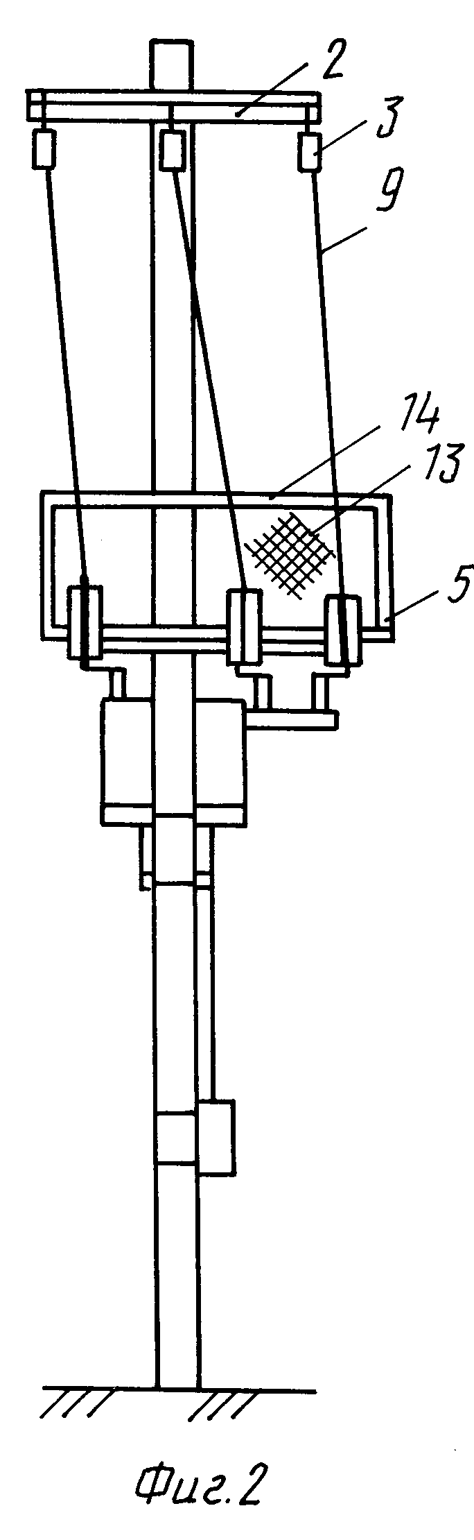
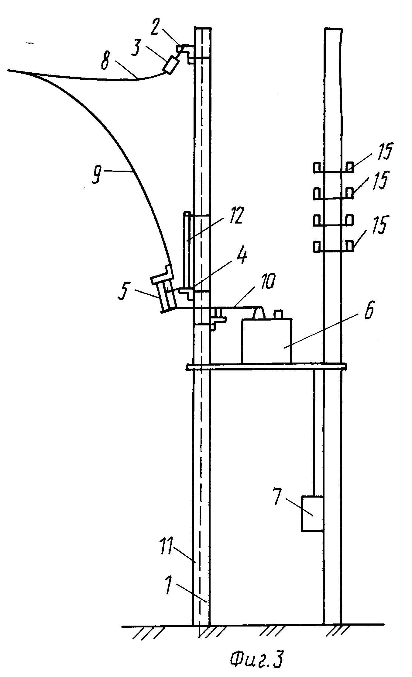
На фиг. 1 изображена столбовая (мачтовая) трансформаторная подстанция на одной опоре, главный вид; на фиг. 2 - вид сбоку этой подстанции; на фиг. 3 - подстанция на 2 опорах, главный вид; на фиг. 4 - вид сбоку этой подстанции.

[10]

Подстанция (фиг. 1 и 2) содержит опору (столб) 1, на которой на траверсе 2 размещены высоковольтные вводные (приемные) изоляторы 3 подстанции, закрепленные на траверсе 4 предохранители-разъединители 5, силовой трансформатор 6 и устройство низкого напряжения 67.

[11]

Подстанция присоединяется к линии высокого напряжения, провода 8 которой закрепляются на вводных изоляторах 3. При помощи проводов 9 предохранители-разъединители 5 соединяются с проводами 8.

[12]

Предохранители-разъединители 5 и силовой трансформатор 6 соединены между собой проводами 10. Для обеспечения безопасности оборудования подстанция соединяется с заземляющим контуром 11 подстанции (заземляется) обычным способом (например, стальными токоведущими шинами или проводниками).

[13]

Между предохранителями-разъединителями 5 и силовым трансформатором 6 установлен защитный экран 12, выполняемый токопроводящим, например, из металлической сетки 13 с поясом жесткости 14 по контуру, выполняемым, например, из уголковой стали, т.е. легким и достаточно жестким. Экран 12 может изготавливаться также из металлических стержней с поясом жесткости из труб, швеллеров и т.д. или из металлического листа с отверстиями, образующими определенные ячейки, с отбортовкой по контуру листа, образующей пояс жесткости 14 экрана 12. Собственно экран 12 может быть также изготовлен из изоляционного материала с токопроводящим слоем по наружной поверхности.

[14]

Экран 12 закрепляется к опоре 1 и электрически соединяется с заземляющим контуром 11 подстанции также обычным образом. Соединительные провода 10 между предохранителями-разъединителями 5 и силовым трансформатором 6 при этом огибают экран 12, а также опору 1 на необходимом изоляционном расстоянии, определяемом высшим напряжением подстанции.

[15]

Такое исполнение позволяет выполнить столбовую (мачтовую) подстанцию с уменьшенными габаритами, разместив предохранители-разъединители 5 на той же опоре, что и трансформатор 6, и отделив верхние контакты предохранителей-разъединителей 5 и подводящих проводов 9 (которые остаются под напряжением при отключенных предохранителях-разъединителях 5), от трансформатора 6 и низковольтных проводов 15 к потребителям заземленным сетчатым экраном 12.

[16]

Подстанции на одной опоре такой конструкции можно выполнять, по крайней мере, с небольшим расходом материалов, на мощности до 100 кВА, достаточно простые, компактные и надежные.

[17]

При необходимости осмотра силового трансформатора 6 и другого оборудования отключается нагрузка подстанции (с помощью коммутационной аппаратуры, находящейся в устройстве низкого напряжения 7), а затем - предохранители-разъединителя 5. При этом обеспечивается необходимая безопасность, т.к. сетчатый заземленный экран 12 отделяет находящиеся под высоким напряжением верхние контакты предохранителей-разъединителей 5 и подводящий провод 9 от случайного прикосновения обслуживающего персонала, выполняя функции ограждения (случайное прикосновение к заземленному экрану 12 неопасно). Также не нарушается нормальная работа соседних цепей, подсоединенных к той же питающей линии, что и столбовая (мачтовая) подстанция. Указанное в совокупности обеспечивает высокую надежность работы подстанции. Отсутствие экрана 12 вызвало бы необходимость значительного отнесения предохранителей-разъединителей 5 от опоры 1, что увеличило бы габариты подстанции, материалоемкость крепежных металлоконструкций, нагрузки на опору и снизило бы надежность подстанции, при этом не была бы обеспечена надлежащая безопасность обслуживающего персонала.

[18]

На фиг. 3 и 4 изображена подстанция на двух опорах, с трансформатором большей мощности и, как следствие, большей массы. По такой схеме можно выполнять подстанции мощностью до 630 кВА с обеспечением необходимой надежности. Работа такой подстанции аналогична работе подстанции, показанной на фиг. 1 и 2.

[19]

Защитный экран 12 может устанавливаться своим нижним поясом жесткости 14 на траверсе 4 крепления предохранителей-разъединителей 5, что позволяет выполнить пояс жесткости облегченным. Кроме того, сами предохранители-разъединители 5 могут быть установлены на нижнем поясе жесткости защитного экрана 12, что позволяет упростить конструкцию подстанции, т.к. отпадает необходимость установки отдельной траверсы 5 для предохранителей-разъединителей 4.

[20]

Источники информации:
1. Технические условия ТУ 3412-001-00468683-93 (ИВЕЖ.674821.001 ТУ) "Подстанции трансформаторные мачтовые 10/0,4 кВ мощностью 25-250 кВА серии ПТМП и ПТМА" (согласованы РАО "ЕЭС России", утверждены АО "ЭЛВО"), 1993 г.

[21]

2. Типовой проект ОТП.С.03.61.36-94. Трансформаторная подстанция напряжением 10/0,4 кВ столбового типа мощностью от 25 до 100 кВА (Саратовский завод "Прогресс"), Москва, институт "Сельэнергопроект", 1994 г.

Как компенсировать расходы
на инновационную разработку
Похожие патенты