патент
№ RU 211676
МПК A01F12/18

Домолачивающее устройство зерноуборочного комбайна

Авторы:
Подорванов Даниил Алексеевич Оробинский Владимир Иванович Василенко Владимир Васильевич
Все (4)
Номер заявки
2021119732
Дата подачи заявки
05.07.2021
Опубликовано
17.06.2022
Страна
RU
Как управлять
интеллектуальной собственностью
Чертежи 
1
Реферат

[10]

Заявляемая полезная модель относится к сельскохозяйственному машиностроению и может быть использована в зерноуборочных комбайнах для домолота колосового вороха, поступающего с очистки комбайна.

[11]

Домолачивающее устройство зерноуборочного комбайна, содержащее кожух колосового шнека, колосовой барабан с бичами, транспортирующими секторами и желобом, а также колосовой элеватор, отличающееся тем, что в домолачивающее устройство введен распределительный барабан с бичами, транспортирующими секторами и желобом, причем в верхней части желоба каждого барабана в зоне выхода из него бичей сформировано углубление с очесывающим выступом, зазор между выступом и бичом равен 6 мм с возможностью прохождения зерна без повреждения, а желоб распределительного барабана перфорирован отверстиями, проходными для зерен. Полезная модель улучшает качество обмолота зерновых культур путем интенсификации процесса, что приводит к уменьшению потерь урожая. 1 ил.

Формула изобретения

Домолачивающее устройство зерноуборочного комбайна, содержащее кожух колосового шнека, колосовой барабан с бичами, транспортирующими секторами и желобом, а также колосовой элеватор, отличающееся тем, что в домолачивающее устройство введен распределительный барабан с бичами, транспортирующими секторами и желобом, причем в верхней части желоба каждого барабана в зоне выхода из него бичей сформировано углубление с очесывающим выступом, зазор между выступом и бичом равен 6 мм с возможностью прохождения зерна без повреждения, а желоб распределительного барабана перфорирован отверстиями, проходными для зерен.

Описание

[1]

Заявляемая полезная модель относится к сельскохозяйственному машиностроению и может быть использована в зерноуборочных комбайнах для домолота колосового вороха, поступающего с очистки комбайна.

[2]

Известно устройство домолота колосового вороха, содержащее кожух колосового шнека, элеватор колосовой, распределительный шнек и шнековый барабан, установленный в кожухе колосового шнека и шарнирно зафиксированный одним концом на фланце, закрепленном на кожухе колосового шнека, а другим концом - на опоре колосового элеватора, при этом на шнековом барабане винтообразно расположены кронштейны с закрепленными рифлеными бичами, а между кронштейнами установлены винтообразно расположенные сектора, перемещающие обмолоченный ворох в приемное окно колосового элеватора (патент РФ на полезную модель №153225 A01F 12/18). В задачу авторов этой модели входило упрощение конструкции, уменьшение повреждения зерна и повышение надежности технологического процесса. Эти задачи авторами решены, однако в конструкции имеется недостаток.

[3]

Недостатком известной полезной модели является высокая вероятность недомолота колосового вороха, особенно слегка увлажненного. Предложенная авторами замена стандартного домолачивающего барабана на шнековый барабан далеко не полноценна, и если не вводить дополнительных устройств, то колосовой ворох останется недомолоченным. Стандартный домолачивающий барабан ударяет своими бичами по колосьям со скоростью 28 м/с, кроме того, под бичами имеются неподвижные выступы деки, притормаживающие движение колосьев, чтобы увеличить ударное воздействие. Предложенный авторами шнековый барабан монтируется на базе стандартного колосового шнека, который имеет скорость вращения 3,3 м/с. Под шнеком днище желоба гладкое, нет никаких притормаживающих выступов, то есть не будет ни удара, ни вытирания зерен из колосьев. Это приведет к завышенным потерям урожая.

[4]

Техническим результатом полезной модели является повышение качества работы домолачивающего устройства зерноуборочного комбайна.

[5]

Технический результат достигается тем, что в домолачивающее устройство зерноуборочного комбайна, содержащее кожух колосового шнека, колосовой барабан с бичами, транспортирующими секторами и желобом, а также колосовой элеватор, введен распределительный барабан с бичами, транспортирующими секторами и желобом, причем в верхней части желоба каждого барабана в зоне выхода из него бичей сформировано углубление с очесывающим выступом, зазор между выступом и бичом равен 6 мм с возможностью прохождения зерна без повреждения, а желоб распределительного барабана перфорирован отверстиями, проходными для зерен.

[6]

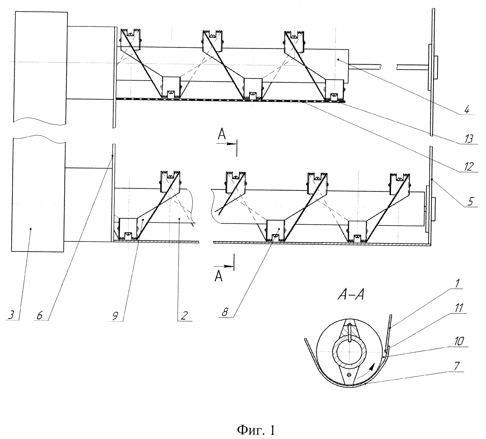
На фиг. 1 изображено домолачивающее устройство зерноуборочного комбайна.

[7]

Домолачивающее устройство зерноуборочного комбайна содержит кожух 1 колосового шнека, шнековый барабан 2, колосовой элеватор 3 и распределительный барабан 4. Кожух 1 колосового шнека включает боковины 5 и 6, а также желоб 7. Базовой деталью колосового барабана 2 является его труба 2, на которой винтами закреплены бичи 8. К боковым поверхностям бичей 8 винтами прикреплены сектора 9 представляющие собой фрагменты спиральной шнековой ленты. Бичи имеют рифленую рабочую поверхность. В верхней части желоба 7 в зоне выхода бичей из желоба сформировано углубление 10 с очесывающим выступом 11. Желоб 12 распределительного барабана 4 перфорирован отверстиями 13, проходными для зерен. Как и колосовой барабан, распределительный барабан снабжен взаимозаменяемыми бичами и секторами, и так же имеет углубление и очесывающий выступ, аналогичные позициям 10 и 11.

[8]

Домолачивающее устройство зерноуборочного комбайна работает следующим образом. Колосовой ворох поступает в кожух 1 колосового шнека с решетного стана очистки (не показан). Колосовой барабан 2 своими бичами увлекает колосья во вращение, а центробежная сила прижимает их к желобу 7. Подходя к углублению 10 в желобе 7, колосья ударяются об очесывающий выступ 11. Зазор между выступом и бичом равен 6 мм, то есть зерна проходят без повреждения, а колосья не проходят, они разрушаются, и зерна из них выпадают. Частично колосья разрушаются также от протаскивания их бичами сквозь массу других колосьев и от трения по днищу и бортам желоба. Сектора 9 перемещают колосовой ворох к колосовому элеватору 3 и, имея одинаковый с бичами диаметр траектории вращения, тоже участвуют в защемлении колосьев в зоне очесывающего выступа 11. Колосовой элеватор 3 подает колосовой ворох в желоб 12 распределительного барабана 4. Распределительный барабан работает так же, как и колосовой с той лишь разницей, что выделившиеся из колосьев зерна выпадают на стрясную доску (не показана) из желоба 12 через отверстия 13, чтобы уменьшить повреждения. В конце желоба 12 выход открыт для оставшихся зерен.

[9]

Таким образом, домолот колосового вороха существенно интенсифицирован, что уменьшит потери зерна при комбайновой уборке.

Как компенсировать расходы
на инновационную разработку
Похожие патенты