патент
№ RU 211529
МПК C07C53/16

Устройство для хлорирования уксусной кислоты

Авторы:
Струнин Борис Павлович
Номер заявки
2021127509
Дата подачи заявки
17.09.2021
Опубликовано
10.06.2022
Страна
RU
Как управлять
интеллектуальной собственностью
Чертежи 
1
Реферат

[79]

Полезная модель относится к области оборудования химической промышленности и касается устройства для получения монохлоруксусной кислоты хлорированием уксусной кислоты газообразным хлором. Полезная модель направлена на решение технической задачи по расширению арсенала реакционного оборудования для хлорирования уксусной кислоты. Устройство для хлорирования уксусной кислоты включает не менее двух графитовых пластинчатых теплообменников и источник ультрафиолетового излучения для активации хлора. В первом теплообменнике происходит нагрев уксусной кислоты до необходимой температуры, во втором теплообменнике, который является реактором хлорирования, непосредственно реакция хлорирования. Полезная модель предлагает простое, надежное в эксплуатации устройство, отвечающее коррозионным требованиям процесса хлорирования.

Формула изобретения

Устройство для хлорирования уксусной кислоты, состоящее из пластинчатого графитового теплообменника, имеющего штуцер для подачи реакционной смеси нагретой уксусной кислоты с газообразным хлором, подвергнутым ультрафиолетовому облучению; штуцер для подачи хладагента для снятия тепла реакции; штуцер для вывода полученной газожидкостной реакционной смеси, направляемой на выделение монохлоруксусной кислоты; штуцер для вывода хладагента.

Описание

[1]

Область техники

[2]

Полезная модель относится к области оборудования химической промышленности и касается устройства для получения монохлоруксусной кислоты хлорированием уксусной кислоты газообразным хлором. Монохлоруксусная кислота является важным химическим сырьем для получения фармацевтических препаратов, пестицидов, красителей, поверхностно-активных веществ и многих других продуктов.

[3]

Уровень техники

[4]

Основным промышленным способом производства монохлоруксусной кислоты является хлорирование жидкой уксусной кислоты газообразным хлором в присутствии катализатора хлорирования уксусного ангидрида и/или хлористого ацетила в реакторе хлорирования. В результате реакции хлорирования образуются монохлоруксусная кислота (МХК), газообразный хлористый водород (HCl) и побочные продукты реакции: дихлоруксусная кислота (ДХК) и трихлоруксусная кислота (ТХК).

[5]

Реакторы хлорирования известны в данной области техники. Ими могут быть реакторы колонного или емкостного типа с различными барботажными устройствами.

[6]

Монохлоруксусная кислота является сильным агрессивным агентом. Алюминий, свинец, цинк и углеродистая, хромистая, марганцовистая стали весьма интенсивно разрушаются в растворах монохлоруксусной кислоты любой концентрации уже при комнатной температуре.

[7]

Хромоникелевая сталь Х18Н10Т и хромоникелемолибденовые стали Х17Н13М2Т и 0Х23Н28М3Д3Т значительно лучше сопротивляются общей коррозии, но подвергаются весьма интенсивной точечной, что также не позволяет применять их в качестве конструкционных материалов в производстве монохлоруксусной кислоты.

[8]

Медь, алюминиевые и оловянистые бронзы, латуни и сплавы на основе никеля стойки в растворах монохлоруксусной кислоты только при температуре не выше комнатной.

[9]

Высокой коррозионной стойкостью в холодных и горячих водных растворах этой кислоты обладают лишь титан, тантал и серебро (https://mach-xxl.info/article/166212/).

[10]

Тантал, титан, цирконий корродируют со скоростью 9,7; более 50; 246 мм/год соответственно (http://mash-xxl.info/page/11607011).

[11]

Из неметаллических материалов в кислоте устойчивы базальт, диабаз, кварц, керамика, стекло, фарфор, графит, пропитанный феноло-формальдегидной смолой, фаолит, фторопласт-4.

[12]

Стойкость резин на основе различных каучуков определяется в основном концентрацией и температурой растворов (https://mach-xxl.info/article/1662121).

[13]

В условиях хлорирования уксусной кислоты при получении хлоруксусных кислот наибольшей стойкостью обладает серебро.

[14]

Однако изготавливать промышленные реакторы из серебра весьма дорого.

[15]

Фарфоровые и керамические изделия не находят практического применения из-за трудности изготовления крупногабаритных изделий сложной формы.

[16]

В авторском свидетельстве SU 1404503 A1 (С07С 53/16, 1988 г.) для хлорирования уксусной кислоты хлором предложен лабораторный реактор колонного типа, выполненный из стекла и снабженный барботером для подачи хлора, термометром и обратным холодильником, охлаждаемым водой. Однако при крупнотоннажном производстве изготавливать реактор из кварца или стекла представляется очень сложной задачей. Стекло - хрупкий материал и изготавливать промышленный реактор хлорирования из такого конструкционного материала нецелесообразно.

[17]

Известно, что скорость протекания химических реакций в гетерогенных системах (жидкость-газ) определяется площадью раздела фаз. Для увеличения скорости процесса устанавливают барботажные устройства. Однако при прохождении газа (хлора) через слой жидкости впоследствии пузырьки непрореагировавшего хлора вновь объединяются в более крупные и скорость реакции падает. Поэтому реакторы хлорирования колонного и емкостного типа недостаточно эффективны.

[18]

В патенте RU 2188189 C1 (С07С 53/16, С07С 51/363, 2002 г.) для улучшения контакта реагирующих компонентов при хлорировании уксусной кислоты предложено устройство в виде вихревой камеры предварительного смешения. В камеру подают перегретую уксусную кислоту при температуре 120-130°С с распылением в потоке инертного газа (азота) при одновременной подаче атомарного хлора с температурой 750-900°С. Переведенная в газовую фазу уксусная кислота образует с хлором реакционную смесь, которая подается в прямоточную трубу (основной реакционной участок) с ламинарным течением реакционной смеси и с непрерывной активацией реакционной смеси ультрафиолетовым излучением. В результате происходит реакция замещения атома водорода на атом хлора в молекуле уксусной кислоты с образованием монохлоруксусной кислоты, выделившийся атомарный водород связывается с атомарным хлором с получением хлористого водорода.

[19]

Осуществление процесса при высоких температурах в условиях чрезвычайно сильной коррозии диктует необходимость использования дорогостоящих конструкционных материалов.

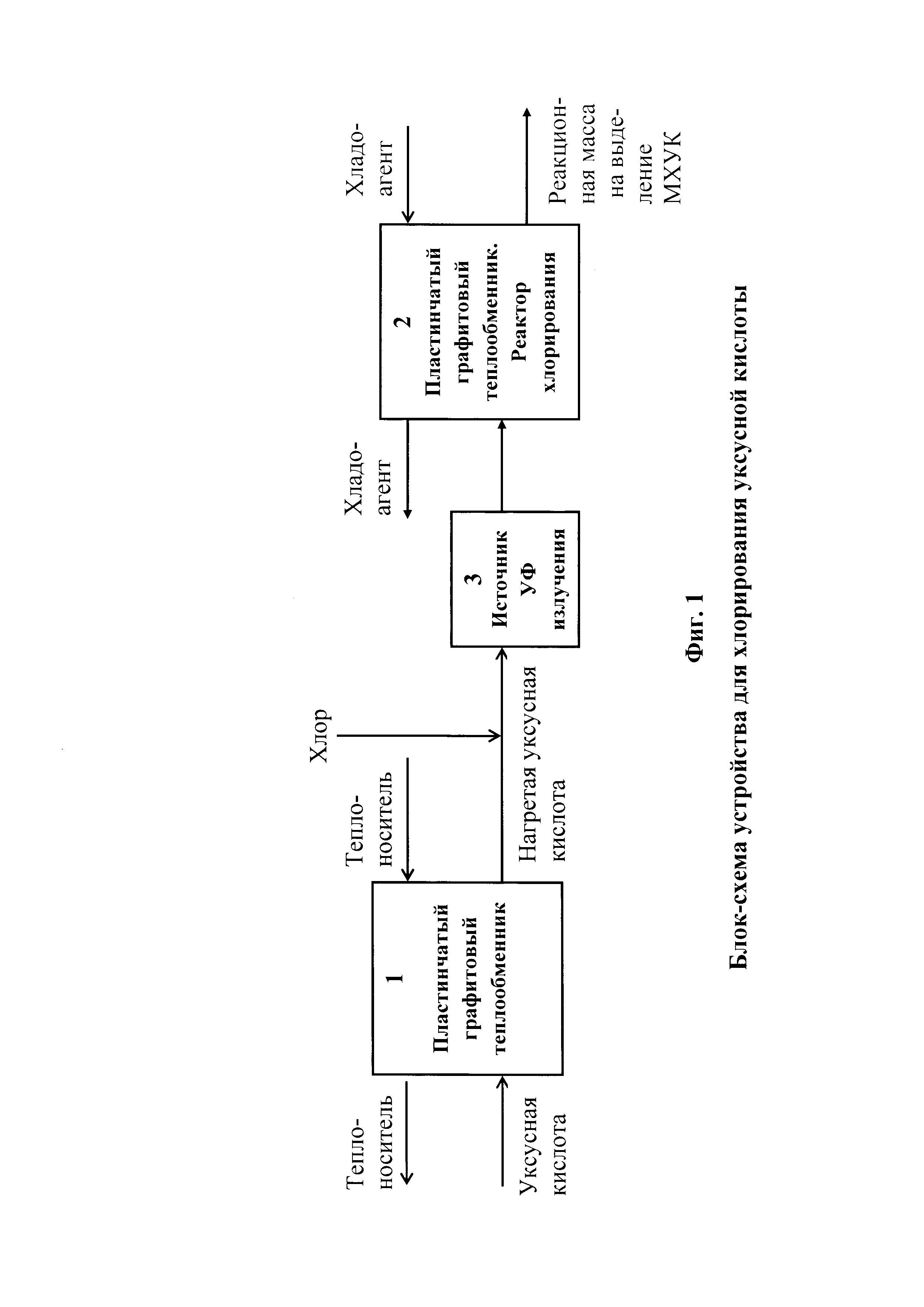
[20]

В патенте RU 2253650 C1 (С07С 53/16, С07С 51/04, 2005 г.) для получения монохлоруксусной кислоты предложен реактор, выполненный из фторопласта. Для повышения скорости реакции хлорирования вводится дополнительная активация хлора.

[21]

Уксусный ангидрид и хлор подают в камеру гидродинамического смешения. Уксусный ангидрид предварительно в теплообменнике нагревают до 130°С. Хлор пропускают через систему ультрафиолетовой активации. Эта система представляет собой реактор, имеющий форму трубы круглого сечения диаметром до 150 мм с толщиной стенок 4 мм. Труба выполнена из фторопласта и заключена в цилиндрический отражательный кожух с полированной металлической отражательной поверхностью. Внутри кожуха расположены кварцевые ртутные лампы высокого давления.

[22]

В камере гидродинамического смешения уксусный ангидрид в токе хлора образует аэрозольную смесь с размером частиц 5-10 мкм, достигается режим «идеального смешения» и «идеального вытеснения». По ходу движения смеси в камере происходит реакция фотохимического хлорирования уксусного ангидрида с образованием смеси монохлоруксусной кислоты и хлористого ацетила.

[23]

Несмотря на высокую коррозионную стойкость фторопласта, изготовление реактора из него также не лишено недостатков.

[24]

Изготовление реактора из фторопласта со встроенным змеевиком в качестве теплообменного устройства из того же материала может послужить причиной аварии. Во фторопласте, особенно в толстостенных изделиях, возникают напряжения вследствие разной скорости охлаждения внутренних и наружных слоев, приводящие к появлению внутренних трещин (https://chem21.info/page/103124112203).

[25]

В патенте RU 2391331 С2 (С07С 51/363, С07С 53/16, 2010 г.) в способе получения монохлоруксусной кислоты процесс хлорирования уксусной кислоты молекулярным хлором проводят в каскаде барботажных реакторов с дробной (рассредоточенной) подачей хлора и катализатора по реакторам каскада. Реакторы представляют собой стальные эмалированные колонны, снабженные рубашками для отвода тепла химической реакции.

[26]

Эмалированные реакторы колонного типа также имеют недостатки. Нарушение целостности эмалевого покрытия приведет к быстрому разрушению реактора и необходимости его замены.

[27]

В CN 208532649 U (С07С 51/363, С07С 53/16, 2019 г.) предложено устройство для непрерывного производства хлоруксусной кислоты, которое состоит из реактора хлорирования колонного типа, конденсатора, устройства для сбора хлористого водорода, емкости для нагрева и емкости для полуфабриката.

[28]

Корпус реактора хлорирования имеет вход для сырья в верхней части и выход для газа в верхней части. Он также имеет вход для хлора, расположенный в нижней части, и диспергатор хлора, расположенный внутри реактора, соединенный с ним, и выход для продукта, расположенный в нижней части реактора.

[29]

Верхняя часть внутренней части реактора хлорирования снабжена многослойной ситовой пластиной и насадочным слоем, расположенным ниже ситовой пластины.

[30]

Однако насадочные слои вызывают большое гидравлическое сопротивление и уменьшают полезный объем реактора, что сказывается на производительности оборудования.

[31]

В CN 208667547 U (С07С 51/363, С07С 53/16, 2019 г.) предложено устройство для получения хлоруксусной кислоты каталитическим хлорированием с использованием микроканального реактора.

[32]

Устройство включает смеситель, последовательно соединенный с аппаратом предварительного катализатора, микроканальным реактором, газожидкостным сепаратором, башней легкого пропаривания и башней тяжелого пропаривания. Сепаратор последовательно соединен с резервуаром для промывки водой и резервуаром для хранения соляной кислоты. Башня тяжелого пропаривания соединена с резервуаром для тяжелых компонентов и резервуаром для хранения хлоруксусной кислоты. Башня легкого пропаривания соединена со смесителем.

[33]

Внутренняя стенка аппарата предварительного катализатора покрыта твердым кислотным катализатором SO42-/ZrO2-Eu2O3 толщиной 5-7 мм.

[34]

Внутренняя стенка микроканала микроканального реактора покрыта твердым кислотным катализатором SO42-/ZrO2-Eu2O3, толщина покрытия составляет 1-1,5 мм.

[35]

Для осуществления реакции хлорирования уксусная кислота смешивается с уксусным ангидридом в смесителе. Затем эта смесь смешивается с жидким хлором в трубопроводе перед аппаратом предварительного катализатора и поступает в аппарат предварительно катализатора, где выдерживается при температуре 75°С и нормальном давлении в течение 10 секунд. Реакция хлорирования с получением реакционного раствора хлоруксусной кислоты проводится в микроканальном реакторе при температуре 90°С и давлении 0,35 МПа в течение 20 секунд.

[36]

К недостаткам устройства можно отнести:

[37]

- в процессе реакции катализатор будет истираться и забивать микроканалы, что приведет к уменьшению производительности реакционного устройства;

[38]

необходимость чистки микроканалов и сложность чистки микроканалов из-за малых размеров;

[39]

- использование катализатора, состоящего из сложной композиции с редкоземельным элементом Eu;

[40]

использование нестандартного оборудования, требующего специального изготовления;

[41]

- сложность изготовления микроканального реактора;

[42]

- сложность нанесения твердого катализатора на внутреннюю стенку микроканала толщиной 1-1,5 мм.

[43]

В CN 209052602 U (C07C 51/083, C07C 53/16, 2019 г.) предложено устройство для непрерывного получения хлоруксусной кислоты взаимодействием хлорированной жидкости с газообразным хлором.

[44]

Устройство включает основной реактор, предварительный реактор, сепаратор, циркуляционный насос, конденсатор первой ступени, конденсатор второй ступени, систему ректификации.

[45]

Основной реактор представляет собой трубчатый микроканальный реакционный теплообменник, имеющий множество продольных проходов трубы основного реактора и множество поперечных проходов оболочки основного реактора. Дно основного реактора снабжено камерой смешения газа и жидкости.

[46]

Предреактор представляет собой трубчатый микроканальный реакционный теплообменник, который имеет множество продольных проходов трубы предреактора и множество поперечных проходов оболочки предреактора. Дно предреактора снабжено камерой смешения. Середина предреактора снабжена предреакторной рекуперационной камерой. Предреакторная рекуперационная камера снабжена окном подачи уксусного ангидрида. Верхняя часть предреактора снабжена предреакторной разгрузочной камерой. Сбоку предреакторной разгрузочной камеры предусмотрено окно подачи уксусной кислоты, а на верхней части предреактора расположено окно выгрузки.

[47]

Трубная сторона основного реактора и оболочечная сторона предреактора заполнены микроканальными керамическими наполнителями с диаметром 10-110 мм для основного реактора и 8-120 мм для предреактора. Основной реактор и предреактор снабжены глиноземной сотовой керамической насадкой.

[48]

Основной корпус основного реактора и предварительный реактор выполнены из одного или нескольких титановых сплавов, пропитанных графитом, углеродистой сталью и карбидом кремния. Корпус основного реактора и предварительного реактора выполнен из углеродистой стали.

[49]

Недостатками указанного устройства являются:

[50]

- сложность конструкции и изготовления оборудования;

[51]

многостадийность вызывает трудность стабилизации температурного режима, так как реакция хлорирования уксусной кислоты высокоэкзотермична, что приводит к образованию побочных продуктов.

[52]

В CN 1282637 С (С07С 53/16, С07С 51/363, 2006 г.) предложен способ получения хлоруксусной кислоты фотохлорированием, используя уксусную кислоту и газообразный хлор в качестве сырья. Ключевым оборудованием для способа является реактор фотохлорирования и реакция фотохлорирования уксусной кислоты осуществляется в таком реакторе при температуре реакции 80-120°С.

[53]

Реактор фотохлорирования может быть барботажной колонной из стекла, или эмали со смотровым стеклом, или барботажной колонной, облицованной политетрафторэтиленом.

[54]

Источником света может быть дневной или синий свет. Трубка дневного света или синего света помещается на периферию барботажной колонны или облучает реакционную массу через смотровое стекло эмалированной или барботажной колонны.

[55]

В условиях фотоинициации хлоруксусная кислота, образующаяся при хлорировании уксусной кислоты, легко может быть дополнительно хлорирована в дихлоруксусную кислоту. Чтобы этого избежать один или несколько реакторов фотохлорирования соединяют с ректификационной колонной. Операция ректификации предусмотрена для извлечения целевой хлоруксусной кислоты.

[56]

Основным недостатком указанного устройства является то, что в аппарате колонного типа трудно эффективно организовать теплосъем, что скажется на образовании побочных продуктов: дихлоруксусной кислоты и трихлоруксусной кислоты.

[57]

Сущность полезной модели

[58]

Настоящая полезная модель направлена на решение технической задачи по расширению арсенала реакционного оборудования для хлорирования уксусной кислоты. При хлорировании уксусной кислоты необходимо одновременно решить сочетание трех проблем:

[59]

- использовать устойчивый к коррозии конструкционный материал в силу чрезвычайной агрессивности хлоруксусных кислот;

[60]

- создать максимальный контакт реагирующих веществ и увеличить время пребывания исходного сырья в зоне реакции;

[61]

- обеспечить эффективный теплосъем, так как реакция хлорирования уксусной кислоты экзотермична.

[62]

Поставленная задача с достижением вышеуказанного технического результата решена предлагаемым устройством для хлорирования уксусной кислоты. В качестве устройства для хлорирования (реактора хлорирования) заявляется известное устройство - пластинчатый графитовый теплообменник. Теплообменник может быть как одноходовым, так и двухходовым.

[63]

Новизна полезной модели заключается в том, что в качестве реактора хлорирования уксусной кислоты в условиях коррозионно-активных сред предложен пластинчатый графитовый теплообменник.

[64]

Пластинчатые графитовые теплообменники применяются в промышленности для нагрева и охлаждения, то есть только по их прямому назначению.

[65]

Пластинчатые графитовые теплообменники предназначены для переноса тепла между различными средам и представляют собой аппарат прямоугольной формы, состоящий из собранных в пакет тонких графитовых пластин со щелевыми каналами сложной формы. Пакет пластин укреплен на раме. Герметичность каналов, по которым движутся среды (реакционная масса и хладагент), обеспечивается фторопластовыми уплотнителями. Каналы для реакционной среды и хладагента следуют друг за другом чередуясь. Графитовые пластины обеспечивают турбулентность потоков, в связи с чем теплообменники такого типа обладают высокой эффективностью теплопередачи.

[66]

Графит способен выдерживать температуру стенок от минус 60°С до плюс 200°С. Процесс может быть обеспечен большим диапазоном выдерживаемого давления деталей из графита от минус 1 до плюс 16 бар.

[67]

Осуществление полезной модели

[68]

Хлорирование уксусной кислоты осуществляют в реакторе хлорирования - графитовом пластинчатом теплообменнике. Теплообменник имеет штуцер для подачи исходной реакционной смеси, штуцер для подачи хладагента для снятия тепла реакции, штуцер для вывода полученной реакционной смеси, штуцер для вывода хладагента. Исходная реакционная смесь нагретой уксусной кислоты с газообразным хлором, подвергнутым ультрафиолетовому облучению, подается в реактор, где происходит реакция хлорирования уксусной кислоты до монохлоруксусной кислоты (МХУК) с одновременным снятием тепла реакции путем подачи хладагента в соответствующее пространство теплообменника. Полученная газожидкостная реакционная смесь из реактора хлорирования направляется на дальнейшее разделение газового потока и жидкой фракции для выделения монохлоруксусной кислоты.

[69]

Данная полезная модель может быть использована также в случае каталитического хлорирования. Катализаторами могут быть уксусный ангидрид, хлористый ацетил, хлористый ацетилхлорид.

[70]

Преимуществами полезной модели являются:

[71]

графит, из которого изготовлен теплообменник, обладает непревзойденной коррозионной устойчивостью в агрессивных средах;

[72]

- особый рисунок каналов в графитовых пластинах сохраняет высокую турбулентность потока во всей реакционной зоне;

[73]

- высокий коэффициент теплопередачи;

[74]

- простота конструкции и использование стандартного оборудования, выпускаемого промышленностью;

[75]

- уменьшение площади, занимаемой устройством;

[76]

- безотказная работа и длительный срок службы устройства;

[77]

- небольшое время для ремонта устройства;

[78]

- компактность и простота ремонта устройства.

Как компенсировать расходы
на инновационную разработку
Похожие патенты