Полезная модель относится к сельскому хозяйству, а именно к животноводству, и предназначена для индивидуального содержания новорожденных телят. Для повышения эффективности выращивания и содержания новорожденных телят в клетке для индивидуального содержания новорожденных телят, состоящей из боковых, задней и передней стенок с дверцей, установленных на подставках, поддона, дна с ячейками, датчиков, передающих вес теленка на цифровое табло индикации, расположенное па передней стенке, согласно полезной модели дно снабжено нижним и верхним сетчатыми настилами с ячейками меньшего размера, чем ячейки нижнего сетчатого настила, при этом сетчатые настилы дна соединены между собой, весовые датчики установлены на дне клетки, поддон имеет ручки для его выдвижения и замки для фиксации, а подставки в нижней части снабжены поворотными опорами и имеют фиксаторы в виде ножного тормоза, причем верхняя часть подставок задней стенки имеет рукоятку для удобства транспортировки всей клетки.
Клетка для индивидуального содержания новорожденных телят, состоящая из боковых, задней и передней стенок с дверцей, установленных на подставках, поддона, дна с ячейками, датчиков, передающих вес теленка на цифровое табло индикации, расположенное на передней стенке, отличающаяся тем, что дно снабжено нижним сетчатым настилом и верхним сетчатым настилом с ячейками меньшего размера, чем ячейки нижнего сетчатого настила, при этом сетчатые настилы дна соединены между собой, весовые датчики установлены на дне клетки, поддон имеет ручки для его выдвижения и замки для фиксации, а подставки в нижней части снабжены поворотными опорами и имеют фиксаторы в виде ножного тормоза, причем верхняя часть подставок задней стенки имеет рукоятку для удобства транспортировки всей клетки.
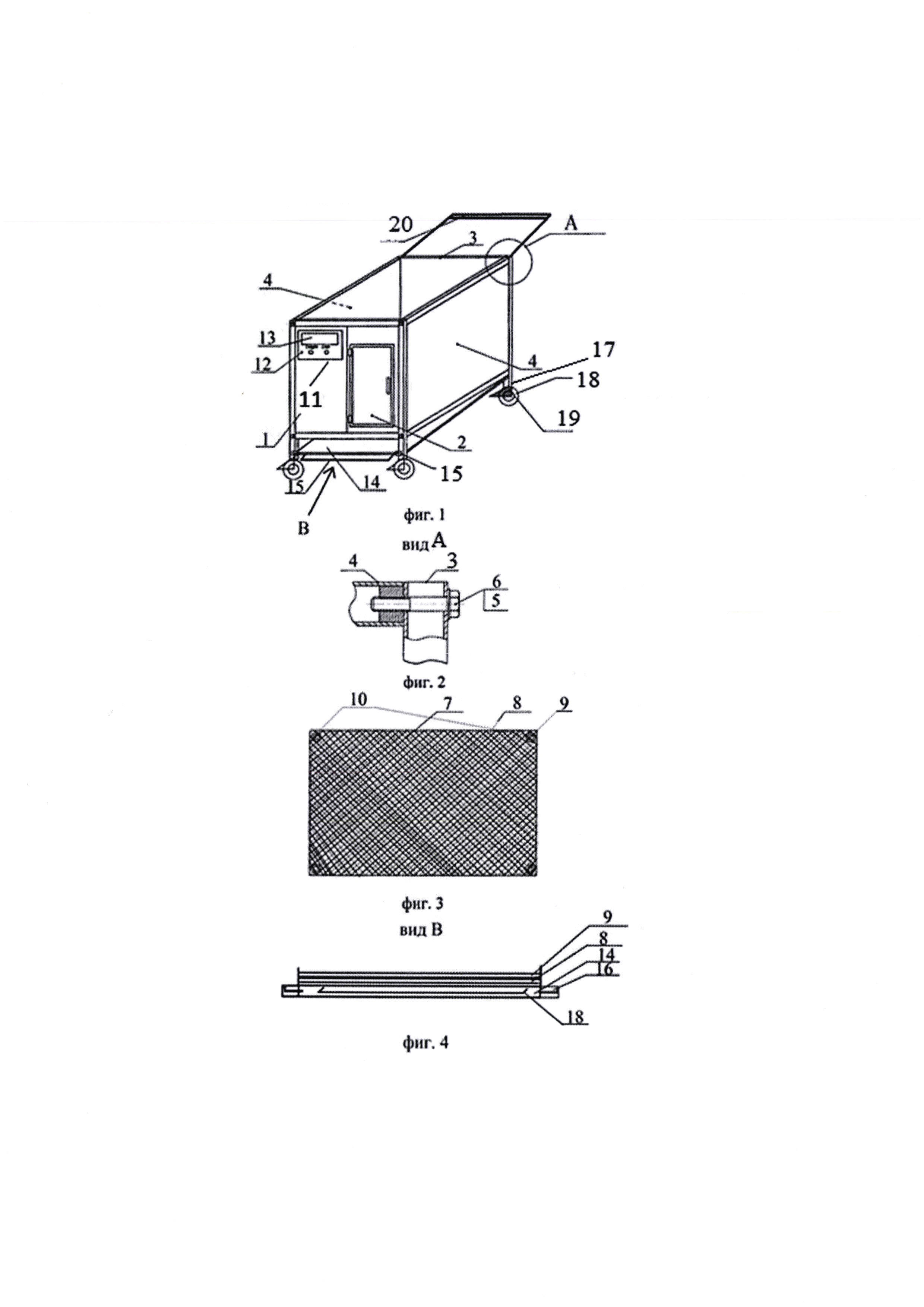
Полезная модель относится к сельскому хозяйству, а именно к животноводству, и предназначена для индивидуального содержания новорожденных телят. Известна конструкция клетки для телят (см. патент на полезную модель РФ №71210), содержащая переднюю, заднюю и боковые стенки, выполненные в виде решетки, входную дверь, держатели для съемных кормушек, установленные на передней стенке и пол. На передней, задней стенках и в средней части клетка оборудована планками, расположенными выше боковых стенок и соединенными сверху горизонтальными перекладинами, на которые устанавливается съемная крыша под углом 3-10° к горизонтали от передней стенки к задней, в боковом окне на передней стенке смонтированы крепления для установки подвесного держателя сосковой поилки. Недостатком данной конструкции является то, что клетка не имеет функции взвешивания новорожденного теленка, а служит только для его содержания. Известна конструкция клетки (см. http://skotnyidvor.ru/soderzhanie-telyat.html), содержащая переднюю стенку с дверцей, заднюю и боковые стенки, дно выполнено в виде поддона с уклоном для удобства уборки навоза. Известна также клетка для индивидуального содержания новорожденных телят (патент РФ №141848, кл. A01K 1/02, 2014 г. - прототип), состоящая из боковых, задней и передней стенок с дверцей, установленных на подставках, поддона, дна с ячейками, датчики, передающие вес теленка на цифровое табло индикации, расположенное на передней стенке. Недостатком прототипа является то, что теленок находится на подстилке, которая загрязняется его отходами жизнедеятельности, в результате увеличивается влажность, которую необходимо постоянно убирать, чтобы теленок не заболел, что требует дополнительных затрат ручного труда на обслуживание. Технический результат достигается тем, что в клетке для индивидуального содержания новорожденных телят, состоящей из боковых, задней и передней стенок с дверцей, установленных на подставках, поддона, дна с ячейками, датчиков, передающих вес теленка на цифровое табло индикации, расположенное на передней стенке, согласно полезной модели дно снабжено нижним сетчатым настилом и верхним сетчатым настилом с ячейками меньшего размера, чем ячейки нижнего сетчатого настила, при этом сетчатые настилы дна соединены между собой, весовые датчики установлены на дне клетки, поддон имеет ручки для его выдвижения и замки для фиксации, а подставки в нижней части снабжены поворотными опорами и имеют фиксаторы в виде ножного тормоза, причем верхняя часть подставок задней стенки имеет рукоятку для удобства транспортировки всей клетки. Новизна заключается в том, что за счет конструктивных особенностей обеспечивается снижение трудозатрат, повышение эффективности содержания телят, удобство в очищении навоза и транспортировке устройства. Сущность полезной модели поясняется чертежом, где на фиг. 1 представлена общий вид клетки для индивидуального содержания новорожденных телят; на фиг. 2 представлен вид А механизма крепления боковых стенок клетки к передней и задней стенкам; на фиг. 3 - сетчатый настил; на фиг. 4. представлен вид В торца нижней части клетки, где расположены: верхний 9 и нижний 8 сетчатые настилы, поддон 14, ручка 15, замки для фиксации 16 поддона. Клетка для индивидуального содержания новорожденных телят состоит из передней стенки 1 с дверцей 2 для помещения в клетку новорожденного теленка, задней 3 и боковых 4 стенок. Боковые стенки 4 присоединяются к задней 3 и передней 1 стенкам посредством болта 5 вкрученного в гайку 6, установленную посредством сварочного соединения в боковую стенку 4. Дно 7 снабжено нижним 8 и верхним 9 сетчатыми настилами. Настил 9 имеет ячейки меньшего размера, чем ячейки нижнего сетчатого настила 8, при этом сетчатые настилы дна соединены между собой. На дне клетки 7 установлены по периметру на весовые электрические датчики 10, которые передают сигнал в зависимости от веса теленка на пульт управления 11 установленный на передней 1 стенки клетки. Пульт управления 11 состоит из блока управления 12 и цифрового табло индикации 13 отображающее числовое значение массы теленка. Поддон 14 имеет ручки 15 для его выдвижения и замки для фиксации 16, а подставки 17 в нижней части снабжены поворотными опорами 18 и имеют фиксаторы в виде ножного тормоза 19, причем верхняя часть подставок задней стенки 3 имеет рукоятку 20 для удобства транспортировки всей клетки. Эксплуатация клетки для содержания новорожденных телят осуществляется следующим образом. Поддон 14 очищают путем выдвигания на себя настила по направляющим за ручку 15, затем возвращают в исходное положение. На дне клетки 7 устанавливаются по периметру на весовые электрические датчики 10, которые расположены под передней 1 и задней 3 стенках клетки. На поверхности настила 9 равномерно распределяют солому. Новорожденного теленка помещают в установку, выпаивают молоком. Моча теленка стекает через сетчатые настилы 8 и 9, а часть впитывается в солому. Весовые электрические датчики 10 передают сигнал в зависимости от веса теленка на пульт управления 11, и на цифровом табло индикации 13 отображается числовое значение массы теленка. При помощи поворотных опор 18, фиксатора в виде ножного тормоза 19 и рукоятки 20 установка легко перемещается и фиксируется. Таким образом, заявляемая клетка удобна в эксплуатации, т.к. ее можно устанавливать как в помещении, так и под открытым небом. Клетка легко передвигается, что позволяет делать качественную уборку, содержать телят в комфортных условиях и соблюдать санитарно-гигиенические нормы.