патент
№ RU 210391
МПК E02D7/00

СВАЕБОЙНАЯ МАШИНА

Авторы:
Зуев Вячеслав Алексеевич
Номер заявки
2021130078
Дата подачи заявки
15.10.2021
Опубликовано
14.04.2022
Страна
RU
Как управлять
интеллектуальной собственностью
Чертежи 
1
Реферат

[12]

Полезная модель относится к свайной технике, а более конкретно - к устройствам для забивания свай (свайным копрам), которая может быть применена для погружения железобетонных свай при гражданском и промышленном строительстве.

[13]

Сваебойная машина представляет собой самоходное гусеничное устройство, состоящее из самоходной платформы с раздвижными аутригерами, которые приводятся в движение гидравлическими мотор-редукторами посредством гусеничного движителя, сдвижной платформы, перемещающейся относительно самоходной платформы при помощи двух гидроцилиндров, мачты, состоящей из подъемной, опорной и направляющей секций, корзины с молотом, приводящимся в действие гидроцилиндром. Гидросистема устройства питается от аксиально-поршневого гидронасоса, приводящегося в действие дизельным ДВС. Подъемная секция мачты обеспечивает переход ее из горизонтального (транспортного) положения в вертикальное (рабочее) при помощи трех гидроцилиндров: двух гидроцилиндров подъема и выталкивающего гидроцилиндра, который действует на малых углах подъема мачты. Опорная секция сдвигается вниз гидроцилиндром и опирается пяткой в землю для увеличения стабильности. Направляющая секция, закрепленная на опорной секции, поднимается вверх гидроцилиндром для увеличения полезной длины забиваемой сваи, и посредством системы тросов, проходящих через блок, поднимает корзину, в которой располагается молот, приводящийся в движение гидроцилиндром. На корзине и на раме машины закреплены лебедки, приводящиеся в действие гидромоторами, с помощью которых осуществляется подъём сваи до возможности заведения ее в запирающее устройство для фиксации на месте забивки. Забивка осуществляется до момента проектного отказа, по наступлению которого со сваи снимается корзина, открывается запирающее устройство, и сваебойная машина переезжает на место монтажа следующей сваи.

[14]

Применение предлагаемой сваебойной машины позволит обеспечить установку свай сечением от 150 до 400 мм и длиной до 9 м, при условии ее малогабаритности за счет усовершенствованной конструкции механизма перевода машины из рабочего положения в транспортное, а также мобильности, так как габариты и масса машины не превышают норму транспортного габарита (не является крупногабаритным или тяжеловесным грузом, и не требует разборки) при транспортировке ее к строительной площадке.

Формула изобретения

Сваебойная машина, содержащая самоходную платформу с раздвижными аутригерами, гусеничное шасси, мачту и корзину с молотом, отличающаяся тем, что мачта устанавливается на сдвижную платформу, перемещающуюся относительно самоходной платформы при помощи двух гидроцилиндров, мачта состоит из трех секций: подъемной, опорной и направляющей, при этом, подъемная секция обеспечивает переход мачты из горизонтального положения в вертикальное при помощи трех гидроцилиндров: двух гидроцилиндров подъема мачты и выталкивающего гидроцилиндра, который действует на малых углах подъема мачты, опорная секция выполнена с возможностью опускания вниз при помощи гидроцилиндра, и содержит пятку, при помощи которой опирается в землю, а направляющая секция, закрепленная на опорной, выполнена с возможностью поднимания вверх при помощи гидроцилиндра, для увеличения полезной длины забиваемой сваи.

Описание

[1]

Полезная модель относится к свайной технике, а более конкретно - к устройствам для забивания свай (свайным копрам), которая может быть применена для погружения железобетонных свай при гражданском и промышленном строительстве.

[2]

Известен свайный копер [Авторское свидетельство СССР №207119], включающий базовую машину и смонтированную на ней посредством рычажно-шарнирного устройства направляющую мачту. Рычажно-шарнирное устройство, выполненное в виде шарнирного параллелограмма, обеспечивает укладку направляющей мачты из рабочего положения в транспортное, однако не позволяет обеспечить транспортный габарит, в результате чего необходимо производить его разборку.

[3]

Известен свайный копер [Авторское свидетельство СССР №800285], включающий базовую машину и мачту, соединенную с базовой машиной посредством шарнирно-рычажного устройства в виде жесткого треугольника. Данный копер также не обеспечивает транспортный габарит при переводе мачты копра из рабочего положения в транспортное без его разборки.

[4]

Наиболее близким техническим решением (прототипом) является сваебойная машина [Патент РФ №2633454], содержащая нижнюю платформу, выполненную в виде гусеничного шасси, верхнюю платформу, установленную на шасси с возможностью поворота, и мачту, установленную на верхней платформе с помощью кинематической шарнирно-рычажной системы с установочным цилиндром. Недостатком данной установки является малая мобильность и большая масса, не позволяющая производить работы в ограниченном пространстве, а также необходимость применения спецтехники для транспортировки.

[5]

Задача полезной модели заключается в создании малогабаритной и мобильной сваебойной машины для установки свай сечением от 150 до 400 мм и длиной до 9 м.

[6]

Технический результат достигается тем, что в сваебойной машине, содержащей самоходную платформу с раздвижными аутригерами, гусеничное шасси, мачту и корзину с молотом, в отличие от прототипа, мачта устанавливается на сдвижную платформу, перемещающуюся относительно самоходной платформы при помощи двух гидроцилиндров, мачта состоит из трех секций: подъемной, опорной и направляющей, при этом, подъемная секция обеспечивает переход мачты из горизонтального положения в вертикальное при помощи трех гидроцилиндров: двух гидроцилиндров подъема мачты и выталкивающего гидроцилиндра, который действует на малых углах подъема мачты, опорная секция выполнена с возможностью опускания вниз при помощи гидроцилиндра, и содержит пятку, при помощи которой опирается в землю, а направляющая секция, закрепленная на опорной, выполнена с возможностью поднимания вверх, при помощи гидроцилиндра, для увеличения полезной длины забиваемой сваи.

[7]

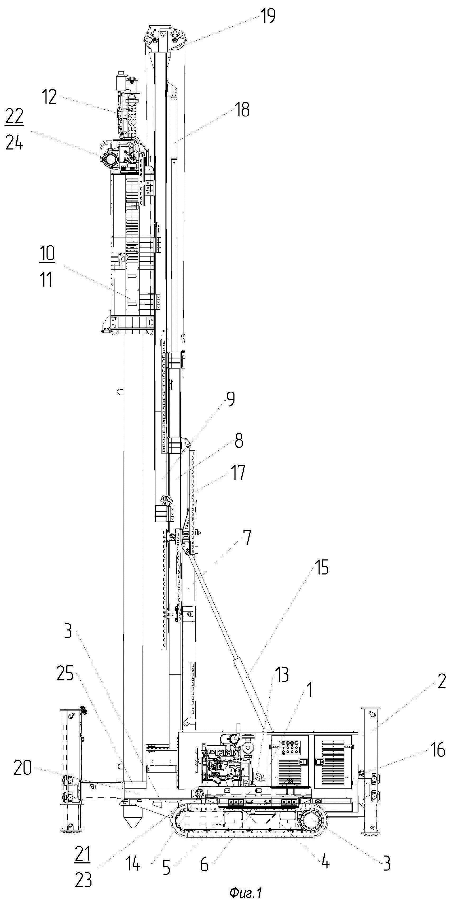
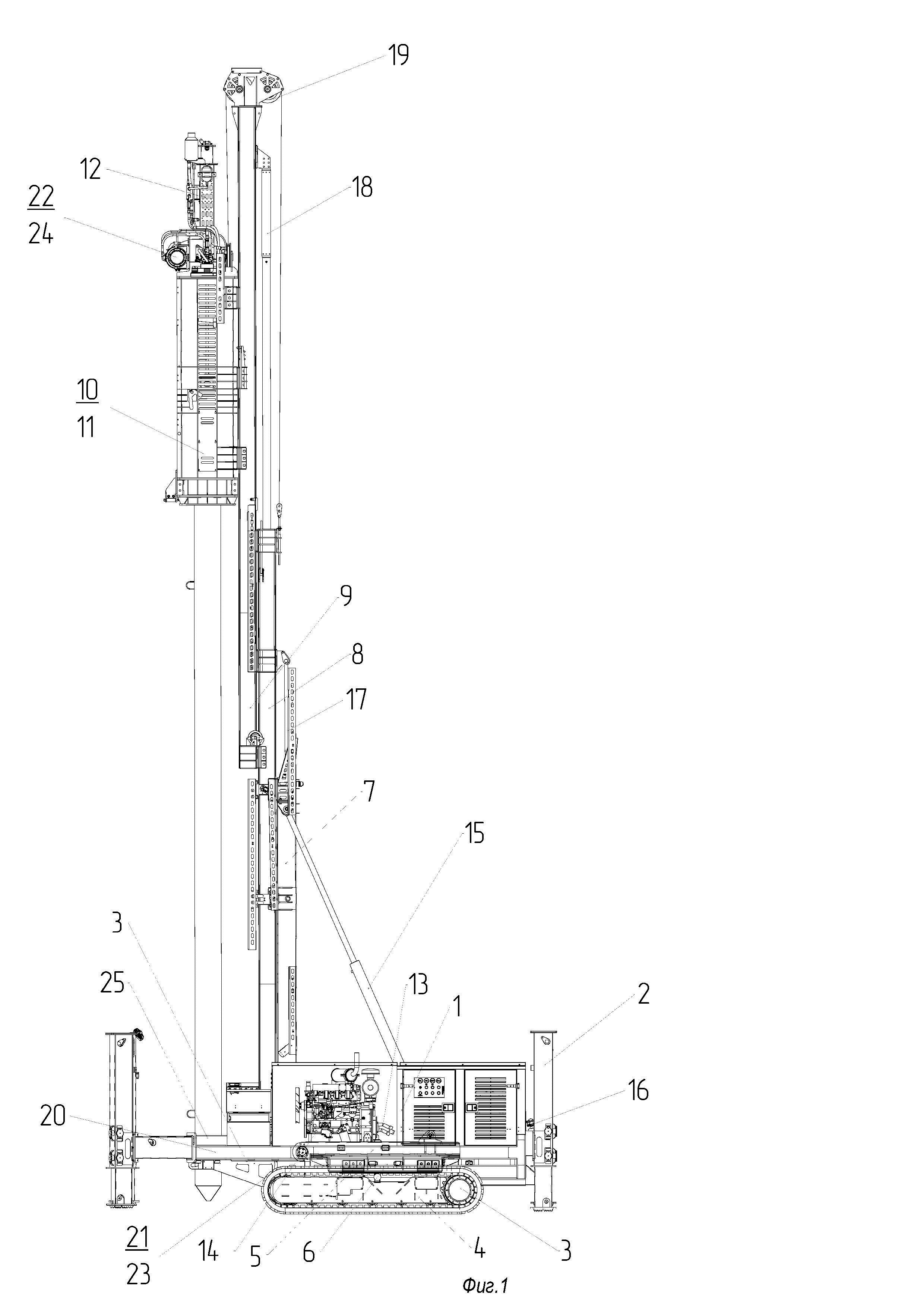
Полезная модель иллюстрируется чертежом (фиг. 1), на котором показана сваебойная машина в рабочем положении, вид сбоку.

[8]

Сваебойная машина представляет собой самоходное гусеничное устройство, состоящее из самоходной платформы (1) с раздвижными аутригерами (2), которая приводится в движение гидравлическими мотор-редукторами (3) посредством гусеничного движителя (4), сдвижной платформы (5), перемещающейся относительно самоходной платформы при помощи двух гидроцилиндров (6), мачты, состоящей из подъемной (7), опорной (8) и направляющей (9) секций, корзины (10) с молотом (11), приводящимся в действие гидроцилиндром (12). Гидросистема устройства питается от аксиально-поршневого гидронасоса (13), приводящегося в действие дизельным ДВС (14).

[9]

Подъемная секция (7) мачты обеспечивает переход ее из горизонтального (транспортного) положения в вертикальное (рабочее) при помощи трех гидроцилиндров: двух гидроцилиндров подъема (15) и выталкивающего гидроцилиндра (16), который действует на малых углах подъема мачты. Опорная секция (8) сдвигается вниз гидроцилиндром (17) и опирается пяткой в землю для увеличения стабильности. Направляющая секция (9), закрепленная на опорной секции (8), поднимается вверх гидроцилиндром (18) для увеличения полезной длины забиваемой сваи, и посредством системы тросов, проходящих через блок (19), поднимает корзину (10), в которой располагается молот (11), приводящийся в движение гидроцилиндром (12).

[10]

На корзине (10) и на раме машины (20) закреплены лебедки (21, 22), приводящиеся в действие гидромоторами (23, 24), с помощью которых осуществляется подъем сваи до возможности заведения ее в запирающее устройство (25) для фиксации на месте забивки. Забивка осуществляется до момента проектного отказа, по наступлению которого со сваи снимается корзина (10), открывается запирающее устройство (25) и сваебойная машина переезжает на место монтажа следующей сваи.

[11]

Применение предлагаемой сваебойной машины позволит обеспечить установку свай сечением от 150 до 400 мм и длиной до 9 м, при условии ее малогабаритности за счет усовершенствованной конструкции механизма перевода машины из рабочего положения в транспортное, а также мобильности, так как габариты и масса машины не превышают норму транспортного габарита (не является крупногабаритным или тяжеловесным грузом, и не требует разборки) при транспортировке ее к строительной площадке.

Как компенсировать расходы
на инновационную разработку
Похожие патенты