патент
№ RU 21012
МПК A47C29/00

ЕМКОСТЬ СО СЪЕМНОЙ КРЫШКОЙ

Авторы:
Никулин А.Н.
Правообладатель:
Все (2)
Номер заявки
2000129466/20
Дата подачи заявки
01.12.2000
Опубликовано
20.12.2001
Страна
RU
Как управлять
интеллектуальной собственностью
Чертежи 
2
Реферат

1. Емкость со съемной крышкой, включающая взаимосвязанные между собой и смонтированные на корпусе диаметрально противоположно от горловины откидные ручки и съемную крышку, отличающаяся тем, что корпус выполнен с расположенными в нижней и верхней частях наружными кольцевыми выпрессовками, диаметрально расположенными на верхней части корпуса несущими ребрами с горизонтальными отверстиями и несущим стержнем для установки откидных ручек, и расположенной со стороны дна корпуса кольцевой впадиной, крышка выполнена с расположенными снаружи - сверху и сбоку и изнутри ребрами жесткости и имеет одно- или многозаходную резьбу, откидные ручки выполнены с расположенными по наружному и внутреннему контурам ребрами жесткости, внутри горловины корпуса емкости на горизонтальных кромках горловины размещен вкладыш гашения жидкости, который выполнен в виде чашкообразной емкости с наклонными наружу боковыми стенками и горизонтально расположенным на кромках чашкообразной емкости опорным уплотнительным кольцом, а горловина корпуса емкости выполнена диаметром меньше, равной или больше половины диаметра корпуса емкости и имеет одно- или многозаходную резьбу.2. Емкость по п.1, отличающаяся тем, что кольцевые выпрессовки корпуса выполнены с трапецеидальным поперечным сечением.3. Емкость по п.1, отличающаяся тем, что кольцевые выпрессовки выполнены с криволинейным поперечным сечением.4. Емкость по п.1, отличающаяся тем, что кольцевые выпрессовки выполнены с полуцилиндрическим поперечным сечением.5. Емкость по п.1, отличающаяся тем, что кольцевые выпрессовки выполнены прерывистыми и смещенными друг относительно друга по высо�

Формула изобретения

1. Емкость со съемной крышкой, включающая взаимосвязанные между собой и смонтированные на корпусе диаметрально противоположно от горловины откидные ручки и съемную крышку, отличающаяся тем, что корпус выполнен с расположенными в нижней и верхней частях наружными кольцевыми выпрессовками, диаметрально расположенными на верхней части корпуса несущими ребрами с горизонтальными отверстиями и несущим стержнем для установки откидных ручек, и расположенной со стороны дна корпуса кольцевой впадиной, крышка выполнена с расположенными снаружи - сверху и сбоку и изнутри ребрами жесткости и имеет одно- или многозаходную резьбу, откидные ручки выполнены с расположенными по наружному и внутреннему контурам ребрами жесткости, внутри горловины корпуса емкости на горизонтальных кромках горловины размещен вкладыш гашения жидкости, который выполнен в виде чашкообразной емкости с наклонными наружу боковыми стенками и горизонтально расположенным на кромках чашкообразной емкости опорным уплотнительным кольцом, а горловина корпуса емкости выполнена диаметром меньше, равной или больше половины диаметра корпуса емкости и имеет одно- или многозаходную резьбу.

2. Емкость по п.1, отличающаяся тем, что кольцевые выпрессовки корпуса выполнены с трапецеидальным поперечным сечением.

3. Емкость по п.1, отличающаяся тем, что кольцевые выпрессовки выполнены с криволинейным поперечным сечением.

4. Емкость по п.1, отличающаяся тем, что кольцевые выпрессовки выполнены с полуцилиндрическим поперечным сечением.

5. Емкость по п.1, отличающаяся тем, что кольцевые выпрессовки выполнены прерывистыми и смещенными друг относительно друга по высоте корпуса.

6. Емкость по п.1, отличающаяся тем, что кольцевые выпрессовки выполнены многорядными по высоте корпуса.

7. Емкость по п.1, отличающаяся тем, что несущие ребра выполнены треугольными.

8. Емкость по п.1, отличающаяся тем, что несущие ребра выполнены прямоугольными.

9. Емкость по п.1, отличающаяся тем, что несущие ребра выполнены эллипсообразными.

10. Емкость по п.1, отличающаяся тем, что горизонтальные отверстия выполнены разновеликими.

11. Емкость по п.1, отличающаяся тем, что несущий стержень выполнен по длине с переменным поперечным сечением.

12. Емкость по п.1, отличающаяся тем, что несущий стержень выполнен из конструкционных полимеров.

13. Емкость по п.1, отличающаяся тем, что ребра жесткости откидных ручек расположены на наружных и внутренних кромках.

14. Емкость по п.1, отличающаяся тем, что ребра жесткости откидных ручек размещены между наружными и внутренними кромками.

15. Емкость по п.1, отличающаяся тем, что емкость выполнена из конструкционных полимеров.

16. Емкость по п.1, отличающаяся тем, что емкость выполнена из полиэтилена низкого давления.

17. Емкость по п.1, отличающаяся тем, что емкость выполнена из полиэтилена высокого давления.

18. Емкость по п.1, отличающаяся тем, что емкость выполнена из смеси полиэтилена низкого и высокого давления.

19. Емкость по п.1, отличающаяся тем, что емкость выполнена с добавками частиц полиэтилена повторного использования.

20. Емкость по п.1, отличающаяся тем, что ее корпус выполнен объемом от пяти до ста литров.

21. Емкость по п.1, отличающаяся тем, что ее корпус, крышка и вкладыш гашения выполнены с добавками суперконцентратора.

22. Емкость по п.1, отличающаяся тем, что емкость выполнена армированной.

23. Емкость по п.1, отличающаяся тем, что резьбы горловины и крышки выполнены с треугольным поперечным сечением.

24. Емкость по п.1, отличающаяся тем, что резьбы горловины и крышки выполнены с трапецеидальным поперечным сечением.

25. Емкость по п.1, отличающаяся тем, что резьбы горловины и крышки выполнены упорными.

26. Емкость по п.1, отличающаяся тем, что ребра жесткости крышки выполнены с разновеликим поперечным сечением.

27. Емкость по п.1, отличающаяся тем, что ребра жесткости ручек выполнены с разновеликим поперечным сечением.

28. Емкость по п.1, отличающаяся тем, что откидные ручки выполнены с расположенными во внутренних их частях П-образными кронштейнами.

Описание

[1]

Нолезная модель относится к домашнему хозяйству и в частности к производству ёмкостей со съёмными крышками для хранения продуктов как жидких так и сыпучих.

[2]

Известна ёмкость со съёмной крышкой, включающая взаимосвязанные между собой и смонтированные на корпусе диаметрально противоположно от горловины откидные ручки и съёмную крышку /см.Политехнический словарь, М.,С.Э. 1989 г,с. 593, термин - цистерна/.

[3]

Известна также ёмкость со съёмной крышкой, включающая взаимосвязанные между собой и смонтированные на корпусе диаметрально противоположно от горловины откидные ручки и съёмную крышку /см.Нолитехнический словарь, М.,С.Э., 1989 г., с. 450, термин - резервуар/.

[4]

Недостатками известных ёмкостей является относительно узкие функциональные возможности и высокая материалоёмкость.

[5]

Цель полезной модели - расширение функциональных возможностей и снижение материалоёмкости.

[6]

Достигается это тем, что корпус выполнен с расположенными в нижней и верхней частях наружными кольцевыми выпрессовками, диметрально расположенными на верхней части корпуса несущими рёбрами с горизонтальными отверстиями и несущим стержнем для установки откидных ручек и расположенной со стороны дна корпуса кольцевой впадиной, крышка выполнена с расположенными снаружи - сверху и сбоку и изнутри рёбрами жёсткости и имеет одно- или многозаходную резьбу, откидные ручки выполнены с расположенными по наружному и внутреннему контурам рёбрами жёсткости, внутри горловины корпуса ёмкости на горизонтальных кромках горловины размещён вкладыш гашения жидкости, который выполнен в виде чашкообразной ёмкости с наклонными наружу боковыми стенками и горизонтально расположенным на кромках чашкообразной ёмкости опорным уплотнительным кольцом, а горловина корпуса ёмкости выполнена диаметром меньше, равной, или больше половины диаметра корпуса ёмкости и имеет одно- или многозаходную резьбу

[7]

Целесообразно, чтобы кольцевые выпрессовки корпуса были выполнены с трапецеидальным поперечным сечением.

[8]

Полезно, чтобы кольцевые выпрессовки были выполнены с криволинейным поперечным сечением.

[9]

Целесообразно, чтобы кольцевые выпрессовки были выполнены с полуцилиндрическим поперечным сечением.

[10]

Полезно, чтобы кольцевые выпрессовки были выполнены прерывистыми и смещёнными друг относительно друга по высоте корпуса.

[11]

Целесообразно, чтобы кольцевые выпрессовки были выполнены многорядными по высоте корпуса.

[12]

Полезно, чтобы несущие рёбра были выполнены тругольными.

[13]

Целесообразно, чтобы несущие рёбра были выполнены прямоугольными.

[14]

Полезно, чтобы несущие рёбра были выполнены эллипсообразными.

[15]

Полезно, чтобы горизонтальные отверстия были выполнены разновеликими.

[16]

Целесообразно, чтобы несущий стержень был выполнен по длине с переменным поперечным сечением.

[17]

Полезно, чтобы несущий стержень был выполнен из конструкционных полимеров.

[18]

Целесообразно, чтобы несущий стержень был выполнен из армированных полимеров.

[19]

Полезно, чтобы несущий стержень был выполнен из стеклопластиков.

[20]

Целесообразно, чтобы несущий стержень был выполнен из углепластиков.

[21]

Полезно, чтобы рёбра жёсткости откидных ручек были расположены на наружных и внутренних кромках.

[22]

Целесообразно, чтобы рёбра жёсткости откидных ручек были размещены между наружными и внутренними кромками.

[23]

Полезно, чтобы ёмкость была выполнена из конструкционных полимеров.

[24]

Целесообразно, чтобыёмкость была выполнена

[25]

армированной.

[26]

Полезно, чтобы корпус ёмкости был выполнен объёмом от пяти до ста литров.

[27]

Целесообразно, чтобы корпус, крыпжа, и вкладыш гашения емкости были выполнены с добавками суперконцентратора.

[28]

Полезно, чтобы ёмкость была выполнена армированной.

[29]

Целесообразно, чтобы резьбы горловины и крышки были выполнены с треугольным поперечным сечением.

[30]

Полезно, чтобы резьбы горловины и крышки ёмкости были выполнены с трапециидальным поперечным сечением.

[31]

Целесообразно, чтобы резьбы горловины и крышки емкости были выполнены унорными.

[32]

Полезно, чтобы рёбра жёсткости крышки были выполнены с разновеликим поперечным сечением.

[33]

Целесообразно, чтобы рёбра жёсткости ручек были выполнены с разновеликим поперечным сечением.

[34]

Полезно, чтобы откидные ручки были выполнены с расположенными во внутренних их частях П-образными кронштейнами.

[35]

Ёмкость со съёмной крышкой соответствует всем признакам используемых для характеристики изобретения, а именно признаку наличия конструктивного элемента, поскольку корпус выполнен с расположенными в нижней и верхней частях наружными кольцевыми выпрессовками,

[36]

признаку наличия связи между элементами, поскольку корпус выполнен с диметрально расположенными на верхней части корпуса несуш;ими рёбрами с горизонтальными отверстиями и несуш;им стержнем для установки откидных ручек

[37]

признаку взаимного расноложения элементов, поскольку корпус выполнен с расположенной со стороны дна корпуса кольцевой впадиной

[38]

признаку формы выполнения элемента, поскольку крышка выполнепа с расположенпыми снаружи - сверху и сбоку и изнутри рёбрами жёсткости,

[39]

признаку формы выполнения связн меяеду элементами,

[40]

поскольку откидные ручки выполнены с расположенными по наружному и внутреннему контурам рёбрами жёсткости,,

[41]

признаку материала, из которого выполнен элемент,

[42]

поскольку ёмкость выполнена из углепластиков.

[43]

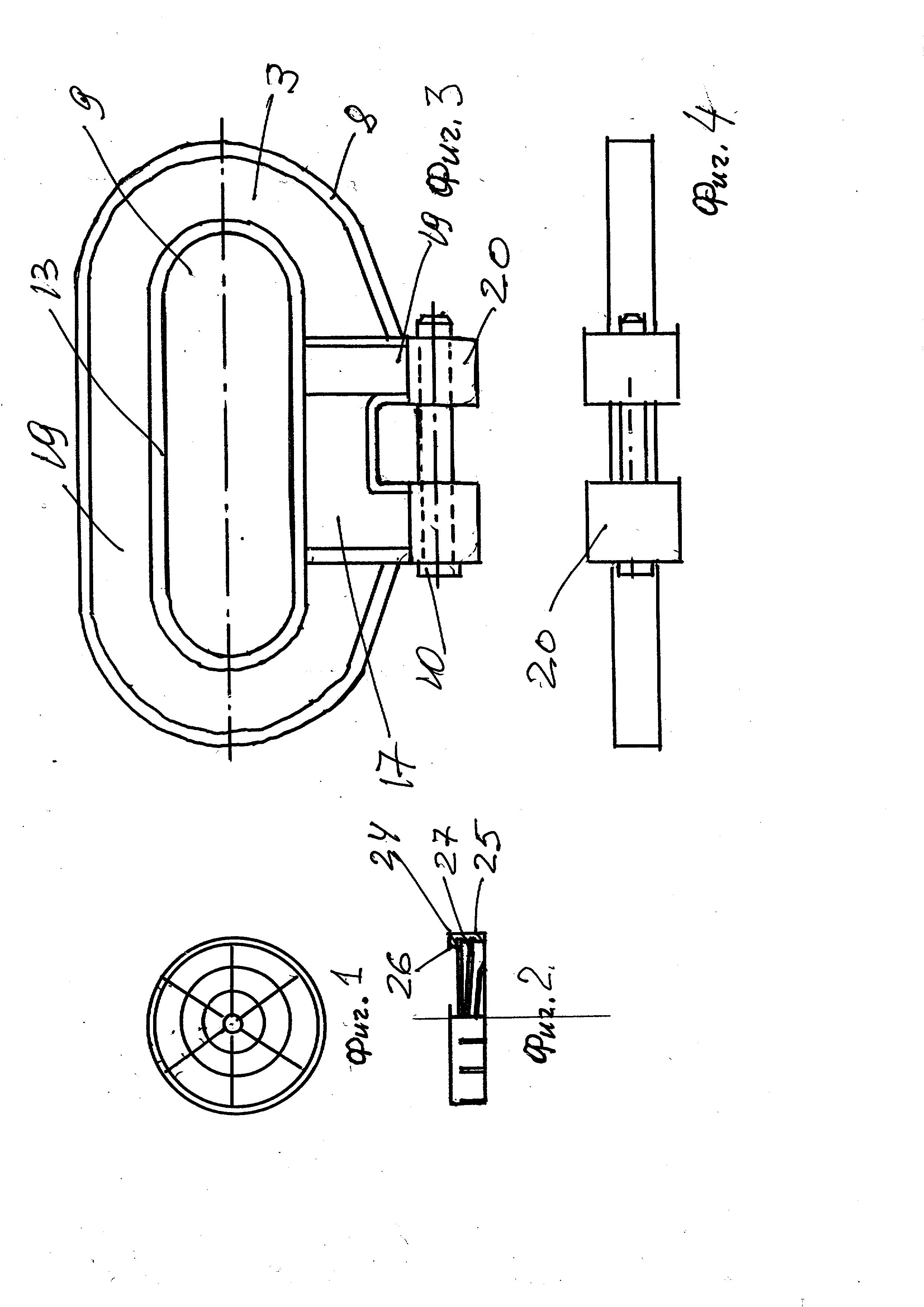
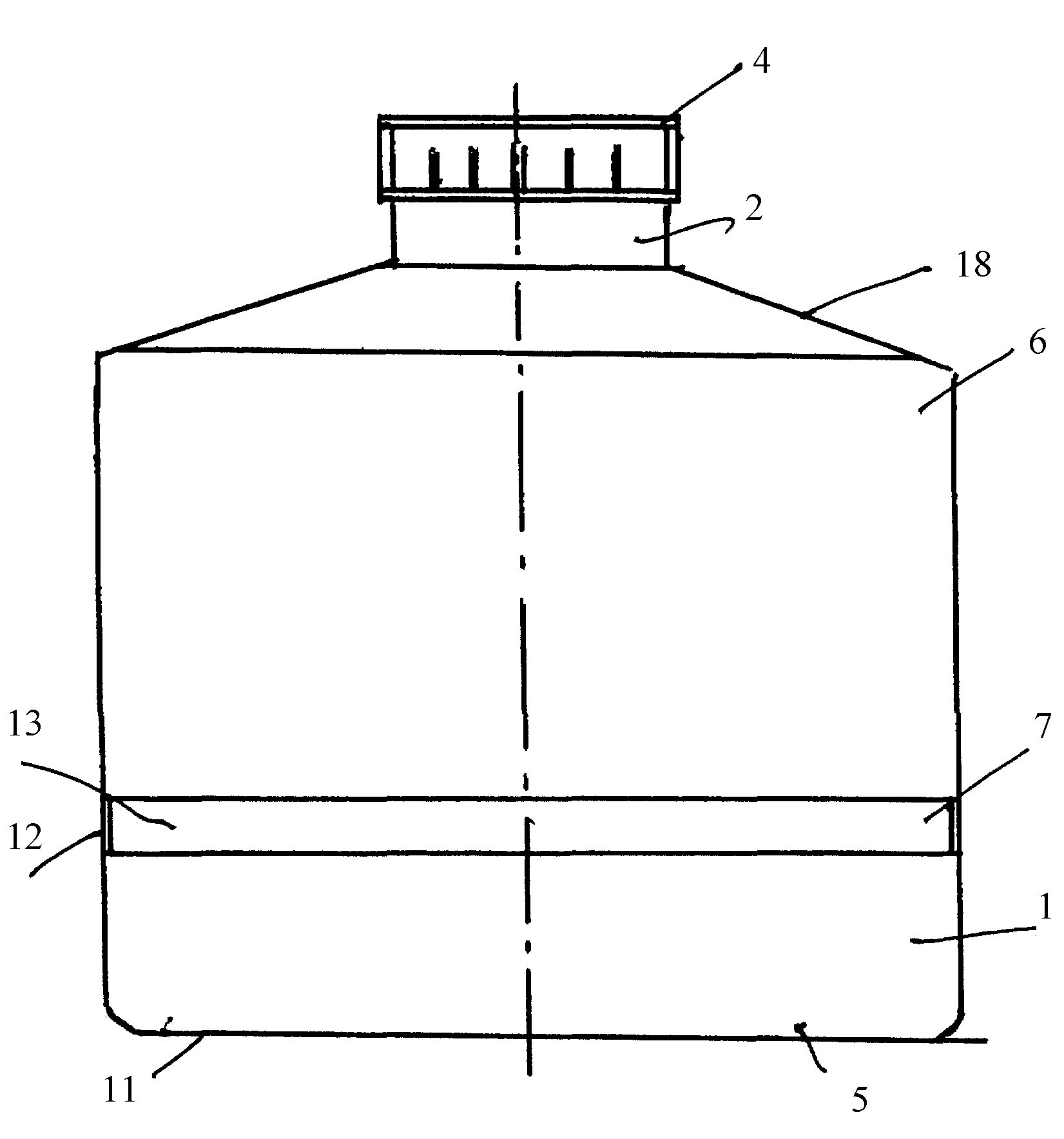
На фиг. 1 изображена схема откидной крышки, вид сверху. На фиг. 2 - то же, вид сбоку по горизонтальной оси. На фиг. 3 - схема откидной ручки, вид сверху, На фиг. 4 - то же, разрез по А-А на фиг.З, На фиг. 5 - схема корпуса ёмкости со съёмной крышкой, вид сбоку.

[44]

Ёмкость со съёмной крышкой включает взаимосвязанные между собой и смонтированные на корпусе 1 диаметрально противоположно от горловины 2 откидные ручки 3 и съёмную крышку 4, при этом корпус 1 выполнен с расположенными в нижней 5 и верхней 6 частях наружными кольцевыми выпрессовками 7, диметрально расположенными на верхней части 6 корпуса 1 несущими рёбрами 8 с горизонтальными отверстиями 9 и несущим стержнем 10 для установки откидных ручек 3 и расположенной со

[45]

стороны дна И корпуса 1 кольцевой внадиной 12, крышка 4 выполнена с расположеннымн снаружн - сверху, сбоку и изнутри рёбрами жёсткости 13 , а откидные ручки 3 выполнены с расположенными по наружному 14 и внутреннему 15 контурам рёбрами жёсткости 16, при этом кольцевые выпрессовки 7 корпуса 1 выполнены с трапецеидальным поперечным сечением 17, или выполнены с криволинейным поперечным сечением,или выполнены с полуцилиндрическим поперечным сечением, или выполнены прерывистыми и смещёнными друг относительно друга по высоте корпуса 1, или вьшолнены многорядными по высоте корпуса 1, причём несущие рёбра 8 выполнены тругольными, или выполнены прямоугольными, или эллипсообразными, горизонтальные отверстия 9 выполнены разновеликими, несущий стержень 10 выполнен по длине с переменным поперечным сечением, или выполнен из конструкционных полимеров, или выполнен из армированных полимеров, или из стеклопластиков, или выполнен из углепластиков, при этом рёбра жёсткости 16 откидных ручек 3 расположены на наружных 14 и внутренних 15 кромках, или размещены между наружными 14 и внутренними 15 кромками, а ёмкость 18 выполнена из конструкционных полимеров, или из полиэтилена низкого давления, или выполнена из полиэтилена высокого давления,или из смеси полиэтилена низкого и высокого

[46]

давления, или с добавками частиц полиэтилена повторного использования, или выполнена армированной, или выполнена из стеклопластиков, или из углепластиков, рёбра жесткости 13 съёмной крышки 4 выполнены с разновеликим поперечным сечением, или выполнены с разновеликим поперечным сечением, откидные ручки 3 выполнены с расположенными во внутренних 19 их частях П-образными кронштейнами 20, а верхняя часть ёмкости 18 выполнена наклонной под углом 25-30 градусов, при этом внутри горловины 21 корпуса 1 ёмкости на горизонтальных кромках 22 горловины 21 размещён вкладыш 23 гашения жидкости, который выполнен в виде чашкообразной ёмкости 24 с наклонными наружу боковыми стенками 25 и горизонтально расположенным на кромках 22 чашкообразной ёмкости 24 опорным уплотнительным кольцом 26, а горловина 2 корпуса 1 ёмкости выполнена диаметром меньше, равной, или больше половины диаметра корпуса 1 ёмкости и имеет одно- или многозаходную резьбу 27.

[47]

Сборку , загрузку и разгрузку ёмкости осуп1;ествляют следующим образом.

[48]

Вначале ёмкость 18 устанавливают на дно 11с кольцевой впадиной 12, затем производят монтаж откидных ручек 3 на несущие рёбра 8 с помощью П-образных кронштейнов 20,

[49]

горизонтальных отверстий 9 и несущего стержня 10, т.е. вначале на несущие рёбра 8 заводят откидные ручки 3 а в горизонтальные отверстия 9 вводят несущий стержень 10, нри этом каждая откидная ручка 3 получает шарнирное закрепление, после чего выполняют загрузку ёмкости 18, с помощью опорного уплотнительного кольца 26 устанавливают вкладыш 23, а затем на горловину 2 одевают съёмную крышку 4 и с помощью рёбер жёсткости 13 расположенных сбоку крышки 4 осуществляют её завинчивание, при разгрузке ёмкости 18 вначале отвинчивают с помощью рёбер жёсткости 13 съёмную крышку 3 и через увеличенную по диаметру горловину 2 выполняют разгрузку и цикл повторяют.

[50]

Как компенсировать расходы
на инновационную разработку
Похожие патенты