патент
№ RU 2098908
МПК H02K1/32

ВЕНТИЛЬНЫЙ ЭЛЕКТРОДВИГАТЕЛЬ

Авторы:
Лисейкин В.П.
Номер заявки
95103336/07
Дата подачи заявки
07.03.1995
Опубликовано
10.12.1997
Страна
RU
Как управлять
интеллектуальной собственностью
Чертежи 
11
Реферат

[28]

Область использования: высокоскоростной вентильный электропривод. Сущность изобретения: двигатель содержит дисковый ротор с постоянными магнитами трапецеидальной формы, замкнутыми магнитопроводом, в корпусе двигателя коаксиально ротору установлен статор, состоящий из статорных катушек трапецеидального вида с радиально расположенными активными участками проводников, датчики положения ротора, расположенные со стороны магнитопровода, для обеспечения трапецеидальной формы зависимости момента на валу двигателя от ушла поворота ротора подобраны форма и геометрические соотношения размеров постоянных магнитов и статорных катушек. Магниты трапецеидальной формы имеют на одном или обоих основаниях вогнутый участок, средняя линия трапеции перпендикулярна радиусу диска и составляет 0,7oC0,9 длины полюсного деления, ширина активных участков проводников составляет 0,2oC0,4 длины полюсного деления, а угол, образованный радиусами, проходящими через серединку активных пучков проводников каждой из катушек, равен 360/n, где n - количество магнитов, ротор выполнен трехдисковым, а статор состоит из двух статорных обмоток, каждая из которых расположена между наружным и внутренним дисками, в наружных дисках ротора, в верхней и нижней частях корпуса двигателя и на его боковой поверхности имеются вентиляционные отверстия. Технический результат: повышение КПД двигателя, удельной мощности, облегчение теплового режима, повышение надежности и упрощении конструкции двигателя. 12 ил.

Формула изобретения

1. Вентильный электродвигатель, содержащий расположенный в корпусе с возможностью вращения дисковый ротор с постоянными магнитами трапецеидальной формы, замкнутыми магнитопроводом, установленный в корпусе электродвигателя коаксиально относительно ротора статор, состоящий из расположенных в магнитном поле постоянных магнитов трапецеидального вида статорных катушек с радиальным расположением активных участков проводников, датчик положения ротора, расположенный напротив постоянных магнитов со стороны магнитопровода, отличающийся тем, что ширина активных участков проводников статорных катушек равна 0,2 0,4 длины полюсного деления, а угол, образованный радиусами, проходящими через середину активных участков проводников каждой из катушек, равен 360o/n, где n количество магнитов, при этом одно или оба основания каждого из постоянных магнитов трапецеидальной формы имеют вогнутый участок, а средняя линия трапеции перпендикулярна радиусу диска и составляет 0, 7 0,9 длины полюсного деления, ротор состоит из трех параллельных дисков, а статор из двух статорных обмоток, каждая из которых расположена между наружным и внутренним дисками, причем наружные диски ротора, верхняя и нижняя части корпуса электродвигателя снабжены входными отверстиями, расположенными друг против друга, при этом входные отверстия на дисках находятся между осью ротора и постоянными магнитами, а боковая поверхность корпуса снабжена выходными отверстиями, расположенными напротив воздушных зазоров, образуемых дисками ротора и статорными обмотками.

2. Электродвигатель по п. 1, отличающийся тем, что входные отверстия в наружных дисках наклонены в направлении вращения и от центра диска к периферии.

3. Электродвигатель по п. 1, отличающийся тем, что выходные отверстия на боковой поверхности наклонены в сторону вращения двигателя.

4. Электродвигатель по п. 1, отличающийся тем, что наружные диски снабжены лопатками, обращенными в сторону внутреннего диска и расположенными между осью ротора и постоянными магнитами, при этом лопатки наклонены так, что ни одна из сторон каждой из лопаток не проходит через центр диска.

5. Электродвигатель по п. 1, отличающийся тем, что по крайней мере один из магнитопроводов имеет расположенные по окружности в зоне постоянных магнитов окна, напротив которых находятся датчики положения ротора, при этом расстояние между боковыми кромками окон определяется из соотношения
Z = (0,8 ÷ 1,2) • W • θ/180,
где W длина хорды дуги окружности, проходящей через центры двух соседних окон;
θ - угол коммутации.

Описание

[1]

Изобретение относится к электротехнике, а именно к бесконтактным электрическим машинам постоянного тока дискового типа, и может быть использовано преимущественно при создании высокоскоростных вентильных электродвигателей большой мощности, применяемых в качестве приводных электродвигателей кухонных комбайнов, пылесосов, тяговых двигателей электрического транспорта, а также в качестве электроприводов насосов, высокоскоростных центрифуг, гироскопов.

[2]

Вентильные двигатели являются весьма перспективным классом электрических машин, бурно развивающимся в настоящее время и приобретающим все больше распространение в различных областях техники. Эти двигатели имеют ряд существенных преимуществ по сравнению с коллекторными двигателями, а именно они более надежны в работе ввиду отсутствия у них щеточноколлекторного узла, являющегося самым ненадежным узлом в коллекторных двигателях; у них высокие электромеханические и энергетические показатели, удельная мощность и удельный момент, а, кроме того, вентильные двигатели позволяют в широких пределах регулировать скорость вращения ротора.

[3]

Область применения вентильных двигателей охватывает широкий круг приборов: от приборов бытовой техники с мощностью в единицы ватт до двигателей электромобилей с мощностью в десятки киловатт. Однако в ряде областей техники, где требуются высокоскоростные двигатели, применение вентильных двигателей ограничено тем, что с увеличением скорости вращения возрастают потери в стали статора, что в свою очередь приводит к уменьшению КПД электрической машины, увеличению ее нагрева и как следствие этого к снижению отбираемой мощности. Отказ от применения электротехнической стали в статоре вентильного двигателя является весьма привлекательным направлением, однако в этом случае затрудняется отвод тепла от обмоток статора, происходит его перегрев, возрастают потери в меди и возникает новая проблема отвод тепла от обмоток статора. Актуальной задачей, решаемой при конструировании вентильных двигателей, является также повышение надежности его работы, при этом одним из элементов, определяющих устойчивую работу двигателя, являются датчик положения ротора ДПР, его конструкция и расположение.

[4]

Попытки решить поставленные задачи в той или иной степени встречаются в ряде зарубежных и отечественных патентов [1][2][3] Изобретение позволяет решить поставленные задачи.

[5]

Известен вентильный электродвигатель дискового типа [1] с ротором в виде кольцевого, многополюсного постоянного магнита, намагниченного в аксиальном направлении. Постоянный магнит расположен на несущей пластине и магнитно замкнут кольцевым магнитопроводом. Статор, состоящий из плоских обмоток, имеющих между собой электрическое смещение на 90o, расположен соосно с постоянными магнитами ротора на несущем каркасе. Вращающееся поле обмотки статора, не имеющего железа, взаимодействует с полем полюсов постоянного магнита ротора, при этом датчики положения ротора, выполненные в виде преобразователей Холла и служащие для управления поочередным подключением катушек к цепи постоянного тока, расположены на том же несущем каркасе, что и обмотки статора.

[6]

Недостатком конструкции такого двигателя является плохой отвод тепла от катушек статора, т. к. в двигателе не организована система вентиляции. Это приводит к перегреву катушек, снижению КПД двигателя и не позволяет отбирать высокую мощность с вала двигателя, что особенно сказывается в диапазоне средних и больших мощностей (более 100 Вт). Кроме того, использование в качестве ротора одного кольцевого магнита не позволяет применять его в высокоскоростных двигателях, т.к. механическая прочность постоянных магнитов недостаточна для работы на высоких скоростях. К числу недостатков двигателя следует также отнести то обстоятельство, что датчик Холла расположен непосредственно на статоре, т.к. в этом случае магнитное поле катушек может оказывать влияние на датчик Холла, вызывая в нем нежелательные наводки. Это усложняет электрическую схему датчика и делает двигатель менее надежным.

[7]

Известна также конструкция вентильного двигателя [2] состоящего из многополюсного ротора, снабженного множеством биполярных магнитов с большой коэрцитивной силой, расположенных друг против друга. В плоскости, перпендикулярной оси ротора, на пластине из изоляционного материала, жестко соединенной с корпусом двигателя, располагаются плоские статорные катушки. Активные участки проводников статорных катушек направлены радиально. В одном из вариантов представлен двигатель, у которого ротор состоит из двух параллельных дисков, несущих круговой ряд биполярных магнитов. Между параллельными дисками ротора располагается плоская статорная обмотка. Использование В данном двигателе отдельных постоянных магнитов, укрепленных в диске, а не единого многополюсного магнитного кольца, как в двигателе [1] позволяет создать более высокоскоростной двигатель, однако проблема отвода тепла от обмоток статора не решена и в этом двигателе [2] Кроме того, и в том, и в другом двигателях соотношение между шириной магнита и шириной активного пучка катушки, расположенного по радиусу диска ротора, если судить по чертежам и описанию, выбраны не оптимально с точки зрения получения максимального КПД и максимальной удельной мощности.

[8]

Наиболее близким решением, выбранным в качестве прототипа, является бесщеточная электрическая машина постоянного тока дискового типа [3] содержащая коаксиально расположенные относительно друг друга статор и ротор, при этом на роторе расположены постоянные магниты, а на статоре обмотка якоря, активная поверхность которой обращена к активной поверхности полюсов постоянных магнитов, имеющих одинаковую полярность. Обмотка якоря выполнена в виде отдельных катушек, образующих группы катушек, расположенных в магнитном поле постоянных магнитов с угловым смещением друг относительно друга. Имеется переключающее устройство, предназначенное для поочередного подключения группы катушек обмотки якоря к цепи постоянного тока, а, кроме того, каждая катушка или каждый постоянный магнит выполнен с возможностью изменения силы магнитного взаимодействия между постоянным магнитом и током в катушке в окружном направлении. Один из вариантов двигателя, выбранного в качестве прототипа, содержит статор, выполненный с двумя активными поверхностями, напротив которых установлен свой роторный диск. Второй роторный диск представляет собой зеркальное отражение первого. На каждом диске расположены постоянные магниты. Полярность магнитов роторного диска, расположенного с одной стороны статора, противоположна полярности диска, расположенного с другой стороны статора. Такая конструкция двигателя повышает его удельные массогабаритные показатели, однако в ней нерационально использованы магниты и активные пучки проводников катушек статора, так как магнит во время движения перекрывает участок катушки, создающий момент, направленный против движения. Вопросы вентиляции также не решены в данной конструкции двигателя.

[9]

К числу недостатков прототипа следует также отнести то обстоятельство, что ДПР, хотя и вынесен из поля катушек статора, что сделало работу датчика более устойчивой, имеет в качестве модулятора магнитного потока самостоятельный магнит, а в качестве сигнальных элементов выступы, расположенные на отдельном диске. Это усложняет конструкцию двигателя и приводит к дополнительным потерям его мощности.

[10]

Задачей изобретения является повышение КПД двигателя, его удельной мощности, а также облегчение теплового режима двигателя и повышение его надежности при одновременном упрощении конструкции.

[11]

Поставленная задача достигается тем, что предлагается вентильный двигатель, который содержит расположенный в корпусе с возможностью вращения дисковый ротор с постоянными магнитами. Магниты имеют трапецеидальную форму и замыкаются магнипроводом. В корпусе электродвигателя коасиально относительно ротора установлен статор, который состоит из статорных катушек трапецеидального вида, расположенных в магнитном поле постоянных магнитов. Активные участки проводников статорных катушек расположены радиально. Двигатель содержит также датчик положения ротора, который расположен напротив постоянных магнитов со стороны магнитопровода. От прототипа предлагаемый двигатель отличается тем, что ширина активных участков проводников статорных катушек равна 0,2oC0,4 длины полюсного деления, а угол, образованный радиусом, проходящими через середину активных участков проводников каждой из катушек, равен 360/n, где n количество магнитов. Кроме того, одно или оба основания каждого из постоянных магнитов трапецеидальной формы имеют вогнутый участок, а средняя линия трапеции перпендикулярна радиусу диска и составляет 0,7-0,9 длины полюсного деления. Ротор электродвигателя состоит из трех параллельных дисков, а статор из двух статорных обмоток. Каждая статорная обмотка расположена между наружным и внутренним дисками, причем наружные диски ротора, верхняя и нижняя части корпуса электродвигателя снабжены отверстиями для входа холодного воздуха. Эти отверстия расположены друг против друга, причем входные отверстия на наружных дисках находятся между осью ротора и постоянными магнитами. На боковой поверхности корпуса имеются выходные отверстия, расположенные напротив воздушных зазоров, образуемых дисками ротора и статорными обмотками. Входные отверстия в наружных дисках в предпочтительном варианте могут быть выполнены наклонными в направлении вращения диска и от центра диска к периферии. Выходные отверстия на боковой поверхности корпуса двигателя также предпочтительно выполнять наклоненными в направлении вращения ротора. Для двигателей с невысокими скоростями вращения наружные диски ротора снабжаются лопатками, обращенными в сторону внутреннего диска и расположенными между осью ротора и магнитами. Лопатки наклонены таким образом, что ни одна из сторон каждой из лопаток не проходит через центр диска. По крайней мере на одном из магнитопроводов имеются окна, расположенные по окружности в зоне постоянных магнитов. Напротив окон находятся датчики положения ротора. Расстояние между боковыми кромками окон определяется из соотношения
Z (0,8oC1,2)•W•Q/180,
где W длина хорды дуги окружности, проходящей через центры двух соседних окон;
Q угол коммутации.

[12]

На фиг.1 представлен осевой разрез электродвигателя; на фиг.2 вид снизу верхней части корпуса двигателя с вентиляционными отверстиями и датчиками Холла; на фиг. 3 изображен наружный роторный диск с магнитами, вентиляционными отверстиями и лопатками; на фиг.4 статорное кольцо с катушками; на фиг. 5 кольцевой магнитопроводов с окнами; на фиг.6,7 участки статорного кольца с катушками и с изображением магнитов роторного диска для различных положений магнитов роторного диска относительно статора; на фиг.8,9 представлена схема расположения датчиков Холла относительно окон магнитопровода; на фиг.10 12 представлены графики и временные диаграммы для обоснования соотношений геометрических размеров катушек и магнитов, предлагаемых изобретением.

[13]

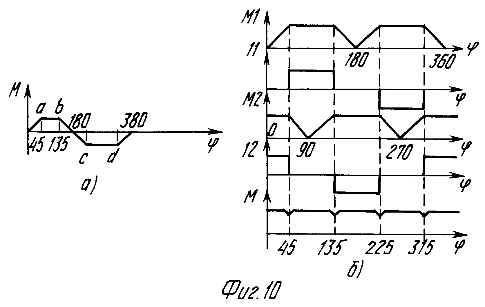
Сущность изобретения иллюстрируется графиками и временными диаграммами, представленными на фиг. 10 12, и заключается в следующем. Для повышения КПД двигателя выгодно иметь трапецеидальную форму зависимости момента (M) на валу двигателя от угла (Φ) поворота при постоянном токе, протекающем через обмотку фазы статора (см. фиг. 10а). Для двухфазного двигателя участки плоской вершины трапеции ab и cd выбирают не менее 90o, а ток в обмотке включается преимущественно на участке ab одной полярностью, а на участке cd другой полярностью. Высокий КПД достигается в этом случае благодаря тому, что электрический ток протекает только в течение того времени, когда сила взаимодействия обмоток статора и магнитов ротора максимальна. Обмотки второй фазы сдвинуты относительно обмоток первой фазы на 90o периода коммутации (половина полюсного деления) и процесс включения тока протекает со сдвигом на 90o аналогично первой фазы (фиг.10б). В связи с тем, что момент на валу ротора равен сумме моментов обеих фаз, а эти моменты в пределах включенного состояния практически постоянны, то и суммарные моменты практически постоянны. На фиг.10б M1 (v), I 1(v) момент и ток первой фазы; M2 (v), I 2 (v) момент и ток второй фазы; M (v) суммарный момент на валу двигателя. Требования к постоянству зависимости момента на участке ab и cd (фиг.10а) весьма важны, так как от их выполнения зависит величина КПД и равномерность вращения двигателя. Для получения трапецеидальной формы зависимости момента на валу от угла поворота ротора необходимо иметь определенные соотношения между шириной активных пучков проводников катушки и шириной магнита. Сила взаимодействия магнита с катушкой определяется следующим известным выражением [4]
F = BIlcosα (1)
где B вариант индукции в зоне взаимодействия катушки с магнитом;
I величина тока в катушке;
l длина проводников, находящихся в поле магнита;
α угол между магнитной индукции и направлением тока.

[14]

Поскольку в предлагаемом двигателе угол между направлением тока и вектором магнитной индукции равен 90o, а толщина катушки постоянна, то выражение (1) для силы взаимодействия магнитов с катушкой приобретает следующий вид:
F BIS,
где S площадь катушки, взаимодействующей с магнитом.

[15]

Для того, чтобы F была постоянной при неизменном токе I, необходимо иметь постоянную площадь S проводников катушки, находящихся в магнитном поле при повороте магнита на 90o периода коммутации, так как индукция в зазоре между магнитами предполагается постоянной. Следовательно, ширина магнита может быть либо больше, либо меньше активной части катушки. При выборе магнита, ширина которого меньше активной части катушки, КПД двигателя получается ниже, чем при выборе магнита, имеющего ширину, большую активной части катушки, так как при узком магните (фиг.11б) отношение площади активной зоны, определяющей силу взаимодействия, к общей площади катушки меньше, чем в случае широкого магнита (фиг.11а). Поэтому в предлагаемом двигателе используется магнит, ширина которого больше ширины активных пучков проводников катушки. Однако ширина магнита должна быть меньше величины полюсного деления на величину перемычки, от которой нельзя отказаться из соображений прочности диска ротора при высоких скоростях. Ширина этой перемычки может составлять 0,1oC0,3 полюсного деления, следовательно, ширина магнита составит 0,9oC0,7 ширины полюсного деления. Для получения участков ab, cd (фиг.10а) трапеции, равных 90o периода коммутации (половина полюсного деления), разница между шириной активных пучков катушки и шириной магнита должна составлять 0,5 полюсного деления, следовательно, ширина h (фиг.12а) активных пучков проводников катушки должна составлять 0,4-0,2 полюсного деления. Однако на практике в реальных конструкциях дисковых вентильных электродвигателей [1] и [2] получение такого участка с постоянной зависимостью затруднено, так как обычно используемые для этого магниты трапецеидальной формы (фиг.12а) и катушки, имеющие пучки проводников, параллельных радиусу, имеют недостаточно протяженные участки ab и cd (график зависимости M (v) фиг.12а) с постоянным моментом, что вызвано влиянием краевых эффектов магнитной системы и уменьшением ширины магнита от периферии к центру. Для увеличения протяженности этого участка обычно приходится сокращать ширину стороны катушки, однако это приводит к уменьшению мощности двигателя, а значит и к снижению КПД. Отличительной особенностью предлагаемого двигателя является увеличение протяженности участка с постоянным моментом путем выбора формы магнита. На одном или обоих основаниях трапецеидального магнита выполняется вогнутый участок (фиг. 12б), для которого на этой же фигуре приведена зависимость момента (M) на валу двигателя от угла (v) поворота ротора. Таким образом, путем подбора формы и герметических соотношений размеров постоянных магнитов и статорных катушек удается добиться желаемой протяженностью участка постоянства момента на валу двигателя без уменьшения ширины стороны катушки.

[16]

В большинстве случаев, когда в двигателе для управления датчиком Холла применяют силовые магниты, их протяженность выбирают такой, чтобы она соответствовала углу коммутации. В предлагаемом двигателе протяженность магнитов составляет 0,7oC0,9 полюсного деления, а угол коммутации выбран 90o (половина полюсного деления). Поэтому использовать силовые магниты напрямую для управления датчиком Холла не представляется возможным. Найдено следующее решение этой проблемы. В кольцевом магнитопроводе выполнены окна, расположенные над силовыми магнитами. Часть магнитного потока выходит через эти окна за пределы магнитопровода и заставляет срабатывать датчик Холла. Причем эта часть магнитного потока, выходящая из окон, незначительна по сравнению с общей индукцией магнита и не приводит к какому-либо существенному снижению мощности двигателя.

[17]

В общем случае расстояние между боковыми кромками окон в магнитопроводе определяется из формулы
Z (0,8oC1,2)•W•Q/180,
где W длина хорды дуги окружности, проходящей через центры двух соседних окон,
Q угол коммутации.

[18]

Это соотношение выбрано из следующих соображений: у разных двигателей в зависимости от мощности и оборотов меняются параметры катушек (размеры, индуктивность). Поэтому, когда рассчитывается расстояние между боковыми кромками окон, нужно учитывать время нарастания тока в катушках статора, которое зависит от индуктивности катушек статора. В этом случае угол коммутации Q может меняться в зависимости от параметров конкретного двигателя. Длина хорды W соответствует 180o периода коммутации, поэтому W/180 выражает 1o периода коммутации в линейных единицах, следовательно W•Q/180 будет соответствовать выбранному углу коммутации Q, выраженному в линейных единицах. Коэффициент (0,8oC1,2) выбран потому, что магниты, применяемые в двигателях, могут иметь разные свойства (индукция на поверхности, уменьшение индуктивности с увеличением расстояния от магнита) и значит будет меняться магнитный поток, выходящий из окон в магнитопроводе. Тогда расстояние между боковыми кромками окон корректируется в зависимости от конкретных параметров магнитов.

[19]

Для решения поставленной в изобретение задачи улучшения отвода тепла от катушек статора предлагается использование трехдискового двигателя, в котором охлаждаются обе стороны каждой из катушек статора. Движение воздуха в направлении от центра двигателя к периферии в основном осуществляется за счет сил молекулярного трения воздуха о диски. Для организации направленного забора холодного воздуха и выброса горячего воздуха в наружных дисках ротора имеются отверстия, расположенные между осью ротора и постоянными магнитами. Для облегчения движения воздуха эти отверстия наклонены в направлении вращения и от центра диска к периферии. Для выхода нагретого воздуха корпус двигателя снабжен отверстиями, расположенными на его боковой поверхности и напротив воздушных зазоров, образуемых дисками ротора и статорными обмотками. На верхней и нижней частях корпуса двигателя имеются отверстия для входа холодного воздуха, расположенные напротив отверстий в дисках ротора. Такая система вентиляции позволяет в 5 10 раз улучшить отвод тепла при средних скоростях вращения ротора в двигателе (от 3-х до 10-ти тысяч оборотов в 1 мин) и в 10 15 раз при высоких скоростях вращения, что позволяет в 2 3 раза увеличить мощность электродвигателя по сравнению с известными аналогами и прототипом.

[20]

Эффективность такой системы вентиляции при низких скоростях вращения падает ввиду того, что силы молекулярного трения воздуха о поверхность диска становятся недостаточными. Для уменьшения этого эффекта наружные диски снабжены лопатками, обращенными в сторону внутреннего диска. Расположены лопатки между осью ротора и магнитами. Для уменьшения сопротивления выходу нагретого воздуха из полости двигателя выходные отверстия на боковой поверхности корпуса наклонены в сторону вращения двигателя.

[21]

Предлагаемый вентильный электродвигатель содержит разъемный корпус, состоящий из трех частей верхней 1, средней 2 и нижней 3. Ротор электродвигателя, состоящий из трех дисков 4, 5 и 6, жестко закреплен на валу 7, установленном в подшипниках 8, закрепленных в верхней 1 и нижней 3 частях корпуса. Каждый из дисков 4, 5 и 6 содержит двенадцать постоянных магнитов 9 (фиг.2) с чередующейся полярностью, намагниченных в аксиальном направлении. Каждый наружный диск 4 и 6 снабжен кольцевым магнитопроводом 10 и 11, причем магнитопровод 10 имеет окна 12 (фиг.5). Двухфазный статор электродвигателя состоит из двух статорных колец 13, 14 с катушками 15, 16. Статорные кольца 13, 14 жестко укреплены в корпусе и установлены таким образом, что статорное кольцо 13 располагается между наружным диском 4 и внутренним диском 5, а статорное кольцо 14 располагается соответственно между наружным диском 6 и внутренним диском 5, образуя соответствующие воздушные зазоры. Катушки 15 одной фазы расположены на кольце 13, а катушки 16 второй фазы на кольце 14. Количество катушек на каждом из статорных колец 13, 14 в два раза меньше числа магнитов, содержащихся на одном диске. Катушки 15 и 16 смещены между собой в плоскости вращения ротора на угол, равный 360/2n, где n число постоянных магнитов (в рассматриваемом варианте используется двенадцать магнитов). Датчики положения ротора 17, 18 (фиг.4), в качестве которых использованы датчики Холла, расположены на верхней 1 части корпуса двигателя напротив окон 12 магнитопровода 10, причем каждый из датчиков 17, 18 через коммутатор (не показан) управляет своей фазой двигателя. Число окон 12 равняется числу постоянных магнитов 9, а расстояние между боковыми кромками окон определяется из математического выражения (1). На торцах верхней 1 и нижней 3 частей корпуса двигателя вблизи оси вращения расположены отверстия 19 для входа холодного воздуха в полость двигателя. Напротив отверстий 19 на наружных дисках 4 и 6 между валом 7 и магнитами 9 для дальнейшего движения холодного воздуха имеются наклоненные в направлении вращения двигателя отверстия 20, которые наклонены также от центра диска к его периферии. На боковых поверхностях верхней 1, средней 2 и нижней 3 частей корпуса расположены выходные отверстия 21 (фиг.4), наклоненные в направлении вращения двигателя. На наружных дисках 4 и 6 имеются лопатки 22 (фиг.2), обращенные в сторону диска 5, расположенные между валом 7 и магнитами 9.

[22]

Принцип действия электродвигателя можно пояснить при помощи фиг.6 9. Двигатель является двухфазным и работает следующим образом. Датчик положения 17 управляет работой первой фазы, располагается так, что он включает ток через катушки фазы, когда край магнита 9 по средней линии совпадает с краем активной части проводников катушки 15 (фиг.6), а край окна 12 магнитопровода 10 находится в этот момент напротив датчика 17 (фиг.8), что достигается выбором взаимного положения окна 12 относительно магнитов 9 и датчика положения 17 относительно катушек 15. Активные пучки проводников с током начинают взаимодействовать с постоянным полем магнитов 9 и появляется момент сил, направленный в сторону вращения ротора. Когда другой край того же магнита 9 совпадает с другим краем той же активной части проводников 15 (фиг.7), датчик положения 17 выключает ток через катушки 15. В это время напротив датчика положения 17 находится второй край того же окна 12 магнитопровода 10 (фиг. 9). Когда на место магнита 9 одной полярности (например N) приходит магнит 9 противоположной полярности (например S), датчик положения 17 включит через катушки 15 ток противоположной полярности. Таким образом сохраняется момент сил, направленный в ту же сторону. В это время напротив датчика положения 17 находится край окна 12, расположенного над магнитом 9 противоположной полярности. Все катушки 15 фазы соединены последовательно или последовательно-параллельно, или параллельно и работают одновременно, поэтому суммарный момент сил, создаваемый фазой, равен сумме моментов сил всех катушек 15.

[23]

Катушки 16 второй фазы смещены относительно катушек 15 первой фазы на 90 электрических градусов. Работой второй фазы управляет второй датчик положения 18, который смещен относительно первого датчика положения 17 на 90 электрических градусов. В остальном работа второй фазы совпадает с работой первой фазы.

[24]

Работа системы вентиляции происходит следующим образом.

[25]

На фиг. 1 стрелками показаны направления воздушных потоков, осуществляющих охлаждение узлов электродвигателя. Через входной отверстие 19 в верхней 1 и нижней 3 частях корпуса двигателя потоки холодного воздуха попадают в полость двигателя и далее через отверстия 20 наклоненные в сторону вращения наружных 4 и 6 дисков ротора попадают в область расположения статорных катушек 15,16, осуществляя отвод тепла с обеих сторон каждой из обмоток за счет молекулярного трения воздуха о поверхность дисков 4, 5, 6. При низких скоростях вращения, когда недостаточно силы молекулярного трения, воздушные потоки подхватываются лопатками 19. Нагретые потоки воздуха через выходные отверстия 21 уносят нагретый воздух за пределы корпуса двигателя.

[26]

Таким образом, в предлагаемом вентильном двигателе дискового типа путем подбора формы и геометрических соотношений размеров постоянных магнитов и статорных катушек обеспечена трапецеидальная форма зависимости момента на валу двигателя от угла поворота ротора каждой из фаз двигателя. Постоянство этой зависимости, полученное в предлагаемом двигателе в сочетании с оригинальной системой вентиляции, делает эффективным отбор тепла от обмоток статора и позволяет добиться высокого КПД (более 0,9) при скоростях вращения в десятки тысяч об/мин и получить показатели удельной мощности порядка 1 2 кВт/кг.

[27]

Одновременно с этим благодаря тому, что в качестве модулятора магнитного потока, воздействующего на датчик Холла, используются отверстия в кольцевом магнитопроводе, обеспечивается устойчивая работа этого важного узла, а следовательно, и надежность работы электродвигателя в целом при упрощении его конструкции.

Как компенсировать расходы
на инновационную разработку
Похожие патенты