патент
№ RU 2096539
МПК D01H1/00

КРУТИЛЬНАЯ МАШИНА "РЕУТОВСКАЯ" ДЛЯ ПОЛУЧЕНИЯ КОМБИНИРОВАННОЙ КРУЧЕНОЙ НИТИ

Авторы:
Кориковский П.К.
Номер заявки
95109657/12
Дата подачи заявки
08.06.1995
Опубликовано
20.11.1997
Страна
RU
Как управлять
интеллектуальной собственностью
Чертежи 
3
Реферат

[21]

Использование: текстильная промышленность, производство крученых нитей с помощью полых вращающихся веретен. Сущность изобретения: крутильная машина для скручивания комплексных химических нитей с пряжей содержит питающую рамку с паковками первого компонента в виде комплексной нити, которая через нитенаправитель с некоторым натяжением и по вертикали, совпадающей с осью веретена, поступает в канал полого веретена вместе с пряжей, паковка которой находится на веретене и вращается вместе с ним. Скрученная нить отводится выпускными валиками к механизму намотки. Машина имеет контрольные и исполнительные элементы, скомпанованные у вершины веретена и исключающие возможность пропуска на приемную паковку однониточных компонентов, путем принудительного отрыва одного из компонентов при обрыве другого. Контроль химической нити, поступающей с рамки в верхнее отверстие канала веретена, осуществляется легкими поворотами рычагов, опирающимся на нить перед входом ее в нитенаправитель над веретеном. 4 ил.

Формула изобретения

Крутильная машина для получения комбинированной крученой нити, содержащая установленные на рамке держатели паковок с первым компонентом в виде комплексной химической нити, расположенные под рамкой приводные полые веретена с размещенной на каждом из них паковкой с вторым компонентом в виде сматываемой с паковки при входе в осевой канал веретена пряжи и установленные под веретенами выпускные пары валиков для проводки через осевой канал каждого веретена обоих компонентов и подачи их после скручивания к узлу намотки на приемные паковки, отличающаяся тем, что она имеет приспособления для обрыва одного из компонентов на каждом веретене при обрыве на нем другого компонента, каждое из которых содержит смонтированный с возможностью поворота и отвода от веретена кронштейн, размещенный над веретеном на кронштейне Г-образный держатель, проволочный контрольно-отрывной элемент, установленный на Г-образном держателе посредством оси с возможностью поворота на ней и взаимодействия с первым компонентом для его контроля и с вторым компонентом для его обрыва, закрепленную на Г-образном держателе отрезную тонкую стальную пластину с V-образным вырезом или неподвижные ножницы с двумя скрещенными лезвиями для обрыва первого компонента при обрыве второго компонента и нитенаправитель для прохода первого компонента, выполненный с ушком диаметром, соответствующим диаметру входного отверстия осевого канала веретена, и закрепленный на Г-образном держателе со смещением оси ушка относительно оси веретена в противоположную отрезной пластине или ножницам сторону и на расстояние, соответствующее сумме радиусов ушка нитенаправителя и входного отверстия осевого канала веретена, при этом входное отверстие осевого канала веретена выполнено со спиральным выходом от центра отверстия к наружной окружности шпинделя веретена в направлении, противоположном направлению вращения веретена и направлению витков сматываемой с паковки на веретене пряжи.

Описание

[1]

Изобретение относится к текстильной промышленности и касается крутильной машины для получения комбинированной крученой нити.

[2]

Известна крутильная машина для получения комбинированной крученой нити, содержащая установленные на рамке держателя паковок с первым компонентом в виде комплексной химической нити, расположенные под рамкой приводные полые веретена с размещенной на каждом из них паковкой со вторым компонентом в виде сматываемой с паковки при входе в осевой канал веретена пряжи и установленные под веретенами выпускные пары валиков для проводки через осевой канал каждого веретена обоих компонентов и подачи их после скручивания к узлу намотки на приемные паковки.

[3]

Отсутствие на данной машине приспособления для обрыва любого из скручиваемых компонентов и предотвращения подачи на приемную паковку оставшегося компонента приводит к излишним потерям сырья, выпуску бракованной нити и дополнительным затратам труда на его устранение.

[4]

Задачей изобретения является создание крутильной машины для получения комбинированной крученой нити, обеспечивающей получение технического результата, состоящего в простоте обслуживания машины за счет надежного контроля процесса получения комбинированной крученой нити и предупреждения пропусков бракованной нити на приемную паковку.

[5]

Этот технический результат в прядильной машине для получения комбинированной крученой нити, содержащей установленные на рамке держатели паковок с первым компонентом в виде комплексной химической нити, расположенные под рамкой приводные полые веретена с размещенной на каждом из них паковкой со вторым компонентом в виде сматываемой с паковки при входе в осевой канал веретена пряжи и установленные под веретенами выпускные пары валиков для проводки через осевой канал каждого веретена обоих компонентов и подачи их после скручивания к узлу намотки на приемные паковки, достигается тем, что она имеет приспособления для обрыва одного из компонентов на каждом веретене при обрыве на нем другого компонента, каждое из которых содержит смонтированный с возможностью поворота и отвода от веретена кронштейн, размещенный над веретеном на кронштейне Г-образный держатель, проволочный контрольно-отрывной элемент, установленный на Г-образном держателе посредством оси с возможностью поворота на ней и взаимодействия с первым компонентом для его контроля и со вторым компонентом для его обрыва, закрепленную на Г-образном держателе отрезную тонкую стальную пластину с V-образным вырезом или неподвижные ножницы с двумя скрещенными лезвиями для обрыва первого компонента при обрыве второго компонента и нитенаправитель для прохода первого компонента, выполненный с ушком диаметром, соответствующим диаметру входного отверстия осевого канала веретена, и закрепленный на Г-образном держателе со смещением оси ушка относительно оси веретена в противоположную отрезной пластине или ножницам сторону и на расстояние, соответствующее сумме радиусов ушка нитенаправителя и входного отверстия осевого канала веретена, при этом входное отверстие осевого канала веретена выполнено со спиральным выходом от центра отверстия к наружной окружности шпинделя веретена в направлении, противоположном направлению вращения веретена и направлению витков сматываемой с паковки на веретене пряжи.

[6]

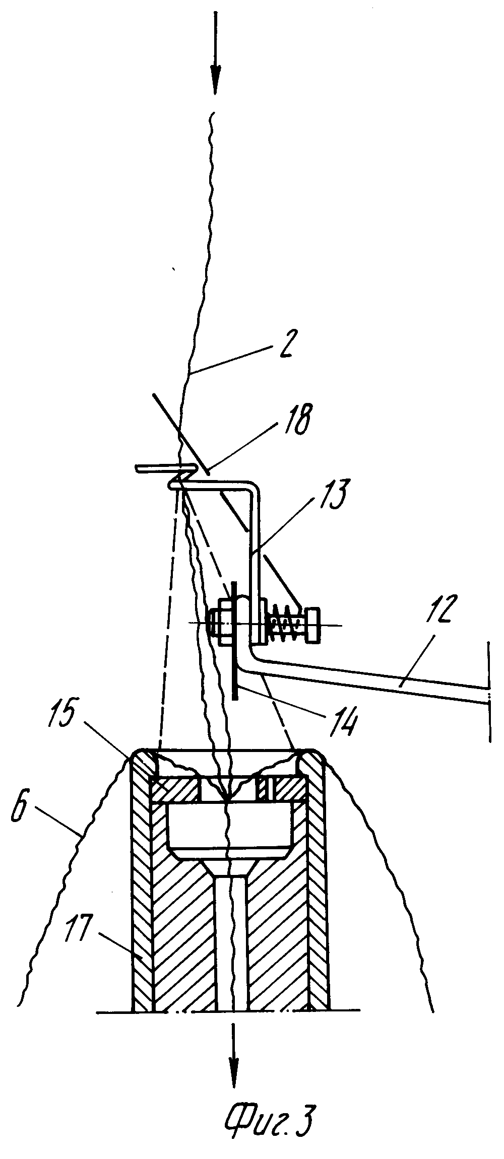
На фиг. 1 изображена общая схема крутильной машины, вид сбоку; на фиг. 2 вид спереди на комплекс контрольно-отрывных приспособлений, расположенных над верхним концом веретена; на фиг. 3 продольный разрез верхнего конца веретена; на фиг. 4 вид сверху на торец веретена.

[7]

Крутильная машина "Реутовская" содержит питающую рамку с держателями паковок 1 с первым компонентом 2 в виде комплексной химической нити, нитенаправители 3 и расположенные под ними по вертикали приводные полые веретена 4, несущие и вращающие паковки 5 со вторым компонентом 6 в виде пряжи, сматываемой с нее при входе в осевой канал веретена. Под каждым полым веретеном 4 размещена выпускная пара валиков 7 для проведения обоих скручиваемых компонентов через осевой канал веретена и вывода крученой нити 8 к механизму намотки 8 на приемную паковку 10.

[8]

Над каждым веретеном 4 размещен с возможностью поворота и отвода от веретена кронштейн 11 с Г-образным прутковым держателем 12, на котором закреплены средства обрыва одного из скручиваемых компонентов в случае обрыва другого.

[9]

На закругленной части держателя 12 закреплены нитенаправитель 13 со спиральным ушком для проводки нити 2 и средство ее разрезания в виде двух скрещенных лезвий, внутренний угол которых создает разрезную зону, или в виде тонкой стальной пластины 14 с V-образным вырезом, попадая в который нить 2 разрезается ее острыми кромками.

[10]

Для выведения при обрыве пряжи 6 нити 2 в зону ее разрезания входное отверстие в канал веретена 4 выполнено в виде шайбы 15, в которой от центрального отверстия, соответствующего каналу веретена выведена эллипсоидная щель 16 в направлении от центра к наружной окружности шпинделя веретена.

[11]

Шайба 15 прижата к верхнему торцу веретена 4 внутренним выступом втулки 17, жестко посаженной на шпиндель веретена.

[12]

Направление щели 16 противоположно направлено скольжения по ободу втулки 17 пряжи 6 при ее сматывании с паковки 5, поэтому пряжа проскальзывает мимо щели 16, увлекая за собой и нить 2.

[13]

Разрезная пластина 14 размещена по хорде над одной стороной шпинделя веретена, а спиральное ушко нитенаправителя 13 над его противоположной стороной, со смещением от оси веретена на сумму радиусов центрального отверстия шайбы 15 и ушка нитенаправителя 13. Таким образом, нить 2 с рамки 1 поступает в центральное отверстие шайбы 15 по вертикали, но со смещением от ее оси к окружности и проскальзывает через щель 16 лишь с помощью пряжи 6. Но как только пряжа 6 оборвется, нить 2 заходит в щель 16 и по ней выводится к окружности шпинделя веретена, в результате чего ее баллон относительно оси веретена увеличивается более чем вдвое, нить 2 при этом попадает в разрез пластины 13 и разрезается ее острыми кромками.

[14]

Для разрыва пряжи 6 при обрыве нити 2 на прямолинейном участке держателя 12 размещен Г-образный рычаг 18 с возможностью его поворота. Рычаг 18 может быть прямым и наклонным.

[15]

В рабочем положении горизонтальная часть рычага 18, находясь несколько выше ушка нитенаправителя 13, опирается на нить 2, а его вертикальные участки имеют небольшой наклон относительно вертикали, проходящей через ось его вращения.

[16]

При обрыве нити 2 рычаг 18 теряет опору, и, поворачиваясь в сторону наклона своим верхним концом, входит в зону баллона пряжи 6, что приводит к ее разрыву.

[17]

Для обрыва химической нити у вершины веретена расположена отрезная пластина, в зону которой нить поступает при увеличении баллона ее вращения при входе в канал веретена после обрыва пряжи, что достигается спиральной формой входного отверстия. Вращение сматываемой пряжи в центральном отверстии спирали удерживает в нем и химическую нить, которая образует баллон, соответствующий диаметру центрального отверстия спирали, и малый баллон вращения. При обрыве пряжи нить по спирали из центрального отверстия перемещается к окружности шпинделя веретена, ее баллон соответственно увеличивается, нить попадает в зону действия отрезного элемента и им обрывается.

[18]

Контрольно-отрывное приспособление крутильной машины "Реутовская" размещено на откидном кронштейне, состоит из простых элементов и удобно в обслуживании, устраняет однониточные пропуска, а следовательно и потери труда и сырья, связанные с их ликвидацией.

[19]

Узлы и детали машины просты по конструкции и в обслуживании, что позволит успешно и быстро решить проблему широкого распространения подобных машин, в том числе путем использования высвобождающихся за счет применения пневмопрядильных машин и машин двойного кручения большого числа прядильно-крутильных машин ПК-100.

[20]

В то же время, крученая комбинированная нить, изготовленная на данной крутильной машине "Реутовская", характеризуется по сравнению с нитью такой же линейной плотности и одинакового состава, изготовленной на обычных крутильных машинах, большей объемностью и мягкостью на ощупь. Это объясняется тем, что структура крученой нити, полученной на описанной машине, состоит из практически некрученой химической нити и из пряжи с уменьшенной на величину кручения нити ее первичной крутки. В то же время в структуре крученой нити, получаемой на обычных крутильных машинах, химическая нить приобретает в процессе скручивания с пряжей дополнительную крутку, равную по величине числу кручений крученой нити, что и сообщает ей излишнюю жесткость.

Как компенсировать расходы
на инновационную разработку
Похожие патенты