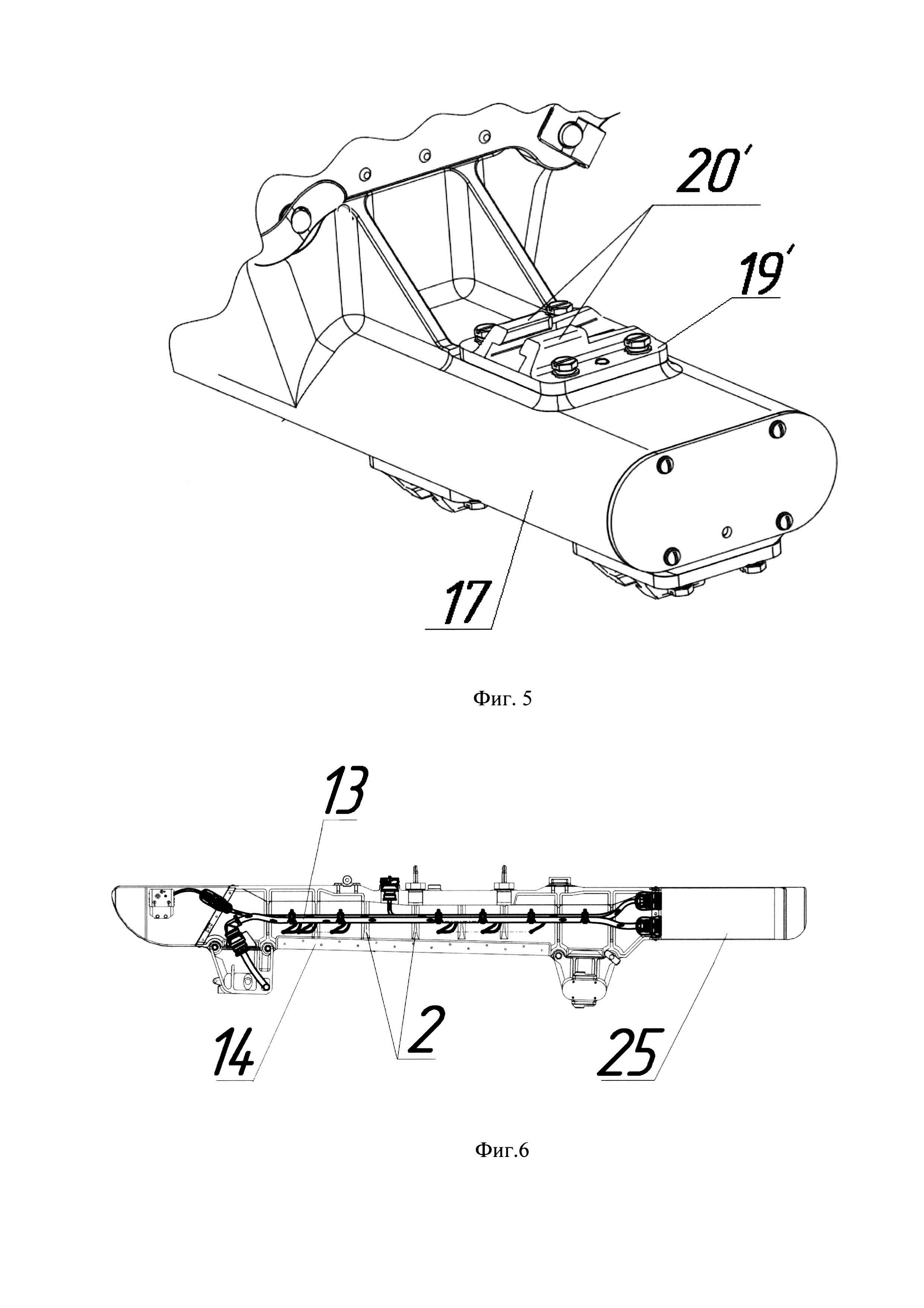
Полезная модель относится к авиационному вооружению, в частности к съемным, подвешиваемым на универсальные точки подвески авиационным средствам поражения. Авиационное пусковое устройство, содержащее балку (1) с передним (3) и задним (4) обтекателями, на верхней части балки (1) размещены элементы крепления к балочному держателю (5), включающие передний (6) и задний (7) упоры, рым-болты (8) и упоры (9). Снизу к балке (1) закреплены передний (16) и задний (17) корпуса подвеса, а внутри балки (1) размещены электрические жгуты (13). В нижней части балки (1) размещен поддон (14), кроме того, на левой и правой поверхностях балки (1) закреплены упомянутые упоры (9) с выполненными в них шлицами (11) и с закрепленной на них пластиной (12). На корпусе подвеса переднем (16) установлен узел (18) крепления ракет, состоящий из корпуса (19), имеющего в своем составе направляющие (20). Узел (18) снабжен осью (22), на которой установлен кронштейн (21), в конструкции которого выполнен зубец (23). На задней поверхности узла подвеса переднего (16) размещены электрические разъемы (26), а в его корпусе размещен вал (24), снабженный фиксаторами (27). На корпусе подвеса заднего (17) установлены направляющие (20'). Достигается надежное крепление пускового контейнера, необходимая жесткость и стойкость к вибрациям и перегрузкам в полете. 1 з.п. ф-лы, 8 ил.
1. Авиационное пусковое устройство, содержащее балку (1) с передним (3) и задним (4) обтекателями, на верхней части балки (1) размещены элементы крепления к балочному держателю (5), включающие передний (6) и задний (7) упоры, рым-болты (8) и упоры (9), снизу к балке (1) закреплены передний (16) и задний (17) корпуса подвеса, а внутри балки (1) размещены электрические жгуты (13), отличающееся тем, что в нижней части балки (1) размещен поддон (14), кроме того, на левой и правой поверхностях балки (1) закреплены упомянутые упоры (9) с выполненными в них шлицами (11) и с закрепленной на них пластиной (12), на корпусе подвеса переднем (16) установлен узел (18) крепления ракет, состоящий из корпуса (19), имеющего в своем составе направляющие (20), при этом узел (18) снабжен осью (22), на которой установлен кронштейн (21), в конструкции которого выполнен зубец (23), на задней поверхности узла подвеса переднего (16) размещены электрические разъемы (26), а в его корпусе размещен вал (24), снабженный фиксаторами (27), при этом на корпусе подвеса заднего (17) установлены направляющие (20'). 2. Авиационное пусковое устройство по п.1, отличающееся тем, что внутри заднего обтекателя (4) установлен блок коммутации (25).
Полезная модель относится к авиационному вооружению, в частности к съемным, подвешиваемым на универсальные точки подвески авиационным средствам поражения. Известен транспортно-пусковой контейнер управляемой ракеты (патент RU 2288423, F41F 3/055, публ. 2006 г.), в котором средства соединения с наземной аппаратурой электрических цепей пуска и управления ракеты размещены непосредственно в контейнере, при этом контрольный разъем герметично закреплен на наружной стороне передней крышки контейнера. Недостатками данного устройства являются ограничения в применении ракет другого типа и отсутствие предохранительного механизма блокировки боевых цепей, что снижает надежность. Также известно авиационное пусковое устройство для установки и пуска ракет с летательного аппарата (патент RU 2240961, B64D 7/08, публикация 27.11.2004 г.), которое рассчитано на установку четырех ракет в штатных транспортно-пусковых контейнерах и состоит из неподвижного корпуса, закрепленного на летательном аппарате, и подвижной рампы с установленными ракетами, каждый из передних узлов крепления ракет снабжен запирающим механизмом, который фиксирует узел в запертом или открытом положении с помощью чеки, взаимодействующей с вырезами на основании узла, и предохранителем. В данном устройстве не предусмотрена возможность установки меньшего количества ракет (отсутствие модульной системы), что не позволяет уменьшить вес пускового устройства. Известна авиационная пусковая установка, разработанная ОАО «МВЗ им. М.Л. Миля» (Техническое описание «Вертолет Ми-35М, 2011 г., книга 3, стр. 92-93, 141-144), которая состоит из верхнего и нижних модулей, причем верхний модуль закрыт передним и задним обтекателями, а внутри переднего обтекателя установлен блок выключателей. Ракеты в контейнерах закрепляют на консолях, на которых имеются передний и задний замки для крепления транспортно-пусковых контейнеров. Каждый задний замок снабжен электрическим соединителем, служащим для электрической стыковки ракеты с бортовой сетью вертолета. При этом объем передаваемой через него информации ограничен, т.к. определяется типом применяемого соединителя. Недостатками данного устройства являются ограниченные функциональные возможности в части применения современных ракет, так как для передачи информации и управления модернизированными ракетами требуется большее количество сигналов по сравнению с количеством, реализованным в прототипе. Известно авиационное пусковое устройство для установки и пуска ракет с летательного аппарата (патент RU 2240961 B64D 7/08, F41F 3/06 публикация 2004.11.27), которое состоит из неподвижного корпуса, закрепленного на летательном аппарате, и подвижной рампы, на которой устанавливаются ракеты. Рампа закреплена на неподвижном корпусе с помощью шарнира, ось которого находится в центре масс снаряженной ракетами рампы с возможностью ее поворота в вертикальной плоскости. Поворот осуществляется с помощью управляющего механизма, состоящего из винтовой пары и привода винта, закрепленных неподвижно на двух опорах в корпусе. Подвижная гайка шарнирно соединена с помощью звена с рычагом, жестко закрепленным на рампе. Каждый из передних узлов крепления ракет снабжен запирающим механизмом, фиксирующим узел в запертом или открытом положении с помощью чеки, взаимодействующей с вырезами на основании узла и предохранителем. Недостатком данного пускового устройства является недостаточная надежность в связи с наличием электромеханизма. Также наличие подвижных элементов снижает жесткость конструкции устройства, что в свою очередь снижает точностные характеристики пуска ракет при повышенных вибрациях в полете. Наиболее похожим является авиационное пусковое устройство для установки и пуска ракет с летательного аппарата, наиболее близкое к заявляемому техническому решению (патент RU 174739, B64D 7/08, публикация 31.10.2017 г.), которое содержит три модуля: верхний и два нижних. Верхний модуль, закрытый передним и задним обтекателями, выполнен в виде балки с консолями. Внутри заднего обтекателя верхнего модуля размещен блок коммутации сигналов. Каждый нижний модуль и представляет собой кронштейн с закрепленными на нем двумя консолями. Каждая консоль содержит по одному замку для крепления транспортно-пусковых контейнеров. На задних замках установлены электрические соединители с десятиконтактными разъемами. Авиационное пусковое устройство позволяет разместить несколько управляемых ракет. Техническая проблема, решаемая заявляемой полезной моделью, заключается в создании авиационного пускового устройства, обеспечивающего повышение надежности в конструкции пускового устройства при эксплуатации, повышение точностных характеристик пуска ракет путем обеспечения необходимой жесткости и стойкости к вибрациям и перегрузкам в полете. Технический результат заключается в повышении стойкости к вибрациям, что в свою очередь повышает точностные характеристики в процессе пуска ракет и надежность конструкции в целом. Для достижения технического результата предлагается авиационное пусковое устройство, содержащее балку 1 с передним 3 и задним 4 обтекателями, на верхней части балки 1 размещены элементы крепления к балочному держателю 5, включающие передний 6 и задний 7 упоры, рым-болты 8 и упоры 9, снизу к балке 1 закреплены передний 16 и задний 17 корпуса подвеса, а внутри балки 1 размещены электрические жгуты 13, в соответствии с заявляемой полезной моделью отличающееся тем, что в нижней части балки 1 размещен поддон 14, кроме того, на левой и правой поверхностях балки 1 закреплены упомянутые упоры 9 с выполненными в них шлицами 11 и с закрепленной на них пластиной 12, на корпусе подвеса переднем 16 установлен узел 18 крепления ракет, состоящий из корпуса 19, имеющего в своем составе направляющие 20, при этом узел 18 снабжен осью 22, на которой установлен кронштейн 21, в конструкции которого выполнен зубец 23, на задней поверхности узла подвеса переднего 16 размещены электрические разъемы 26, а в его корпусе размещен вал 24, снабженный фиксаторами 27, при этом на корпусе подвеса заднего 17 установлены направляющие 20 Кроме того, внутри заднего обтекателя 4 установлен блок коммутации 25. Предлагаемая конструкция авиационного пускового устройства в целом, применение балки 1 с элементами крепления и упорами 9, с выполненными в них шлицами 11 и с закрепленной на них пластиной 12, с установленным на корпусе подвеса переднем 16 узлом 18 крепления ракет, обеспечивает надежное крепление пускового контейнера и необходимую жесткость и стойкость к вибрациям и перегрузкам в полете. Конструкция авиационного пускового устройства поясняется чертежами: фиг. 1 - авиационное пусковое устройство для установки и пуска ракет, общий вид; фиг. 2 - авиационное пусковое устройство для установки и пуска ракет, вид спереди; фиг. 3 - упор под ухват балочного держателя; фиг.4 - корпус подвеса передний; фиг.5 - корпус подвеса задний; фиг. 6 - авиационное пусковое устройство для установки и пуска ракет, сечение; фиг.7 - вид на узел крепления; фиг. 8 - авиационное пусковое устройство для установки и пуска ракет, вид в изометрии. Авиационное пусковое устройство состоит из балки 1 с ребрами жесткости 2 (фиг. 1, 6), обтекателя переднего 3, обтекателя заднего 4 (фиг. 1). На верхней части балки 1 размещены элементы крепления к балочному держателю летательного аппарата 5 в виде упора переднего 6, упора заднего 7, рым-болтов 8(фиг. 1), упоров 9 под ухваты балочного держателя (фиг. 2, 3). Упоры 9 под ухваты балочного держателя закреплены посредством винтов 10 (фиг. 3) на левой и правой поверхности балки 1 и содержат в конструкции шлицы 11, которые обеспечивают жесткость и прочность установки упоров 9 относительно корпуса балки 1 под воздействием усилий затяжки упоров балочного держателя летательного аппарата при подвеске. На верхней части упоров 9 под ухваты балочного держателя размещена пластина из стали 12, обеспечивающая необходимую жесткость при воздействии усилий ответного винта ухвата балочного держателя летательного аппарата (фиг. 3). Внутри балки 1 размещены электрические жгуты 13 (фиг. 6). На нижней части балки 1 расположен поддон 14 ф. 6) обеспечивающий защиту электрических жгутов 13 (фиг. 6) от воздействия окружающей среды. Снизу балки 1, посредством легкосъемных шпилек 15 (фиг. 2, 4) закреплены корпус подвеса передний 16 (Фиг. 1) и корпус подвеса задний 17 (фиг. 1). На корпусе подвеса переднем 16 установлен узел крепления 18 (фиг. 4), для фиксации ракет. Узел крепления 18 состоит из корпуса 19 (фиг. 4, 7), имеющего в своем составе направляющие 20 (фиг. 4) для фиксации передних бугелей ракеты в поперечном направлении. В передней части на оси 22 узла крепления 18 установлен кронштейн 21 (фиг. 4, 7) который содержит в конструкции зубец 23 (фиг. 7), обеспечивающий фиксацию бугеля ракеты в продольном направлении. Ось 22 (фиг. 7) обеспечивает изменение положения зубца 23 кронштейна 21 при установке ракеты. После захождения бугелей ракеты в направляющие 20 кронштейн 21 проворачивается вокруг оси 22, обеспечивает фиксацию передних бугелей ракеты зубцом. В корпусе подвеса переднего 16 размещен вал 24, который обеспечивает фиксацию положения кронштейна 21 (фиг. 7) посредством фиксаторов 27(фиг. 7). На корпусе подвеса заднем 17 размещен корпус задний 19', имеющий в своем составе направляющие 20' (фиг. 5) для фиксации задних бугелей ракеты в поперечном направлении. Внутри заднего обтекателя 4 установлен блок коммутации 25 (фиг. 6), обеспечивающий связь с системой управления оружия летательного аппарата. На задней поверхности узла подвеса переднего 16 (фиг. 8) размещены электрические разъемы 26 (фиг. 8), обеспечивающие электрическое сопряжение блока коммутации 25 (фиг. 6) с ракетой. Монтаж авиационного пускового устройства осуществляется следующим образом. Техник производит подвеску авиационного пускового устройства посредством установки рым-болтов 8 в крюки замка балочного держателя летательного аппарата 5, затем производит затяжку гайки рым-болтов, тем самым подтягивая балку 1 вертикально. При подтягивании балку происходит фиксация упоров переднего 6 и заднего 7 в ответные посадочные элементы балочного держателя летательного аппарата 5. Далее, производят затяжку гаек рым-болтов 8, обеспечивая необходимое усилие затяжки для фиксации авиационного пускового устройства. После производят затяжку винтов ухватов балочного держателя, обеспечивая усилие относительно пластин 12, размещенных на упорах 9. Далее, техник производит установку ракет в следующем порядке. Поворачивает вал 24 относительно оси, тем самым переводя фиксаторы 27 в свободное положение, после чего проворачивает кронштейн 21 относительно оси 22, изменяя положение зубца 23. Далее устанавливает ракету посредством установки переднего и заднего бугелей в направляющие 20 и 20' корпусов 19 и 19' соответственно. Производит фиксацию ракеты, поворачивая вал 24 относительно оси, тем самым переводя фиксаторы 27 в рабочее положение. В завершении производит соединение электрических разъемов 26 с ответными элементами ракет. Демонтаж осуществляется в обратном порядке. Предлагаемая конструкция авиационного пускового устройства обеспечивает надежное крепление пускового контейнера и необходимую жесткость и стойкость к вибрациям и перегрузкам в полете.