патент
№ RU 2095686
МПК F23D14/20

ГОРЕЛОЧНОЕ УСТРОЙСТВО ДЛЯ ФАКЕЛЬНОЙ УСТАНОВКИ

Авторы:
Баклашов В.Е.
Номер заявки
95120431/06
Дата подачи заявки
04.12.1995
Опубликовано
10.11.1997
Страна
RU
Как управлять
интеллектуальной собственностью
Реферат

[16]

Использование: для факельного сжигания сбросных газов, преимущественно высокого давления, в процессе добычи и переработки природного газа или нефти. Сущность изобретения: горелочное устройство для факельной установки содержит смонтированную на газопроводящем стволе факельную горелку, корпус которой разделен обечайкой на внешний и внутренний каналы. Согласно изобретению, во внешнем канале между корпусом и обечайкой закреплено кольцевое днище, снабженное газовыпускными отверстиями, а снаружи выходного участка корпуса установлен с образованием кольцевого зазора ветрозащитный кожух, при этом на срезе выходного участка корпуса и на срезе ветрозащитного кожуха размещены дежурные горелки. Кроме того, предпочтительно, чтобы суммарное проходное сечение газовыпускных отверстий составляло от 0,06 до 0,12 проходного сечения внутреннего канала. 1 з.п. ф-лы, 1 ил.

Формула изобретения

1. Горелочное устройство для факельной установки, содержащее смонтированную на газопроводящем стволе факельную горелку, корпус которой разделен обечайкой на внешний и внутренний каналы, отличающееся тем, что во внешнем канале между корпусом и обечайкой закреплено кольцевое днище, снабженное газовыпускными отверстиями, а снаружи выходного участка корпуса установлен с образованием кольцевого зазора водозащитный кожух, при этом на срезе выходного участка корпуса и на срезе водозащитного кожуха размещены дежурные горелки.

2. Устройство по п.1, отличающееся тем, что суммарное проходное сечение газовыпускных отверстий составляет от 0,06 до 0,12 проходного сечения внутреннего канала.

Описание

[1]

Изобретение относится к газосжигающему оборудованию и может быть использовано для факельного сжигания сбросных газов, преимущественно высокого давления, в процессе добычи и переработки природного газа или нефти.

[2]

Известны факельные горелки для сжигания сбросных газов, содержащие корпус, в который подается сбросный газ, снабженный на выходном участке рассекателем (авт. св. СССР N775521, кл. F 23 D 14/38, 1980 г; авт.св. СССР N1370369, кл. F 23 14/38, 1988 г; патент Великобритании N1460576, кл. F 4 T, 1977 г. ). Для повышения полноты и надежности сгорания сбросных газов рассекатель выполнен в виде тела Коанда, что усложняет конструкцию горелки.

[3]

Известно также горелочное устройство, содержащее установленную на газоподводящем стволе факельную горелку, в выходной участок корпуса которой размещена дежурная горелка дежурная горелка и запальник (авт.св. СССР N1663317, кл. F 23 D 14/20, 1991 г), наличие дежурной горелки позволяет повысить надежность работы факельной установки, однако при аварийном сбросе больших объемов качество и полнота сжигания газов снижаются.

[4]

Наиболее близким к изобретению является горелочное устройство для факельной установки, содержащее смонтированную на газоподводящем стволе факельную горелку, корпус которой разделен обечайкой на внешний и внутренний канала (авт.св. СССР N1455129, кл. F 23d 14/38). Для повышения качества сжигания при изменении расхода сбросных газов во внешнем канале установлены поворотные заслонки, которые открываются при аварийном сбросе больших объемов газа. Однако, конструктивное выполнение данного устройства достаточно усложнено, что снижает его эксплуатационную надежность.

[5]

Изобретение направлено на повышение надежности и качества сжигания сбросных газов в широком диапазоне расходов.

[6]

Решение поставленной задачи обеспечивается тем, что в горелочном устройство для фокальной установки, содержащей смонтированную на газоподводящем стволе факельную горелку, корпус которой разделен обечайкой на внешний м внутренний каналы, согласно изобретению, во внешнем канале между корпусом и обечайкой закреплено кольцевое днище, снабженное газовыпускными отверстиями, а снаружи выходного участка корпуса установлен с образованием кольцевого зазора ветрозащитный кожух, при этом на срезе выходного участка корпуса и на срезе встроенного кожуха размещены дежурные горелки.

[7]

Предпочтительно, чтобы суммарное проходное сечение газовыпускных отверстий составляет от 0,06 до 0,12 проходного сечения внутреннего канала.

[8]

Благодаря наличию на входе внешнего канала кольцевого днища, снабженного газовыпускными отверстиями, формируется периферийный поток с невысокой скоростью, воспламеняемой дежурными горелками, который надежно поддерживает устойчивое горение основного потока при аварийных сбросах с большими расходами.

[9]

При этом возникает возможность увеличить скорость основного газового потока, проходящего по внутреннему каналу, что приводит к более интенсивному подсосу воздуха через кольцевой зазор между корпусом и ветрозащитным кожухом и лучшему перемешиванию выходящей свободной струи газа с атмосферным воздухом, и соответственно обуславливает повышение полноты и качества сжигания сбросных газов.

[10]

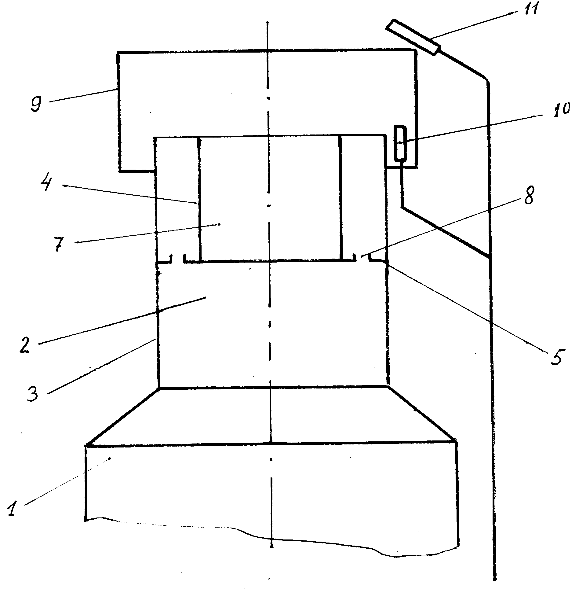
На чертеже представлен общий вид устройства для факельной установки.

[11]

Горелочное устройство содержит установленную на газоподводящем стволе 1 факельную горелку 2, корпус 3 которой разделен обечайкой 4 с кольцевым днищем 5 на внешний и внутренний каналы 6 и 7. В кольцевом днище 5 выполнены сопловые газовыпускные отверстия 8, суммарное проходное сечение которых составляет от 0,06 до 0,12 проходного сечения внутреннего канала 7. Выходной участок корпуса 3 снабжен ветрозащитным кожухом 9, который расположен снаружи с образованием кольцевого зазора. На срезе выходного участка корпуса 3 и на срезе ветрозащитного кожуха 9 установлены дежурные горелки 10 и 11.

[12]

Горелочное устройство работает следующим образом.

[13]

Сбросной газ высокого давления по газоподводящему стволу 1 поступает в корпус 3 факельный горелки 2, где обечайкой 4 разделяется на два потока. Основной высокоскоростной поток газа проходит по внутреннему каналу 7 и поступает в объем, ограниченный ветрозащитным кожухом 9, где, смешиваясь с воздухом, подсасываемым через кольцевой зазор, образует газовоздушную смесь.

[14]

Надежное выполнение и устойчивое сгорание этого основного потока обеспечивается за счет горения периферийного низкоскоростного газового потока, который в количестве до 12% от общего объема сбросного газа поступает во внешний канал 6, дросселируется, проходя через сопловые газовыпускные отверстия 8, и, выходя при пониженном давлении со скоростью 50 100 м/с из внешнего канала 6, легко воспламеняется от дежурной горелки 10, образуя равномерно распределенный по периметру фронт пламени, факел.

[15]

При больших расходах сбросного газа, если в объеме, ограниченном ветрозащитным кожухом 8, не успевает образоваться газовоздушная смесь, способная воспламениться, поджигание и полное сгорание происходит на выходе из кожуха 8 при интенсивном перемешивании высокоскоростного газового потока со вторичным воздухом атмосферы. При этом устойчивом горении основного потока также поддерживается горящим потоком газа, выходящего из внешнего канала 6, который в данном случае надежно воспламеняется дежурной горелкой 11, формируя стабилизированный факел.

Как компенсировать расходы
на инновационную разработку
Похожие патенты