патент
№ RU 2094605
МПК E21B43/28

СПОСОБ ИЗВЛЕЧЕНИЯ ЗОЛОТА ИЗ РУД И ВОДНЫЙ РАСТВОР ДЛЯ ВЫЩЕЛАЧИВАНИЯ ЗОЛОТА

Авторы:
Аваргин Виктор Анатольевич[UZ] Забельский Валерий Константинович[RU] Хмелевская Галина Александровна[UZ]
Все (5)
Номер заявки
5026132/03
Дата подачи заявки
26.11.1991
Опубликовано
27.10.1997
Страна
RU
Как управлять
интеллектуальной собственностью
Чертежи 
9
Реферат

[35]

Изобретение относится к горному делу и может быть использовано при подземном кучном и чановом выщелачивании золота из кислотоемких руд. Способ включает приготовление выщелачивающего раствора соляной кислоты и подачу его в руду. Новым является то, что непосредственно перед подачей в руду раствор соляной кислоты нейтрализуют путем добавления в него раствора товарного щелочного гипохлорита натрия или калия. Используют гипохлорит натрия (ТУ-6-15-746-87) или полученный электролизом. Раствор гипохлорита натрия (ТУ-6-15-746-87) подают в количестве 0,6 объема при 1-4 объемах раствора соляной кислоты. 2 с. и 2 з.п. ф-лы, 5 ил., 5 табл.

Формула изобретения

1. Способ извлечения золота из руд, включающий приготовление выщелачивающего раствора соляной или другой минеральной кислоты и подачу его в руду, отличающийся тем, что непосредственно перед подачей в руду раствор кислоты нейтрализуют щелочным раствором гипохлорита натрия или калия.

2. Способ по п.1, отличающийся тем, что используют товарный щелочной гипохлорит натрия или калия или гипохлорит натрия или калия, полученный электролизом раствора хлорида натрия или калия в щелочной среде или стабилизированный щелочью.

3. Способ по п.1, отличающийся тем, что в качестве выщелачивающего раствора используют маточный раствор, который пропускают через анодную камеру диафрагменного электролизера.

4. Водный раствор для выщелачивания золота, содержащий соляную кислоту и соединения натрия с хлором, отличающийся тем, что он содержит дополнительно щелочь натрия и в качестве соединений натрия с хлором гипохлорит натрия в следующих пределах: HCl 10 60 г/л, NaClO 6 22 г/л, NaOH 2,3 7,5 г/л.

Описание

[1]

Изобретение относится к области горного дела и может быть использовано при подземном, кучном и чановом выщелачивании золота из кислотоемких руд.

[2]

Известны способы и растворы для выщелачивания золотоносных руд, включающие обработку руд щелочными циан-содержащими составами (Лодейщиков В.В. Извлечение золота из упорных руд и концентратов. М. Недра, 1968) в кучах или пачуках на гидрометаллургических заводах с аэрированием кислородом воздуха. Ионы CN-, диффундирующие в направлении к золоту, растворяют его по реакции:

К недостаткам известного решения и состава относится высокая токсичность и экологическая опасность цианидов.

[3]

Известен способ и состав (авт. св. СССР N 1319661, кл. E 21 B 43/28, 1985), включающий предварительное закисление руды раствором серной кислоты и выщелачивание золота кислым раствором тиокарбамида, концентрацией 0,03-0,95 г/л, при выдерживании руды на открытом воздухе. К недостаткам известного решения относятся:
высокая стоимость реагента (1500 руб./т);
повышенная агрессивность кислотных растворов к технологическому оборудованию;
цементация золота ионами железа, перешедшими в раствор из руды и его потери;
переход в раствор экологически опасных ионов мышьяка;
относительно большие потери времени на закисление руды при отмывке от примесных ионов (50% и более общей продолжительности работ).

[4]

Известен способ и состав для выщелачивания золота, включающий предварительное закисление руды раствором соляной кислоты и выщелачивание руды солянокислыми растворами, включающими галит и молекулярный хлор (Небери В.П. Черпей Э. И. Бабичев Н.И. Красильникова Р.Г. Об извлечении золота из недр способом подземного выщелачивания. Гидрометаллургия золота. М. Недра, 1980, с.63-67), г/л:
HCl 3,6
NaCl 5,8
Cl2 5
Вода Остальное
Данное решение является наиболее близким к предлагаемому по числу общих признаков и выбрано в качестве прототипа. К недостаткам прототипа относятся:
повышенная агрессивность кислотных растворов относительно технологического оборудования;
цементация золота ионами железа, перешедшими в раствор из руды;
переход в раствор экологически опасных ионов мышьяка;
большие потери времени на закисление руды (50% и более от общей продолжительности работ);
относительно низкое извлечение золота: 55% (пример 1);
опасность перевозки и хранения хлора для приготовления хлорной воды;
очень высокий расход кислоты при выщелачивании карбонатных и других кислотоемких руд.

[5]

Цель изобретения повышение эффективности извлечения золота, снижение кислотоемкости процесса, обеспечение селективности процесса и устранение опасностей, связанных с приготовлением и использованием хлорной воды и переходом в раствор мышьяка.

[6]

Поставленная цель достигается тем, что выщелачивание золота проводят без предварительного закисления и отмывки мышьяка и железа нейтральным раствором, приготовленным непосредственно перед подачей в руду из товарного щелочного гипохлорита натрия (например, гипохлорит натрия ТУ 6-15-746-87) и раствора соляной кислоты, при следующем соотношении ингредиентов, г/л от объема:
Раствор гипохлорита натрия щелочной ТУ 6-15-746-87 (гипохлорита натрия 30-40) 0,6
Раствор соляной кислоты (10-30) 1-4
В товарном щелочном гипохлорите натрия содержание щелочи может изменяться, поэтому для нейтрализации щелочи необходимы различные объемы раствора кислоты (пределы указаны в рецептуре). Но всегда необходимо выдерживать соотношение объемов ингредиентов таким, чтобы полученный раствор имел нейтральную реакцию (pH 7).

[7]

Применение нейтрального раствора для выщелачивания золота сводит до минимума переход в раствор ионов железа и ядовитых ионов мышьяка, которые мешают извлечению золота. Расход кислоты, при применении нейтральных растворов может быть снижен пятикратно, по сравнению с прототипом. От предварительного закисления руд можно отказаться, т.к. железо и мышьяк в раствор, практически, не переходят.

[8]

Как было установлено экспериментально, снижение эффективности выщелачивания кислыми хлорными хлоридными растворами (по прототипу), при переходе в раствор железа, обусловлено низким окислительно-восстановительным потенциалом среды: + 700-800 мВ, который не обеспечивает устойчивость комплексных ионов золота (AuCl4)-. Снижение эффективности также обусловлено седиментацией золота железом.

[9]

Эффективность выщелачивания по предлагаемому способу обеспечивается тем, что нейтрализацию раствора кислоты щелочным раствором гипохлорита осуществляют непосредственно перед подачей в руду. Атомарный хлор, выделяющийся при смешении растворов по реакции

и не успевший соединиться в молекулу Cl2, очень агрессивен по отношении к золоту. Избыток кислоты нейтрализуется щелочью из товарного раствора щелочного гипохлорита.

[10]

Сопоставительный анализ с прототипом позволяет сделать вывод, что предлагаемый состав для выщелачивания золота отличается от известного введением нового компонента щелочного гипохлорита натрия или калия, в пропорции, обеспечивающей нейтрализацию кислоты в известном составе.

[11]

Отличается решение и по способу выщелачивания: в предлагаемом решении, в отличие от прототипа, выщелачивание проводят без предварительного закисления нейтральными растворами, приготовленными непосредственно перед закачкой в руду, что дает неожиданный эффект повышенную агрессивность раствора и селективность по отношению к золоту (за счет выделения атомарного хлора), при низких расходах кислоты даже в высококарбонатных рудах и других кислотоемких рудах. Сокращается время выщелачивания.

[12]

Анализ известных составов для выщелачивания золота показал, что отдельные компоненты из предлагаемого состава известны: HCl, NaOH. Однако, их применение в сочетании с другими компонентами, а не друг с другом и гипохлоритом натрия (калия) в предлагаемых пропорциях, например с тиомочевиной, NaCl, Cl2, не обеспечивает выщелачивающим растворам такие свойства, которые они проявляют в предлагаемом решении: селективность и агрессивность по отношению к золоту, экологическая безопасность продуктов реакции, низкий расход химреагентов и высокая скорость выщелачивания.

[13]

Совокупность операций по выщелачиванию золота: выщелачивание без предварительного закисления растворами, нейтрализованными перед подачей в руду. Без соблюдения данных условий эффект от применения предлагаемого состава снижается и близок к прототипу.

[14]

На фиг. 1 и 2 представлены зависимости степени извлечения золота и кислотоемкости от pH раствора; на фиг. 3 и 4 зависимости концентраций раствора железа и мышьяка от pH; на фиг. 5 лабораторная установка для проведения испытаний.

[15]

Пример 1. Для проверки эффективности предлагаемого состава и способа выщелачивания золота были выполнены лабораторные опыты, результаты которых представлены в табл. 1.

[16]

Были приготовлены навески по 0,2 кг дробленой руды месторождения Коклатас (Узбекистан). Класс крупности 2 мм. Руда сульфидная, окисленная, мышьяковистая, карбонатная (кислотоемкость 70 кг/т). Навески отбирали квартованием. Исходная концентрация золота 2 г/т. Выщелачивание проводили в агитационном режиме, при соотношении Ж Т 3 1. Выщелачивающие растворы готовили следующим образом: в емкостях с водой растворяли соляную кислоту до концентраций 10, 30, 60, 80 г/л. Полученные растворы титровали до нужного значения pH щелочным раствором гипохлорита натрия. Замерив объем ушедшей на титрование кислоты до pH 7, рассчитали количество щелочи в товарном растворе щелочного гипохлорита 13,7 г/л. Объемы растворов гипохлорита, которые пошли на титрование до различных значений pH, представлены в табл. 1.

[17]

Зависимости степени извлечения золота (γ,%), кислотоемкости (P, кг/т) от pH раствора и соотношения концентраций кислоты и гипохлорита представлены на фиг. 1 и 2. Переход в раствор железа и мышьяка, в зависимости от тех же условий, охарактеризован на фиг. 3 и 4.

[18]

Кривые под номером 1 на всех фигурах соответствуют первоначальной концентрации HCl в выщелачивающем растворе 10 г/л, концентрации гипохлорита натрия 3, 80-13,33 г/л, щелочи 1,30-4,57 (табл. 2 и 3). Кривые под номером 2 на всех фигурах соответствуют первоначальной концентрации HCl 30 г/л, концентрации гипохлорита натрия 9,70-24,99 г/л, щелочи 3,32-8, 56 г/л; кривые под номером 3 на всех фигурах соответствуют первоначальной концентрации HCl 60 г/л, концентрации гипохлорита натрия 15,61-30,80 г/л, щелочи 5,35-10,55 г/л; кривые под номером 4 соответствуют первоначальной концентрации HCl 80 г/л, концентрации гипохлорита натрия 12,26-32,00 г/л, щелочи 6,25-10,96 г/л.

[19]

Кроме того, на фигурах показаны: точка 5 результат выщелачивания по прототипу: закисление 1,25 нормальным раствором HCl в течение 10 сут и выщелачивание раствором HCl (3,6 г/л) плюс NaCl (5,7 г/л) плюс Cl2 (5 г/л); точка 6 результаты выщелачивания товарным раствором щелочного гипохлорита натрия ТУ 6-15-746-87.

[20]

Как видно на фиг. 1, с переходом от кислой среды к щелочной, извлечение падает с 70-100% до 25-40% Извлечение сильнокислыми растворами и нейтральными примерно одинаковое. На кривых изменений удельного расхода кислоты на 1 кг извлеченного золота (фиг. 2), переход в область высоких расходов кислоты находится левее точки с pH 7.

[21]

Подводя итог рассмотрению фиг. 1 и 2, находим, что оптимальной является нейтральная среда (pH 7). Оптимальное соотношение ингредиентов: концентрация HCl (начальная концентрация до взаимодействия со щелочным гипохлоритом) от 10 до 60 г/л; концентрация гипохлорита натрия 6-22 г/л (табл. 2, 7 строка), щелочи NaOH 2,3-7,5 г/л.

[22]

Данный вывод подтверждают и результаты определений концентраций железа (фиг. 3) и мышьяка (фиг. 4). Например, при изменении pH среды с 2-х до 7-ми, концентрация железа в растворе падает со 160 до 0,3 мг/л. Далее (pH>7) изменения концентраций железа незначительны (фиг. 3).

[23]

На фиг. 4 кривые изменений концентраций мышьяка, при pH 7 имеют характерный минимум. С увеличением концентрации водородных ионов (pH<7), активизируется разложение арсенопирита, но и сдвигается реакция окисления арсенопирита в сторону образования нерастворимых соединений в основном арсенатов железа (Плаксин И.П. Гидрометаллургия. Избранные труды. М. Наука, 1972). При увеличении pH (более 7), растворимость мышьяка возрастает. Результирующая кривая, характеризующая эти 2 разнонаправленных процесса (растворение выделение мышьяка) в зависимости от pH, имеет минимум при pH 7, что тоже говорит в пользу нейтральной среды.

[24]

Сравнивая полученные данные выщелачивания золота по предлагаемому способу и составу и по прототипу (точка 5 на фиг. 1-4), находим, что процесс выщелачивания по предлагаемому способу идет эффективнее: получено большее извлечение, израсходовано меньшее количество химреагентов, получены меньшие концентрации мышьяка и железа в растворе.

[25]

Процесс выщелачивания товарным щелочным гипохлоритом натрия без добавления кислоты неэффективен (точка 6 на фиг. 1-4).

[26]

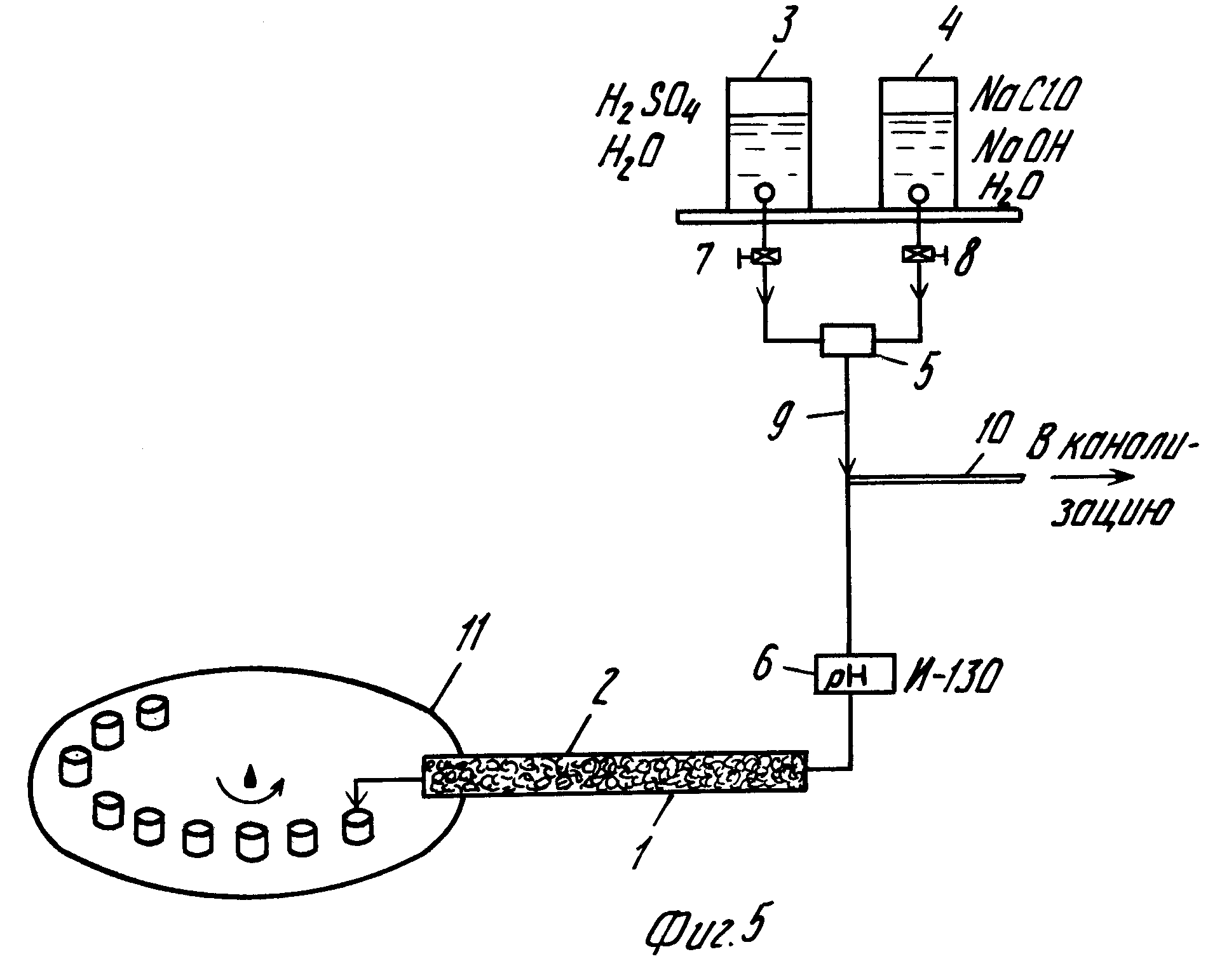
Пример 2. Руду 1 (фиг. 5) месторождения "К" помещали в фильтрационную колонку 2, длиной 0,7 м и диаметром 0,05 м. Выщелачивающий раствор из емкостей 3 и 4 подавали под избыточным напором, обеспечивающим фильтрацию раствора через руду. В смесителе 5 происходила реакция взаимодействия щелочного гипохлорита с кислотой, в результате получали раствор с заданным значением pH, контролируемым pH метром 6 марки И-130. Растворы с различными значениями pH получали, регулируя скорости подачи раствора краном 8, задав нужную скорость истечения раствора кислоты краном 7 из емкости 3. Постоянство скорости истечения обеспечивалось капилляром 9, избыток раствора отводили в канализацию через шланг 10. На выходе из колонны отбирали пробы раствора автоматическим пробоотборником 11. Было отработано 2 колонны. Первая кислотным раствором с добавкой щелочного гипохлорита натрия, вторая нейтральным раствором, приготовленным из воды, соляной кислоты и щелочного гипохлорита натрия. Исходная концентрация HCl 20 г/л. Результаты сведены в табл. 4.

[27]

Как видно из табл. 4, выщелачивание нейтральным раствором дало большее извлечение и меньший расход химреагентов, чем при выщелачивании кислотным раствором.

[28]

Пример 3. Выщелачивание проводили в той же последовательности, что и в примере 2 на 2-х фильтрационных колонках кислотным и нейтральным растворами, но растворы в колонны подавали не сразу после смешения соляной кислоты, воды и щелочного гипохлорита натрия, а спустя 10 дн. Результаты выщелачивания представлены в табл. 5.

[29]

Пример 4. Выщелачивание проводили в одной колонне нейтральным раствором в той же последовательности, что в примере 2, но в качестве щелочного раствора гипохлорита натрия брали не товарный раствор (ТУ 6-15-746-87), а раствор полученный путем электролиза 17%-го раствора поваренной соли в проточном бездиафрагменном электролизере при плотности тока 1000-1400 А/м2. Размер лабораторного электролизера 5x10x0,5 см. Питание от источника тока ВД-60, подключенного к электродам через делитель напряжения. Напряжение на электродах 3-5 В. Полученный щелочной гипохлорит натрия (35-40 г/л) смешивали с раствором соляной кислоты (20 г/л) в пропорции, обеспечивающей pH среды на уровне 7. При Ж Т 1,5 достигнуто извлечение 84% золота из окисленной сульфидной руды месторождения Кокпатас.

[30]

Пример 5. Выщелачивание проводили в одной колонне нейтральным раствором в той же последовательности, что и в примере 2, но соляную кислоту (20 г/л), после поступления первых порций раствора на выходе из колонны получали путем электролиза раствора, отобранного на выходе колонны и пропущенного через слой ионита АМ-2Б. Электролиз проводили в диафрагменном проточном электролизере размером 5x10x0,5 см. Диафрагма брезентовая со специальной пропиткой. Кислоту отбирали в анодной камере.

[31]

Полученный таким образом раствор соляной кислоты смешивали со щелочным гипохлоритом натрия в пропорции, обеспечивающей нейтральную реакцию среды (pH 7). Извлечение при Ж Т 1,5 составило 85% удельный расход кислоты на 1 кг золота составил 21094 кг/кг против 29477 кг/кг в опыте без электролиза маточного раствора (пример 2, табл. 4, графу 4).

[32]

Пример 6. Выщелачивание проводили в трех колоннах нейтральными растворами в той же последовательности, что и в примере 2, но кислотные растворы готовили на основе серной (26,4 г/л), азотной (34,6 г/л) и фосфорной (18,1 г/л) кислот. Нормальность кислотных растворов соответствовала нормальности раствора соляной кислоты концентрацией 20 г/л, используемого в предыдущих опытах (примеры 2-5). Растворы смешивали с щелочным гипохлоритом в пропорциях, обеспечивающих нейтральную реакцию среды и сразу же подавали каждый в отдельную колонну. Извлечение при Ж Т 1,5 раствором, включающим серную кислоту, составило 77% азотную кислоту 82% фосфорную 69%
Таким образом, в выщелачивающем растворе может быть использована не только соляная, но и другие минеральные кислоты. Но применение HCl предпочтительней, т.к. она дает большее извлечение (84-85%).

[33]

Технико-экономический эффект предлагаемого технического решения, в сравнении с базовым вариантом, рассчитан по увеличению степени извлечения золота из условных 1000 т руды месторождения "К"
Э 1000•(Уц•(K1-K2 )•C) 1000•(25•(0,94-0,55)•2) 22000 руб.

[34]

где Уц условная прибыль (25 руб. за 1 г);
K1 извлечение по предлагаемому техническому решению 0,84 (фиг. 1, пример 1 в описании);
K2 извлечение по прототипу 0,55 (фиг. 1, точка 5, пример 1 описания);
C концентрация золота в руде (2 г/т).

Как компенсировать расходы
на инновационную разработку
Похожие патенты