патент
№ RU 209454
МПК A01C7/04

ВЫСЕВАЮЩИЙ АППАРАТ ДЛЯ ТОЧНОГО ВЫСЕВА СЕМЯН

Авторы:
Ореховская Александра Александровна Войнаш Сергей Александрович Соколова Виктория Александровна
Все (10)
Номер заявки
2021120754
Дата подачи заявки
12.07.2021
Опубликовано
16.03.2022
Страна
RU
Как управлять
интеллектуальной собственностью
Чертежи 
1
Реферат

[14]

Полезная модель относится к сельскому хозяйству. Высевающий аппарат для точного высева семян содержит корпус, выполненный круглого сечения из металла. Сверху корпуса установлен загрузочный бункер с крышкой и с дозатором семян в нижней его части. Внутри корпуса установлен рабочий орган, выполненный в виде двухзаходного спирального винта, прикрепленный с одной стороны на приводной круглый диск посредством болтового соединения, прижимая один виток спирального винта. Диск выполнен с валом со шлицами для соединения с муфтой. С другой стороны двухзаходный спиральный винт закреплен на валу с подшипником, которые прикреплены на быстросъемной крышке. В нижней части быстросъемной крышки с ее внешней стороны выполнено выходное окно, к которому прикреплена гибкая трубка для прямой доставки семян в почву. Внутри рабочего органа установлена круглая трубка из металла. Рабочий орган в виде двухзаходного спирального винта закреплен на установленной внутри его круглой трубке из металла и выполнен из проволоки диаметром 4 мм, а также установлен с шагом между соседними витками спиралей не менее максимального размера семян. Обеспечивается уменьшение повреждаемости и повышение равномерности высева семян. 1 ил.

Формула изобретения

Высевающий аппарат для точного высева семян, содержащий корпус, выполненный круглого сечения из металла, сверху его установлен загрузочный бункер с крышкой и с дозатором семян в нижней его части, внутри корпуса установлен рабочий орган, выполненный в виде двухзаходного спирального винта, прикрепленный с одной стороны на приводной круглый диск посредством болтового соединения, прижимая один виток спирального винта, при этом диск выполнен с валом со шлицами для соединения с муфтой, с другой стороны двухзаходный спиральный винт закреплен на валу с подшипником, которые прикреплены на быстросъемной крышке, а внутри рабочего органа установлена круглая трубка из металла, выходное окно, к которому прикреплена гибкая трубка для прямой доставки семян в почву, отличающийся тем, что рабочий орган в виде двухзаходного спирального винта закреплен на установленной внутри его круглой трубки из металла и выполнен из проволоки диаметром 4 мм, а также установлен с шагом между соседними витками спиралей не менее максимального размера семян, а выходное окно выполнено в нижней части быстросъемной крышки с ее внешней стороны.

Описание

[1]

Полезная модель относится к сельскохозяйственному машиностроению, в частности к высевающим аппаратам посевных машин.

[2]

Известен высевающий аппарат (см. патент на полезную модель РФ №191545. - Опубл. 12.08.2019, Бюл. №23), состоящий из корпуса круглого сечения, на который сверху установлен загрузочный бункер с крышкой и с дозатором семян в нижней его части, который фиксируется болтом. Внутри корпуса установлен рабочий орган, выполненный в виде спирального винта с возможностью вращения вокруг своей оси, который распределяет семенной материал в единичный слой. Посредством болтового соединения рабочий орган, с одной стороны прикреплен на приводной круглый диск прижимая один его виток. При этом диск выполняют с валом со шлицами для соединения с муфтой. С другой стороны, спиральный винт закрепляют на валу с подшипником, которые закрепляют на быстросъемной крышке. Диск приводится во вращательное движение валом от приводного устройства. Внутри рабочего органа неподвижно установлена круглая трубка из металла или твердого пластика. Рабочий орган установлен с шагом, подходящим под размер семян, и с зазором между корпусом, витками спирального винта и внутренней трубкой не превышающим минимальные размеры семян, с целью избегания их защемления. С нижней стороны корпуса выполнено выходное окно, к которому присоединена гибкая трубка для прямой доставки семян в почву.

[3]

Известный высевающий аппарат обладает недостатком, к которому относится неравномерность внесения семян при посеве.

[4]

Известен, принятый за прототип высевающий аппарат для точного высева семян (см. патент на полезную модель РФ №196918. - Опубл. 19.03.2020, Бюл. №8), включающий корпус, выполненный круглого сечения из металла или твердого пластика, сверху установлен загрузочный бункер с крышкой и с дозатором семян в нижней его части, внутри корпуса установлен рабочий орган, выполненный в виде двухзаходного спирального винта, прикрепленный с одной стороны на приводной круглый диск посредством болтового соединения, прижимая один виток спирального винта, при этом диск выполнен с валом со шлицами для соединения с муфтой, с другой стороны двухзаходный спиральный винт закреплен на валу с подшипником, которые прикреплены на быстросъемной крышке, а внутри рабочего органа неподвижно установлена круглая трубка из металла или твердого пластика, причем рабочий орган установлен с шагом, подходящим под размер семян, и с зазором между внутренней поверхностью корпуса, витками спирали и внутренней трубкой, не превышающим минимальные размеры семян, а с нижней стороны корпуса выполнено выходное окно, на которое прикреплена гибкая трубка для прямой доставки семян в почву.

[5]

Недостатком известного устройства является повреждаемость и как следствие низкая всхожесть семян в результате их защемления между двухзаходним спиральным винтом и круглой внутренней трубкой и протаскиванием их по ее поверхности, а также неравномерность высева, так как витки спирального винта периодически проходят над выходным окном, под которым закреплена гибкая трубка для прямой доставки семян в почву, уменьшая его сечение.

[6]

Задача, которую решает полезная модель, заключается в уменьшении повреждаемости и, как следствие, повышении всхожести семян, а также повышения равномерности их высева с целью повышения урожайности сельскохозяйственных культур.

[7]

Поставленная задача решается с помощью высевающего аппарата для точного высева семян, содержащего корпус, выполненный круглого сечения из металла, сверху его установлен загрузочный бункер с крышкой и с дозатором семян в нижней его части, внутри корпуса установлен рабочий орган, выполненный в виде двухзаходного спирального винта, прикрепленный с одной стороны на приводной круглый диск посредством болтового соединения, прижимая один виток спирального винта, при этом диск выполнен с валом со шлицами для соединения с муфтой, с другой стороны двухзаходный спиральный винт закреплен на валу с подшипником, которые прикреплены на быстросъемной крышке, а внутри рабочего органа установлена круглая трубка из металла, выходное окно, к которому прикреплена гибкая трубка для прямой доставки семян в почву, где рабочий орган в виде двухзаходного спирального винта закреплен на установленной внутри его круглой трубке из металла и выполнен из проволоки диаметром 4 мм, а также установлен с шагом между соседними витками спиралей не менее максимального размера семян, а выходное окно выполнено в нижней части быстросъемной крышки с ее внешней стороны.

[8]

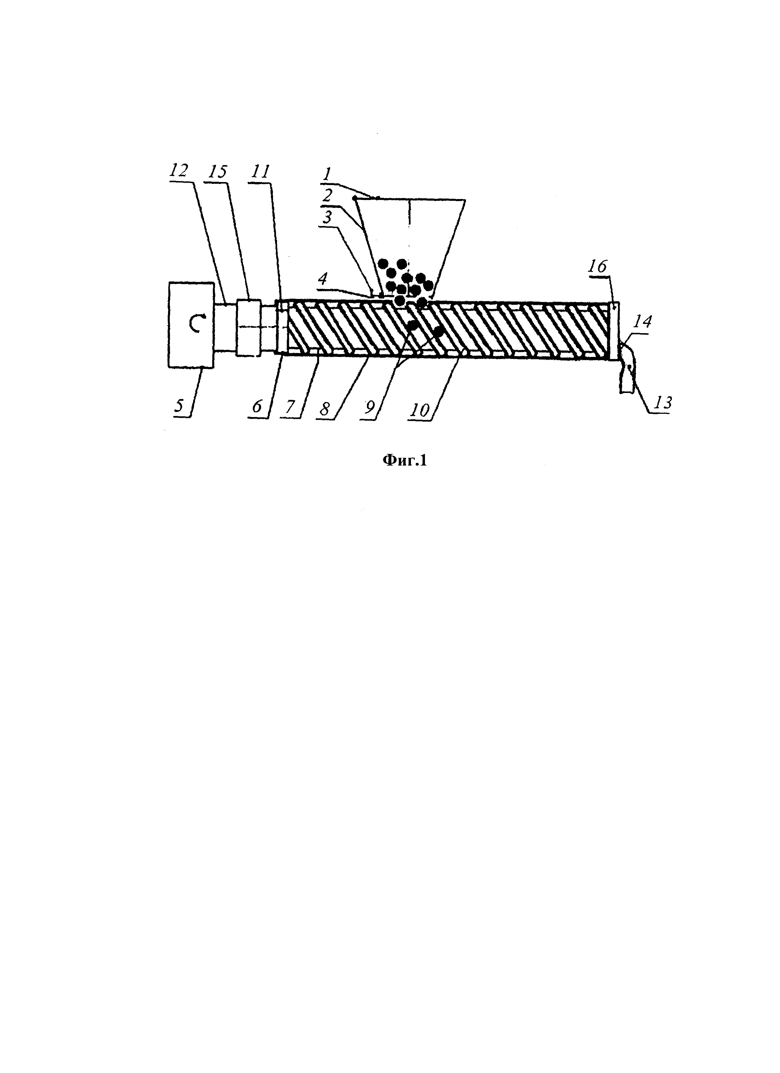
Полезная модель поясняется чертежом, где на фиг. 1 представлена принципиальная схема высевающего аппарата для точного высева семян.

[9]

Высевающий аппарат для точного высева семян состоит из корпуса круглого сечения 8, выполненного из металла, на который сверху установлен загрузочный бункер 2 с крышкой 1 и с дозатором семян 3 в нижней его части, который фиксируется болтом 4. Внутри корпуса 8 установлен рабочий орган 10, выполненный в виде двухзаходной спирали с возможностью вращения вокруг своей оси, который распределяет семенной материал 9 в два единичных слоя. Рабочий орган 10 закреплен на установленной внутри его круглой трубке 7 из металла.

[10]

Посредством болтового соединения 11 рабочий орган 10 вместе с круглой трубкой 7, с одной стороны прикреплен на приводной круглый диск 6 прижимая один его виток. При этом диск 6 выполняют с валом со шлицами для соединения с муфтой 15. С другой стороны, двухзаходную спираль вместе с круглой трубкой 7 закрепляют на валу с подшипником, которые закрепляют на быстросъемной крышке 16. Диск 6 приводится во вращательное движение валом 12 от приводного устройства 5. Рабочий орган 10 выполнен из проволоки диаметром 4 мм, а также установлен с шагом между соседними витками спиралей не менее максимального размера семян с целью избегания их защемления. В нижней части быстросъемной крышки 16, с ее внешней стороны, выполнено выходное окно 14, к которому присоединена гибкая трубка 13 для прямой доставки семян в почву.

[11]

Высевающий аппарат для точного высева семян работает следующим образом.

[12]

При закрытом дозаторе 3, подают семена в бункер 2, затем приводят рабочий орган 10 во вращательное движение посредством приводного устройства 5 и вала 12 с диском 6 соответственно. Затем отодвигают дозатор 3 на заданное расстояние в зависимости от размеров семян, и фиксируют болтом 4. Семена поступают внутрь корпуса 8, где захватываются витками двухзаходного рабочего органа 10 и перемещаются в направлении выходного окна 14. При этом защемление семян между двухзаходним рабочим органом 10 и внутренней круглой трубкой 7 и протаскиванием их по ее поверхности исключается, равномерность высева повышается, т.к. витки спиралей периодически не закрывают частично выходное окно 14.

[13]

Использование заявленного спирально-винтового рабочего органа позволяет добиться уменьшения повреждаемости и, как следствие, повышения всхожести семян, а также повышения равномерности их высева с целью повышения урожайности сельскохозяйственных культур.

Как компенсировать расходы
на инновационную разработку
Похожие патенты