патент
№ RU 2093341
МПК B24B45/00

УСТРОЙСТВО ДЛЯ КРЕПЛЕНИЯ ШЛИФОВАЛЬНОГО КРУГА

Авторы:
Степанов Ю.С.
Номер заявки
96103998/02
Дата подачи заявки
28.02.1996
Опубликовано
20.10.1997
Страна
RU
Как управлять
интеллектуальной собственностью
Чертежи 
2
Реферат

[15]

Использование: машиностроение, оснастка обрабатывающих станков, где применяется дисковый инструмент, обработка отверстий деталей шлифовальными и полировальными кругами, иглофрезами и раскатниками, дисковыми фрезами и другим подобным инструментом. Сущность изобретения: устройство, содержащее оправку с цилиндрической шейкой на переднем конце, два съемных фланца и гайку. Устройство снабжено крепежными элементами в виде болта и дополнительной гайки, предназначенными для закрепления устройства на шпинделе станка. На заднем конце оправки выполнены плоскость разъема и круговые направляющие, предназначенные для взаимодействия с ответными плоскостью разъема и круговыми направляющими шпинделя станка. При этом центр кривизны направляющих оправки и шпинделя совпадает со средним сечением шлифовального круга. 3 ил.

Формула изобретения

Устройство для крепления шлифовального круга, содержащее оправку с цилиндрической шейкой на переднем конце, два съемных фланца и гайку, отличающееся тем, что устройство снабжено крепежными элементами в виде болта и дополнительной гайки, предназначенными для закрепления устройства на шпинделе станка, при этом на заднем конце оправки выполнены плоскость разъема и круговые направляющие, предназначенные для взаимодействия с ответными плоскостью разъема и круговыми направляющими шпинделя станка, при этом центр кривизны круговых направляющих оправки и шпинделя совпадает со средним сечением шлифовального круга.

Описание

[1]

Изобретение относится к машиностроению, а именно к оснастке обрабатывающих станков, где применяется дисковый инструмент, и может быть использовано при обработке отверстий деталей шлифовальными и полировальными кругами, иглофрезами и раскатниками, дисковыми фрезами и другим подобным инструментом.

[2]

Известна конструкция устройство для крепления шлифовального круга состоящая из втулки, выполненной в виде цанги с продольным разрезом, наружная и внутренняя поверхности которой являются усеченными конуса с пересекающимися осями под углом α , равным половине максимального угла наклона дискового инструмента. С втулкой сопрягается фланец коническим отверстием, ось которого пересекается под углом a с осью наружной цилиндрической поверхности, служащей базовой для установки дискового инструмента, последний закрепляется гайкой.

[3]

Недостатками этого инструмента являются сложность и трудоемкость изготовления втулки и фланца, имеющих конические наружные и внутренние поверхности высокой точности и шероховатости, требующие притирки. Кроме того, данное устройство невозможно применить для обработки отверстий малых диаметров, для которых рекомендуются шлифовальные круги с наружным диаметром ⌀ 16.80 мм), имеющие внутренний диаметр отверстия соответственно o 6.20 мм), где невозможно конструктивно заместить все элементы устройства.

[4]

В качестве прототипа выбрано устройство для крепления шлифовального круга, имеющее консольную оправку со сферической головкой, на которой установлены основной и прижимной фланцы со стопорным кольцом для базирования и фиксации угла поворота инструмента.

[5]

Недостатком этого устройства является сложность и трудоемкость изготовления сферической головки оправки и сопрягаемого с ней сферического отверстия фланца, невозможность регулировки с целью совмещения плоскости, параллельной торцу и проходящей через середину шлифовального круга, с центром сферической головки оправки при сборке, что приводит к смещению центра масс и появлению дисбаланса, а это вызывает вибрации, которые резко снижают точность и качество обработки, и которые невозможно устранить. Другим существенным недостатком этого устройства является большие габаритные размеры и невозможность применения для шлифовальных кругов малых наружных диаметров, (например: для наружных диаметров- o 16.80 мм.)
Заявляемое техническое решение позволяет использовать его для крепления шлифовальных кругов для обработки малых отверстий и производить регулировку угла наклона их режущей части.

[6]

Это достигается тем, что в известном устройстве для крепления шлифовального круга, содержащем оправку с цилиндрической шейкой на переднем конце для размещения на ней шлифовального круга, два сменных фланца и гайку; в отличие от прототипа на заднем конце оправки имеется плоскость разъема параллельная оси оправки и круговые направляющие, взаимодействующие с ответными плоскостью разъема и круговыми направляющими шпинделя станка, причем центр кривизны круговых направляющих оправки и шпинделя совпадает со средним сечением шлифовального круга, а крепление оправки на шпинделе производится по плоскостям разъема резьбовым соединением с помощью крепежных деталей болт и гайка.

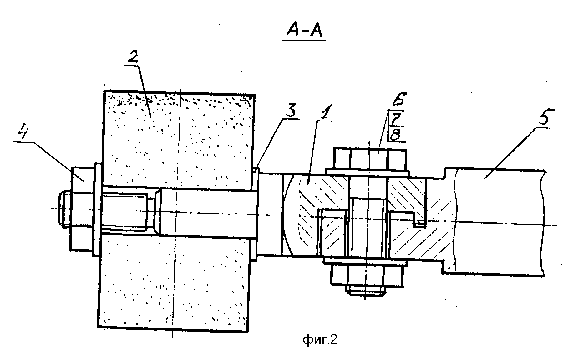
[7]

Сущность изобретения поясняется чертежами. На фиг.1 приведена конструкция устройства с нулевым углом наклона шлифовального круга; на фиг.2 сечение А-А на фиг.1; на фиг. 3 конструкция с максимальным углом наклона шлифовального круга.

[8]

Устройство для крепления шлифовального круга состоит из оправки 1 с цилиндрической шейкой на переднем конце под шлифовальный круг 2, двух съемных фланцев 3 и гайки 4. Задний конец оправки имеет плоскость разъема параллельную оси оправки, круговые направляющие R и R1 (фиг.1) и профрезерованный паз для крепления. Оправка сопрягается со шпинделем 5, имеющим ответные плоскость разъема параллельную оси шпинделя и круговые направляющие R и R1, плоскостью разъема и крепится резьбовым соединением с помощью крепежных деталей: болта 6, шайб 7 и гайки 8. Причем центр кривизны круговых направляющих R и R1 оправки и шпинделя совпадает со средним сечением шлифовального круга 0, а угол наклона шлифовального круга, или что тоже; угол осцилляции аксиально смещенного режущего слоя шлифовального круга 2, устанавливается по шкале 9 и нониусу 10, нанесенными соответственно на шпинделе 5 оправке 1.

[9]

С введением угла наклона шлифовального круга появляется дисбаланс, который устраняется балансировочным грузиком 11, закрепленным в пазу плоской передней части шпинделя с помощью болта 12, шайб 13 и гайки 14.

[10]

Сборку и регулировку устройства для крепления шлифовального круга осуществляют с следующей последовательности.

[11]

Новый шлифовальный круг 2 закрепляют на оправке 1 с помощью гайки 4 и дух фланцев 3, причем установку шлифовального круга средним сечением в центр 0 кривизны круговых направляющих R и R1 оправки производят подбором толщины фланца 3. Собранную оправку закрепляют на шпинделе 5 болтом 6 и гайкой 8 под углом α, величину которого определяют по шкале 9 шпинделя. Перед обработкой производят правку круга и балансировку путем подбора балансировочного грузика 11 и крепления последнего болтом 12, шайбой 13 и гайкой 14. Для изменения угла наклона шлифовального круга достаточно отпустить гайку 8 и повернуть оправку относительно шпинделя и центра 0 кривизны круговых направляющих, а затем закрепить гайку 8, произвести правку круга и балансировку.

[12]

Устройство для крепления шлифовального круга работает следующим образом.

[13]

За полооборота шпинделя и шлифовального круга зона резания "b"-"c" (фиг. 3), находящаяся на его периферии перемещается в положение "b"1-"c"1, за вторые полооборота она возвращается в исходное положение. Следовательно, за полный оборот шпинделя с шлифовальным кругом все его периферийные точки зоны резания совершат перемещение вдоль оси вращения, равное величине амплитуды Am.

[14]

Предлагаемое техническое решение позволяет плавно регулировать угол наклона шлифовального круга, обеспечивая аксиальное смещение зоны резания, которое в свою очередь предотвращает прижеги и появление микротрещин, увеличивает стойкость и улучшает самозатачиваемость инструмента; упростить конструкцию крепления шлифовального круга, удешевить в изготовлении и сделать ее надежной в эксплуатации; использовать шлифовальные круги малых диаметров (например: ⌀ 10.80 мм) при шлифовании малых отверстий; увеличить производительность с одновременным улучшением качества за счет повышения режимов обработки благодаря применению более твердых кругов, использование которых способствует аксиальное смещение режущего слоя и переход в режим прерывистого резания.

Как компенсировать расходы
на инновационную разработку
Похожие патенты