Полезная модель относится к области светотехники, в частности к электронным средствам, используемым для управления работой светодиодных светильников наружного освещения, объединенных в сеть. Техническим результатом является расширение арсенала средств подобного назначения при создании устройства, обеспечивающего передачу управляющего сигнала драйверам светильников, имеющих как цифровое, так и аналоговое управление. Результат достигается тем, что модуль управления светодиодным светильником наружного освещения включает функциональные элементы, представляющие собой центральный процессор (2), приемопередатчик (1), выполненный с возможностью передачи данных на удаленный сервер и поддержку беспроводных mesh-сетей, ГЛОНАСС/GPS приемник (3), первый драйвер (5) цифрового управления по протоколу ШИМ/DALI и второй драйвер (6) аналогового управления по протоколу 0-10 V, также переключатель (4) протоколов цифрового управления ШИМ/DALI. Входы приемопередатчика (1) предназначены для приема пакетов команд и для их обработки центральным процессором с возможностью формирования управляющего сигнала на соответствующий вход первого драйвера (5) управления или второго драйвера (6) управления, центральный процессор (2) выполнен с возможностью опроса первого драйвера управления о типе поддерживаемого протокола управления ШИМ или DALI и регистрации кода о выбранном типе протокола, при этом первый выход центрального процессора (2) через упомянутый переключатель (4) связан с входом первого драйвера (5) для выдачи управляющего сигнала на вход цифрового драйвера светильника в соответствии с кодом о выбранном типе протокола управления, второй выход центрального процессора (2) связан с входом второго драйвера (6), предназначенного для выдачи управляющего сигнала на вход аналогового драйвера управления. Указанные функциональные элементы размещены в корпусе, выполненном согласно спецификации Zhaga, характеризующей механический интерфейс, обеспечивающий соединение со светодиодным светильником. 1 ил.
Модуль управления светодиодным светильником наружного освещения, включающий функциональные элементы, представляющие собой центральный процессор, приемопередатчик, выполненный с возможностью передачи данных на удаленный сервер и поддержку беспроводных mesh-сетей, ГЛОНАСС/GPS приемник, первый драйвер цифрового управления по протоколу ШИМ/DALI и второй драйвер аналогового управления по протоколу 0-10 V, также переключатель протоколов цифрового управления ШИМ/DALI, причем указанные функциональные элементы соединены соответствующими каналами передачи данных через соответствующие входы/выходы, предназначенные для передачи и приема информационно-электрических сигналов, а схема соединения указанных элементов предусматривает алгоритм приёма/передачи/распределения информационно-электрических сигналов, при этом входы приемопередатчика предназначены для приема пакетов команд и для их обработки центральным процессором с возможностью формирования управляющего сигнала на соответствующий вход первого драйвера управления или второго драйвера управления, центральный процессор выполнен с возможностью опроса первого драйвера управления о типе поддерживаемого протокола управления ШИМ или DALI и регистрации кода о выбранном типе протокола, при этом первый выход центрального процессора через упомянутый переключатель связан с входом первого драйвера для выдачи управляющего сигнала на вход цифрового драйвера светильника в соответствии с кодом о выбранном типе протокола управления, второй выход центрального процессора связан с входом второго драйвера, предназначенного для выдачи управляющего сигнала на вход аналогового драйвера управления; указанные функциональные элементы размещены в корпусе, выполненном согласно спецификации Zhaga, характеризующей механический интерфейс, обеспечивающий соединение со светодиодным светильником.
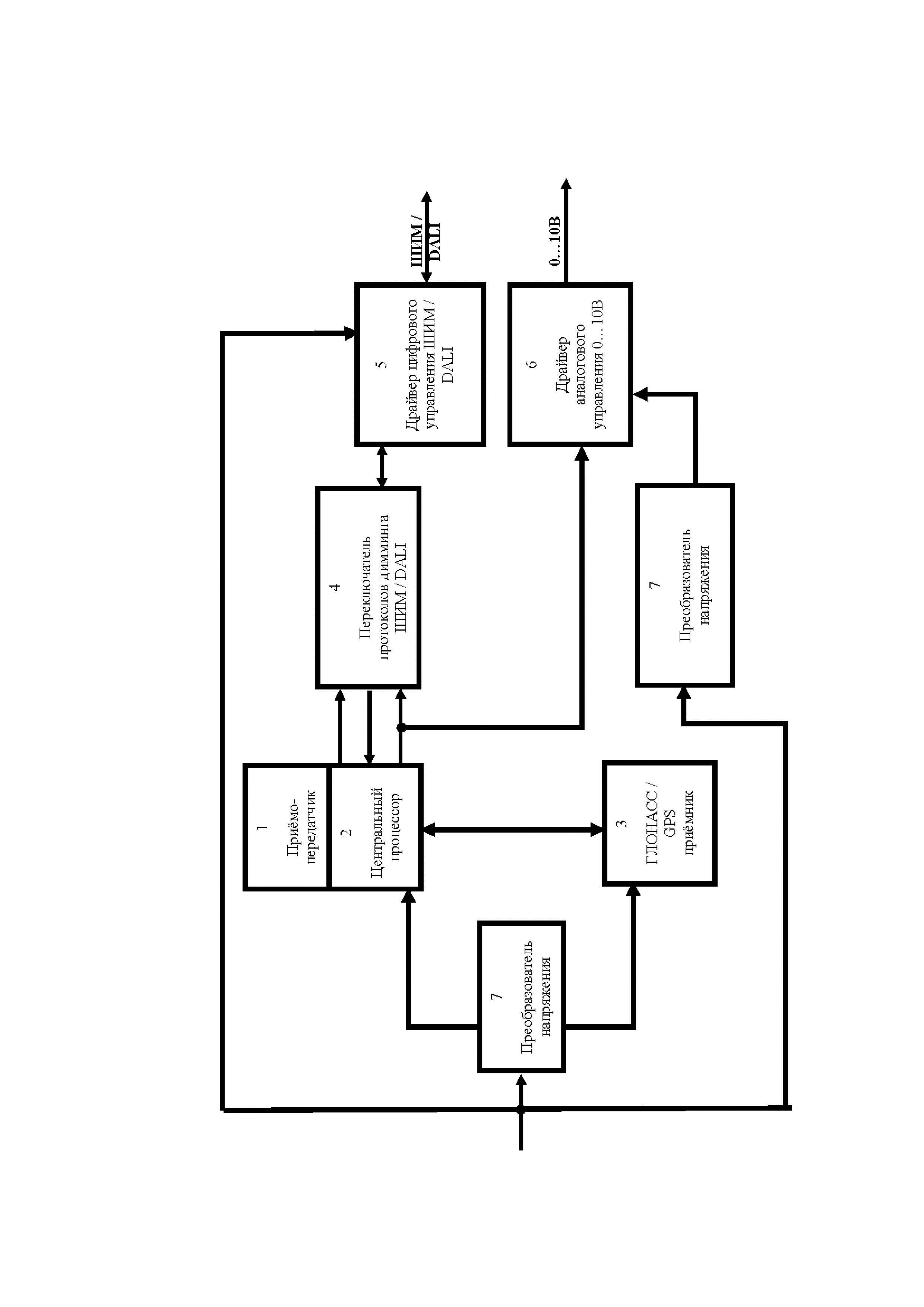
Полезная модель относится к области светотехники, в частности к электронным средствам, используемым для управления работой светодиодных светильников наружного освещения, объединенных в сеть. Одной из технических проблем в данной области является создание модуля управления, использующего аналоговый или цифровой протоколы передачи управляющего сигнала. Это связано с сохранением популярности передачи информации (сигналов) с использованием аналоговых каналов связи. Из уровня техники известны следующие средства того же назначения, что и предлагаемая полезная модель. Из патентного документа CN 110191545 известен модуль беспроводного управления светильником, предназначенный для управления световым потоком осветительного прибора. Такой модуль включает корпус, выполненный согласно спецификации Zhaga, характеризующей механический интерфейс между светодиодным светильником освещения и модулем управления, также блок управления для формирования управляющего сигнала, модуль связи Zigbee, выполненный с возможностью формирование сигнала диммирования по протоколу DALI согласно инструкции управления и предназначенный для обмена информацией между модулем управления и удаленным сервером. В патенте RU 205008 (выбран в качестве ближайшего аналога) раскрыт модуль беспроводного управления светильником, включающий корпус типа NEMA с разъемом, при этом модуль управления выполнен с возможностью приема и передачи информации между вычислительными блоками, входящими в модуль управления, и серверной частью автоматизированной системы управления наружным освещением. Кроме того, модуль управления содержит модем mesh-сети для связи с удаленным сервером. Каждый из раскрытых выше модулей управления при совершенствовании возможности передачи данных за счет использования модема mesh-сети, не приспособлен для использования аналогового канала связи для управления светильником. Техническая проблема, решаемая предлагаемой полезной моделью, заключается в расширении арсенала средств подобного назначения при создании устройства, обеспечивающего передачу управляющего сигнала драйверам светильников, имеющих как цифровое, так и аналоговое управление. Полезная модель представляет собой модуль управления светодиодным светильником наружного освещения включает функциональные элементы, представляющие собой центральный процессор, приемопередатчик, выполненный с возможностью передачи данных на удаленный сервер и поддержку беспроводных mesh-сетей, ГЛОНАСС/GPS приемник, первый драйвер цифрового управления по протоколу ШИМ/DALI и второй драйвер аналогового управления по протоколу 0-10 V, также переключатель протоколов цифрового управления ШИМ/DALI. Функциональные элементы соединены соответствующими каналами передачи данных через соответствующие входы/выходы, предназначенные для передачи и приема информационно-электрических сигналов, а схема соединения указанных элементов предусматривает алгоритм приема/передачи/распределения информационно-электрических сигналов, при этом входы приемопередатчика предназначены для приема пакетов команд и для их обработки центральным процессором с возможностью формирования управляющего сигнала на соответствующий вход первого драйвера управления или второго драйвера управления, центральный процессор выполнен с возможностью опроса первого драйвера управления о типе поддерживаемого протокола управления ШИМ или DALI и регистрации кода о выбранном типе протокола, при этом первый выход центрального процессора через упомянутый переключатель связан с входом первого драйвера для выдачи управляющего сигнала на вход цифрового драйвера светильника в соответствии с кодом о выбранном типе протокола управления, второй выход центрального процессора связан с входом второго драйвера, предназначенного для выдачи управляющего сигнала на вход аналогового драйвера управления. Указанные функциональные элементы размещены в корпусе, выполненном согласно спецификации Zhaga, характеризующей механический интерфейс, обеспечивающий соединение со светодиодным светильником. Сущность полезной модели раскрывается следующим образом. Центральный процессор обрабатывает полученные от шлюза передачи данных или другого модуля управления посредством приемопередатчика радиосигнала команды и формирует сигнал, который в зависимости от подключенного к модулю драйвера светильника передается на первый драйвер цифрового управления или на второй драйвер аналогового управления. Указанные драйверы управления, в свою очередь, формируют и передают соответствующие управляющие сигналы на вход того или иного драйвера светильника. Передачу управляющего сигнала от центрального процессора к соответствующему драйверу светильника предваряет опрос цифрового драйвера светильника о типе поддерживаемого протокола управления: ШИМ или DALI. Результатом такого опроса является соответствующий код о выбранном типе протокола управления, который регистрирует центральный процессор. Согласно схеме соединения функциональных элементов, центральный процессор с использованием кода о выбранном типе протокола управления выдает соответствующий сигнал через переключатель протоколов управления ШИМ/DALI на вход первого драйвера, который передает его непосредственно на драйвер светильника. В схеме соединения функциональных элементов предусмотрена передача информации о состоянии драйвера светильника, поддерживающего интерфейс управления по протоколу DALI, посредством связи первого драйвера через упомянутый переключатель с входом центрального процессора для выдачи указанной информации. В том случае, если управляемый модулем драйвер светодиодного светильника поддерживает аналоговый интерфейс управления (0-10 V), драйвер аналогового управления обеспечивает только передачу управляющих сигналов на драйвер светильника без обратной связи. Так, связь центрального процессора (второй выход указанного процессора) с входом драйвера аналогового управления обусловливает возможность передачи соответствующего сигнала на вход драйвера светильника, поддерживающего протокол 0-10 V. При подключении драйвера, поддерживающего аналоговый протокол управления, такому драйверу передается соответствующий сигнал. ГЛОНАСС/GPS приемник обеспечивает автоматизированную - вне зависимости от состояния сети - работу путем расчета времени включения/выключения светильника согласно времени захода/восхода солнца в том или ином местонахождении светильника. При этом благодаря связи ГЛОНАСС/GPS приемника с центральным процессором обеспечивается передача данных о точном времени и координатах местоположения светильника. Входящие в схему функциональные элементы размещены в корпусе, имеющем разъем, и выполненном согласно спецификации Zhaga, а именно: Book 18 Ed. 1.0, которая характеризует механический интерфейс между светодиодными светильниками для наружного освещения и модулями управления. Следует отметить, что консорциум Zhaga специализируется на разработке спецификаций для интерфейса, который позволит использовать светодиодные источники освещения от различных поставщиков на взаимозаменяемой основе, без необходимости конструктивных изменений светильника. Предлагаемый модуль управления светодиодным светильником наружного освещения, характеризующийся корпусом минимальных размеров, обладающим надежностью с точки зрения обеспечения герметичности, а также функциональными элементами, размещенными в данном корпусе, расширяет линейку известных средств подобного назначения за счет унификации, предусматривающей возможность управления светильниками с цифровым и аналоговым управлением при обеспечении стандартизованного подключения к светильникам. Пример реализации устройства иллюстрирует структурная схема соединения функциональных блоков (изображена на фигуре). Модуль управления представляет собой электронное устройство, размещенное в пластиковом корпусе Zhaga и подключаемое к светильнику посредством специализированного разъема. В корпусе, выполненном в форм-факторе Zhaga, с разъемом установлены функциональные элементы: 1 - приемопередатчик радиосигнала; 2 - центральный процессор; 3 - ГЛОНАСС/GPS приемник; 4 - переключатель протоколов диммнига ШИМ/DALI; 5 - драйвер цифрового управления ШИМ/DALI (первый драйвер); 6 - драйвер аналогового управления 0-10 V (второй драйвер); 7 - преобразователи напряжения. Корпус имеет диаметр, который составляет 30 мм, что существенно сокращает размеры по сравнению с существующим стандартом С136.41- 2013 организаций ANSI/NEMA. Центральный процессор 2 обеспечивает формирование управляющего сигнала и посредством связи данного блока 2 и приемопередатчика 1 - передачу такого сигнала на драйвер светильника для регулирования светового потока светильника согласно режиму работы данного светильника. Приемопередатчик 1 обеспечивает прием пакета команд от любого другого модуля управления объединенного в сеть светильника, представляющих собой команды: «включить», «выключить», «изменить световой поток». Добавлено примечание ([11]): Из Требований Роспатента: если устройство содержит элемент, охарактеризованный на функциональном уровне, и описываемая форма реализации предполагает использование программируемого (настраиваемого) многофункционального средства, представляются сведения, подтверждающие возможность выполнения таким средством конкретной предписываемой ему в составе данного устройства функции: в случае если в числе таких сведений приводится алгоритм, в частности вычислительный, его предпочтительно представлять в виде блок-схемы, или, если это возможно, соответствующего математического выражения. То есть далее в описании возможность промышленной применимости раскрывается с указанием на модель/тип/производителя каждого (желательно) функционального элемента. Для примера ниже фрагмент описания электронного устройства. На основании передаваемого центральным процессором 2 управляющего сигнала о типе выбранного светильника, переключатель 4 срабатывает для связи с драйвером 5, первый выход которого предназначен для передачи управляющего сигнала. Функция приемопередатчика радиосигнала предусматривает ретрансляцию команд другим модулям управления, обеспечивая тем самым формирование mesh-сети передачи данных. Прием и передача данных при этом осуществляется в нелицензируемом радиочастотном диапазоне 868,7…869,2 МГц. Центральный процессор выполнен на основе Системы-на-Кристалле СС1310 (Производитель TI). ГЛОНАСС/GPS приемник 3 представляет собой LC86L (Производитель Quectel). Переключатель протоколов ШИМ/DALI 4 выполнен на базе микросхемы LTV-356Т-С (Производитель Lite-ON). Драйвер 5 цифрового управления ШИМ/DALI - микросхема PBSS4350T (Производитель NXP). Драйвер 6 аналогового управления 0-10 V - микросхема TS321 (Производитель ST). Все функциональные элементы, входящие в состав модуля управления, обеспечиваются соответствующим питанием посредством преобразователей напряжения 7. Предлагаемая полезная модель, обладающая указанными выше преимуществами, связанными с управлением светильниками, поддерживающим цифровой или аналоговый протоколы управления, обеспечивает формирование mesh сети передачи данных в нелицензируемом радиочастотном диапазоне 868,7... 869,2 МГц. Указанная сеть передачи данных таким образом формируется между модулями управления светильниками и шлюзами передачи данных.