патент
№ RU 2088693
МПК C25B9/08

УСТАНОВКА ДЛЯ ПОЛУЧЕНИЯ ПРОДУКТОВ АНОДНОГО ОКСИЛЕНИЯ РАСТВОРА ХЛОРИДОВ ЩЕЛОЧНЫХ ИЛИ ЩЕЛОЧНО-ЗЕМЕЛЬНЫХ МЕТАЛЛОВ

Авторы:
Задорожний Юрий Георгиевич
Правообладатель:
Все (2)
Номер заявки
96102410/25
Дата подачи заявки
09.02.1996
Опубликовано
27.08.1997
Страна
RU
Как управлять
интеллектуальной собственностью
Чертежи 
2
Реферат

[65]

Изобретение относится к устройствам для диафрагменного электролиза растворов хлоридов щелочных и щелочноземельных металлов и может быть использовано как для получения продуктов электролиза, так и в процессах очистки и обеззараживания воды. Сущность изобретения: в установке для получения продуктов анодного окисления раствора хлорида, содержащей как минимум одну электрохимическую ячейку с размещенными в ней вертикальными коаксиальными цилиндрическим катодом и стержневым анодом, межэлектродное пространство между которыми разделено цилиндрической диафрагмой из керамики на анодную и катодную камеры, причем ввод и вывод камер расположены соответственно в нижней и верхней частях ячейки и соединены с контурами циркуляции раствора в камерах и приспособлениями для отвода продуктов, диафрагма выполнена из керамики на основе смеси оксидов циркония, алюминия и иттрия, узел подачи исходного раствора хлорида щелочного или щелочноземельного металла соединен с нижней точкой циркуляционного анодного контура и снабжен системой поддержания заданного давления в анодном циркуляционном контуре, циркуляционный анодный контур снабжен емкостью, которая расположена над ячейкой на расстоянии от вывода анодной камеры ячейки в пределах от 0,5 до 2,0 длины анодной камеры, причем объем емкости равен 20 - 100 объемов анодной камеры ячейки или суммарного объема анодных камер используемых ячеек, и в верхней своей части емкость снабжена устройством для поддержания постоянного уровня анолита в емкости и приспособлением для дозированного выпуска электролизных газов из емкости при сохранении постоянного давления в циркуляционном контуре анолита. Циркуляционный контур катодной камеры также снабжен емкостью, которая расположена между выводом катодной камеры и емкостью анодного циркуляционного контура, имеет объем от 30 до 200 объемов катодной камеры электрохимической ячейки (или суммарного объема катодных камер нескольких ячеек) и снабжена устройством для отвода смеси жидких и газообразных продуктов из катодной камеры, выполненным в виде штуцера, установленного в верхней части емкости. Установка также снабжена средствами для параллельного гидравлического соединения требуемого количества ячеек и может содержать смеситель, соединенный с газовым выводом анодного циркуляционного контура и с жидкостным выводом газоотделителя катодного контура, а также с источником воды. Патентуются также формы выполнения анода и диафрагмы. 11 з.п.ф-лы, 2 ил., 1 табл.

Формула изобретения

1. Установка для получения продуктов анодного окисления раствора хлорида, содержащая как минимум одну электрохимическую ячейку с размещенными на ней цилиндрическими катодом и анодом и установленной между ними диафрагмой из керамики, разделяющей межэлектродное пространство на анодную и катодную электродные камеры, ввод и вывод которых соединены с контурами циркуляции раствора в камерах и приспособлениями для отвода продуктов электролиза, узел подачи исходного раствора, соединенный с циркуляционным контуром анодной камеры, отличающаяся тем, что электрохимическая ячейка выполнена из вертикальных коаксиальных внешнего катода, внутреннего анода и диафрагмы, выполненной из керамики на основе смеси оксидов циркония и алюминия, ввод и вывод электродных камер ячейки расположены соответственно в нижней и верхней ее частях, узел подачи исходного раствора соединен с анодным циркуляционным контуром в точке, в которой гидростатическое давление заполненного контура является максимальным, и снабжен системой поддержания давления в анодном циркуляционном контуре, циркуляционный анодный контур снабжен емкостью, которая расположена над ячейкой на расстоянии от выходного отверстия анодной камеры ячейки в пределах 0,5 2,0 высоты анодной камеры, причем объем емкости равен 20 100 объемов анодной камеры ячейки или суммарного объема анодных камер ячеек и в верхней своей части емкость снабжена устройством для поддержания постоянного уровня анолита и устройством для дозированного выпуска электролизных газов из емкости при сохранении постоянного давления в циркуляционном контуре анолита, катодный циркуляционный контур также снабжен емкостью, которая расположена между выводом катодной камеры и емкостью анодного циркуляционного контура и имеет объем 30 200 объемов катодной камеры электролитической ячейки или суммарного объема катодных камер всех ячеек, и снабжена устройством для отвода смеси жидких и газообразных продуктов из катодной камеры, расположенным в верхней части емкости катодного циркуляционного контура и соединенным с газоотделителем, и установка содержит средства для гидравлического параллельного соединения нескольких ячеек.

2. Установка по п.1, отличающаяся тем, что устройство для отвода смеси жидких и газообразных продуктов из катодной камеры выполнено в виде штуцера.

3. Установка по пп.1 и 2, отличающаяся тем, что она дополнительно содержит источник воды и смеситель, соединенный с источником воды, жидкостным выводом газоотделителя и газовым выводом устройства для дозированного вывода электролизных газов из емкости анодного контура.

4. Установка по пп.1 3, отличающаяся тем, что высота катода составляет 150 240 мм, межэлектродное расстояние равно 2,8 3,3 мм.

5. Установка по пп. 1 4, отличающаяся тем, что анод выполнен в виде стержня, причем диаметр его концевых частей составляет не более 0,75 диаметра его средней части, диаметр средней части анода определяется соотношением
2МЭР < D < МЭР,
где D диаметр средней части анода, мм;
МЭР межэлектродное расстояние, мм,
и высота средней части анода больше высоты катода не менее чем на величину 2МЭР.

6. Установка по пп.1 5, отличающаяся тем, что анод выполнен полым.

7. Установка по пп.1 6, отличающаяся тем, что диафрагма выполнена из керамики на основе оксидов циркония, алюминия и содержит добавки оксида иттрия, и/или оксида ниобия, и/или оксида тантала, и/или оксида титана, и/или оксида гадолиния, и/или оксида гафния.

8. Установка по пп. 1 7, отличающаяся тем, что диафрагма выполнена ультра- или нанофильтрационной.

9. Установка по пп.1 8, отличающаяся тем, что диафрагма выполнена цилиндрической с толщиной стенок 0,4 0,7 мм.

10. Установка по пп. 1 9, отличающаяся тем, что наружная поверхность диафрагмы выполнена цилиндрической, а внутренняя конусообразной с величиной конусности 1 100 1000, при этом толщина стенок у одного торца составляет 0,4 0,5 мм, а у другого 0,7 0,8 мм, и торец с более толстыми стенками обращен вниз.

11. Установка по пп.1 10, отличающаяся тем, что внутренняя поверхность диафрагмы выполнена цилиндрической, а наружная конусоообразной с величиной конусности 1 100 1000, при этом толщина стенок у одного торца составляет 0,4 0,5 мм, а у другого 0,7 0,8 мм, и торец с более толстыми стенками обращен вниз.

12. Установка по пп.1 11, отличающаяся тем, что наружная и внутренняя поверхности диафрагмы выполнены в виде усеченных конусов с величиной конусности 1 100 1000, причем конусы вершинами направлены в разные стороны и толщина стенок у одного торца составляет 0,4 0,5 мм, а у другого 0,7 0,8 мм, и торец с более толстыми стенками обращен вниз.

Описание

[1]

Изобретение относится к химической технологии, в частности к устройствам для диафрагменного электролиза растворов хлоридов щелочных и щелочноземельных металлов и получения газообразных продуктов электролиза, таких как хлор и кислород, и может быть использовано, например, в процессах очистки и обеззараживания воды.

[2]

В прикладной электрохимии широко известно применение диафрагменных электролизов для получения продуктов анодного окисления при электролизе водных растворов хлоридов щелочных или щелочноземельных металлов.

[3]

Наиболее широкое распространение получили электролизеры с диафрагмами на основе асбеста [1]
Недостатком асбестовых диафрагм является сравнительно невысокий срок службы, изменение их характеристик во времени, что требует применения специальных мер для поддержания стабильных характеристик электролиза, заключающихся в применении специальных добавок в питающем рассоле, в изменении уровня анолита по отношению к уровню католита и другие. Однако положительное действие таких приемов также непродолжительно и требует в конечном итоге замены диафрагмы.

[4]

Недостатком асбестовых диафрагм является невысокая чистота получаемых продуктов.

[5]

В последние десятилетия все более широкое распространение получает метод электролиза раствора хлоридов щелочных металлов с использованием в качестве разделительной перегородки ионообменных мембран [2] Применение мембран позволяет получать продукты с высокой степенью чистоты.

[6]

Однако использование ионообменных мембран требует тщательной очистки рассола, что ведет к дополнительным затратам. Также сравнительно велик расход энергии на проведение процесса.

[7]

Наиболее близким по технической сути является установка для получения продуктов анодного окисления, в том числе и газообразных, содержащая нерастворимые при электролизе электроды, разделенные на электродные камеры цилиндрической керамической диафрагмой, выполненной, например, из неглазурованного фарфора [3] Установка также содержит приспособления для обеспечения циркуляции обрабатываемых растворов в электродных камерах и средства для удаления продуктов. Это техническое решение принято в качестве прототипа.

[8]

Положительные свойства керамических диафрагм известны. Так, например, указывается на их стойкость, стабильность размеров, однако отмечается, что используются они только в лабораторных электролизерах, а в промышленных не применяются и вытеснены другими видами диафрагм, например мипластовыми [4]
Таким образом, известно решение, использующее диафрагму со стабильными характеристиками, имеет следующие недостатки: сложность, незначительная производительность, высокие энергозатраты.

[9]

Целью изобретения является упрощение конструкции установки и обеспечение возможности получения газообразных продуктов электролиза водного раствора хлорида щелочного или щелочноземельного металла с высоким выходом по току при снижении расхода электроэнергии, повышение ресурса работы установки, а также обеспечение возможности установок различной производительности за счет компоновки требуемого количества ячеек с минимальными затратами времени и пространства и расширения функциональных возможностей установки за счет обеспечения возможности получения целевого продукта как в виде смеси газов, так и в виде водных растворов окислителей.

[10]

Цель достигается тем, что в установке для получения продуктов анодного окисления раствора хлорида, содержащей как минимум одну электрохимическую ячейку с размещенными в ней коаксиальными анодом и катодом из нерастворимого при электролизе материала, межэлектродное пространство между которыми разделено цилиндрической диафрагмой из керамики на электродные анодную и катодную камеры, приспособления для подачи и вывода обрабатываемого раствора из камер, соединенные с контурами циркуляции раствора в камерах, приспособления для отвода продуктов электролиза, ячейка выполнена из вертикальных коаксиальных внешнего электрода катода, внутреннего электрода - анода и диафрагмы, выполненной из керамики на основе смеси оксидов циркония, алюминия и иттрия, ввод и вывод электродных камер ячейки расположены соответственно в ее нижней и верхней частях, узел подачи исходного раствора хлорида щелочного или щелочноземельного металла соединен с нижней частью циркуляционного контура камеры в такой его точке, гидростатическое давление заполненного контура которой является максимальным, и узел снабжен системой поддержания заданного давления в анодном циркуляционном контуре, циркуляционный анодный контур снабжен емкостью, которая расположена над ячейкой на расстоянии от вывода анодной камеры ячейки в пределах от 0,5 до 2,0 длины анодной камеры, причем объем емкости равен 20 100 объемов анодной камеры ячейки или суммарного объема анодных камер используемых ячеек, и в верхней своей части емкость снабжена устройством для поддержания постоянного уровня анолита в емкости, а также устройством для дозированного выпуска электролизных газов из емкости при сохранении постоянного давления в циркуляционном контуре анолита. Циркуляционный контур катодной камеры также снабжен емкостью, которая расположена между выводом катодной камеры и емкостью анодного циркуляционного контура, и имеет объем от 30 до 200 объемов катодной камеры электрохимической ячейки (или суммарного объема катодных камер нескольких ячеек), и снабжена устройством для отвода смеси жидких и газообразных продуктов из катодной камеры, выполненным в виде штуцера в верхней части емкости, которое соединено с газоотделителем. Установка также снабжена средствами для параллельного гидравлического соединения требуемого количества ячеек.

[11]

Установка также может содержать смеситель, соединенный с помощью специальных линий с регулирующей арматурой с источником воды, а также с жидкостным выводом газоотделителя катодного контура и с устройством для дозированного выпуска газов из емкости анодного контура.

[12]

В ячейке анод выполнен в виде стержня, имеющего цилиндрическую среднюю часть и более тонкие цилиндрические концевые части, диаметр средней части анода определяется соотношением
2МЭР<D<4МЭР,
где D диаметр средней части анода, мм;
МЭР межэлектродное расстояние, мм,
а диаметр его концевых частей составляет не более чем 0,75 диаметра его средней части.

[13]

Длина средней части анода больше длины катода не менее чем на величину 2МЭР. Величина межэлектродного расстояния предпочтительно составляет 2,8 3,3 мм.

[14]

Длина катода и длина ячейки выбирается исходя из конкретных требований и условий решаемой задачи и изменяется в пределах 150 240 мм.

[15]

Электродные материалы выбираются из числа известных, исходя из условий решаемой задачи и требований к конструкции устройства, в котором используются ячейки. В качестве анодных материалов могут использоваться титановые электроды с покрытием из смеси диоксида рутения и диоксида титана (ОРТА) или титановые электроды с покрытием из благородных металлов, с покрытиями из оксидов марганца, олова, кобальта. В качестве катодных материалов могут использоваться полированные титан, тантал или цирконий, покрытие пирографитом или стеклоуглерод и другие. Могут применяться титановые электроды с покрытием из платины или с платино-иридиевым покрытием, а также различные сочетания перечисленных материалов и другие, известные в прикладной электрохимии.

[16]

Диафрагма электрохимической ячейки выполнена из керамики на основе оксидов циркония, алюминия и иттрия и может содержать добавки таких оксидов, как оксид ниобия, тантала, титана, гадолиния, гафния и др. В зависимости от требований к ячейке, ее диафрагма может быть выполнена ультра- или нанофильтрационной. Форма диафрагмы может быть различной. Так, диафрагма может быть выполнена таким образом, что одна поверхность диафрагмы (наружная или внутренняя) может быть выполнена цилиндрической, а другая (соответственно внутренняя или наружная) конусообразной с величиной конусности 1: (100 - 1000), при этом толщина стенок у одного торца составляет 0,4 0,5 мм, а у другого 0,7 0,8 мм, и диафрагма установлена в ячейке таким образом, что торец с более толстыми стенками обращен вниз. Наружная и внутренняя поверхности диафрагмы также могут быть выполнены в виде усеченных конусов с величиной конусности 1:(100 1000), причем конусы вершинами направлены в разные стороны и толщина стенок у одного торца составляет 0,4 0,5 мм, а у другого 0,7 0,8 мм, и диафрагма установлена в ячейке таким образом, что торец с более толстыми стенками обращен вниз, или внутренняя и наружная поверхности диафрагмы выполнены цилиндрическими, при этом толщина стенок составляет 0,4 0,7 мм. Отклонение же от геометрически правильной поверхности диафрагмы в любой точке ее поверхности составляет не более 0,1 мм.

[17]

Анод может быть выполнен в виде одной сплошной детали или может быть выполнен полым внутри, составным из нескольких деталей, которые выполняются из одного или разных материалов и соединяются между собой при помощи различных методов (в зависимости от материала): сварка лучом лазера, вакуумная сварка, механическое соединение и т.п.

[18]

Длина средней части анода с большим диаметром превышает длину катода на величину не менее, чем удвоенное межэлектродное расстояние, при этом анод установлен в ячейке симметрично относительно катода.

[19]

Данная совокупность признаков позволяет решить поставленную задачу и добиться достижения положительного результата.

[20]

Использование коаксиальных электродов и диафрагмы позволяет обеспечить оптимальный гидравлический режим и упростить сборку. Кроме того, применение коаксиальных электродов позволяет интенсифицировать целевой процесс, так как электролиз проводится при различных плотностях тока на катоде и аноде.

[21]

Подача исходного раствора хлорида щелочного или щелочноземельного металла в нижнюю часть циркуляционного контура анодной камеры, в точке с максимальным гидростатическим давлением заполненного контура, позволяет производить подпитку ячейки раствором без нарушения установившегося режима циркуляции за счет газлифта, так как свежий раствор вводится в ту часть контура, где находится дегазированный раствор. Кроме того, незначительное снижение температуры при введении свежего раствора именно в нижней части также улучшает циркуляцию за счет температурного перепада.

[22]

Циркуляционный анодный контур снабжен емкостью, которая расположена над ячейкой на расстоянии от выходного отверстия анодной камеры ячейки в пределах от 0,5 до 2,0 длины анодной камеры, причем объем жидкости равен 20 100 объемов анодной камеры ячейки или суммарного объема анодных камер используемых ячеек. Размещение емкости ниже и выполнение ее с меньшим объемом ухудшает условия циркуляции, так как появляется возможность увлечения с потоком газовых пузырьков электролизных газов, что снижает эффективность процесса электролиза, увеличивает энергозатраты на процесс.

[23]

Размещение емкости выше и увеличение объема сверх пределов, указанных в формуле, также ухудшает процесс циркуляции, так как увеличивается гидравлическое сопротивление системы и подъемной силы газонаполненного электролита недостаточно для его преодоления.

[24]

Для поддержания процесса электролиза в оптимальном режиме необходимо поддержание постоянного давления в анодной камере и, соответственно, в циркуляционном контуре анодной камеры. Для этого узел подачи раствора, приспособление для дозированного отбора части газообразных продуктов электролиза снабжены системами автоматического поддержания заданного давления в анодном циркуляционном контуре. Кроме того, в верхней части емкость анодного контура снабжена устройством для поддержания постоянного уровня анолита в емкости, что позволяет автоматизировать процесс работы ячейки, обеспечить автоматизированный подвод рассола, а также отвод газов.

[25]

Объем емкости циркуляционного контура катодной камеры существенно больше, так как объем выделяющегося в катодной камере газа больше и уменьшение его меньше тридцатикратного превышения или увеличение больше чем двухсоткратное превышение ухудшает циркуляцию раствора в контуре. Расположение емкости между выводом катодной камеры и емкостью анодного контура обеспечивает рациональное использование пространства при создании нормальных условий для работы установки. Из емкости катодного контура продукты выводятся в виде газожидкостной смеси, которая потом подается в газоотделитель.

[26]

Снабжение установки специальным смесителем, соединенным с помощью регулирующей арматуры с жидкостным выводом газоотделителя катодного контура и с газовым выводом анодного контура и источником воды, позволяет получать продукцию не только в виде газа, но и/или в виде водных растворов окислителей, состав и характеристики которого определяются количественными потоками продуктов, подаваемых в смеситель. Кроме того, такая же схема может использоваться при обеззараживании или очистке загрязненных вод с использованием предложенной установки. В этом случае загрязненная вода подается в смеситель (на схеме обозначено как источник воды).

[27]

В ячейке анод выполнен в виде стержня переменного сечения и диаметр его средней части определяется соотношением: 2МЭР<D<4МЭР, где МЭР - межэлектродное расстояние, D диаметр средней части анода, а диаметр концевых частей электрода составляет не более 0,75 диаметра его средней части, чем обеспечивается оптимальная гидродинамика, а кроме того, такое выполнение позволяет упростить фиксацию электродов, используя различные конструкции приспособлений для фиксации элементов конструкции ячейки. Выбор средней части анода осуществляется в зависимости от условий решаемой задачи и от требуемого превышения анодной плотности тока над катодной. Увеличение диаметра анода свыше 4 МЭР приводит к увеличению материалоемкости конструкции, увеличению ее габаритов и веса, а также повышению энергозатрат. Снижение меньше чем 2 МЭР приводит к появлению возможных деформаций и усложняет задачу соблюдения соосности электродов, которая напрямую связана с ресурсом работы ячейки, так как несоблюдение соосности приводит к неравномерности межэлектродного расстояния по длине ячейки и создает условия для локальных деформаций и разрушения поверхности электродов.

[28]

Анод может быть выполнен в виде сплошной, литой детали или в виде пустотелого цилиндра с прикрепленными на его концах деталями, обеспечивающими получение требуемой формы электрода. Способы соединения деталей могут быть различными и зависят от применяемых материалов. Могут использоваться как механические, так и другие виды соединений: сварка лучом лазера, вакуумная сварка, обеспечивающие прочность и надежную проводимость. Применение пустотелого анода не только уменьшает вес установки и снижает расход материалов, но и за счет изменения условий формирования поверхностного заряда электрода позволяет снизить расход энергии на электрохимический процесс. Кроме того, анод может выполнять функции стягивающей детали, так как на его концах может быть выполнена резьба для установки шайб и гаек, которые стягивают конструкцию ячейки и обеспечивают ее герметичность, а также фиксируют все элементы конструкции в заданном рабочем положении.

[29]

Диафрагма из керамики на основе смеси оксидов циркония, алюминия и иттрия обладает высокой устойчивостью к действию кислот и щелочей, агрессивных газов и имеет высокий срок службы, легко регенерируется. Введение различных добавок позволяет регулировать свойства поверхности диафрагмы и оказывать направленное воздействие на протекание электрохимического процесса. Таким образом, диафрагма может быть выполнена из различных материалов и выполнена ультрафильтрационной или нанофильтрационной в зависимости от условий решаемой задачи.

[30]

На условия работы ячейки также влияет форма диафрагмы и то, каким образом она установлена в ячейке относительно потока обрабатываемого раствора, протекающего через ячейку.

[31]

Диафрагма может быть выполнена цилиндрической с толщиной стенок по всей длине 0,4 0,7 мм или одна поверхность диафрагмы выполнена цилиндрической, а другая конусообразной с величиной конусности 1:(100 1000), при этом толщина стенок у одного торца составляет 0,4 0,5 мм, а у другого 0,7 0,8 мм, и диафрагма установлена в ячейке таким образом, что торец с более толстыми стенками обращен вниз. Наружная и внутренняя поверхности диафрагмы также могут быть выполнены в виде усеченных конусов с величиной конусности 1:(100 1000), причем конусы вершинами направлены в разные стороны и толщина стенок у одного торца составляет 0,4 0,5 мм, а у другого 0,7 0,8 мм, и диафрагма установлена в ячейке таким образом, что торец с более толстыми стенками обращен вниз.

[32]

Использование цилиндрических диафрагм позволяет упростить процесс монтажа ячеек при достижении высоких производственных показателей.

[33]

Использование диафрагм, в которых одна или обе поверхности выполнены конусными, позволяет добиться постоянства параметров процесса по всей длине ячейки и увеличить таким образом полезное использование электроэнергии, так как с увеличением газосодержания по высоте камер ячейки при ее расширении несколько замедляется скорость движения раствора и количество электричества, проходящее через объем электролита остается сравнительно постоянным. Использование диафрагм с меньшей конусностью не дает нового результата по сравнению с цилиндрическими диафрагмами. При использовании диафрагм с большей конусностью нарушаются условия циркуляции растворов в камерах, и, кроме того, это приводит к необходимости изменять размеры устройства и увеличивать межэлектродное расстояние, что приводит к возрастанию энергозатрат на проведение процесса. К такому же результату приводит увеличение толщины стенок диафрагмы. Уменьшение же размеров толщины стенок диафрагмы, ниже указанных, увеличивают хрупкость диафрагмы, что влияет на срок службы и затрудняет процессы монтажа и демонтажа ячейки. Следует отметить, что точность изготовления диафрагм, в частности отклонение от геометрически правильной поверхности диафрагмы в любой точке ее поверхности должно составлять не более 0,05 мм. В противном случае изменяются условия образования двойного электрического слоя на поверхности диафрагмы и изменяется влияние этого слоя на сопротивление диафрагмы, что нарушает равномерность ее работы по поверхности и ведет к снижению качества обработки растворов.

[34]

Как уже отмечалось выше, существенным является ограничение размеров диаметра средней части анода соотношением: 2МЭР<D<4МЭР, где D диаметр средней части анода, мм, МЭР межэлектродное расстояние, мм. Межэлектродное расстояние предпочтительно составляет 2,8 3,3 мм. При уменьшении этого расстояния вредное влияние на протекание электрохимического процесса оказывают капиллярные эффекты, при увеличении возрастает расход электроэнергии, а при выполнении средней части внутреннего электрода с размерами, выходящими за пределы указанного соотношения, становится невозможным достижение режима самоорганизации массо- и энергообменных процессов, обеспечивающих стабильное протекание электрохимического процесса во времени.

[35]

Кроме того, существенным является то, что длина средней части анода больше длины катода не менее чем на величину 2 МЭР. Такое выполнение позволяет избежать повышенного износа электродов в местах искривления поля, имеющих место на участках изменения диаметра или на участках, находящихся на уровне концов электродов.

[36]

Предпочтительный размер длины катода 150 240 мм, что позволяет в зависимости от особенностей использования создавать устройства требуемой производительности и величины.

[37]

Средства для параллельного гидравлического соединения требуемого количества ячеек могут быть выполнены в виде коллекторов, имеющих подводящий (отводящий) осевой канал и радиальные каналы, обеспечивающие подвод (отвод) обрабатываемого раствора в камеры каждой ячейки, или другие конструкции. Например, могут быть использованы ячейки (патент России N 2042639, кл. C 02 F 1/46, 1992), а также средства для соединения нескольких ячеек для обеспечения требуемой производительности.

[38]

В прикладной электрохимии известно выполнение аппарата из отдельных ячеек [5]
Однако в известном решении используются ячейки с плоскопараллельными электродами сравнительно большой площади, что требует больших затрат для обеспечения постоянства межэлектродного расстояния и стабильности свойств диафрагмы по всей площади. В предложенном решении использование сравнительно небольших цилиндрических ячеек, обладающих высокой производительностью, уменьшает габариты установки и упрощает ее обслуживание.

[39]

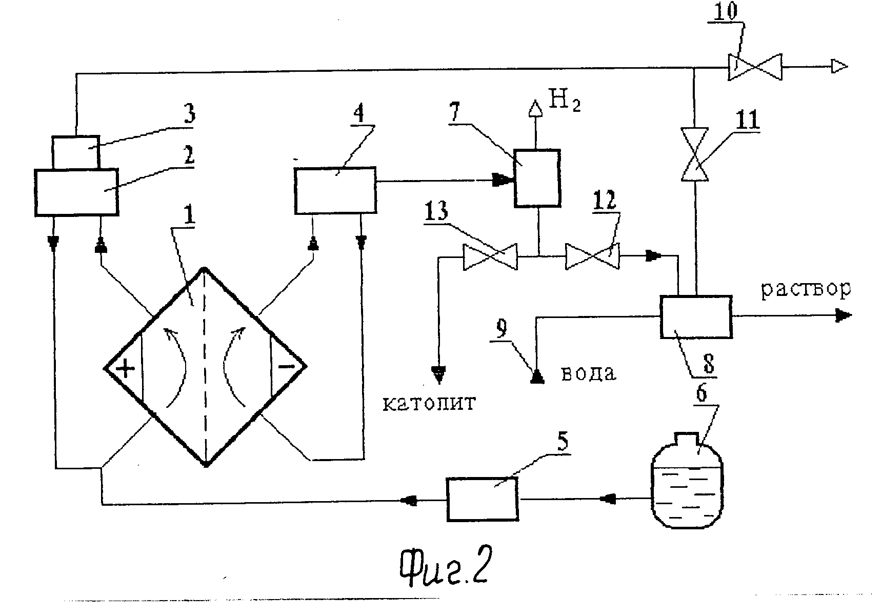
На фиг. 1 показана установка; на фиг.2 вариант выполнения установки, обеспечивающий получение как газообразной смеси, так и раствора окислителей путем растворения полученного газа в воде с возможным регулированием pH получаемого раствора за счет использования щелочи, полученной в катодной камере. Эта же схема может быть использована для очистки или обеззараживания загрязненной воды.

[40]

Установка (фиг.1) содержит электрохимическую ячейку (или блок ячеек) 1, емкость анодного циркуляционного контура 2 с размещенным в ней датчиком уровня анолита (не показан), приспособление 3 для дозированного выпуска газообразной смеси окислителей с сохранением заданного давления в анодном контуре, емкость катодного циркуляционного контура 4 с приспособлением для выпуска избыточной газожидкостной смеси (не показано), насос дозатор рассола 5, соединенный с емкостью для исходного раствора хлорида щелочного или щелочноземельного металла 6 и с нижней частью анодного циркуляционного контура и газоотделитель 7, обеспечивающий отделение образовавшегося в катодной камере водорода от раствора щелочи католита.

[41]

При получении целевого продукта в качестве раствора, установка (фиг.2) дополнительно содержит смеситель 8, соединенный с источником обрабатываемой воды 9 и специальными трубопроводами с линией вывода газообразной смеси окислителей и с жидкостным выводом газоотделителя 7. На специальных трубопроводах установлены вентили 10, 11, 12 и 13. Источник 9 представляет собой или источник чистой воды (для получения растворов окислителей), или источник загрязненной воды (при необходимости использования установки для очистки или обеззараживания загрязненной воды).

[42]

Установка работает следующим образом.

[43]

Катодный циркуляционный контур заполняется водой. Анодный насыщенным раствором хлорида щелочного или щелочноземельного металла. На электроды подается напряжение. После установления процесса в нижнюю часть циркуляционного контура анодной камеры электрохимической ячейки 1 непрерывно и очень медленно, с помощью насоса-дозатора 5, вводят из емкости 6 насыщенный раствор хлорида. Ввод осуществляют в нижней точке циркуляционного контура анодной камеры. Этот раствор циркулирует в анодной камере за счет газлифта: выделяющиеся на аноде газы хлор, диоксид хлора, озон, кислород увлекают за собой жидкость вверх, в емкость 2, где происходит отделение газа от жидкости. Газовая смесь удаляется из верхней части емкости 2 с помощью приспособления 3, обеспечивающего сохранение в системе заданного давления, а жидкость возвращается на вход в анодную камеру. Давление в анодной камере реактора выше, чем в катодной и находится в пределах 0,5 1,3 кгс/см2, что препятствует проникновению гидроксид-ионов из катодной камеры в анодную и тем самым ограничивает растворение выделяющегося на аноде хлора в воде. Ионы натрия под действием перепада давления и за счет электродиффузионного переноса проникают из анодной камеры через диафрагму в катодную камеру, увлекая за собой дополнительное количество воды. Таким образом, в катодной камере циркулирует за счет водородного газлифта концентрированный щелочной раствор (pH>13).

[44]

Избыток этого раствора удаляется из верхней части емкости 4 катодного циркуляционного контура вместе с водородом и поступает в газоотделитель 7, из которого водород и полученная щелочь направляются на утилизацию.

[45]

Расход соли (насыщенного солевого раствора) в реакторе установки минимален в пределах количества раствора, который фильтруется через диафрагму в катодную камеру. Степень разложения соли достигает 95% так как анодный процесс протекает в кислой среде под повышенным давлением.

[46]

На электрохимическую ячейку полается напряжение, обеспечивающее протекание тока в пределах от 5 до 7 А. Ячейка работает при напряжении 3 4 В.

[47]

Установки могут быть использованы для замены традиционных систем хлорирования воды на водоочистных станциях питьевого водоснабжения (вместо баллонов со сжиженным хлором), в системах обеззараживания воды в плавательных бассейнах, для обеззараживания бытовых, сельскохозяйственных и промышленных сточных вод.

[48]

Установки могут быть использованы не только для синтеза газообразной смеси оксидантов, но также для получения дезинфицирующих растворов типа хлорной воды с содержанием оксидантов (преимущественно кислородсодержащих соединений хлора) в пределах от 100 до 1500 мг/л. Установка для получения таких растворов (фиг.2) дополнительно содержит смеситель 8 для растворения газообразной смеси оксидантов в водопроводной воде.

[49]

Для получения биоцидного раствора газов из анодной камеры с помощью регулирующих вентилей 10 и 11, расположенных на специальных трубопроводах, подают газы в смеситель 8, куда из источника 9 поступает обработанная вода. В зависимости от количества вводимых газов (растворяемого в воде хлора, диоксида хлора), получаются растворы с pH в пределах 2,8 3,5 и ОВП от 100 до 1200 мВ при содержании оксидантов от 500 до 1300 мг/л. Минерализация таких растворов в сравнении с исходной водопроводной водой увеличивается незначительно
эквивалентно количеству растворенных газов.

[50]

Для повышения pH полученного раствора с помощью регулирующих вентилей 12 и 13 вводят необходимое количество католита из газоотделителя 7 в смеситель 8 (до или после ввода смеси газов). Если добавлять в воду весь католит, полученный в установке, то pH биоцидного раствора может достигать 7,0 7,5.

[51]

Во всех примерах, если это не оговорено особо, использовалась ультрафильтрационная диафрагма из керамики состава, мас. оксид циркония 60; оксид алюминия 27; оксид иттрия 3.

[52]

Установки использовались для электрохимического синтеза газообразной смеси оксидантов из водного раствора хлорида натрия. Основными компонентами газообразной смеси оксидантов являлись молекулярный хлор, диоксид хлора, озон и кислород, которые находились в соотношении 70:20:5:5% соответственно. Указанное соотношение зависит от режима работы установки и может изменяться в широких пределах.

[53]

Пример 1. В процессе использовалась установка, содержащая одну ячейку, внешний электрод катод выполнен из полированного титана. Внутренний электрод анод выполнен из титана с покрытием диоксидами рутения и титана (ОРТА). Длина катода 150 мм. Межэлектродное расстояние составляет 2,9 мм. Диаметр средней части анода 9,0 мм, а длина средней части 156 мм. Диафрагма выполнена цилиндрической с толщиной стенок по всей длине 0,5 мм.

[54]

Анодный циркуляционный контур содержал емкость 100 мл, установленную над ячейкой на высоте 250 мм от уровня выхода анодной камеры. Под емкостью размещалась емкость катодного циркуляционного контура объемом 200 мл.

[55]

После заполнения катодного контура водой, а анодного рассолом на электроды подавалось напряжение 3,5 В, обеспечивающее протекание тока 8 А. После установления процесса циркуляции в нижнюю точку анодного циркуляционного контура вводили раствор хлорида натрия с концентрацией 300 г/л. Было получено 3,3 л газа, содержащего 60% Cl2, 35% ClO2, 3% O3 и 2% O2, а также 3,4 л водорода и 60 мл раствора щелочи с pH 14 и общей минерализацией 240 г/л. Выход по току для анодных газов составил 97%
Пример 2. Процесс вели в условиях примера 1, но использовалась ячейка, катод которой выполнен из стеклоуглерода, анод ОРТА. Длина катода 240 мм, длина средней части анода 250 мм, а диаметр средней части 10 мм. Межэлектродное расстояние составляло 3 мм. Диафрагма выполнена таким образом, что наружная поверхность диафрагмы цилиндрическая, а внутренняя - конусообразная с величиной конусности 1: 500, при этом толщина стенок у верхнего торца составляла 0,5 мм, а у нижнего 0,8 мм. Катодная камера ячейки имела постоянное сечение по высоте, а анодная переменное, с расширением вверх. При подаче раствора хлорида натрия с концентрацией 300 г/л со скоростью 1 мл/мин, установка имела следующие показатели: часовая производительность по смеси анодных газов 3,6 л при токе 8,2 А и напряжении 3,3 В. Выход по току анодных газов составил 97,2%
Пример 3. Процесс вели в условиях примера 2, но наружная и внутренняя поверхности диафрагмы ячейки выполнены конусообразными с величиной конусности 1:600 с толщиной стенок у верхнего торца 0,4 мм, а у нижнего 0,7 мм. Объем емкости анодного контура 70 мл, а катодного 130 мл, при этом анодная емкость установлена на высоте 220 мм от выхода анодной камеры.

[56]

Установка имела следующие показатели: производительность по оксидантам 10 г/ч; удельный расход электроэнергии на синтез оксидантов 1,3 Вт•ч/г.

[57]

Данные по использованию установок с различным числом ячеек, в которых использовались цилиндрические диафрагмы, а длина катода составляла 200 мм, при этом межэлектродное расстояние равнялось 3,0 мм, а диаметр средней части анода был равен 8,0 мм, представлены в таблице.

[58]

Изобретение позволяет упростить конструкции установки и обеспечить получение газообразных продуктов электролиза водного раствора хлорида щелочного и щелочноземельного металла с высоким выходом по току при сравнительно низком расходе электроэнергии, а также повысить ресурс работы установки и обеспечивает создание установок различной производительности за счет компоновки требуемого количества ячеек с минимальными затратами времени и пространства.

[59]

Кроме того, установка позволяет получать продукт как в виде газовой смеси оксидантов, так и в виде водных растворов различной концентрации, так и одновременное получение в виде газа и раствора.

[60]

Источники информации
1. Авторское свидетельство СССР N 669764, кл. C 25 B 1/46, 1976.

[61]

2. Авторское свидетельство СССР N 1823884, кл. C 25 B 1/46, 1988.

[62]

3. Патент СССР N 43585, кл. C 25 B 9/00, 1940.

[63]

4. Фиошин М.Я. и Смирнова М.Г. Электрохимические системы в синтезе химических продуктов. М. Химия, 1985, 63-77, 161-168.

[64]

5. Авторское свидетельство СССР N 886755, кл. C 25 B 9/00, 1977.

Как компенсировать расходы
на инновационную разработку
Похожие патенты