Использование:
в области велосипедного транспорта и для перевозки грузов. Сущность изобретения: трехколесный велосипед
для перевозки грузов содержит раму, руль, вертикальная ось которого установлена с возможностью
поворота в подшипниковом узле, размещенном на раме, переднее колесо, два задних колеса, педальный привод,
тормозную систему колес и кинематическую связь, соединяющую педальный привод с передним
колесом, консольно установленным на коленчатом рычаге 26, вертикальная ось которого установлена с возможностью
поворота в дополнительном подшипниковом узле. Кинематическая связь содержит обгонную
муфту и два элемента, один из которых выполнен в виде двойного сферического шарнирного четырехзвенника, состоящего
из установленных и выполненных особым способом колец, а другой элемент представляет
собой многоступенчатую цилиндрическую зубчатую передачу с рядовым соединением шестерен. Задние колеса выполнены с
диаметром, меньшим диаметра переднего колеса, и установлены между собой на расстоянии,
превышающем поперечные размеры рамы. Вертикальные оси руля и переднего колеса разнесены по ширине велосипеда,
имеют выступы и соединены шарнирной тягой 15, образуя вместе с рамой шарнирный
четырехзвенный механизм. Тормозная система содержит рукоять, клещи и снабжена расположенными особым способом ползунами и
кулачками по числу колес, балкой и двуплечим рычагом с тормозной педалью. 8
ил.
Трехколесный велосипед для перевозки грузов, содержащий раму, руль,
вертикальная ось которого установлена с возможностью поворота в подшипниковом узле, размещенном на раме, переднее
поворотное колесо, два задних колеса, педальный привод, тормозную систему колес,
имеющую клещи и рукоять, кинематическую связь, имеющую обгонную муфту, отличающийся тем, что он снабжен дополнительным
подшипниковым узлом, шарнирной тягой и коленчатым рычагом, на котором консольно
установлено переднее поворотное колесо, соединенное с педальным приводом посредством указанной кинематической связи, в
которой установлены два элемента, при этом один из элементов выполнен в виде
двойного сферического шарнирного четырехзвенника, имеющего кольца со сферической наружной поверхностью и цилиндрической
внутренней поверхностью, расположенные с зазором относительно друг друга, причем
контакт между любыми двумя смежными кольцами выполнен посредством двух диаметрально расположенных шариков, размещенных
наполовину в одном кольце, наполовину в другом, а другой элемент выполнен в виде
многоступенчатой цилиндрической зубчатой передачи с рядовым соединением шестерен, задние колеса выполнены с диаметром,
меньшим диаметра переднего колеса, и установлены между собой на расстоянии,
превышающем поперечные размеры рамы, при этом вертикальные оси руля и переднего колеса разнесены по ширине велосипеда,
имеют выступы и соединения шарнирной тягой с образованием вместе с рамой другого
шарнирного четырехзвенного механизма, указанная тормозная система снабжена ползунами и кулачками по числу колес,
балкой и двуплечим рычагом с тормозной педалью, расположенной на одной из плеч рычага,
другое плечо которого соединено с серединой балки с образованием кинематической пары шар-цилиндр, причем внутри
каждого ползуна в поперечном направлении выполнен паз, в котором установлен кулачок, для
образования с ползуном одноподвижной поступательной кинематической пары, при этом ползун тормозной системы
каждого из задних колес соединен с соответствующим концом балки кинематической парой
шар-цилиндр, а ползун тормозной системы переднего колеса соединен посредством тяги с рукоятью тормозной
системы.
Изобретение относится к области велосипедного транспорта и может быть использовано для перевозки
грузов. Известна конструкция трехколесного велосипеда с одним передним колесом (а. с СССР 1643305, кл. B 62 M 1/12, 1988) и двумя неприводными задними колесами. Переднее колесо
приводится в движение с помощью рычагов. В этой конструкции есть маленький отсек для перевозки грузов, расположенный сзади. Такой велосипед может перевозить грузы только сравнительно малого веса и
длины. Известна конструкция трехколесного велосипеда (патент США N 4917396, кл. B 62 K 5/00, 1987) с двумя передними неприводимыми колесами и приводным задним колесом. В данной
конструкции предусматривается контейнер для перевозки грузов, расположенный впереди велосипеда. Однако указанная конструкция не позволяет перевозить длинномерные грузы. Известна
конструкция велосипеда с боковым прицепом, в комплексе представляющих трехколесный (патент ФРГ N 3915097, кл. B 62 K 5/02, 1981), являющаяся прототипом предлагаемого изобретения и содержащая раму,
руль, вертикальная ось которого установлена с возможностью поворота в подшипниковом узле, размещенном на раме, переднее поворотное колесо, два задних колеса, педальный привод, имеющий кинематическую
связь с задним приводным колесом, содержащую обгонную муфту и цепную передачу, тормозную систему переднего и заднего колес, имеющую рукояти, тросики и клещи. Эта конструкция велосипеда
позволяет перевозить грузы сравнительно небольшого веса и длины, так как кинематическая связь педального привода с приводным колесом и тормозная система велосипеда не предназначены для езды с грузом
большого веса и длины. К тому же, центр веса конструкции не обеспечивает устойчивости. Задачей изобретения является создание велосипеда для перевозки грузов с более широкими
функциональными возможностями за счет обеспечения возможности перевозки грузов большой длины и большого веса. Это достигается тем, что трехколесный велосипед для перевозки грузов,
содержащий раму, руль, вертикальная ось которого установлена с возможностью поворота в подшипниковом узле, размещенном на раме, переднее поворотное колесо, два задних колеса, педальный привод,
тормозную систему, имеющую клещи и рукоять, и кинематическую связь, имеющую обгонную муфту, снабжен дополнительным подшипниковым узлом, шарнирной тягой и коленчатым рычагом, на котором консольно
установлено переднее поворотное колесо, соединенное с педальным приводом посредством кинематической связи, в которую введены два элемента. Один из элементов выполнен в виде двойного сферического
шарнирного четырехзвенника, состоящего из колец, имеющих сферическую наружную поверхность и цилиндрическую внутреннюю поверхность, расположенных с зазором относительно друг друга, причем контакт
между
любыми двумя смежными кольцами осуществлен посредством двух диаметрально расположенных шариков, размещенных наполовину в одном кольце, наполовину в другом, а другой элемент представляет собой
многоступенчатую цилиндрическую зубчатую передачу с рядовым соединением шестерен. Задние колеса выполнены с диаметром, меньшим диаметра переднего колеса, и установлены между собой на расстоянии,
превышающем поперечные размеры рамы. Вертикальные оси руля и переднего колеса разнесены по ширине велосипеда, имеют выступы и соединены шарнирной тягой, образуя вместе с рамой шарнирный
четырехзвенный
механизм. Указанная тормозная система колес снабжена ползунами и кулачками по числу колес, балкой и двуплечим рычагом с тормозной педалью, расположенной на одном из плеч рычага, другое
плечо которого
соединено с серединой балки, образуя кинематическую пару шар-цилиндр, причем внутри каждого ползуна в поперечном направлении выполнен паз, в котором установлен кулачок, образующий с
ползуном
одноподвижную поступательную кинематическую пару, при этом ползун тормозной системы каждого из задних колес соединен с соответствующим концом балки кинематической парой шар-цилиндр, а ползун
тормозной
системы переднего колеса соединен посредством тяги с рукояткой тормозной системы. На фиг. 1 показан главный вид велосипеда; на фиг. 2 вид А на фиг. 1; на фиг. 3 разрез В-В на
фиг. 1; на
фиг. 4 сечение Д-Д на фиг. 3; на фиг. 5 - сечение Е-Е на фиг. 3; на фиг. 6 разрез С-С на фиг. 1; на фиг. 7 разрез Г-Г на фиг. 6; на фиг. 8 кинематическая схема тормозной системы задних
колес. Трехколесный велосипед содержит трубчатую раму 1 /фиг. 1/. На раме 1 с возможностью регулировки по высоте установлено сиденье 2 водителя. К задней части рамы 1 неподвижно
прикреплена балка 3
с задними колесами 4. Также в задней части рамы 1 установлен неподвижно кронштейн 5 с осью 6 и поворотным двуплечим рычагом 7. В середине рамы 1 смонтирован педальный привод,
состоящий из поворотной
оси 8, кривошипов 9, поворотных педалей 10. В передней части рамы 1 закреплен подшипниковый узел 11, в котором с возможностью поворота установлен руль, состоящий из поперечной
трубки 12 и вертикальной
оси 13. На оси 13 закреплен выступ 14, периферийный конец которого соединен с возможностью поворота относительно шарнирной тяги 15. Также в передней части рамы 1 установлено
поворотное приводное
колесо 16. Между педальным приводом и приводным колесом 16 установлены с возможностью вращения цилиндрические зубчатые шестерни 17, 18, 19, 20, 21, 22, 23. Шестерня 17
установлена неподвижно по
отношению к кривошипам 9 и оси 8. Шестерни 20 и 21 жестко соединены в единый блок. Также в едином блоке смонтированы шестерни 22 и 23. На раме 1 закреплена
тонкая обшивка 24. С помощью
обшивки 24 на велосипеде образуется площадка 25 /фиг. 2/, предназначенная для перевозки длинномерных грузов. Переднее колесо 16 установлено с возможностью
вращения на коленчатом рычаге
26 /фиг. 2/, имеющем вертикальную ось 27. На верхнем конце вертикальной оси 27 имеется выступ 28, периферийный конец которого соединен с возможностью поворота с
шарнирной тягой 15. Рама 1, выступы 14
и 28, а также шарнирная тяга 15 представляют собой шарнирный четырехзвенник. Размещено переднее колесо 16 таким образом, чтобы плоскость 29, проведенная через
центр колеса 16 и ось 27 перпендикулярно
линии 30, соединяющей центры задних колес 4, делила расстояние между задними колесами 4 пополам. На одном плече двуплечего рычага 7 закреплена
тормозная педаль 31, на другом плече
имеется шаровой выступ 32. Шаровой выступ 32 входит без зазора в цилиндрическое отверстие 33 балки 34. Блок, состоящий из шестерен 22 и 23,
размещен с возможностью осевого перемещения
на валу 35. Вал 35 кинематически соединен с колесом 16 через обгонную муфту 36 и двойной сферический шарнирный четырехзвенник 37.
Вертикальная ось 27 коленчатого рычага 26 установлена
с возможностью поворота в подшипниковом узле /фиг. 3/, неподвижно установленном на раме 1. В нижней части коленчатого рычага 26 выполнено гнездо
39, охватывающее с возможностью вращения ось 40,
принадлежащую колесу 16. Подшипниковые узлы 38 и 11 размещены на раме 1 так, что ось 13 руля и ось 27 коленчатого рычага 26
параллельны друг друга. Вал 35 установлен с
возможностью вращения в гнездах каркаса 41, закрепленного на раме 1. Совместное вращение вала 36 и блока шестерен 22, 23, обеспечивается
шпонкой 42, выполненной в виде пальца, имеющего лыски 43 в
местах соприкосновения с пазом 44 вала 35. Палец-шпонка 42 проходит без зазора сквозь тягу 45, входящую в отверстие 46 вала 35. Тяга 45
выполнена в виде пальца, имеющего буртик 47, в проточку которого
входят ролики 48, закрепленные на поворотном рычаге 49 переключения передач. Фиксация блока шестерен 22, 23 на валу 35 осуществляется
шариковым фиксатором /не показан/. В зависимости от положения
блока шестерен на валу 35 могут находиться в зацеплении две различные пары шестерен. Если блок шестерен находится в среднем положении, то
зацепления шестерен нет. Обгонная муфта
установлена на консольном конце вала 35, имеющего буртик 50, в проточке которого размещены поворотные собачки 51. Кроме того, обгонная муфта
включает в себя корпус 52, установленный с возможностью
вращения на валу 35. С одной стороны на корпусе 52 закреплено храповое колесо 53, с другой неподвижно закреплен фланцевый палец 54, имеющий
шпонку 55. Двойной сферический шарнирный
четырехзвенник /шарнир Гука/ размещен между обгонной муфтой и фланцевой осью 40 переднего колеса 16. Первый сферический шарнирный
четырехзвенник 56 размещен в центре колеса 16 и состоит из колец 57,
58 и 59, имеющих наружную поверхность, сферическую, внутреннюю - цилиндрическую. Кольца расположены одно в другом с зазором.
Второй сферический шарнирный четырехзвенник 60 находится вне колеса 16 и
смещен в сторону обгонной муфты. Конструкция второго четырехзвенника аналогична конструкции первого, причем наружное кольцо
второго четырехзвенника и внутреннее кольцо 59 первого выполнены в виде
одной детали. Подсоединение шарнирных четырехзвенников 56 и 60 к колесу 16 и обгонной муфте осуществляется с помощью наружного
кольца 57 первого четырехзвенника 56 и внутреннего кольца 61 второго
четырехзвенника 60, причем кольцо 57 неподвижно связано с колесом 16, а кольцо 61 охватывает палец 54 с возможностью осевого
перемещения. Тяга 62 соединена с ползуном /не
обозначен/ тормозной системы переднего колеса 16. Зацепление обгонной муфты осуществляется за счет вхождения
подпружиненных поворотных собачек 51 (фиг. 4) в пазы 63 храпового колеса
53. Оси 64 собачек 51 закреплены в кольцевой проточке буртика 50 вала 35. Между смежными кольцами шарнирных
сферических четырехзвенников установлены шарики 65 /фиг. 5/. Любые два
смежных кольца соединены между собой двумя диаметрально расположенными шариками 65, причем каждый шарик размещен наполовину в
одном кольце, наполовину в другом. Для удобства сборки периферийная
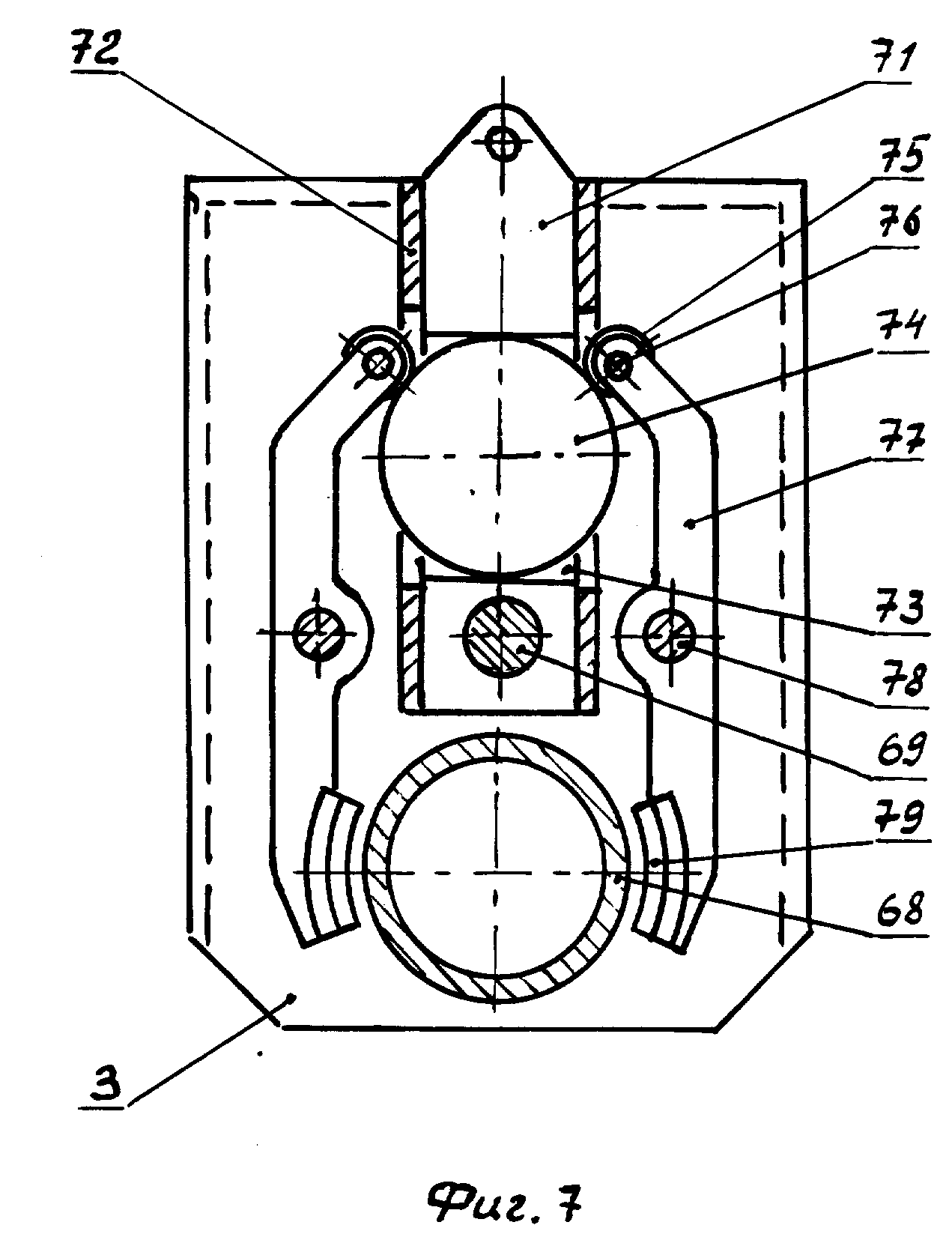
сторона каждого шарика 65 размещена в резьбовом пальце 66. Задние колеса 4 установлены на балке 3 с возможностью
вращения на осях 67 /фиг. 6/, консольно закрепленных на балке 3, причем
оси 67 охватывают ступицы 68, принадлежащие колесам 4. На концах балки 34 выполнены шаровые выступы 68, расположенные без
зазора в цилиндрических отверстиях 70 ползунов 71, установленных с
возможностью перемещения в вертикальном направлении в направляющих 72, закрепленных на балке 3. В пазах 73 /фиг.
7/ ползунов 71 установлены с возможностью перемещения в направлении,
перпендикулярном возможному перемещению ползунов 71, кулачки 74, выполненные в виде дисков. С каждым из кулачков-дисков 74
соприкасаются ролики 75, установленные с возможностью вращения на осях 76,
закрепленных на одном из плеч двуплечих рычагов 77. Каждый из двуплечих рычагов 77 установлен с возможностью поворота на оси
78, закрепленной на балке 3. На другом плече каждого двуплечего рычага 77
закреплена тормозная колодка 79, размещенная на периферии ступицы 68. Описанные ползуны 71, диски 74 и двуплечие рычаги 77
являются составляющими кулачковых механизмов, содержащихся в тормозной
системе для задних колес. Аналогичный кулачковый механизм имеется и в тормозной системе для переднего колеса.
Полная тормозная система для задних колес включает в себя двуплечий рычаг
7 /фиг. 8/ с тормозной педалью 31, балку 3, ползуны 71, кулачки-диски 74, двуплечие рычаги 77 с тормозными колодками 79. Функционируют механизмы трехколесного велосипеда следующим
образом. Движение велосипеда начинается после приложения усилий водителя к педалям 10 педального привода. При
этом крутящий момент от ведущей шестерни 17 передается через ведомые
шестерни 18, 19 и одну из шестерен 20, 21 одной из шестерен 22, 23 подвижного блока, а следовательно и валу 35, корпусу 52
обгонной муфты 36, кольцам двойного сферического шарнирного четырехзвенника
37 и, наконец, переднему колесу 16. Переключение передач осуществляется перемещением блока шестерен 22, 23
вдоль вала 35 рычагом 49 переключения передач. Поворот
переднего колеса 16 производится поворотом руля через шарнирный четырехзвенник, состоящий из рамы 1, выступов 14, 28 и тяги
15. При повороте колеса 16 первый сферический шарнирный
четырехзвенник 56 позволяет передавать крутящий момент от педального привода. Второй сферический шарнирный четырехзвенник 60
компенсирует неточности установки вала 35 по отношению к оси 40 переднего
колеса 16. Обгонная муфта 36 работает в режиме проскальзывания собачек 51 по отношению к пазам 63 лишь во
время вращения колеса 16 с большей угловой скоростью, чем угловая скорость
вала 35, создаваемая водителем. Торможение переднего колеса 16 осуществляется поворотом рукояти /не
показана/, которая через тягу 62 перемещает ползун /не обозначен/ кулачкового
механизма, тормозные колодки которого создают тормозной момент на наружной поверхности храпового колеса 53. При торможении задних колес усилие, создаваемое водителем на педали 31,
передается на середину балки 34, и далее на ползуны 71 кулачковых механизмов. Ползуны 71 через диски 74 воздействуют
на ролики 75 двуплечих рычагов 77, которые с помощью тормозных колодок 79 создают
тормозной момент на ступицах 68 задних колес 7.