патент
№ RU 2084835
МПК G01F11/28

УСТРОЙСТВО ДЛЯ ДОЗИРОВАНИЯ ЖИДКОСТИ

Авторы:
Коваленко Н.В.
Номер заявки
94038963/28
Дата подачи заявки
29.09.1994
Опубликовано
20.07.1997
Страна
RU
Как управлять
интеллектуальной собственностью
Чертежи 
1
Реферат

[13]

Использование: объемное дозирование жидкости в технологических линиях по производству строительных материалов, например, керамзитобетонных стеновых блоков. Сущность изобретения: дозатор содержит опорную скобу со шкалой и ограничителем, полый цилиндр с центральной гайкой в верхнем основании, размещенный в полости корпуса и закрепленный в нем с помощью наружной и внутренней втулок, между которыми размещена сальниковая набивка, в центральную гайку ввинчен регулировочный винт, пропущенный через опорную скобу, при этом корпус дозатора соединен через первый боковой патрубок и первый клапан с расходной емкостью, а через второй боковой патрубок и через второй клапан - с указателем уровня жидкости в расходной емкости. 1 з. п. ф-лы, 2 ил.

Формула изобретения

1. Устройство для дозирования жидкости, содержащее корпус дозатора с выпускным патрубком, соединенный через первый боковой патрубок и первый клапан с расходной емкостью, а через второй боковой патрубок с атмосферой, и указатель уровня жидкости в расходной емкости, отличающееся тем, что дозатор снабжен опорной скобой со шкалой и ограничителем, полым цилиндром с центральной гайкой в верхнем основании, размещенным в полости корпуса и закрепленным в нем с помощью наружной и внутренней втулок, между которыми размещена сальниковая набивка, в центральную гайку ввинчен регулировочный винт, пропущенный через опорную скобу, при этом второй боковой патрубок через второй клапан соединен с указателем уровня жидкости в расходной емкости.

2. Устройство по п. 1, отличающееся тем, что первый и второй клапаны выполнены электромагнитными.

Описание

[1]

Изобретение относится к области дозирование материалов, в частности, к устройствам объемного дозирования жидкости и может быть использовано в технологических линиях по производству строительных материалов, например, керамзитопенобетонных стеновых блоков и других изделий.

[2]

Наиболее близким, принятым за прототип, является устройство для дозирования жидкости, содержащее корпус дозатора с выпускным патрубком, соединенный через первый боковой патрубок и первый клапан с расходной емкостью, а через второй боковой патрубок с атмосферой, и указатель уровня жидкости в расходной емкости.

[3]

Однако такой дозатор требует визуального контроля при заполнении нужного объема жидкости для каждой операции дозирования, а применение обычных клапанов затрудняет точную дозировку. Таким образом, процесс точного дозирования больших объемов жидкости, например, при прочном производстве изделий даже при одном и том же требуемом объеме жидкости, занимает значительное время и является трудоемким.

[4]

Изобретение направлено на упрощение процесса дозирования жидкости и сокращения времени дозировки.

[5]

Это достигается тем, что в устройстве для дозирования жидкости, содержащем корпус дозатора с выпускным патрубком, соединенным через первый боковой патрубок и первый клапан с расходной емкостью, в через второй боковой патрубок с атмосферой, и указатель уровня жидкости в расходной емкости, дозатор снабжен опорной скобой со шкалой и ограничителем, полым цилиндром с центральной гайкой в верхнем основании, размещенным в полости корпуса и закрепленным в нем с помощью наружной и внутренней втулок, между которыми размещена сальниковая набивка, в центральную гайку ввинчен регулировочный винт, пропущенный через опорную скобу, при этом боковой патрубок через второй клапан соединен с указателем уровня жидкости в расходной емкости.

[6]

Кроме того, в устройство для дозирования жидкости первый и второй клапаны выполнены электромагнитными.

[7]

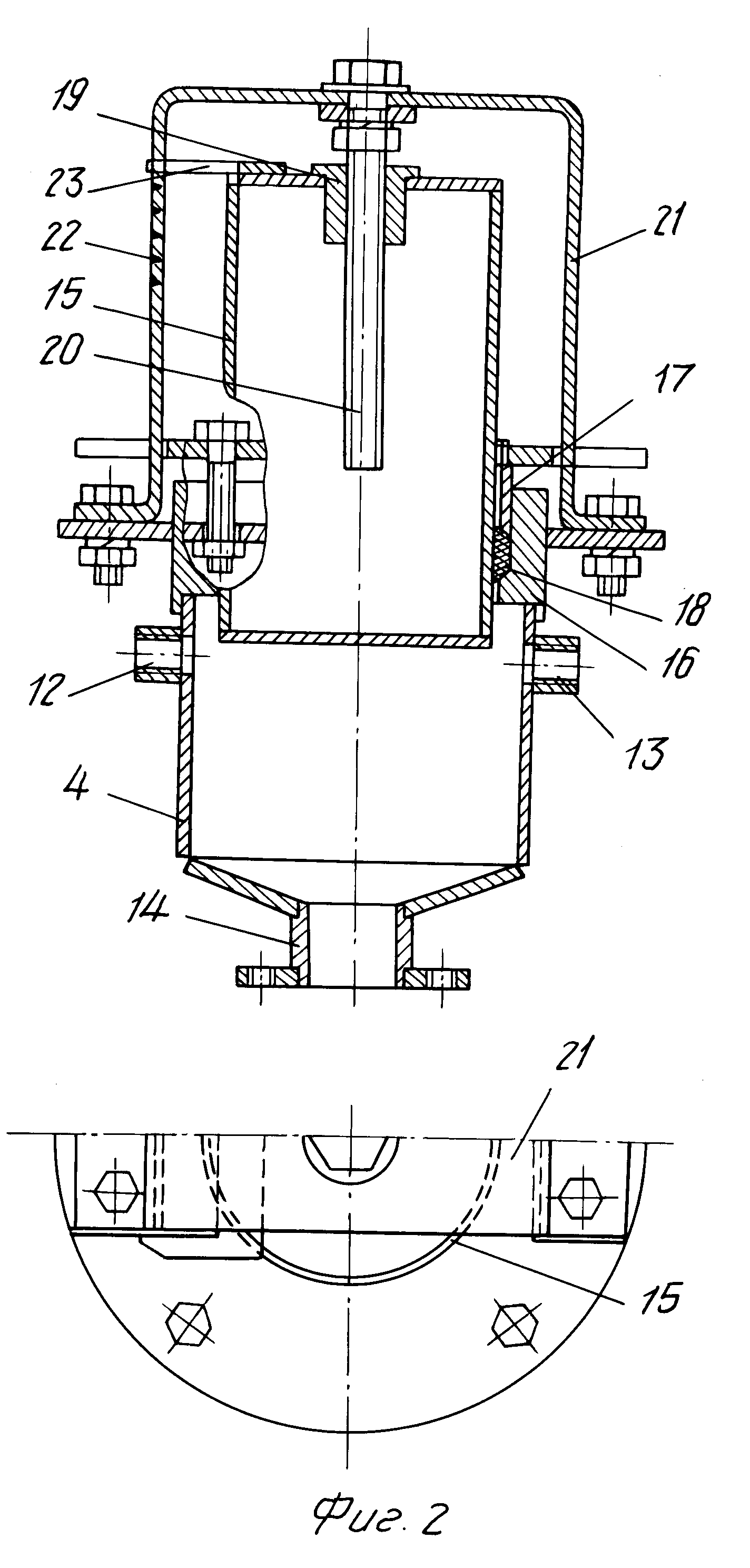
Устройство поясняется чертежами, где на фиг. 1 показана схема устройства для дозирования жидкости, на фиг. 2 конструкция непосредственно дозатора.

[8]

Согласно фиг. 1 предлагаемого устройство состоит из расходной емкости 1, соединенной через первый боковой патрубок 2 и первый электромагнитный клапан 3 с корпусом 4 дозатора. Через второй боковой патрубок 5 и второй электромагнитный клапан 6 корпус 4 дозатора соединен с атмосферой, а через электромагнитный клапан 7 с указателем 8 уровня жидкости в расходной емкости 1. В нижней части корпус 4 дозатора снабжен выпускным патрубком 9 с электромагнитным клапаном 10, расходная емкость 1 выпускным вентилем 11.

[9]

Дозатор, изображенный на фиг. 2, состоит из полого корпуса 4 с двумя боковыми отверстиями 12 и 13 и нижним выпускным отверстием 14. В полости корпуса 4 размещен полный цилиндр 15, закрепленный с помощью наружной втулки 16 и внутренней втулки 17, между которыми размещена сальниковая набивка 18. Верхнее основание цилиндра 15 снабжено центральной гайкой 19, в которую ввинчен регулировочный винт 20, пропущенный через опорную скобу 21. Опорная скоба 21 нижними фланцами скреплена с фланцем наружной втулки 16. Одна из стоек опорной скобы 21 снабжена шкалой 22 настройки дозатора, по которой перемещается ограничитель 23.

[10]

Устройство для дозирования жидкости работает следующим образом. После наполнения жидкостью расходной емкости 1 открывают электромагнитные клапаны 3 и 7 (фиг. 1). При этом электромагнитные клапаны 6 и 10 остаются закрытыми. Жидкость из расходной емкости 1 по патрубку 2 через электромагнитный клапан 3 поступает в корпус 4 дозатора, а через второй патрубок 5 и электромагнитный клапан 7 заполняет указатель 8 уровня жидкости в расходной емкости 1. При выравнивании уровня жидкости в указателе 8 уровня жидкости и в расходной емкости 1 точно установленный объем дозатора заполняется полностью. После этого электромагнитные клапаны 3 и 7 закрывают и открывают электромагнитные клапаны 6 и 10. Через электромагнитный клапан 6 в магистраль поступает воздух, что дает возможность свободного выливания жидкости из корпуса 4 дозатора через выпускной патрубок 9 и электромагнитный клапан 10. При этом объем отдозированной жидкости определяется внутренним объемом полого корпуса 4 дозатора и объемом отрезков магистралей, соединяющих дозатор с электромагнитными клапанами 3, 6, 7, 10. Этот объем постоянен при неизменной настройке дозатора. Выпускной вентиль 11 предназначен для слива жидкости из расходной емкости 1 при проведении регламентных работ.

[11]

Изменение объема дозировки жидкости в полом корпусе 4 дозатора (фиг. 2) осуществляют путем вращения регулировочного винта 20 пропущенного через опорную скобу 21. При этом полый цилиндр 15 с жестко закрепленной в его верхнем основании центральной гайкой 19 поднимается или опускается вдоль вертикальной оси, одновременно поднимая или опуская ограничитель 23 на шкале 22 настройки дозатора. Наружная втулка 16 и внутренняя втулка 17, между которыми размещена сальниковая набивка 18, обеспечивают герметичность объема полого корпуса 4 дозатора. Через отверстие 12 обеспечивается поступление жидкости в полый корпус 4 дозатора, а отверстие 13 обеспечивает связь с указателем 8 уровня жидкости в расходной емкости 1, а также поступление воздуха при сливе отдозированного объема жидкости через выпускное отверстие 14.

[12]

Предложенное устройство для дозирования жидкости за счет постоянства дозирующего объема, зафиксированного на шкале настройки, отличается высокой точностью дозировки, надежность работы и позволяет производить многократные дозировки больших объемов жидкости, управляя процессом с помощью электромагнитных клапанов. Такое устройство совместимо с поточными линиями, например, линий для производства керамзитопенобетонных стеновых блоков высокой геометрической точности и заводской готовности, производимых фирмой "Энекс".

Как компенсировать расходы
на инновационную разработку
Похожие патенты