патент
№ RU 2083926
МПК F23R3/16

ФРОНТОВОЕ УСТРОЙСТВО КАМЕРЫ СГОРАНИЯ

Авторы:
Виноградов Е.Д.
Правообладатель:
Все (3)
Номер заявки
93019595/06
Дата подачи заявки
13.04.1993
Опубликовано
10.07.1997
Страна
RU
Как управлять
интеллектуальной собственностью
Чертежи 
3
Реферат

[18]

Использование: в камерах сгорания газотурбинных установок. Сущность: устройство содержит кольцевой ряд горелок, имеющих топливоподающие устройства 1, воздухоподводящие патрубки 2 круглого сечения и дежурную горелку, выполненную в виде, например, лопаточного завихрителя 3, во втулке которого расположено топливоподающее устройство 4. На выходе из воздухоподводящих патрубков 2 расположены коаксиально друг другу и оси камеры сгорания три обечайки. Средняя обечайка проходит через оси горелок, а внешняя обечайка 6 и внутренняя обечайка 7 охватывают кольцевой ряд горелок снаружи и изнутри и совместно со средней обечайкой образуют две кольцевые полости 8 и 9, внутри которых установлены направляющие лопатки 10 с возможностью закрутки потоков в кольцевых полостях навстречу друг другу. Длина внешней 6 и внутренней 7 обечаек больше длины средней обечайки 5, и их выступающие части образуют кольцевую смесительную предкамеру 11, сообщенную с огневой зоной 12. Поступающие в смесительную предкамеру струи воздуха и топлива интенсивно перемешиваются, и подготовленная топливовоздушная смесь направляется в огневую зону, поджигается факелом дежурной горелки и сгорает. При горении предварительно подготовленной гомогенно топливовоздушной смеси в факеле отсутствуют высокотемпературные зоны, что способствует снижению образования оксидов и уменьшению токсичности продуктов сгорания. 4 ил.

Формула изобретения

Фронтовое устройство камеры сгорания, содержащее кольцевой ряд горелок, имеющих топливоподающие устройства и устройства для подвода воздуха, выполненные в виде патрубков преимущественно круглого сечения с установленными в них направляющими лопатками и на выходе из патрубков коаксиальными внешней и внутренней обечайками, дежурную горелку, отличающееся тем, что устройство снабжено средней обечайкой, проходящей через оси горелок, все обечайки установлены коаксиально оси камеры сгорания, внешняя и внутренняя отхватывая кольцевой ряд горелок снаружи и изнутри и образуя совместно со средней обечайкой две кольцевые полости, направляющие лопатки расположены в кольцевых полостях с возможностью закрутки потока навстречу друг другу, при этом длина внешней и внутренней обечаек больше длины средней обечайки, а их выступающие части образуют кольцевую смесительную предкамеру, сообщенную с огневым пространством камеры сгорания.

Описание

[1]

Изобретение относится к энергетическому, транспортному и химическому машиностроению и может быть использовано в камерах сгорания газотурбинных установок.

[2]

Широко известны фронтовые устройства камер сгорания, содержащие горелку, включающую топливоподающее устройство и устройство для подвода воздуха, и установленную по оси горелки обечайку для формирования кольцевой струи воздуха [1] Существенным недостатком таких фронтовых устройств является высокая токсичность продуктов сгорания (большая концентрация оксидов азота). Это связано с тем, что подача всего топлива через одну горелку неизбежно приводит к образованию длинного факела, продолжительному пребыванию продуктов сгорания в зоне высоких температур и интенсивному образованию оксидов азота.

[3]

В значительной степени этот недостаток можно уменьшить, применив многогорелочное фронтовое устройство. Примером многогорелочного фронтового устройства служит фронтовое устройство камеры сгорания газоперекачивающего агрегата ГТК-10-4, широко применяемого на магистральных газопроводах. Оно содержит кольцевой ряд горелок, каждая из которых включает топливораздающее устройство и устройство для подвода воздуха и дежурную горелку [2] Многогорелочное фронтовое устройство дает более низкую токсичность продуктов сгорания, чем фронтовое устройство с одной горелкой. За счет дробления факела на ряд более мелких факелов длина высокотемпературной зоны значительно сокращена. Соответственно уменьшается и время пребывания продуктов сгорания в зоне высоких температур, что приводит к снижению концентрации оксидов азота.

[4]

Вместе с тем содержание оксидов азота в выхлопных газах агрегата ГТК-10-4 остается очень высоким (-750 мг/м3, при 15% содержании кислорода, что в 5 раз превышает действующий стандарт). Основной причиной, препятствующей дальнейшему снижению концентрации оксидов азота, является наличие в факеле высокотемпературных зон, где горение происходит при соотношении топлива и воздуха, близком к стехиометрии. Такие зоны всегда существуют в диффузионных факелах, в которых процессы смешения топлива с воздухом и горения протекают параллельно.

[5]

За прототип принято многогорелочное фронтовое устройство камеры сгорания [3] включающее два кольцевых ряда горелок с топливо- и воздухоподающими устройствами и обечайками, расположенные вокруг горелок, образующие кольцевую камеру относительно оси каждой из горелок. В этой камере сгорания огневое пространство разбито на дежурную и основную зоны горения, которые последовательно включаются в работу в зависимости от увеличения нагрузки, при этом снижения токсичных веществ в продуктах сгорания и повышение полноты сгорания топлива обеспечивается на режимах частичных нагрузок. Однако при такой конструкции камеры сгорания смешение топлива с воздухом и горение происходят одновременно при всех режимах работы, что приводит к образованию высокотемпературных зон с высокой концентрацией токсичных веществ, в камере сгорания отсутствуют условия для подготовки гомогенной топливовоздушной смеси за пределами зоны горения, что препятствует эффективному снижению токсичности выхлопа.

[6]

Задача, на решение которой направлено изобретение, состоит в снижении токсичности продуктов сгорания.

[7]

Техническим результатом, который может быть достигнут при осуществлении заявляемого изобретения, является обеспечение токсичности выхлопа газотурбинных установок в пределах действующих стандартов.

[8]

Предлагаемое фронтовое устройство камеры сгорания содержит кольцевой ряд горелок, имеющих топливоподающие устройства и устройства для подвода воздуха, выполненные в виде патрубков, преимущественно, круглого сечения, с установленными в них направляющими лопатками и на выходе из патрубков коаксиальными внешней и внутренней обечайками, дежурную горелку, и отличается от прототипа тем, что устройство снабжено третьей /средней/ обечайкой, проходящей через оси горелок, все обечайки установлены коаксиально оси камеры сгорания, внешняя и внутренняя охватывая кольцевой ряд горелок снаружи и изнутри и образуя совместно со средней обечайкой две кольцевые полости, внутри которых направляющие лопатки установлены с возможностью закрутки потока навстречу друг другу, при этом длина внешней и внутренней обечаек больше длины средней обечайки, а их выступающие части образуют кольцевую смесительную предкамеру, сообщенную с огневым пространством камеры сгорания.

[9]

Сущность изобретения состоит в организации предварительного смешения топлива с воздухом. При этом процессы смешения и горения протекают последовательно, горение носит кинетический характер, отсутствуют высокотемпературные зоны в факеле, которые являются основными генераторами оксидов азота.

[10]

Для осуществления предварительного смешения топлива с воздухом служит сообщенная с огневой зоной камеры сгорания кольцевая смесительная предкамера, образованная внешней и внутренней обечайками за счет того, что их длина больше длины средней обечайки.

[11]

Эффективное смешение топлива с воздухом обеспечивается за счет того, что топливовоздушный поток подается в кольцевую смесительную предкамеру из кольцевых полостей, с которыми она сообщена, в виде встречно закрученных кольцевых струй.

[12]

Формирование встречно закрученных кольцевых струй обеспечивается тем, что устройства для подвода воздуха выполнены в виде патрубков, например, круглого сечения, на выходе из которых установлены коаксиальные внешняя и внутренняя обечайки, а также средняя обечайка, проходящая через оси горелок, все три обечайки установлены коаксиально оси камеры сгорания, причем внешняя и внутренняя обечайки охватывают кольцевой ряд горелок снаружи и изнутри, образуя совместно со средней обечайкой две кольцевые полости, внутри которых расположены направляющие лопатки так, что они закручивают потоки в кольцевых полостях навстречу друг другу.

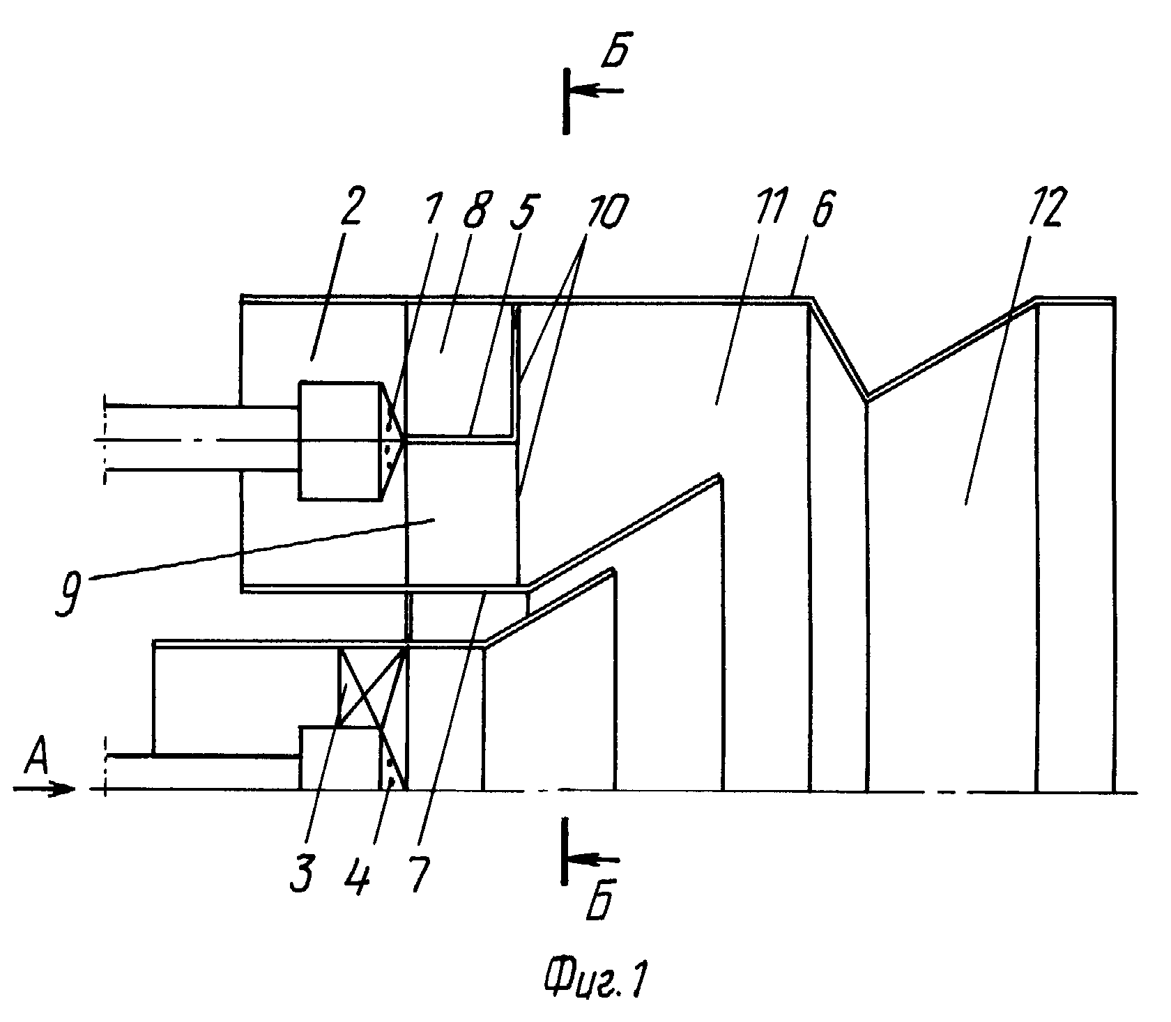
[13]

На фиг. 1 изображен продольный разрез фронтового устройства; на фиг.2 - вид на фронтовое устройство со стороны подвода воздуха; на фиг.3 поперечное сечение фронтового устройства; на фиг.4 развертка сечения фронтового устройства по средней обечайке.

[14]

Фронтовое устройство камеры сгорания содержит кольцевой ряд горелок, каждая из которых включает топливоподающее устройство 1 и устройство для подвода воздуха 2, и дежурную горелку. Во фронтовом устройстве, изображенном на чертежах фиг. 1-3, дежурная горелка выполнена в виде лопаточного завихрителя 3, во втулке которого расположено топливоподающее устройство 4. Возможны и другие варианты исполнения дежурной горелки. Устройства для подвода воздуха 2 выполнены в виде патрубков круглого сечения. На выходе из патрубков установлены коаксиально друг другу и оси камеры сгорания три обечайки: средняя обечайка 5 проходит через оси горелок, внешняя обечайка 6 и внутренняя обечайка 7 охватывают кольцевой ряд горелок снаружи и изнутри. Внешняя 6 и внутренняя 7 обечайки образуют совместно со средней обечайкой две кольцевые полости 8 и 9 внутри которых напротив каждой горелки установлены направляющие лопатки так, что они закручивают потоки в этих полостях навстречу друг другу /направления закрутки показаны на фиг.3 стрелками/. Длина внешней и внутренней обечаек больше длины средней обечайки, и их выступающие части образуют кольцевую смесительную предкамеру 11, сообщенную с огневой зоной камеры сгорания 12.

[15]

При работе фронтового устройства воздух через воздухоподающие устройства 2 и топливо через топливоподающие устройства 1 подаются в кольцевые полости 8 и 9, в которых с помощью направляющих лопаток 10 формируются две закрученные навстречу друг другу кольцевые струи. В кольцевой смесительной предкамере 11 встречно закрученные струи взаимодействуют друг с другом, обеспечивая высокоэффективное перемешивание топлива с воздухом. Из смесительной предкамеры 11 подготовленная топливовоздушная смесь направляется в огневую зону 12, где поджигается факелом дежурной горелки и сгорает. При горении предварительно подготовленной смеси в факеле отсутствует стехиометрические высокотемпературные зоны, благодаря чему образование оксидов азота незначительно.

[16]

Как видно из представленных чертежей, предлагаемое фронтовое устройство содержит широко применяемые в таких устройствах элементы: цилиндрические и конические обечайки, лопаточный завихритель, конические топливоподающие устройства. Поэтому его реализация не вызывает каких-либо технических проблем.

[17]

Большим достоинством предлагаемого фронтового устройства является то, что его конструктивное исполнение позволяет с минимальными затратами модернизировать камеры сгорания газоперекачивающих агрегатов ГТК-10-4 и ГТ-750-6, практически полностью используя штатные фронтовые устройства этих камер. Учитывая, что численность парка этих машин, находящихся в настоящее время в эксплуатации, превышает 2000, предлагаемое техническое решение является чрезвычайно перспективным.

Как компенсировать расходы
на инновационную разработку
Похожие патенты