патент
№ RU 2076980
МПК F16K31/04

ГАЗОПЛОТНЫЙ КЛАПАН

Авторы:
Рыбин П.А. Грищук Л.Г. Даркович Е.Н.
Все (6)
Номер заявки
94037733/06
Дата подачи заявки
28.09.1994
Опубликовано
10.04.1997
Страна
RU
Как управлять
интеллектуальной собственностью
Чертежи 
3
Реферат

[15]

Использование: в газотурбостроении, например, в оборудовании парогазовых установок электростанций. Сущность изобретения: в корпусе газоплотного клапана установлены седло и запорная тарель, соединенная с рычажным механизмом. Рычажный механизм закреплен на валу, установленном в подшипниках и связанном с электромеханическим приводом через упругий элемент с сохранением усилия поджатия тарели к седлу при отключенном приводе. 4 ил.

Формула изобретения

Газоплотный клапан, содержащий корпус с седлом, связанный с электроприводом и установленный в подшипниках вал, и запорную тарель, соединенную с закрепленным на валу рычажным механизмом, отличающийся тем, что электропривод выполнен, например, электромеханическим, при этом вал связан с приводом через упругий элемент с обеспечением сохранения усилия поджатия запорной тарели к седлу при отключенном электроприводе.

Описание

[1]

Изобретение относится к газотурбостроению, например, оборудованию парогазовых установок электростанций.

[2]

Известны клапаны с электроприводом где запорная тарелка поворотная, а рабочая среда подается под нее (см. например, каталог "Промышленная трубопроводная арматура", ч. III, М. ЦИНТИХимнефтемаш, 1984).

[3]

Известны клапаны (отсечные) с приводом, где клапаны закрываются пружиной и обратным потоком пара (открываются гидроприводом и прямым потоком пара) (см. например, "Система защиты турбины от обратного потока отбираемого пара, осуществляемая клапанами типа КОС". Техническое описание 158.0001ТО701, ЛМЗ, 1982, стр. 1, 2, 21, 24).

[4]

Известны клапаны с электромеханическим приводом (и дроссельные заслонки) (см. например проспект фирмы "ADAMS", стр. 1, 17, 18, 19, 20).

[5]

Известны устройства (кулисная заслонка) с электрогидроприводом (см. например, проспект фирмы "ZIMMERMANN I JANSEN G.m.b.H." прототип).

[6]

Эта конструкция характеризуется тем, что привод выполнен, например, электрогидравлическим, причем после закрытия клапана и отключения электродвигателя тарелку клапана к седлу прижимает только газовым потоком (перепадом давлений).

[7]

Задачей изобретения является повышение надежности закрытия клапана путем создания постоянного усилия на клапане при отключенном электродвигателе и упрощение конструкции.

[8]

Технический результат достигается тем, что в газоплотном клапане, содержащем корпус с седлом, связанный с электроприводом и установленный в подшипниках вал, и запорную тарель, соединенную с закрепленным на валу рычажным механизмом, электропривод выполнен, например, электромеханическим, при этом вал связан с приводом через упругий элемент с обеспечением сохранения усилия поджатия запорной тарели к седлу при отключенном электроприводе.

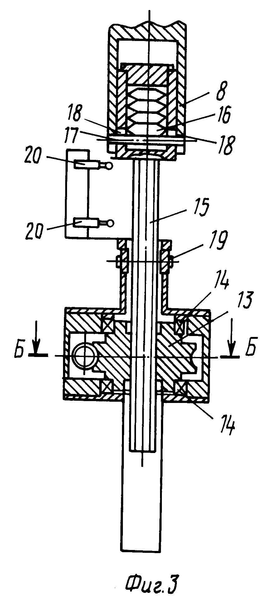
[9]

На фиг. 1 представлен общий вид клапана; на фиг. 2 разрез А-А на фиг. 1; на фиг. 3 привод клапана в разрезе; на фиг. 4 разрез Б-Б на фиг. 3.

[10]

В корпусе 1 с седлом 2 установлен вал 3, который может поворачиваться в двух шарнирных подшипниках 4. На валу 3 с помощью рычажного механизма 5 установлена запорная тарель 6, которую открывает или закрывает электромеханический привод 7 посредством рычага 8.

[11]

В корпусе 9 электромеханического привода установлен в подшипниках 10 червяк 11, который может приводиться в действие двумя электродвигателями 12 (один основной, другой резервный). Червяк 11 находится в зацеплении с червячным колесом 13, которое опирается на подшипники 14. По своему внутреннему диаметру колесо 13 находится в зацеплении с винтом 15, на одном (выходном) конце которого, в проточке, установлен комплект тарельчатых пружин 16, которые замкнуты осью 17. Благодаря проточкам 18 ось 17 имеет возможность совершать поступательное перемещение, сжимая пружины 16. На корпусе 9 установлены сферические опоры 19, предназначенные для "качающейся" установки привода 7 на корпус 1 газоплотного клапана. Конечные выключатели 20 отключают в необходимый момент электродвигатель 12.

[12]

Газоплотный клапан (с электромеханическим приводом) работает следующим образом.

[13]

При включении электродвигателя 12 червяк 11 вращает червячное колесо 13, которое придает посредством трапецеидальной резьбы поступательное движение винту 15. Встречая сопротивление со стороны вала 3 клапана, винт 15 начинает сжимать тарельчатые пружины 16, которые упираются в ось 17 (фиг. 2) и рычаг 8 (фиг. 1), связанный через шпонку с валом 3 (фиг. 1). Когда усилие со стороны пружин 16 превысит сопротивление вала 3, то клапан начинает закрываться (тарель 6 приходит в движение). После закрытия клапана (тарель 6 на запирающих кромках седла 3) электродвигатель 12 продолжает работать, винт 15 продолжает движение, пружины 16 сжимаются сильнее, усилие на запирающих кромках возрастает (растет контактное давление), когда пружины 16 сожмутся на заданную величину, т.е. будет достигнуто заданное усилие на запирающих кромках, конечные выключатели 20 отключат электродвигатель 12, но нажимное усилие сохранится благодаря пружинам 16 и эффекту самоторможения в винте 15. Наличие постоянного механического усилия на запирающих кромках позволяет не опасаться обратного потока газа (например, со стороны парового котла в парогазовых установках). Благодаря пружинам 16 избегаем жесткого упора при создании усилия электродвигателем 12.

[14]

Привод позволяет использовать клапан в качестве регулирующего (с промежуточными положениями тарелки).

Как компенсировать расходы
на инновационную разработку
Похожие патенты