патент
№ RU 2076062
МПК B66D1/40

ТЕЛЬФЕР С ЭЛЕКТРИЧЕСКИМ ПРИВОДОМ (ВАРИАНТЫ)

Авторы:
Масатоси Сасаки[JP]
Правообладатель:
Номер заявки
5011381/28
Дата подачи заявки
21.04.1992
Опубликовано
27.03.1997
Страна
RU
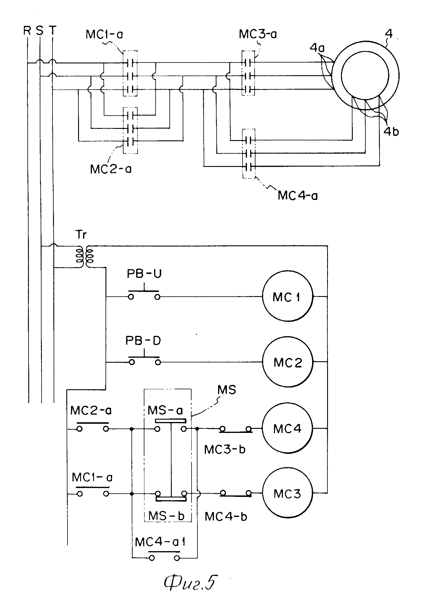
Дата приоритета
15.12.2025
Номер приоритета
Страна приоритета
Как управлять
интеллектуальной собственностью
Чертежи 
6
Реферат

[33]

Использование: грузоподъемный транспорт. Сущность изобретения: тельфер с электрическим приводом содержит электродвигатель 4 и грузоподъемный блок, приводимый в действие электродвигателем через пониженную передачу 14. Пониженная передача 14 содержит пару косозубых цилиндрических зубчатых колес 15 и 16. Одно из косозубых цилиндрических колес аксиально перемещаемо располагается на валу и перемещается в его осевом направлении, когда имеется нагрузка на грузовой цепи, поддерживаемой грузоподъемным блоком, и, когда движение в направлении оси перемещаемого косозубого цилиндрического зубчатого колеса детектируется измерительным преобразователем. Частота вращения электродвигателя автоматически изменяется от более высокой частоты вращения к более низкой частоте вращения. 2 с и 12 з.п. ф-лы, 7 ил.

Формула изобретения

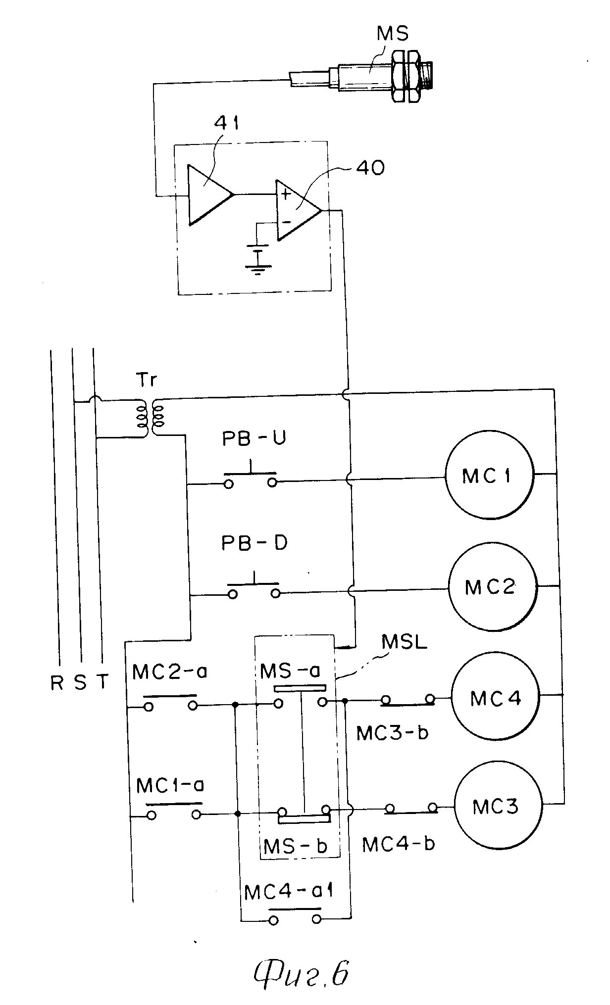
1. Тельфер с электрическим приводом, содержащий корпус и электродвигатель, выходной вал которого соединен с понижающей передачей, соединенной с ведомым валом для подъема и опускания груза, детектирующие средства для определения повышения или непревышения груза заданной величины, регулирующие средства для регулирования скорости вращения электродвигателя по поступлении выходного сигнала от детектирующих средств, изменяя скорость вращения электродвигателя с более высокой скорости на более низкую скорость, когда вес груза превышает заданную величину, отличающийся тем, что понижающая передача выполнена в виде множества зубчатых колес, по меньшей мере первое и второе из которых выполнены косозубыми цилиндрическими зубчатыми колесами, находящимися в зацеплении друг с другом, причем первое косозубое цилиндрическое зубчатое колесо установлено на первом промежуточном валу с возможностью перемещения вместе с ним в осевом направлении, когда вес груза превышает заданную величину, а детектирующие средства предназначены для детектирования перемещения первого промежуточного вала с первым косозубым цилиндрическим колесом, по которому определяют превышение или непревышение веса груза заданной величины.

2. Тельфер по п.1, отличающийся тем, что первое косозубое цилиндрическое колесо и ведомый вал поджаты пружиной в направлении, противоположном направлению их перемещения, при превышении груза заданной величины.

3. Тельфер по п.2, отличающийся тем, что первое косозубое цилиндрическое колесо и первый промежуточный вал поджаты первой пружиной в направлении, противоположном направлению перемещения этого вала при превышении груза заданной величины и поджаты второй пружиной в направлении его перемещения при превышении груза заданной величины, при этом жесткость первой пружины превышает жесткость второй пружины.

4. Тельфер по п.1, отличающийся тем, что понижающая передача расположена в корпусе и содержит третье зубчатое колесо, установленное на первом промежуточном валу, расположенный на этом валу между третьим зубчатым колесом и наружной частью корпуса первый упорный подшипник и второй упорный подшипник для первого косозубого цилиндрического зубчатого колеса, расположенный на первом промежуточном валу между первым косозубым цилиндрическим зубчатым колесом и внутренней частью корпуса.

5. Тельфер по п.4, отличающийся тем, что третье зубчатое колесо сцеплено с шестеренчатой частью выходного вала электродвигателя.

6. Тельфер по п.5, отличающийся тем, что третье зубчатое колесо выполнено в виде прямозубого цилиндрического зубчатого колеса, а шестеренчатая часть выполнена прямозубой цилиндрической зубчатой.

7. Тельфер по п.5, отличающийся тем, что третье зубчатое колесо выполнено в виде косозубого цилиндрического зубчатого колеса, а шестеренчатая часть выполнена косозубой цилиндрической зубчатой, причем при их взаимодействии третье косозубое цилиндрическое зубчатое колесо и первый промежуточный вал перемешиваются в осевом направлении, совпадающим с направлением перемещения первого косозубого цилиндрического зубчатого колеса, перемещающегося под воздействием второго косозубого цилиндрического зубчатого колеса, находящегося в зацеплении с первым косозубым цилиндрическим зубчатым колесом, когда вес груза превышает заданную величину.

8. Тельфер по п.4, отличающийся тем, что на торцевой поверхности первого промежуточного вала, расположенной внутри корпуса, установлен постоянный магнит, причем детектирующие средства расположены за пределами наружной части корпуса и в зоне действия магнитного поля постоянного магнита.

9. Тельфер по п.8, отличающийся тем, что детектирующие средства представляют собой измерительный преобразователь, чувствительный к напряженности магнитного поля.

10. Тельфер по п.8, отличающийся тем, что наружная часть корпуса, расположенная между постоянным магнитом и детектирующими средствами, выполнена из немагнитного материала.

11. Тельфер по п.1, отличающийся тем, что на втором ведомом валу установлен грузоподъемный блок для подъема грузовой цепи.

12. Тельфер по п.1, отличающийся тем, что электродвигатель содержит высокооборотные входные клеммы и низкооборотные входные клеммы, подключенные через регулирующие средства соответственно к источнику электропитания для обеспечения вращения электродвигателя с высокой частотой вращения, когда вес груза меньше заданной величины, и низкой частотой вращения, когда вес груза превышает заданную величину.

13. Тельфер с электрическим приводом, содержащий электродвигатель, выходной вал которого соединен с понижающей передачей, соединенной с ведомым валом для подъема и опускания груза, детектирующие средства для определения превышения или непревышения веса груза заданной величины, регулирующие средства для регулирования скорости вращения электродвигателя по поступлении выходного сигнала от детектирующих средств, изменяя скорость вращения электродвигателя с более высокой скорости на более низкую скорость, когда вес груза превышает заданную величину, и корпус, отличающийся тем, что понижающая передача содержит расположенные между выходным и ведомым валами и параллельно им первый и второй промежуточные валы с расположенными на них соответственно и находящимися в зацеплении друг с другом первым и вторым косозубыми цилиндрическими зубчатыми колесами, установленное на первом промежуточном валу вместе с первым косозубым цилиндрическим зубчатым колесом третье зубчатое колесо, находящееся в зацеплении с шестеренчатой частью выходного вала, при этом на ведомом валу закреплено четвертое зубчатое колесо, находящееся в зацеплении с пятым зубчатым колесом, установленным на втором промежуточном валу с вторым косозубым цилиндрическим зубчатым колесом.

14. Тельфер по п.13, отличающийся тем, что регулирующие средства содержат самоудерживающий контакт, включаемый при превышении грузом заданной величины, а низкооборотные входные клеммы электродвигателя соединены с источником электропитания.

Приоритет по пунктам:
22.04.91 по пп.1 12;
13.12.91 по пп.13 и 14.

Описание

[1]

Изобретение относится к тельферу с электроприводом.

[2]

В тельфере с электрическим приводом скорость подъема и скорость опускания можно понижать, когда нагрузка поднимается тельфером, чтобы предупреждать столкновение нагрузки с окружающим элементом таким, как настил пола при высокой скорости, а также повышать в ненагруженном состоянии, чтобы, быстро поднимать или опускать подъемный крюк к заданной позиции.

[3]

Известен тельфер с электрическим приводом, в котором верхний конец стального троса для подъема груза поддерживается подпружиненным подвижным элементом, содержащий детектирующий переключатель, взаимодействующий с подпружиненным подвижным элементом, предусматривается для детектирования имеется или не имеется груз на подъемном крюке стального троса. Когда детектирующий переключатель обнаружит, что имеется груз на подъемном крюке, скорость подъема и скорость опускания тельфера понижается, а при обнаружении отсутствия нагрузки на подъемном крюке, скорость подъема и скорость опускания тельфера увеличиваются (Японская непрошедшая экспертизу патентная заявка N 57-38294).

[4]

Этот тип тельфера с электрическим приводом требует дополнительных специальных элементов таких, как подпружиненный подвижный элемент, чтобы обнаружить наличие груза на подъемном крюке, и, таким образом, возникает проблема увеличения габаритов тельфера и роста производственных расходов на его изготовление.

[5]

Технической задачей настоящего изобретения является разработка конструкции тельфера с электрическим приводом, обладающего способностью автоматически изменять скорость подъема и скорость опускания без значительной модификации его конструкции.

[6]

Объектом настоящего изобретения, является тельфер с электрическим приводом, содержащий: электродвигатель, имеющий выходной вал; ведомый вал для подъема и опускания груза; понижающую передачу, расположенную между выходным валом и ведомым валом, в котором понижающая передача выполнена в виде множества зубчатых колес, из которых, по меньшей мере, два цилиндрических зубчатых колеса выполнены косозубыми и находятся в зацеплении друг с другом, причем одно из косозубых цилиндрических зубчатых колес перемещается в осевом направлении, когда нагрузка превышает предопределенную величину; детектирующие средства для обнаружения перемещения подвижного косозубого цилиндрического зубчатого колеса; и средства управления для регулирования частоты вращения электродвигателя в ответ на выходной сигнал детектирующих средств, чтобы, в силу этого, изменять частоту вращения электродвигателя от более высокой частоты вращения к более низкой частоте вращения, когда вес нагрузки превышает предопределенную величину.

[7]

На фиг. 1 вид сбоку с частичным поперечным разрезом тельфера с электрическим приводом; на фиг.2 увеличенное изображение в боковой проекции части в поперечном разрезе тельфера (фиг. 1); на фиг.3 увеличенное изображение в боковой проекции части в поперечном разрезе тельфера (фиг.1); на фиг.4 вид сбоку в поперечном разрезе части тельфера, иллюстрирующий движение вала; на фиг.5 коммутационная схема для управления электродвигателем; на фиг.6 коммутационная схема альтернативного варианта осуществления настоящего изобретения для управления электродвигателем; на фиг.7 вид сбоку с частичным поперечным разрезом другого варианта осуществления тельфера.

[8]

На фиг. 1 3, позицией 1 обозначен тельфер с электрическим приводом, 2 - внутренняя часть корпуса тельфера 1, 3 внешняя часть корпуса тельфера 1, и 4 электродвигатель; позиция 5 обозначает выходной вал электродвигателя 4, который поддерживается подшипником 6, позиция 7 обозначает ведомый вал, поворотно установленный на паре подшипников 8 и 9, позиция 10 уплотнительное кольцо, а позиция 11 грузоподъемный блок, закрепленный на ведомом валу 7. Схематически иллюстрированная грузовая цепь 12 проходит вокруг грузоподъемного блока 11 с возможностью перемещения вверх и вниз, когда вращается грузоподъемный блок 11.

[9]

Выходной вал 5 электродвигателя 4 имеет шестеренчатую часть 13, а понижающая передача 14 располагается между ведомым валом 7 и шестеренчатой частью 13 выходного вала 5. Эта понижающая передача 14 содержит первую пару зубчатых колес 15 и 16, вторую пару зубчатых колес 17 и 18, а третье зубчатое колесо 19 неподвижно крепится на ведомом валу 7. Первая пара зубчатых колес 15 и 16 неподвижно крепится на промежуточном валу 20, поворотно установленном на паре подшипников 21 и 22, а вторая пара зубчатых колес 17 и 18 неподвижно крепится на другом промежуточном валу 23, который поворотно установлен на паре подшипников 24 и 25. Как можно видеть на фиг.1 и 2 промежуточные валы 20 и 23 и ведомый вал 7 располагаются параллельно выходному валу 5 электродвигателя 4.

[10]

Зубчатое колесо 15 первой пары зацепляется с шестеренчатой частью 13 выходного вала 5, а зубчатое колесо 16 первой пары зацепляется с зубчатым колесом 17 второй пары. Кроме того, зубчатое колесо 18 второй пары зацепляется с зубчатым колесом 19 ведомого вала 7. Как иллюстрировано на фиг.1 и 2, диаметр шестеренчатой части 13 выходного вала 5 меньше диаметра зубчатого колеса 15 первой пары, а диаметр зубчатого колеса 16 первой пары меньше диаметра зубчатого колеса 17 второй пары. Диаметр зубчатого колеса 18 второй пары также меньше диаметра зубчатого колеса 19. Соответственно этому, когда выходной вал 5 вращается, первая ступень операции понижения частоты вращения осуществляется между шестеренчатой частью 13 выходного вала 5 и зубчатым колесом 15 первой пары; вторая ступень операции понижения частоты вращения осуществляется между зубчатым колесом 16 первой пары и зубчатым колесом 17 второй пары; третья ступень операции понижения частоты вращения осуществляется между зубчатым колесом 17 второй пары и зубчатым колесом 19 ведомого вала 7.

[11]

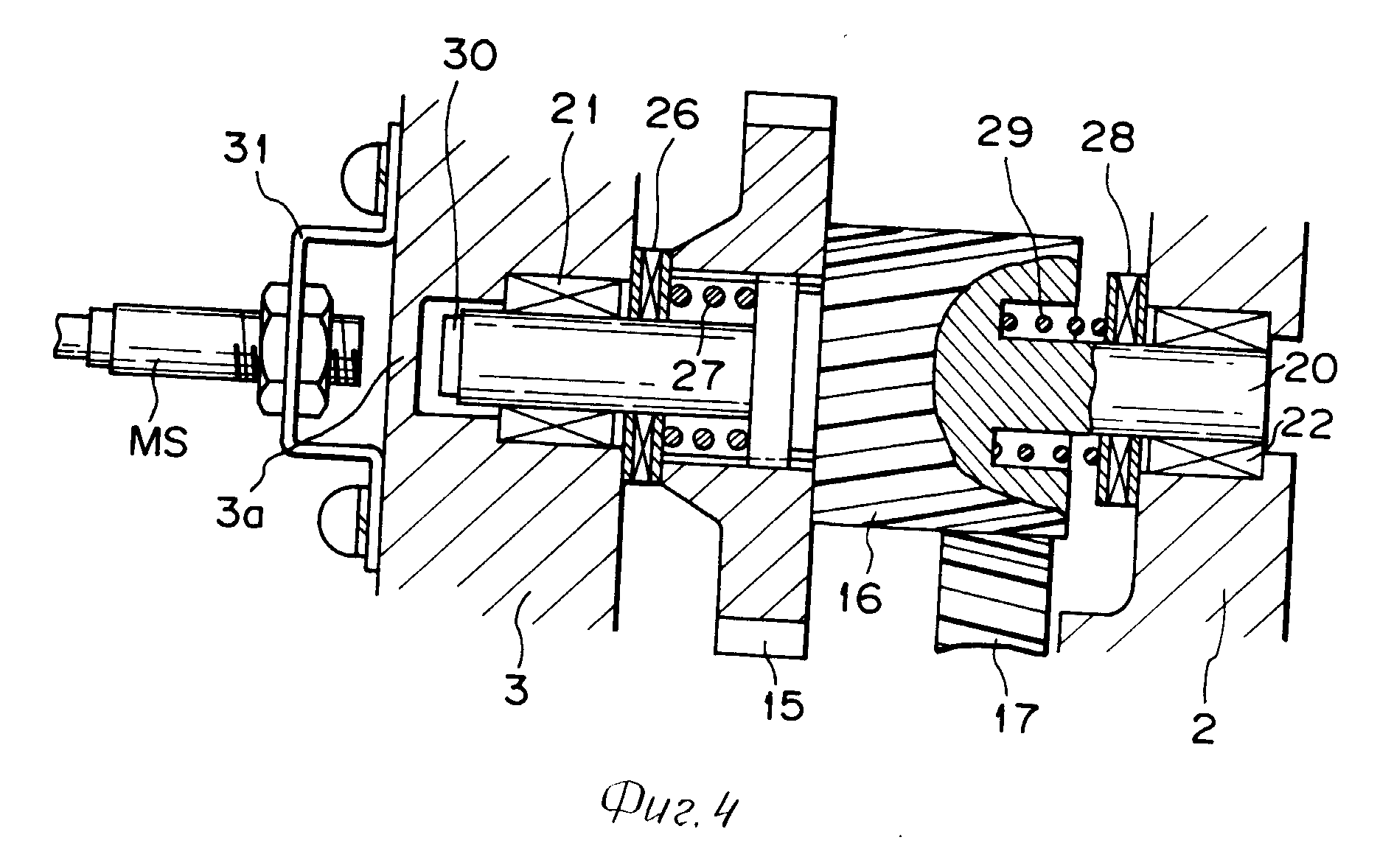
Выходной вал 5, промежуточный вал 23 второй пары и ведомый вал 7 установлены в соответствующих подшипниках 6, 24, 25, 8, 9 таким образом, что они не имеют возможности перемещаться в осевом направлении, однако промежуточный вал 20 установлен в подшипниках 21, 22 с возможностью перемещаться в осевом направлении. Далее, шестеренчатая часть 13, зубчатое колесо 15 первой пары, зубчатое колесо 18 второй пары и зубчатое колесо 19 образуют прямозубую цилиндрическую зубчатую передачу, однако, зубчатое колесо 16 первой пары и зубчатое колесо 17 второй пары образуют косозубую цилиндрическую зубчатую передачу. Как иллюстрировано на фиг.2 и 3, упорный подшипник 26 располагается между внешней частью корпуса 3 и прямозубым цилиндрическим зубчатым колесом 15 и работающая на сжатие пружина 27 установлена между упорным подшипником 26 и увеличенной частью промежуточного вала 20. Более того, упорный подшипник 28 располагается между внутренней частью корпуса 2 и косозубым цилиндрическим зубчатым колесом 16 и работающая на сжатие пружина 29 устанавливается между упорным подшипником 28 и косозубым цилиндрическим зубчатым колесом 16. В варианте осуществления настоящего изобретения, иллюстрированном на фиг.1 3, эти работающие на сжатие пружины 27 и 29 имеют такие характеристики, что работающая на сжатие пружина 27 оказывает более сильное воздействие, чем воздействие пружины 29.

[12]

Когда груз подвешивается на грузовой цепи 12, силы, вынуждающие вращаться каждый вал 7, 23, 20, 5, действуют на каждый вал, и на фиг.2, стрелками W, X, Y и Z показано направление вращения валов 7, 23, 20, 5. Когда прикладываются эти и силы, усилие, вынуждающее промежуточный вал 20 перемещаться в направлении упорного подшипника 27, прилагается к косозубому цилиндрическому зубчатому колесу 16 косозубым цилиндрическим зубчатым колесом 17. А именно, направление косых зубьев косозубых цилиндрических зубчатых колес 16 и 17 предопределяется так, чтобы, когда прикладываются эти силы, усилие, вынуждающее промежуточный вал 20 перемещаться в направлении упорного подшипника 27, было передано косозубому цилиндрическому зубчатому колесу 16 косозубым цилиндрическим зубчатым колесом 17. В это время, если усилие, вынуждающее промежуточный вал 20 перемещаться в направлении упорного подшипника 27, является больше, чем предопределенное усилие, определенное работающими на сжатие пружинами 27, 29, промежуточный вал 20 вынуждается перемещаться в направлении упорного подшипника 26, навстречу воздействию работающей на сжатие пружины 27, к положению, в котором прямозубое цилиндрическое зубчатое колесо 15 упирается в упорный подшипник 27, как иллюстрировано на фиг.4. То есть, если груз подвешивается на грузовую цепь 12, промежуточный вал 20 перемещается в направлении опорного подшипника 27. И наоборот, если никакой нагрузки не приложено на грузовую цепь 12, промежуточный вал 20 поддерживается в положении, в котором косозубое цилиндрическое зубчатое колесо 16 находится в состоянии контакта с упорным подшипником 28, как иллюстрировано на фиг.3. Соответственно этому, представляется возможным определять, имеется или нет подвешенный на грузовой цепи 12 груз, исходя из движения промежуточного вала 20.

[13]

В варианте осуществления данного изобретения, иллюстрированном на фиг.1
3, чтобы обнаруживать перемещение промежуточного вала 20, постоянный магнит 30 неподвижно крепится к торцевой поверхности промежуточного вала 20 и измерительный преобразователь MS, который является чувствительным к напряженности магнитного поля, образуемого постоянным магнитом 30, располагается за пределами внешней части корпуса 3. Измерительный преобразователь MS поддерживается внешней частью корпуса 3, через опорную скобу 31, и располагается так, чтобы быть обращенным к постоянному магниту 30, через тонкостенную часть 3а внешней части корпуса 3. Более того, в этом варианте осуществления данного изобретения, внешняя часть корпуса 3 выполнена из немагнитного материала с тем, чтобы магнитное поле, образованное постоянным магнитом 30, обладало способностью воздействовать на измерительный преобразователь MS.

[14]

Различные измерительные преобразователи могут использоваться в качестве измерительного преобразователя MS. Например, язычковый контактного типа измерительный преобразователь, имеющий два язычковых контакта, может использоваться в качестве измерительного преобразователя MS. В этом случае, один из контактов является нормально разомкнутым, а другой является замкнутым, когда постоянный магнит 30 приближается к измерительному преобразователю MS.

[15]

Фиг.5 иллюстрирует коммутационную схему для управления электродвигателем 4, в которой используется такой язычковый контактного типа измерительный преобразователь в качестве измерительного преобразователя MS.

[16]

Трансформатор фиг.5 Tr, имеющий первичную обмотку, соединенную с силовыми проводами S, T, предназначен для снижения напряжения. Кнопочный переключатель направления "ВВЕРХ" PB-U и реле направления "ВВЕРХ" MCl соединяются последовательно между противоположными концами вторичной обмотки трансформатора Tr, а кнопочный переключатель направления "ВНИЗ" PB-D и реле направления "ВНИЗ" МС2 соединяются последовательно между противоположными концами вторичной обмотки трансформатора Tr. Нормально разомкнутый контакт МС2-а реле МС2, нормально разомкнутый контакт MS-a измерительного преобразователя МS, нормально замкнутый контакт МСЗ-в резе МСЗ "БЫСТРОГО" движения и реле МС4 "МЕДЛЕННОГО" движения соединяются последовательно между противоположными концами вторичной обмотки трансформатора Tr. Более того, нормально разомкнутый контакт MCL-а реле направления "ВВЕРХ" MCl, нормально разомкнутый контакт MS-b измерительного преобразователя MS, нормально МС4-в реле МС4 "МЕДЛЕННОГО" движения и реле МС3 "БЫСТРОГО" движения соединяются последовательно между противоположными концами вторичной обмотки трансформатора Tr.

[17]

Далее, реле МС4 "МЕДЛЕННОГО" движения имеет нормально разомкнутый самоудерживающийся контакт МС4-a1, соединенный на одном конце между контактом МС2-а и контактом MS-а, и между контактом MCl-a и контактом MS-b, и другой конец этого контакта МС4-а1 соединяется между контактом М-а и контактом МС3-в.

[18]

В варианте осуществления изобретения (фиг.5), электродвигатель 4 представляет собой электрическую машину, в которой частота вращения может изменяться благодаря изменению числа полюсов от двух до четырех. Входные зажимы высокой частоты вращения 4а электродвигателя 4 соединяются с силовыми проводами R, S, Т через нормально разомкнутый контакт МС3-а реле МС3 "БЫСТРОГО" движения и через нормально разомкнутый контакт MC1-а реле МС1 направления "ВВЕРХ" или нормально разомкнутый контакт МС2-а реле МС2 направления "ВНИЗ". Входные зажимы низкой частоты вращения 4в электродвигателя 4 также соединяются с силовыми проводами R, S, Т через нормально разомкнутый контакт МС1-а реле МС1 направления "ВВЕРХ" или нормально разомкнутый контакт МС2-а реле МС2 направления "ВНИЗ".

[19]

Когда отсутствует нагрузка на грузовой цепи 12, контакт МS-а измерительного преобразователя М остается разомкнутым, а контакт MS-b измерительного преобразователя MS остается замкнутым (фиг.5).

[20]

В это время, когда кнопочный переключатель PB-U отжат вниз, и поскольку катушка возбуждения реле МС1 направления "ВВЕРХ" является подключенной к источнику питания, нормально разомкнутые контакты МС1-а оказываются ВКЛЮЧЕННЫМИ. Если нормально разомкнутые контакты МС1-а оказываются ВКЛЮЧЕННЫМИ, поскольку катушка возбуждения реле МС3 "БЫСТРОГО" движения является подключенной к источнику питания, нормально разомкнутые контакты МС3-а оказываются ВКЛЮЧЕННЫМИ, а нормально замкнутый контакт МС3-в оказывается ВЫКЛЮЧЕННЫМ. Поскольку входные зажимы 4а высокой частоты вращения электродвигателя 4 соединяются с силовыми проводами R, S, Т, электродвигатель 4, в результате, вращается с высокой частотой вращения в направлении, вынуждающем крюк грузовой цепи 12 перемещаться вверх.

[21]

Если имеется нагрузка на грузовой цепи 12 в то время, когда грузовая цепь 12 совершает движение вверх, промежуточный вал 20 перемещается в направлении измерительного преобразователя MS до тех пор, пока прямозубое цилиндрическое зубчатое колесо 15 не упрется в упорный подшипник 26.

[22]

В результате, нормально разомкнутый контакт МS-а измерительного преобразователя MS оказывается ВКЛЮЧЕННЫМ, а нормально замкнутый контакт MS-b измерительного преобразователя MS ВЫКЛЮЧЕННЫМ. Если нормально разомкнутый контакт MS-b измерительного преобразователя MS оказывается ВЫКЛЮЧЕННЫМ, поскольку катушка возбуждения реле МС3 "БЫСТРОГО" движения обесточивается, нормально разомкнутые контакты МС3-а оказывается ВЫКЛЮЧЕННЫМИ, а нормально замкнутый контакт МС3-в ВКЛЮЧЕННЫМ.

[23]

В это время, как упоминалось выше, нормально разомкнутый контакт МS-а измерительного преобразователя MS является ВКЛЮЧЕННЫМ, катушка возбуждения реле МС4 "МЕДЛЕННОГО" движения подключается к источнику питания. В результате, поскольку нормально разомкнутые контакты МС4-п являются включенными, входные зажимы 4в низкой частоты вращения электродвигателя 4 соединяются с силовыми проводами R, S, T, и, таким образом, электродвигатель 4 вращается с низкой частотой вращения в направлении, вынуждающем крюк грузовой цепи 12 перемещаться в направлении вверх. То есть, когда имеется нагрузка на грузовой цепи 12, скорость подъема грузовой цепи 12 автоматически изменяется от высокой скорости к низкой скорости.

[24]

Далее, когда катушка возбуждения реле МС4 "МЕДЛЕННОГО" движения подключена к источника питания, нормально разомкнутый самоудерживающийся контакт МС4-а1 оказывается ВКЛЮЧЕННЫМ. Соответственно этому, даже, если промежуточный вал 20 перемещается в направлении назад, после того как прямозубое цилиндрическое зубчатое колесо 15 уже уперлось в упорный подшипник 26, и, таким образом, нормально разомкнутый контакт MS-а измерительного преобразователя VS оказывается ВЫКЛЮЧЕННЫМ, поскольку катушка возбуждения реле МС4 направления "ВНИЗ" остается подключенной к источнику питания, электродвигатель 4 продолжает вращаться с низкой частотой вращения.

[25]

Когда кнопочный переключатель РВ-D отжимается вниз, поскольку катушка возбуждения реле МС2 движения "ВНИЗ" является подключенной к источнику питания, нормально разомкнутые контакты МС2-а являются ВКЛЮЧЕННЫМИ.

[26]

В это время, если не имеется никакого груза на крюке грузовой цепи 12, нормально разомкнутые контакты МС3-а являются ВКЛЮЧЕННЫМИ и, таким образом, электродвигатель 4 вращается с высокой частотой вращения в направлении, вынуждающем грузовую цепь 12 совершать движение в направлении вниз. И наоборот, если имеется нагрузка на грузовой цепи 12, т. к. нормально разомкнутые контакты МС4-а являются ВКЛЮЧЕННЫМИ, электродвигатель 4 вращается с низкой частотой вращения в направлении, вынуждающем грузовую цепь 12 совершать движение в направлении вниз. Соответственно этому, когда отсутствует нагрузка на грузовой цепи 12, скорость опускания грузовой цепи 12 автоматически изменяется от высокой скорости к низкой скорости.

[27]

Фиг.6 иллюстрирует случай, где элемент Холла используется в качестве измерительного преобразователя MS. В этом случае, измерительный преобразователь MS генерирует выходное напряжение, пропорциональное напряженности магнитного поля.

[28]

Выходное напряжение измерительного преобразователя MS подается к неинвертирующему терминалу компаратора 40, через усилитель 41, и контакты MS-а и MS-b реле MSL управляются напряжением выходного сигнала компаратора 40. В этом случае, когда отсутствует какая-либо нагрузка на грузовой цепи 12, выходное напряжение измерительного преобразователя MS находится на низком уровне и, в это время, контакт MS-а будет ВЫКЛЮЧЕННЫМ, а контакт MS-b - ВКЛЮЧЕННЫМ (фиг.6). И наоборот, когда имеется нагрузка на грузовой цепи 12, так как выходное напряжение измерительного преобразователя MS становится высоким, контакт MS-а будет ВКЛЮЧЕННЫМ, а контакт MS-b ВЫКЛЮЧЕННЫМ.

[29]

Фиг. 7 иллюстрирует другой вариант осуществления настоящего изобретения, который отличается от варианта, показанного на фигурах 1-5. На фиг.7, аналогичные структурные компоненты обозначены теми же самыми позициями, что и на фиг.1.

[30]

Как показано на фиг.7, в этом варианте осуществления настоящего изобретения, в дополнение к косозубым цилиндрическим зубчатым колесам 16, 17, шестеренчатая часть 13 выходного вала 5 и зубчатое колесо 15 первой пары зубчатых колес представляют собой косозубые цилиндрические зубчатые колеса. Направление геликоидальных (косых) зубьев геликоидальной шестеренчатой части 13 и косозубого цилиндрического зубчатого колеса 15 предопределяется так, что, когда имеется нагрузка на грузовой цепи 12, усилие, вынуждающее промежуточный вал 20 перемещаться в направлении измерительного преобразователя MS, прилагается к косозубому цилиндрическому зубчатому колесу 15 геликоидальной шестеренчатой частью 13. Соответственно этому, в этом варианте осуществления настоящего изобретения, когда имеется нагрузка на грузовой цепи 12, поскольку промежуточный вал 20 вынужден перемещаться в направлении измерительного преобразователя MS усилиями, прилагаемыми как косозубым цилиндрическим зубчатым колесом 17, так и геликоидальной шестеренчатой частью 13, можно достигнуть надежного перемещения промежуточного вала 20.

[31]

В вариантах осуществления настоящего изобретения, описанных выше измерительный преобразователь располагается за пределами внешней части корпуса 3 и, соответственно этому, достигается преимущество в том, что измерительный преобразователь MS не будет подвергаться повреждениям от смазочного масла, используемого для смазки понижающей передачи 14.

[32]

Согласно настоящему изобретению, представляется возможным обнаружение нагрузки на грузовой цепи, посредством использования движения части понижающей передачи, снабженной электродвигателем. Поэтому возможно снижение производственных расходов при изготовлении тельфера без увеличения его габаритов.

Как компенсировать расходы
на инновационную разработку
Похожие патенты