патент
№ RU 2072086
МПК F41H9/00

ЗАГРАДИТЕЛЬНЫЙ АВТОМОБИЛЬ

Авторы:
Потемкин Э.К. Комяженко А.Г. Шапиро Б.З.
Все (5)
Номер заявки
94038813/08
Дата подачи заявки
21.10.1994
Опубликовано
20.01.1997
Страна
RU
Как управлять
интеллектуальной собственностью
Чертежи 
1
Реферат

[21]

Изобретение относится к средствам пресечения массовых беспорядков. Заградительный автомобиль, содержащий бронированный кузов, гидромониторные установки, устройства подачи слезоточивого газа, дополнительно оборудован установленными на бортах поворотными раздвижными заграждениями, снабженными сцепными устройствами и форсунками, соединенными с устройством подачи слезоточивого газа. Поворотные раздвижные заграждения могут быть снабжены приводами их поворота вокруг вертикальной оси и приводами изменения их длины, а сцепные устройства могут быть установлены на концах заграждения. 2 з. п. ф-лы., 2 ил.

Формула изобретения

1. Заградительный автомобиль, содержащий бронированный кузов с установленными на нем гидромониторными установками и устройствами подачи слезоточивого газа, отличающийся тем, что на бортах кузова установлены снабженные сцепными устройствами поворотные раздвижные заграждения, расположенные в секторах действия гидромониторных установок и оборудованные форсунками, соединенными с устройствами подачи слезоточивого газа.

2. Автомобиль по п. 1, отличающийся тем, что поворотные раздвижные заграждения снабжены приводами их поворота вокруг вертикальной оси и приводами изменения их длины.

3. Автомобиль по п. 1 или 2, отличающийся тем, что сцепные устройства установлены на концах поворотных раздвижных заграждений.

Описание

[1]

Изобретение относится к области средств для предотвращения и подавления массовых беспорядков на улицах и площадях, а также организованных выступлений в местах заключения, а более конкретно к области спецавтомобилей для оснащения подразделений предохранительных органов, участвующих в пресечении противоправных действий.

[2]

Анализ материалов о столкновениях участников массовых уличных беспорядков и организованных выступлений в местах заключения с силами органы правопорядка во многих странах мира, в т. ч. и в России, показывает, что, как правило, эти столкновения превращаются в рукопашные схватки с применением холодного (дубинки, обрезки труб, самодельные пики, заточки и т. п.), а иногда и огнестрельного оружия. Такой характер столкновений требует привлечения большого количества сотрудников предохранительных органов для сдерживания и ликвидации беспорядков и приводит к многочисленным травматическим повреждениям с обеих сторон, зачастую тяжелым.

[3]

Применение силами охраны порядка для перекрытия магистралей и проходов и для ограждения доступа к отдельным объектам переносимых заграждений малоэффективно по следующим причинам:
доставка и установка заграждений требует значительного времени, что не позволяет их мобильно перемещать в соответствии с быстро меняющейся обстановкой;
около загражданий для их охраны должно находиться значительное количество сотрудников правоохранительных органов, т. к. сами по себе заграждения легко преодолимы толпой;
не исключается непосредственный силовой контакт между подразделениями охраны правопорядка и участниками беспорядков, что приводит к травмам с обеих сторон.

[4]

Для повышения эффективности работы сил охраны правопорядка выпускаются и используются специальные автомобили, оснащенные водометами. Такие автомобили действуют, как правило, разрознено, атакуя толпу на отдельных участках, что позволяет толпе обтекать их и нападать на машины с помощью подручных средств сзади и сборку. Примером может служить автомобиль польского производства "Hedromil", а также отечественный автомобиль "Урал" (смотри, например, "Авторевю", 1994, 9, с. 22).

[5]

Одним из последних достижений в области создания специальных автомобилей для сил охраны правопорядка является принятый за прототип НИИ Спецтехники МВД РФ и изготавливаемый Дмитровским опытно-механическим заводом водометный спецавтомобиль "Лавина-М", представленный на выставке "Милипол-94" (также см. "Авторевю", 1994, N 9, с. 22). Автомобиль "Лавина-М" создан на шасси машины высокой проходимости с колесной формулой 8х8. К его основному оснащению относятся: бак для воды емкостью 10000 л. насос и 4 ствола, обеспечивающие подачу воды до 40 л./с и водометание на дальность до 40.60 м при давлении воды 8.9 атм. расположенные по бортам и сзади 10 форсунок, через которые выбрасываются слезоточивый газ типа "Черемухам"; гранатометы; оборудование для установки дымозавесы; мощный бульдозерный отвал с гидроуправлением. Экипаж машины состоит из 4 человек: командира, водителя и двух лафетчика.

[6]

Являясь крупным достижением в области спецавтомобиля для сил охраны правопорядка, автомобиль "Лавина-М" сохраняет основной характерный для известных спецавтомобилей недостаток, заключающийся в том, что конструкция и состав оснащения машины предопределяет ее использование как отдельной боевой единицы, допускающей ее обтекание толпой и просачивание толпы сквозь строй таких машин, а также между машиной и стенами образующих улицу зданий. По этой причине не обеспечивается эффективная работа машины или подразделения машин при перекрытии движения нежелательных скоплений людей по улицам и площадям, доступа к охраняемым объектам, входов и выходов в местах заключения и при освобождении пространства от толпы путем ее выдавливания в заданном направлении. Выполнение своих функций автомобиль "Лавина-М" осуществляет только при условии непрерывной работы водометных установок, что требует его периодической дозаправки. Возможность просачивания толпы сквозь шеренгу машин и окружение машин участниками беспорядков создают дополнительную опасность для экипажа и условие для непосредственного контакта спецавтомобиля с участниками беспорядков.

[7]

Вышеупомянутый автомобиль "Лавина-М" может служить прототипом.

[8]

Задачей, решаемой изобретением, является повышение эффективности специальной машины при подавлении беспорядков за счет совершенствования ее конструкции, обеспечивающего возможность группового использования машин, исключающего возможность просачивания участников беспорядков сквозь строй машин.

[9]

Указанная задача решается тем, что на бортах автомобиля установлены снабженные сцепными устройствами поворотные раздвижные заграждения, расположенные в секторах действия гидромониторных установок и снабженные форсунками, соединенными с устройством подачи слезоточивого газа.

[10]

Проведенный авторами патентно-информационный поиск показывает, что в доступных источниках технической информации сведения о спецавтомобилях, отличающихся упомянутыми выше существенными признаками, отсутствуют, вследствие чего заявляемый спецавтомобиль соответствует критерию "новизна".

[11]

Установка на бортах автомобиля снабженных сцепными устройствами поворотных раздвижных заграждений, расположенных в секторах действия гидромониторных установок и снабженных форсунками, соединенными с устройством подачи слезоточивого газа, не следует явным образом из известных патентных материалов, в т. ч. запатентованных на территории Российской Федерации технических решений, сведений о полезных моделях и промышленных образцах, вследствие чего заявляемое техническое решение соответствует критерию "изобретательский уровень".

[12]

Заявляемое техническое решение может быть реализовано при штучном и серийном производстве на базе серийных колесных машин с использованием промышленно выпускаемых комплектующих, вследствие чего оно соответствует критерию "промышленная применимость".

[13]

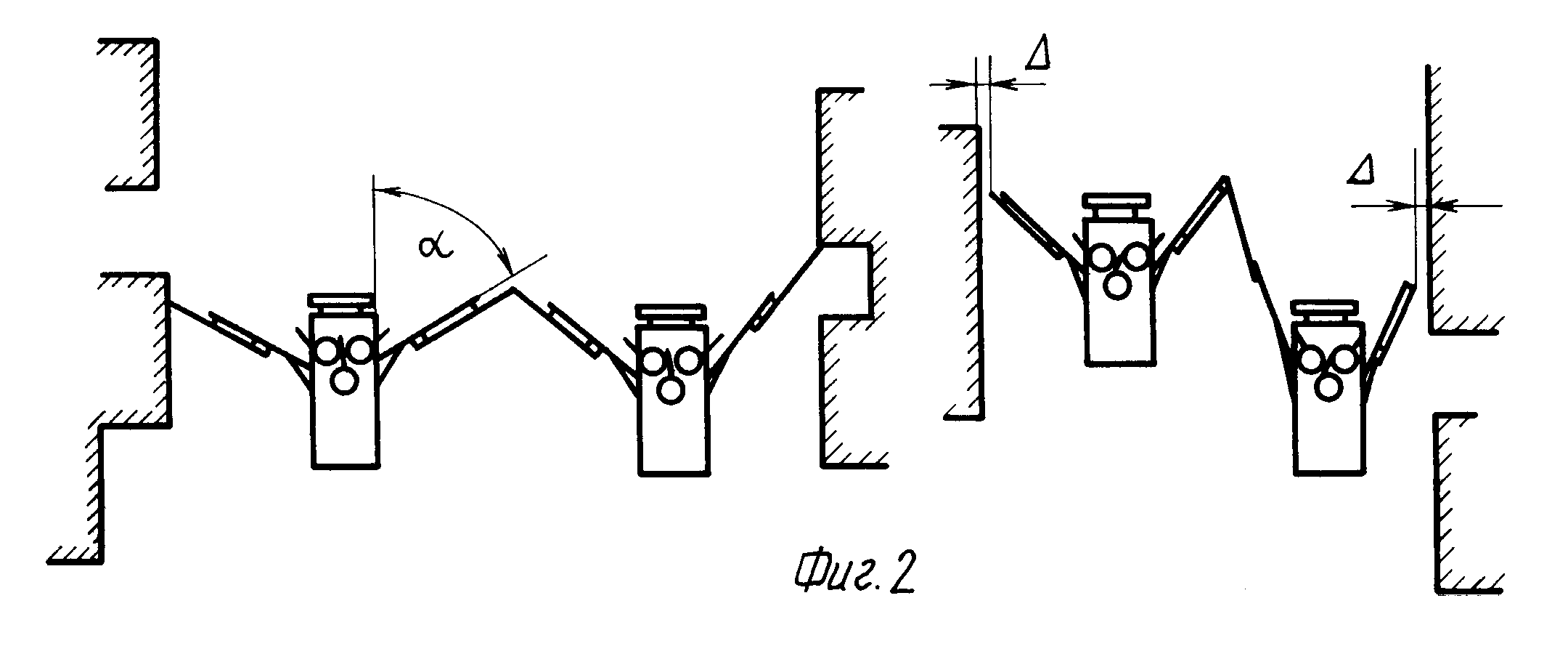
На фиг.1 показано устройство спецавтомобиля, на фиг.2 схемы, поясняющие тактику его использования.

[14]

Заградительный автомобиль содержит бронированный кузов 1, снабженный гидромониторными установками 2 и устройством подачи слезоточивого газа 3. Кроме того, на бортах кузова установлены снабженные сцепными устройствами 4 поворотные раздвижные заграждения 5, расположенные в секторах действия гидромониторных установок 2 и снабженные форсунками 6, соединенными с устройством подачи слезоточивого газа 3.

[15]

При реализации заявляемой машины могут быть использованы следующие технические решения. В качестве базы можно применить серийный автомобиль большой грузоподъемности, например, КамАЗ-53212, на который устанавливают бронированный кузов 1, выполненный на бронеплит толщиной 6.8 мм. В качестве гидромониторных установок 2 можно использовать типовые лафетные установки, в т. ч. с регулируемым сечением сопла. Форсунки 6 могут быть аналогичными имеющимся в прототипе в составе устройства подачи слезоточивого газа 3. Сцепные устройства 4 могут быть выполнены в виде дистанционно управляемых или автоматически срабатывающих электромагнитных замков. Бортовые поворотные раздвижные заграждения 5 могут быть выполнены в виде двух связанных секций - поворотной решетки 7, образующей первую секцию длиной около 6 м, и перемещающейся вдоль нее решетки 8, образующей вторую секцию. Суммарная длина одного поворотного раздвижного заграждения 5 при полностью выдвинутой решетке 8 составляет около 12 м, что обеспечивает максимальную ширину зоны заграждения одной машины при двух развернутых заграждениях 5 около 27 м. Поворотные раздвижные заграждения 5 могут быть снабжены приводами их поворота 9 и приводами изменения их длины 10, которые могут быть электрическими или гидравлическими. Автомобиль может быть оборудован бульдозерным отвалом 13.

[16]

Использование заявляемого спецавтомобиля осуществляется следующим образом. При возникновении угрозы или начале беспорядков машины устанавливают по фронту, направленному в сторону ожидаемого наступления толпы, бортовые поворотные раздвижные заграждения 5 разворачивают и раздвигают. После приведения в контакт концов заграждений соседних машин срабатывают сцепные устройства 4, и машины образуют сплошное жесткое решетчатое заграждение (фиг. 2 а). При этом на крайних в шеренге машинах выдвижение наружных по отношению к шеренге машин секций заграждения может осуществляться до упора в стены домов, ограничивающих блокируемую улицу или проезд. Находящиеся в сцепке секции заграждений целесообразно развернуть вперед на углы α по отношению к корпусам машин, что обеспечивает удобный обзор экипажами указанных секций из кабин автомобилей. Поворотные управляемые лафетчиками гидромониторные установки 2, количество которых на каждой из машин целесообразно иметь не менее трех, следует развернуть следующим образом: Центральный ствол устанавливается в положение "вперед" и служит для предотвращения прорыва толпы к машинам, т. е. ее сдерживания на дальности водометания (около 40.60 м). Боковые стволы ориентируют снаружи и параллельно соответствующим секциям заграждений, обеспечивая отсекание участников беспорядков, прорвавшихся через водяную завесу центральных стволов, от бортовых заграждений.

[17]

Такое использование гидромониторов 2 наряду с применением установленных на поворотных раздвижных заграждениях 5 форсунок 6 фактически полностью исключает преодолевание участниками беспорядков строя машин, обеспечивая их эффективность при преграждении доступа к объектам и перекрытии проездов. Следует отметить, что при преграждении допускается разворот секций заграждений и перпендикулярно к корпусам соответствующий машин (фиг. 2 б).

[18]

Второй основной режим работы машин вытеснение толпы с площадей и улиц и ее рассеивание (фиг. 2 в). При этом на крайних в шеренге машинах наружные по отношению к шеренге машин секции заграждений не касаются стен домов, ограничивающих подлежащую очистке от толпы улицу, образуя зазор D. Машины движутся вперед как сплошное подвижное заграждение. Для предохранения бортовых заграждений 5 от поломки из-за несогласованного движения соседних автомобилей в конструкции секций заграждений и сцепных устройств предусмотрены упругие звенья. При этом непрерывно работают водометные установки 2, а при появлении людей около машин и форсунки 6.

[19]

Невозможность для участников беспорядков форсировать заграждения, просочиться сквозь боевой порядок машин, работающих как единое целое, обеспечивает высокую эффективность их использования в режимах "преграждение" и "вытеснение и рассеивание". При использовании машин непосредственный контакт между участниками беспорядков и машинами полностью исключается, что значительно снижает вероятность травматизма с обеих сторон. При этом большое значение имеет устное извещение участников беспорядков о бесполезности их попыток прорыва через строй машин, которое может осуществляться через громкоговорящую установку.

[20]

Оснащение сил органы правопорядка России заявляемыми машинами позволит существенно повысить эффективность их работы при локализации и ликвидации беспорядков.

Как компенсировать расходы
на инновационную разработку
Похожие патенты