патент
№ RU 207094
МПК F23C10/00

ТОПКА-ГАЗОГЕНЕРАТОР КИПЯЩЕГО СЛОЯ

Авторы:
Губачева Лариса Александровна (UA) Янголь Юлия Романовна (UA) Макарова Ирина Викторовна
Все (6)
Номер заявки
2020130529
Дата подачи заявки
17.09.2020
Опубликовано
12.10.2021
Страна
RU
Как управлять
интеллектуальной собственностью
Чертежи 
1
Реферат

Область применения: полезная модель относится к области энергетики, а именно к топочным устройствам кипящего слоя и газогенераторам, и может быть использована в промышленных энергетических отопительных котлах, а также для получения горючего и генераторного газа.Сущность полезной модели: топка-газогенератор кипящего слоя, содержащая ограждающие стены, по меньшей мере один топочный экран устройства ввода горючего материала и вывода шлака, воздухоподводящие трубопроводы и короба, воздухораспределительную решетку для сжигания в кипящем слое и дожигания шлака, поперечный коллектор, установленный над этой решеткой, подключенный к топочному экрану и разделяющий поверхность решетки на зоны кипящего слоя и дожигания шлака, связанные с ограждающими стенами, топка также снабжена шурующей планкой, имеющей возможность возвратно-поступательного движения по поверхности воздухораспределительной решетки, и опрокидывающимся колосником, прикрепленным к концу решетки шарнирно, топка-газогенератор кипящего слоя снабжена установленными на своде газоотводящим патрубком и взрывным предохранительным клапаном.Технический результат: расширение функций топки-газогенератора кипящего слоя с целью получения газообразного горючего газа из твердых отходов; снижение спекаемости шлаков за счет уменьшения максимальной температуры процесса газификации твердых отходов; облегчение процессов удаления шлаков; снижение количества оксидов азота в генераторном газе.

Формула изобретения

1. Топка-газогенератор кипящего слоя, содержащая фронтальный два боковых и задний топочные экраны, переднюю, две боковые и заднюю стены, устройство ввода горючего материала, устройство вывода шлака, водоохлаждаемую воздухораспределительную решетку, поперечный коллектор, установленный над этой решеткой, подключенный к топочному экрану, сопла для ввода вторичного воздуха, встроенные в ограждающие стены над кипящем слоем, шурующую планку, имеющую возможность возвратно-поступательного движения по поверхности воздухораспределительной решетки, соединенную со штангами, опрокидывающийся колосник, прикрепленный одним из торцов к вращающемуся валу, воздушный короб зоны кипящего слоя, воздушный короб зоны выжигания шлака, патрубки, в которых размещены шиберы, пружину, окна, размещенные в заднем топочном экране, отводящие и подводящие патрубки, отличающаяся тем, что снабжена верхним коллектором для получения смеси воздуха с водяным паром.

2. Топка-газогенератор кипящего слоя по п.1, отличающаяся тем, что снабжена крышкой с установленными на ней регулировочным краном для разделения дымовой трубы, снабжённой дополнительным шибером, и газоподающей трубы, и предохранительным клапаном, расположенным во взрывоотводной трубе.

Описание

[1]

Область техники

[2]

Полезная модель относится к области энергетики, а именно, к топочным устройствам кипящего слоя и газогенераторам, и может быть использована в промышленных и энергетических котлах, а также отопительных котлах для эффективного сжигания дробленых топлив и горючих бытовых отходов, и получения горючего газообразного топлива.

[3]

Развитие цивилизации на протяжении длительного времени связано с воздействием человека на природные объекты, в результате чего нарушается экологическое равновесие [1 c.5]. Научно-технический прогресс ведет к росту энергопотребления и истощению, в связи с этим, невозобновляемых природных ресурсов, в связи с чем развивается зеленая энергетика, ведется поиск альтернативных источников энергии и технологий их получения и применения. Один из видов негативного воздействия человека на окружающую среду - ее загрязнение твердыми, жидкими и газообразными отходами, которые при определенных условиях можно использовать как вторичное сырье для получения альтернативного топлива.

[4]

Уровень техники

[5]

Дальнейшее ухудшение состояния окружающей среды становится опасным для человечества, поэтому необходимы меры по ее защите. Отходы бытового и производственного происхождения имеют разнообразнейшую структуру. Современные технологии по переработке твердых бытовых отходов и уровень техники позволяют организовать технологический процесс как в промышленном масштабе, так и на небольших площадках [2 с. 519]. Сложность непосредственной утилизации отходов, в первую очередь твердых бытовых отходов (ТБО) обусловлена, с одной стороны, их исключительной многокомпонентностью, с другой - повышенными санитарными требованиями к процессу переработки.

[6]

В связи с этим термическая переработка - сжигание до сего времени остается наиболее распространенным способом первичной обработки бытовых отходов. Сжигание бытовых и промышленных отходов, помимо снижения объема и массы, позволяет получить дополнительные энергетические ресурсы, которые могут быть использованы для централизованного отопления и производства электроэнергии.

[7]

Известна топка кипящего слоя для сжигания твердых топлив и горючих отходов, содержащая ограждающие стены, из них фронтовая, две боковые и задняя, образующие зону кипящего слоя и надслоевой объем топки, воздухораспределительную решетку для сжигания твердых топлив и горючих отходов в кипящем слое, расположенную в нижней части топки, устройство для ввода горючего материала на кипящий слой или в кипящий слой, а также устройства для вывода шлака, размещенные под этой решеткой [3 с. 35-36, рис.15].

[8]

Основным недостатком известной топки являются высокие эксплуатационные затраты при принудительном механическом выводе шлака и шлаковых агломератов из кипящего слоя с воздухораспределительной решетки, образующихся при температуре слоя выше 1000÷1200°С, так как накопление шлаковых агломератов на воздухораспределительной решетке приводит к залеганию материала слоя, полному его спеканию, то есть зашлаковыванию, и, следовательно, к аварийной остановке котла. Поддержание приемлемых по условиям бесшлаковочной работы температур кипящего слоя требует увеличенного расхода воздуха под слой, что приводит к повышенным избыткам воздуха в дымовых газах и, соответственно, большим потерям тепла с уходящими газами, снижению коэффициента полезного действия котла, повышенному расходу топлива. Особо применяемым является способ снижения температурного уровня в топке путем рециркуляции дымовых газов в топочную камеру.

[9]

Патентные документы

[10]

Известно изобретение - авторское свидетельство RU 2300051 кл. F23C10/00, опубл. 27.05.2007, бюл. 15, авторы Скрябин А.А., Сидоров А.М., Пузырев Е.М., Шарапов М.А. - “Топка кипящего слоя для сжигания твердых дробленых топлив и горючих отходов”. Топка кипящего слоя для сжигания твердых дробленых топлив и горючих отходов, содержащая ограждающие стены, по меньшей мере, один топочный экран, устройства ввода горючего материала и вывода шлака, воздухораспределительную решетку для сжигания в кипящем слое и дожигания шлака, поперечный коллектор, установленный над этой решеткой, подключенный к топочному экрану и разделяющий поверхность решетки на зоны кипящего слоя и выжигания шлака, сопла для ввода вторичного воздуха, отличающаяся тем, что она снабжена шурующей планкой, имеющей возможность возвратно-поступательного движения по поверхности неподвижной воздухораспределительной решетки для сжигания твердых дробленых топлив и горючих отходов в кипящем слое и дожигания шлака, и опрокидывающимся колосником, прикрепленным к концу указанной решетки со стороны зоны выжигания шлака, а сопла для ввода вторичного воздуха встроены в ограждающие стены над кипящим слоем.

[11]

Известно изобретение - патент RU 2520781, кл F23C10/20 опубл. 27.06.2014, бюл. 21, авторы Хоменок Л.А., Бреус В.И., Шестаков Н.С., Лейкам А.Э., Сорокин А.П., Чебакова Г.Ф., Шурчалин А.А. - “Топка с циркулирующим кипящим слоем”. Топка с циркулирующим кипящим слоем, включающая камеру сгорания с устройством для ввода топлива, размещенный под камерой сгорания воздушный короб, в верхней части которого расположена воздухораспределительная решетка провального типа со сливным бункером золы, соединенным со шнековым золоудалителем, состоящая из воздухоподводящих труб, снабженных колпачками с круглыми отверстиями, отличающаяся тем, что воздухораспределительная решетка разделена на секции с отдельными сливными бункерами золы, встроенными в воздушный короб, причем количество устанавливаемых бункеров определяется в соответствии с соотношением паропроизводительности одной секции решетки к общей паропроизводительности котла.

[12]

Известно изобретение - патент RU 2170879, кл. F23C10/20, опубл. 20.07.2001., авторы Делягин Г.Н., Петраков А.П., Нестеров Н.Н. - “Топка кипящего слоя”. Топка кипящего слоя, содержащая вертикальную камеру сгорания, снабженную питателем топлива и воздухораспределительной решеткой с отверстиями для подвода воздуха, расположенной над узлом для подвода окислителя, отличающаяся тем, что воздухораспределительная решетка выполнена неподвижной в виде четырехгранной пирамиды, в каждой грани которой выполнены отверстия для подвода воздуха, при этом вершина пирамиды направлена в сторону узла для подвода окислителя.

[13]

Известно изобретение - патент RU 2231714, кл. F23C10/02, опубл. 27.06.2004 бюл. №28, авторы Кравченко В.Е., Юферев Ю.В., Попов В.А., Лукичев А.Е., Воронов В.Ю., Балабан А.В. - “Топка для сжигания твердого топлива в кипящем слое”. Топка для сжигания твердого топлива в кипящем слое, состоящая из узкой, подвижной колосниковой решетки с боковыми уплотнениями, имеющей наклон к горизонту, расположенного внутри решетки секционированного дутьевого короба и расположенной с обеих сторон вдоль и выше верхней ветви полотна решетки поверхности охлаждения, отличающаяся тем, что решетка имеет обратный ход и движется от тыльной к фронтальной части топки, при этом верхняя точка полотна расположена у фронтальной части, а нижняя - у тыльной части топки, тяговое усилие передается непосредственно от звездочек ведущего вала на ведущие колосники полотна решетки, перемещение полотна колосниковой решетки осуществляется по опорным направляющим полозьям, боковые уплотнения решетки выполнены из отдельных пластин, установленных между колосниковым полотном и щеками рамы, поверхность охлаждения колосниковой решетки выполнена в виде панели из ряда труб, размещенных друг над другом вплотную, причем ось каждой трубы смещена относительно оси нижней соседней с ней трубы в направлении боковых стен топки.

[14]

Известно изобретение - патент RU 2511790, кл. F23G5/32, F23H9/02, F23B40/02, F23B30/08, F23C10/02, опубл. 10.04.2014 бюл. №27, авторы Тарлецкий А.Г., Ковалёв М.М., Тарлецкий А.А., Козлов С.П. - “Топка для сжигания льняной мякины”. Топка для сжигания льняной мякины, содержащая накопительный бункер с дозирующим шнеком, топочную камеру с колосниковой решеткой и механизм золоудаления, отличающаяся тем, что колосниковая решетка состоит из двух частей - верхней, выполненной в виде решетчатого желоба, охватывающего снизу дозирующий шнек, и второй нижней части, выполненной в виде трехгранной призмы, боковые грани которой представляют собой горизонтально расположенные решетчатые ступеньки. Топка для сжигания льняной мякины обеспечивает горение мякины во всем объеме топки, полное и интенсивное ее сжигание.

[15]

Наиболее близкой к предлагаемой полезной модели по технической сущности является топка кипящего слоя для сжигания твердых дробленых топлив и горючих отходов, содержащая ограждающие стены - фронтовую, две боковые и заднюю, образующие зону кипящего слоя и надслоевой объем топки, неподвижную воздухораспределительную решетку для сжигания твердых топлив и горючих отходов в кипящем слое, расположенную в нижней части топки, устройство ввода горючего материала на кипящий слой или в кипящий слой, а также устройства вывода шлака, размещенные под этой решеткой (см. [4]), выбранная в качестве прототипа.

[16]

Задачей заявляемой полезной модели является расширение функций топки-газогенератора кипящего слоя с целью получения газообразного горючего газа из твердых отходов; снижение спекаемости шлаков за счет уменьшения максимальной температуры процесса газификации твердых отходов; облегчение процессов удаления шлаков; снижение количества оксидов азота в генераторном газе.

[17]

Поставленная задача достигается тем, что топка-газогенератор кипящего слоя для сжигания твердых дробленых топлив и горючих отходов, содержащая ограждающие стены, по меньшей мере один топочный экран, устройства ввода горючего материала и вывода шлака, воздухоподводящие трубопроводы, поперечный коллектор, установленный над воздухораспределительной решеткой, подключенный к топочному экрану и разделяющий поверхность решетки на зоны кипящего слоя и выжигания шлака, связанные с ограждающими стенами, топка-газогенератор снабжена шурующей планкой, имеющей возможность возвратно-поступательного движения по поверхности неподвижной воздухораспределительной решетки и опрокидывающимся колосником, прикрепленным к концу решетки шарнирно, а сопла для ввода вторичного воздуха встроены в ограждающие стены над кипящем слоем, согласно полезной модели топка-газогенератор снабжена установленными газоотводящим патрубком и взрывным предохранительным клапаном.

[18]

Повышение эффективности выжигания шлака обусловлено совмещением направленного перемещения материала слоя по неподвижной воздухораспределительной решетке в сторону опрокидывающегося колосника с интенсивной шуровкой, то есть ворошением материала слоя, посредством шурующей планки, где расположен газоотводящий патрубок, также взрывной предохранительный клапан.

[19]

Краткое описание чертежей и иных материалов

[20]

Сущность технического решения заявленной полезной модели поясняется чертежами.

[21]

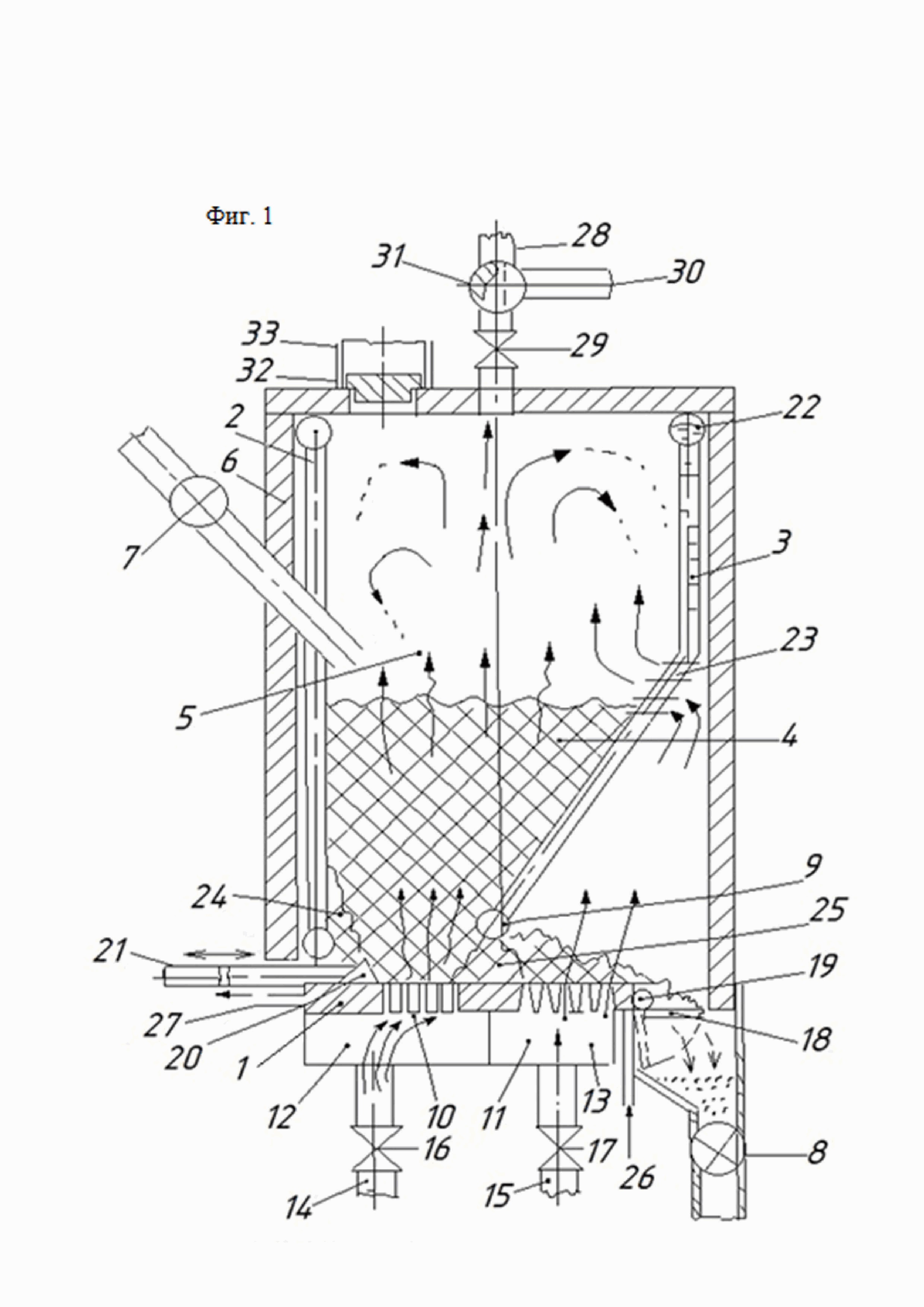
Фиг. 1. Чертеж устройства для термической переработки отходов (вид сбоку справа)

[22]

1 – ретортная печь, 2 - сменная реторта, 3 - конденсатор-холодильник, 4 - сборник-сепаратор жидких продуктов, 5 - газожидкостный сепаратор, 6 - система наддува, 7 – манометр, 9 - крышка, 10 - песочный затвор, 11 - шахта, 12 - печь с футеровкой, 18 - мотор-генератор, 19 - выхлопная труба, 20 - конический конец.

[23]

Позиции на чертеже

[24]

Таблица 1

[25]

ПозицияОбозначение
1Неподвижная водоохлаждаемая воздухораспределительная решетка
2Фронтальный топочный экран
3Задний топочный экран
4Кипящий слой
5Надслоевое пространство
6Ограждающие стены
7Устройство для ввода горючего материала
8Устройство для вывода шлака
9Поперечный коллектор
10Зона кипящего слоя
11Зона кипятильника
12Воздушный короб зоны кипящего слоя
13Воздушный короб зоны кипятильника
14Патрубок, подключенный к воздушному коробу зоны кипящего слоя
15Патрубок, подключенный к воздушному коробу зоны кипятильника
16, 17Регулирующие шиберы для подачи окислителя (воздуха) под решетку
18Опрокидывающийся колосник
19Вращающийся вал
20Шурующая планка
21Штанги для подвода и отвода охлаждающей воды
22Верхний коллектор
23Окна
24Фронтовая зона залегания материала кипящего слоя
25Задняя зона залегания материала кипящего слоя
26подводящий патрубок для подвода воды
27отводящий патрубок для отвода воды
28Дымовая труба
29Шибер дымовой трубы
30Газоотводящая труба
31Регулировочный кран
32Взрывной предохранительный клапан
33Взрывоотводная труба

[26]

Топка-газогенератор кипящего слоя содержит неподвижную водоохлаждаемую воздухораспределительную решетку 1 для сжигания дробленых топлив и горючих отходов и дожигания шлака, фронтальный 2, два боковых (на чертеже не показаны) и задний 3 топочные экраны, ограждающие кипящий слой 4 и надслоевое пространство 5 ограждающих стен (фронтовой, 2-боковых и задней) 6, устройства 7 для ввода горючего материала, в качестве которого используются твердые дробленые топлива и горючие отходы, устройство 8 для вывода шлака. Над воздухораспределительной решеткой 1, расположенной в нижней части топки, установлен поперечный коллектор 9, подключенный к заднему 3 топочному экрану и разделяющий ее поверхность на зону 10 кипящего слоя и зону 11 кипятильника. При этом топочные экраны служат для защиты изнутри ограждающих стен 6. Устройство 7 для ввода горючего материала может быть расположено на фронтальном 2 топочном экране, например, над кипящим слоем 4.

[27]

Под воздухораспределительной решеткой 1 установлены воздушный короб 12 зоны 10 кипящего слоя и второй воздушный короб 13 зоны 11 кипятильника с подключенными к ним соответственно, патрубками 14 и 15, в которых размещены регулирующие шиберы 16 и 17 для подачи окислителя, а именно воздуха, под решетку 1. В конце решетки 1 со стороны зоны 11 кипятильника расположен опрокидывающийся колосник 18, обеспечивающий дополнительное выжигание горючих топлив в шлаке. Опрокидывающийся колосник 18 прикреплен одним из торцов к вращающемуся валу 19, в свою очередь, прикрепленному снизу оконечной кромки решетки 1, и снабжен пружиной, удерживающей его в горизонтальном положении (на чертеже не показана).

[28]

Топка-газогенератор кипящего слоя оборудована шурующей планкой 20, установленной с возможностью возвратно-поступательного движения по верхней поверхности решетки 1. Шурующая планка 20 выполнена, например, с треугольным профилем в поперечном сечении, который при периодическом совершении планкой рабочих ходов обеспечивает направленное перемещение материала слоя по поверхности решетки 1 в сторону опрокидывающегося колосника 18. Шурующая планка 20 соединена со штангами 21 для подвода и отвода охлаждающей воды, то есть является водоохлаждаемой.

[29]

В режиме ожидания шурующая планка 20 расположена на решетке 1 в ее начале, верхний коллектор 22, где расположены окна 23, внизу фронтовой зоны 24 залегания материала кипящего слоя 4. Задняя зона 25 залегания материала кипящего слоя 4 формируется на решетке 1 между зоной 10 кипящего слоя и зоной 1 тыла воздухораспределительной решетки.

[30]

Воздухораспределительная решетка 1 снабжена подводящим 26 и отводящим 27 патрубками для подвода и отвода воды, то есть является водоохлаждаемой. В верхней части надслоевого пространства 5 расположен фронтальный топочный экран 2, дымовая труба 28 с шибером 29, газоотводящая труба 30 с регулировочным краном 31, а также взрывной предохранительный клапан 32 и взрывоотводная труба 33.

[31]

Полезная модель поясняется чертежом, на котором изображена схема топки кипящего слоя для сжигания дробленых топлив и горючих отходов.

[32]

На чертеже дополнительно представлено следующее:

[33]

направления движения шурующей планки обозначены горизонтальной линией со стрелками на концах;

[34]

направление ввода горючего материала обозначено линией со стрелкой, расположенной под углом к горизонтали;

[35]

направление вывода шлака обозначено вертикальной линией со стрелкой с острием вниз;

[36]

направление вывода дымовых газов обозначено вертикальной пунктирной линией со стрелкой с острием вверх;

[37]

направление движения продуктов сгорания и уноса из зоны выжигания шлака в надслоевое пространство топки обозначено изогнутыми линиями со стрелками;

[38]

направления ввода охлаждающей воды в воздухораспределительную решетку и вывода показаны соответственно вертикальной линией со стрелкой с острием вверх и горизонтальной линией со стрелкой.

[39]

Топка-газогенератор кипящего слоя работает следующим образом.

[40]

Топливо из устройства 7 подается в кипящий слой 4 на зону 10 кипящего слоя решетки 1. При этом через патрубок 14 с шибером 16, воздушный короб 12 и решетку 1 в кипящий слой 4 подается 25-30% воздуха, необходимого для горения; через патрубок 15 с шибером 17, воздушный короб 13 и решетку 1 под слой шлака подается 15-8% воздуха, необходимого на выжигание шлака. Около 2% воздуха присасывается через колосник 18.

[41]

Режим розжига – открытый шибер 10 воздуховода 14 и шибер 29 дымовой трубы 28, а регулировочный кран 31 перекрывает газоотводящий трубопровод 30 (шибер 17 закрыт). На решетке 1 размещается легковоспламеняющаяся порция твердого топлива и поджигается от внешнего источника. После сгорания первичной порции твердого топлива открывается устройство 7 ввода горючего материала.

[42]

После устойчивого горения слоя топлива в нижней фронтовой зоне 24 кран 31 поворачивается и направляет дымовые газы в газопровод 30.

[43]

Для увеличения теплотворной способности генераторного газа в короб 13 подается 3-5% воздуха с водяным паром, получаемым в верхнем коллекторе 22 заднего экрана 3 для дожигания агломерата над воздухораспределительной решеткой 1.

[44]

Если в нижней части зоны 4 кипящего слоя тяжелые частицы поднимаются под действием воздуха большой скорости, выходящего из решетки 1, то под сводом происходит разделение на газовый поток, поступающий в приемную дымовую трубу 28, а тяжелые частицы топлива ударяются в свод и опускаются вдоль фронтальной и задней стенок 6 и экранов 3 и попадают в зону кипящего слоя 4, чем обеспечивается процесс рециркуляции.

[45]

Шурующей планкой 20 совершаются рабочие прямые движения на решетке 1 в сторону колосника 18, и шурующей планкой 20, перемещающей части агломерата и шлака под поперечным коллектором 9 через заднюю зону 25 залегающего слоя зоны 4 в зону кипятильника 11. В конце рабочего хода планки 20 шлак сталкивается с воздухораспределительной решетки 1 на опрокидывающийся колосник 18, а после его поворота вокруг вращающего вала 19 шлак поступает на шибер 17 устройства 8 для вывода шлака. В результате ворошения материала обеспечивается интенсификации разложения шлака и насыщение углеводородами горючего газа.

[46]

Подмешиванием дымовых охлажденных газов и водяных паров в воздух, подаваемый под распределительную решетки 1 в зону 10 кипящего слоя 4, снижается температура в зоне реакции газификации ниже точки плавления и слипания частиц шлака, чем обеспечивается высокая надежность эксплуатации топки.

[47]

Шлак шурующей планкой 20 при действии подвижных штанг надвигается из зоны над решеткой 1 на колосник 18 и под действием веса при повороте вокруг вала 19 сбрасывается в устройство 8 для удаления шлака из газогенератора.

[48]

Подвод охлаждающей воды через патрубок 26 и отвод через патрубок 27 повышает долговечность воздухораспределительной решетки 1.

[49]

В случае взрывного сгорания смеси генераторного газа и воздуха в надслоевом пространстве 5 открывается взрывной предохранительный клапан 32 над фронтальным топочным экраном 2, и продукт сгорания выбрасывается в атмосферу через взрывоотводящую трубу 33 большого проходного сечения.

[50]

Техническим результатом использования предлагаемой полезной модели является повышение экологического уровня жизнедеятельности за счет снижения количества загрязняющих окружающую среду твердых отходов и использования последних в качестве дешевых ресурсов для получения горючего газа для технических потребностей наряду с генерацией тепловой энергии для отопления.

[51]

Источники информации

[52]

1. Бобович, Б.Б. Процессы и аппараты переработки отходов: учебное пособие / Б.Б.Бобович. - Екб, Издательство АТП, 2015 год. - 288 с.

[53]

2. Кольцов, В.Б. Процессы и аппараты охраны окружающей среды: учебник и практикум для академических бакалавриата / В.Б.Кольцов, О.В. Кольцова: под общ. ред. В.И. Каракеяна. - М.: Издательство Юрайт, 2014. - 588 с.

[54]

3. Кубин М. Сжигание твердого топлива в кипящем слое см. М. Кубин; перевод с чешск. - М.: Энергоатомиздат, 1987. - С.35-36, рис.15.

[55]

4. Патент RU 2300051 кл. F23C10/00, авторы Скрябин А.А., Сидоров А.М., Пузырев Е.М., Шарапов М.А. Топка кипящего слоя для сжигания твердых дробленых топлив и горючих отходов. Опубл. 27.05.2007. Бюл №15

[56]

5. Патент RU 2520781, кл F23C10/20 опубл. 27.06.2014, бюл. 21, авторы Хоменок Л.А., Бреус В.И., Шестаков Н.С., Лейкам А.Э., Сорокин А.П., Чебакова Г.Ф., Шурчалин А.А. - “Топка с циркулирующим кипящим слоем”.

[57]

6. Патент RU 2170879, кл. F23C10/20, опубл. 20.07.2001., авторы Делягин Г.Н., Петраков А.П., Нестеров Н.Н. - “Топка кипящего слоя”.

[58]

7. Патент RU 2231714, кл. F23C10/02, опубл. 27.06.2004 бюл. №28, авторы Кравченко В.Е., Юферев Ю.В., Попов В.А., Лукичев А.Е., Воронов В.Ю., Балабан А.В. - “Топка для сжигания твердого топлива в кипящем слое”.

[59]

8. Патент RU 2511790, кл. F23G5/32, F23H9/02, F23B40/02, F23B30/08, F23C10/02, опубл. 10.04.2014 бюл. №27, авторы Тарлецкий А.Г., Ковалёв М.М., Тарлецкий А.А., Козлов С.П. - “Топка для сжигания льняной мякины”.

Как компенсировать расходы
на инновационную разработку
Похожие патенты