патент
№ RU 2069533
МПК A61B5/16

УСТРОЙСТВО ДЛЯ ИЗМЕРЕНИЯ КРИТИЧЕСКОЙ ЧАСТОТЫ СЛИЯНИЯ МЕЛЬКАНИЙ

Авторы:
Жужгин С.М.
Номер заявки
4941790/14
Дата подачи заявки
03.06.1991
Опубликовано
27.11.1996
Страна
RU
Как управлять
интеллектуальной собственностью
Чертежи 
1
Реферат

[12]

Использование: изобретение относится к области медицинской техники и может быть использовано для психо-физиологических исследований. Сущность: устройство для измерения критической частоты слияния световых мельканий у человека состоит из двух световых экранов-цилиндров, с хорошей отражающей поверхностью внутренних стенок, на торцах закрытой части которых расположены соосно одинаковые количества источников света, включаемые поочередно. Световые экраны расположены под углом друг к другу, а расстояние, на котором расположены источники света от закрытого торца в каждом из световых экранов - различное. Устройство обеспечивает контрастные световые картины в условиях гаплоскопического видения, что устраняет влияние феномена соперничания полей зрения правого и левого глаз человека, при этом повышается достоверность результатов исследования. 2 ил.

Формула изобретения

Устройство для измерения критической частоты слияния мельканий, содержащее первый световой экран, покрытый изнутри слоем отражающего материала, источники света, расположенные соосно у закрытого торца первого светового экрана, счетный триггер, выходы которого соединены с источниками света, непрозрачные экраны, размещенные перед источниками света, отличающееся тем, что оно содержит второй световой экран, расположенный под углом к первому световому экрану, при этом количество источников света в первом и втором светых экранах одинаковое, а расстояние, на котором расположены источники света от закрытого торца в каждом из световых экранов, различное.

Описание

[1]

Изобретение относится к устройствам психо-физиологических исследований, а именно, к устройствам для измерения критической частоты слияния световых мельканий (КЧСМ) человека.

[2]

Наиболее близким по техническому решению к заявляемому является устройство для измерения критической частоты слияния мельканий автора (см. авт. свид. СССР N 1516087 МКИ4 А 61 В 5/16 от 23.10.89, Бюл. N 39), где для создания светового экрана типа кольцевых зон, с поочередным освещением переменной частотой соседних зон, используется световой экран в виде полого цилиндра, где внутренняя поверхность цилиндра покрыта отражающим материалом, а световая картина формируется путем поочередного включения двух источников света, расположенных друг за другом на противоположном конце цилиндра по отношению к глазу наблюдателя. При частоте следования световых импульсов ниже критической частоты слияния мельканий, световая картина представляет для наблюдателя кольцевые зоны, с поочередным освещением соседних зон. По достижении критических величин частоты световых стимулов, световая картина для испытуемого становится освещенной однородно по всему световому полю, без видимых границ между световыми областями. По достижении критической частоты испытуемый прекращает развертку изменения частоты световых стимулов и осуществляется отсчет значения КЧСМ.

[3]

Данное устройство реализует способ автора (см. авт. свид. СССР N 1107831 МКИ4 А61В 5/16 от 15.07.84. Бюл. N 30), однако, его невозможно использовать для измерения КЧСМ одновременно для двух глаз испытуемого с исключением эффекта соперничания полей зрения человека.

[4]

Целью изобретения является повышение точности получения результата измерения КЧСМ и сокращение времени измерения.

[5]

Поставленная цель предусматривает устранение необходимости фиксации взора испытуемого, обеспечивает контрастные и движущиеся световые картины, создает условия наблюдения световой картины двумя глазами одновременно, исключает феномен соперничания полей зрения испытуемого, а также дает новую информацию о лабильности зрительных отделов зон суммации зрительной информации от двух глаз.

[6]

Поставленная цель достигается тем, что в устройство-прототип (авт. свид. СССР N 1516087 А61В 5/16) дополнительно вводится второй световой экран аналогичной конструкции, где световые источники по оси симметрии полого экрана-цилиндра смещены от торца на расстояние l, обеспечивающее фазовый сдвиг в освещении аналогичных кольцевых зон двух световых экранов по левому и правому глазу для различных моментов наблюдения. Устройство формирует стереокартину от двух излучателей раздельно, с учетом световой картины как правого, так и левого глаза испытуемого.

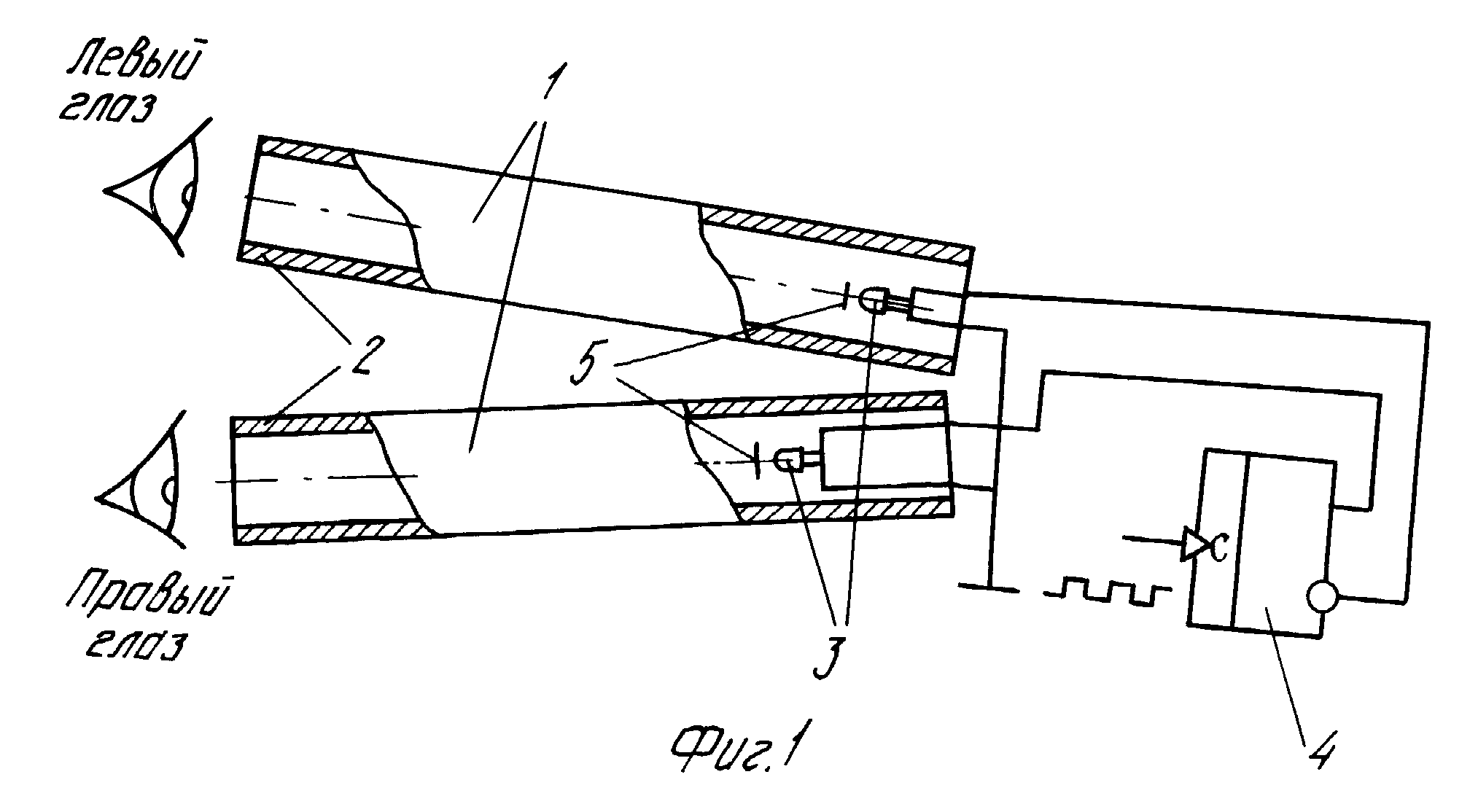
[7]

На фиг. 1 схематически изображено выполнение устройства, а на фиг. 2 показана наблюдаемая световая картина по правому и левому глазу испытуемого для двух моментов (последовательных) наблюдения. Устройство содержит два световых экрана 1, выполненных в виде полых цилиндров, 2 слои отражающего материала, источники 3 света, счетный триггер 4, непрозрачные экраны 5. Расположение цилиндров обеспечивает условия фузии (слияния) изображений от правого и левого глаза, обеспечивая зрительный стереоэффект.

[8]

Устройство работает следующим образом. На вход счетного триггера 4 подаются импульсы с изменяющейся частотой следования. Источники 3 света работают поочередно, так как подключены к прямому и инверсному выходам триггера 4. Скважность выходных импульсов равна двум. Испытуемому предъявляются две световые картины (кольцевые формы) раздельно по правому и левому глазу, причем, световые потоки включаются поочередно с нарастающей или снижающейся частотой следования. При частоте следования световых импульсов ниже критической частоты слияния мельканий, световая картина для каждого глаза испытуемого представляет мигающие кольцевые зоны. По достижении критических значений частоты световых стимулов световая картина для каждого глаза испытуемого становится освещенной постоянно (с постоянным освещением кольцевых зон). Наблюдая двумя глазами, испытуемый видит однородную постоянную, немигающую картину, где границы между кольцевыми зонами отсутствуют. Таким образом, в предложенном устройстве общее световое поле формируется по двум независимым каналам возбуждения зрительной системы человека. Для корковых зрительных зон ЦНС человека, где происходит суммация изображения, частота стимуляции повышается в два раза.

[9]

Пример конкретного выполнения устройства.

[10]

Оптическая система устройства состоит из двух стеклянных цилиндров. Методом напыления на внутреннюю поверхность цилиндров нанесено металлическое покрытие. Длина цилиндров 20 см, внутренний диаметр стенок цилиндра 1,5 см. В качестве излучателей использованы два светодиода типа АЛ307Б, с красными светофильтрами диаметром 6 мм. Питание светодиодов осуществляется от счетного триггера ТМ2 серии 155.

[11]

Результаты измерений КЧСМ данным устройством показывают, что при подаче светового стимула (два световых потока с поочередным включением и выключением) на оба глаза создаются более адекватные условия для получения информации о лабильности нервных структур не только глаза человека, но и структур зон суммации изображений от правого и левого глаза испытуемого. Использование устройства позволяет за одно измерение получить информацию о максимальной величине лабильности зрительной системы человека.

Как компенсировать расходы
на инновационную разработку
Похожие патенты