Использование: двигателестроение, в частности регулирование топливовпрыскивающей аппаратуры дизельных двигателей.
Сущность изобретения: моментоскоп
содержит регистратор с щелевыми дисками, диском с окнами и полостями. Источник света выполнен в виде разрядников, образованных дополнительными подвижными и
неподвижными электроконтактами, размещенных
в полостях диска. Моментоскоп снабжен трансформатором-выпрямителем, индукционной катушкой, конденсатором, гидропрерывателем с подвижным и неподвижным
контактами. Регистратор дополнительно снабжен
указателем с щелевым каналом и трубкой и дисками из оргстекла, закрепленных в окнах диска. Щель щелевого диска, щелевой канал и источник света
установлены с возможностью нахождения на одной прямой
линии. 3 ил.
Моментоскоп для определения момента впрыска топлива
топливных насосов дизельных
двигателей, содержащий регистратор, выполненный с щелевым диском, диском с окнами, источником света, гидропрерыватель, выполненный с подвижным и неподвижным
электроконтактами,
трансформатор-выпрямитель, индукционную катушку, конденсатор, отличающийся тем, что регистратор снабжен указателем с щелевым каналом и трубкой, дополнительными подвижными и
неподвижными
электроконтактами, дополнительными щелевыми дисками и дисками из оргстекла, закрепленными в окнах диска, причем щелевые диски равнораспределены по окружности диска регистратора,
дополнительные
подвижные и неподвижные электроконтакты расположены в полостях диска на противоположных сторонах последнего, под щелевыми дисками, источник света выполнен в виде разрядников,
образованных
дополнительными подвижными и неподвижными электроконтактами, а щель щелевого диска, щелевой канал и источник света установлены с возможностью нахождения на одной прямой
линии.
Предлагаемое изобретение относится к отраслям машиностроения и может быть использовано при регулировке топливных насосов дизельных двигателей при их изготовлении и ремонте.
Отклонение момента впрыска топлива от допустимого влечет потерю мощности, перерасход топлива, износ кривошипно-шатунного механизма, а в таких двигателях, как КДМ-46, еще и разрыв форкамер. Известные устройства для этих целей: 2. Способ определения момента впрыска путем установки под форсунками датчиков с последующей
регистрацией их сигналов. 3. Использование для этих целей неоновых ламп и другие. Перечисленные способы не могут дать высокой точности. Целью настоящего
предлагаемого изобретения является устранение упомянутых недостатков, что позволяет регулировать насосы по моменту впрыска с точностью до 10 угловых минут по коленчатому валу. Указанная цель
достигается тем, что в ведущем диске прибора имеются равнораспределенные узкие щели, а в указателе щелевой канал, при этом свет от разрядников, находящихся под щелями, может попасть к наблюдателю
только в тот момент, когда источник света электрическая искра, щель и щелевой канал будут находиться на одной прямой линии, т.е. в приборе использован принцип мгновенного и прямолинейного
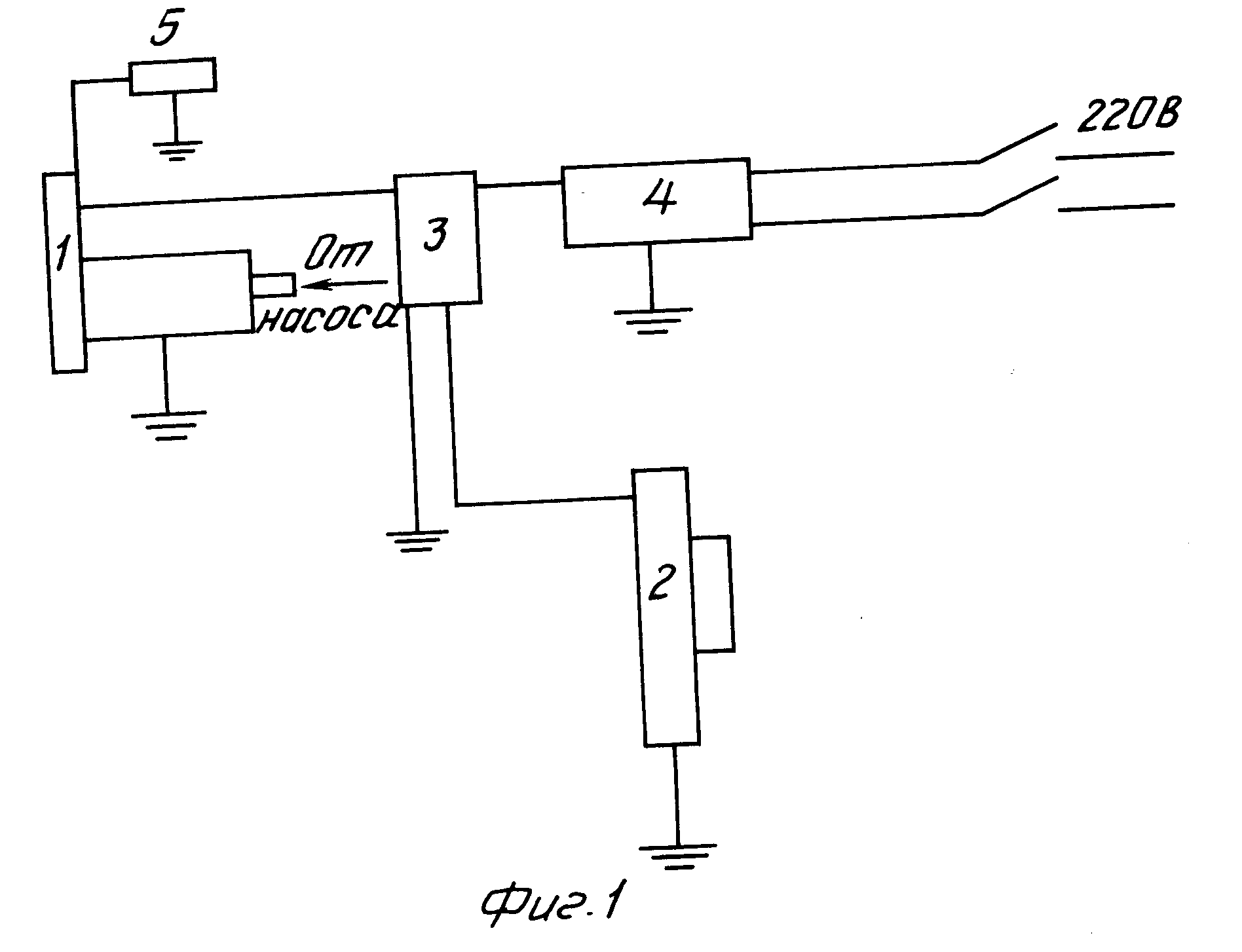
распространения света. На приведенных чертежах показано: фиг. 1 схема устройства 1 гидропрерыватель, 2 регистратор, 3 индукционная катушка, 4 трансформатор-выпрямитель, 5
конденсатор. Индукционная катушка, трансформатор-выпрямитель и конденсатор, стандартные изделия. На фиг. 2 показан общий вид гидропрерывателя 6 корпус, 7 штуцер, 8 гнездо, 9 клапан, 10
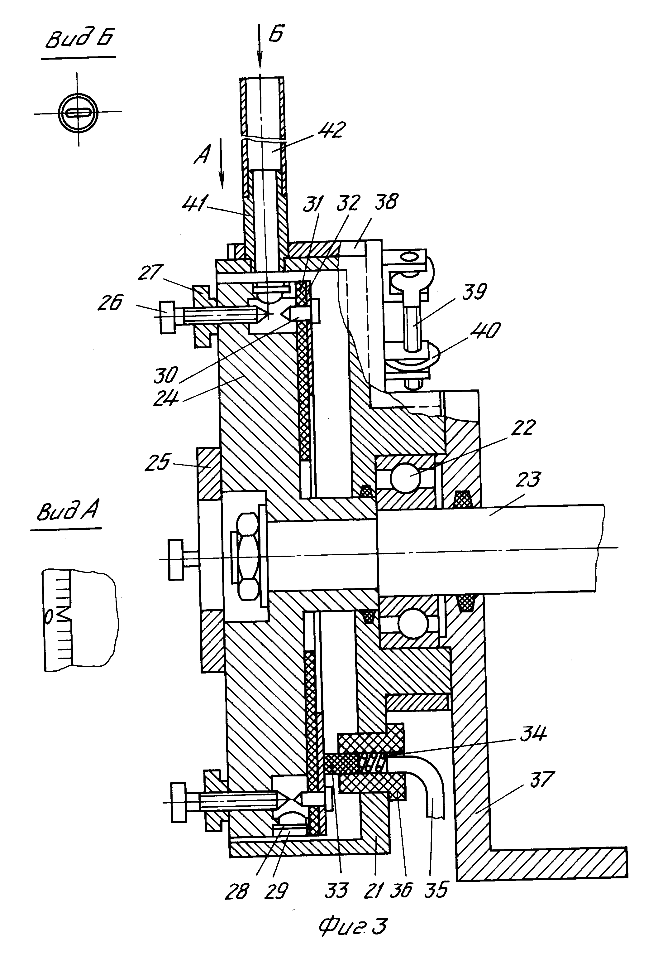
шток, 11 пружина, 12 штуцер, 13 контргайка, 14 основание прерывателя, 15 подвижный контакт, 16 неподвижный контакт, 12 пружина, 18 втулка, 18 провод, 20 крышка. На фиг. 3 показан общий вид
регистратора: 21 корпус, 22 шарикоподшипник, 23 приводной вал стенда, 24 диск, 25 соединительная муфта, 26 подвижный контакт, 27 контргайка, 28 диск из оргстекла, 29 щелевой диск, 30 неподвижный
контакт, 31 кольцо, 32 контактное кольцо, 33 щетка, 34 пружина, 35 привод высокого напряжения, 36 втулка, 37 кронштейн, 38 указатель, 39 винт, 40 барашковая гайка, 41 щелевой канал, 42 трубка. Гидропрерыватель фиг. 2 имеет следующее устройство: В корпусе 6 штуцером 7 закреплено гнездо клапана 8, в котором устанавливается клапан 9, на который воздействует шток 10. на штоке имеется
пружина 11, упругость которой регулируется штуцером 12, положение которого фиксируется контргайкой 13. На второй конец корпуса 6 навертывается основание прерывателя 14, которое фиксируется
контргайкой. На основании монтируется подвижный контакт 15, который поджимается к неподвижному контакту 16, пружиной 17. Неподвижный контакт изолирован от массы втулкой 18 и соединяется проводом 19 с
клеммой низкого напряжения индукционной катушки. Контакты закрываются крышкой 20. Собранный гидропрерыватель должен быть отрегулирован по максиметру на давление впрыска.
Регистратор фиг. 3 имеет следующее устройство: В корпусе 21 устанавливается шарикоподшипник 22, в котором устанавливается приводной вал 23 стенда для регулировки топливных насосов. На конце
вала
закреплен диск 24, к которому прикрепляется соединительная муфта 25, при помощи которой он соединяется с кулачковым валом регулируемого насоса. В диске 24 имеются точно расположенные по
окружности
полости, в которые входят ввернутые в диск подвижные контакты 26, фиксируемые контргайки 27. По периферии диска имеются равнораспределенные по окружности окна, в которых закрепляются диски
из
оргстекла 28 и металлические щелевые диски 29. С другой стороны диска 24 в полостях устанавливаются неподвижные контакты 30, изолированные от массы кольцом 31, прикрепленным к
диску.
Контакты 30 соединяются с контактным кольцом 32 закрепленным на кольце 31. С кольцом 32 входит в соприкосновение щетки 33, поджимается к нему пружиной 34, которая соединяется с проводом
высокого
напряжения 35, щетка изолирована от массы втулкой 36. Корпус 21 прикрепляется к кронштейну 37, который крепится на станине стенда. На корпусе 21 свободно устанавливается указатель 38,
который может
свободно поворачиваться на корпусе при помощи микрометрического винта 39 и барашковой гайки 40. На указателе закреплен щелевой канал 41, на который свободно надевается трубка 42. На
указателе 38
имеется заостренный выступ, который устанавливается против нулевой риски шкалы, нанесенной на корпусе 21. Работа прибора. Кулачковый вал насоса
соединяется муфтой 23
фиг. 3 с диском 24. Штуцер 7 гидропрерывателя фиг. 2 соединяется трубкой высокого давления с регулирующей секцией насоса. Завертывают до отказа соответствующий контакт 26, фиг.
3, остальные отверстия
на 1,5-2 оборота и закрепляют контргайками 27. Включают в сеть стенд и трансформатор-выпрямитель, включают подачу топлива смотрят в трубку 42. Если в трубке не видно искрового
разряда, то указатель
поворачивают при помощи барашковой гайки 40 в ту и другую сторону до появления искры, после чего смотрят на выступ указателя и определяют по шкале, нанесенной на корпусе 21
величину раннего или
позднего впрыска. Регулировочным винтом толкателя насоса добиваются такого его положения при котором искра видна при положении указателя, когда его выступ находится против
нулевого деления шкалы. Если искра в процессе наблюдения неустойчива, т.е. то появляется, то исчезает, то это говорит о том, что изношены толкатели, кулачковый вал или его подшипники.
Такой насос нуждается в
ремонте и его не следует регулировать. Использование предлагаемого изобретения в народном хозяйстве позволит как минимум на 3% уменьшить расход топлива и
продлить срок службы
кривошипно-шатунного механизма двигателя. ЫЫЫ2
1. Определение момента впрыска топлива путем его впрыска на сетчатый градуированный диск покрытый слоем консистентной смазки. Этот способ из-за
его несовершенства не может обеспечить определения допустимого отклонения момента впрыска, которое для быстроходных дизелей составляет не более 0,5o по коленчатому валу. Величина разлива
сетки зависит от толщины слоя консистентной смазки, а определение угла отклонения момента впрыска производится с помощью наложения на градуированный диск линейки. При этом способе происходит
загрязнение воздушной среды распыленным топливом, что отражается на здоровье оператора.