патент
№ RU 2065283
МПК A23N15/00

УСТРОЙСТВО ДЛЯ РЕЗКИ ОВОЩЕЙ, КОРНЕПЛОДОВ И ФРУКТОВ

Авторы:
Климов В.В.
Номер заявки
94021718/13
Дата подачи заявки
08.06.1994
Опубликовано
20.08.1996
Страна
RU
Как управлять
интеллектуальной собственностью
Чертежи 
1
Реферат

[16]

Использование: в пищевой промышленности, в частности для резки овощей, фруктов и корнеплодов. Сущность изобретения: устройство для резки овощей, фруктов и корнеплодов содержит блок неподвижных ленточных ножей и блок толкателей, установленный на валу с приводом, причем толкатели блока толкателей выполнены в виде дисков с вырезами, расположенными через равные расстояния друг от друга, а расстояние от центра каждого диска до любой точки кромки выреза выбрано не меньше расстояния от оси вала по нормали нерабочей кромки ленточного ножа. 2 ил.

Формула изобретения

Устройство для резки овощей, корнеплодов и фруктов, содержащее блок неподвижных ленточных ножей и блок толкателей, установленный на валу с приводом, отличающееся тем, что толкатели блока выполнены в виде дисков с вырезами, расположенными через равные расстояния по периферии, а расстояние от центра каждого диска до любой точки кромки выреза выбрано не меньше расстояния от оси вала по нормали до нерабочей кромки ленточного ножа.

Описание

[1]

Изобретение относится к переработке продуктов питания и может быть использовано для резки овощей, корнеплодов и фруктов на пластины или бруски.

[2]

Известно устройство для резки овощей, корнеплодов и фруктов [1] содержащее блок неподвижных ленточных ножей и блок толкателей, установленный на валу с приводом, общие признаки с предложенным устройством.

[3]

Недостатком этого известного устройства-аналога является низкое качество резки овощей, корнеплодов и фруктов. Толкатели в устройстве выполнены так, что нарезанные пластины могут не выпадать из блока ножей, продвигаться толкателями между ножами и выходить из блока ножей на повторную резку. Такие пластины повторно режутся, в результате чего нарезка получается разнокалиберной (низкое качество резки) пластины смешаны с некоторым количество брусков. Бруски также могут поступать на повторную резку, при этом образуется некондиционная мелочь, качество резки снижается еще больше.

[4]

Известно устройство для резки овощей, корнеплодов и фруктов [2] содержащее блок неподвижных ленточных ножей и блок толкателей, установленный на валу с приводом, общие признаки с предложенным устройством.

[5]

Недостатком этого известного устройства-прототипа является низкое качество резки овощей, корнеплодов и фруктов. Толкатели в устройстве выполнены так, что нарезанные пластины могут не выпадать из блока ножей, продвигаться толкателями между ножами и выходить из блока ножей на повторную резку. Такие пластины повторно режутся, в результате чего нарезка получается разнокалиберной (низкое качество резки) пластины смешаны с некоторым количеством брусков. Бруски также могут поступать на повторную резку, при этом образуется некондиционная мелочь, качество резки снижается еще больше.

[6]

Техническим эффектом предложенного устройства для резки овощей, корнеплодов и фруктов является повышение качества резки, а именно повышение калиброванности резки, снижение количества мелочи в нарезаемом продукте. Предлагаемое устройство режет продукт на пластины калиброванной толщины. Полностью исключается попадание нарезанных пластин на повторную резку.

[7]

Указанный технический эффект достигается тем, что в устройстве для резки овощей, корнеплодов и фруктов, содержащем блок неподвижных ленточных ножей и блок толкателей, установленный на валу с приводом, толкатели блока толкателей выполнены в виде дисков с симметрично расположенными вырезами, причем расстояние от центра каждого диска до выреза выбрано не меньше расстояния от оси вала по нормали до нерабочей кромки ленточного ножа.

[8]

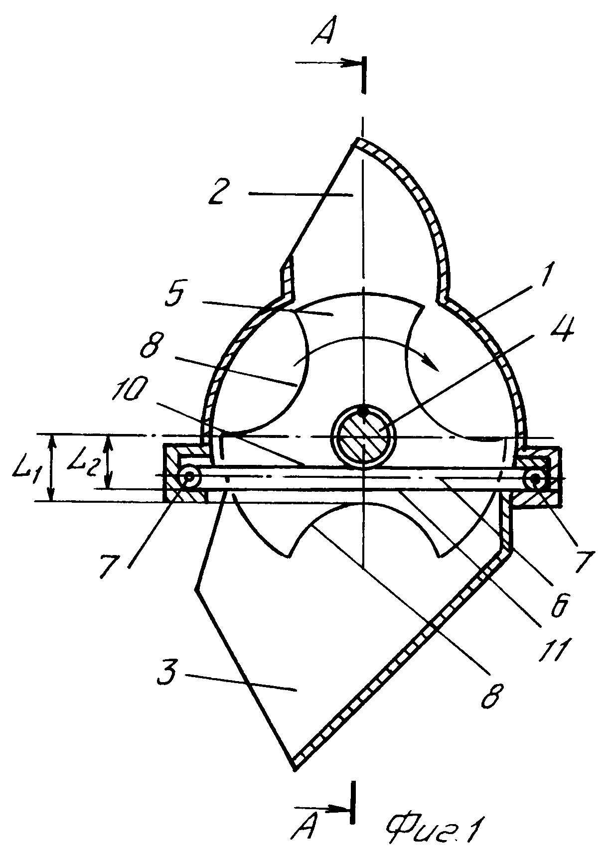
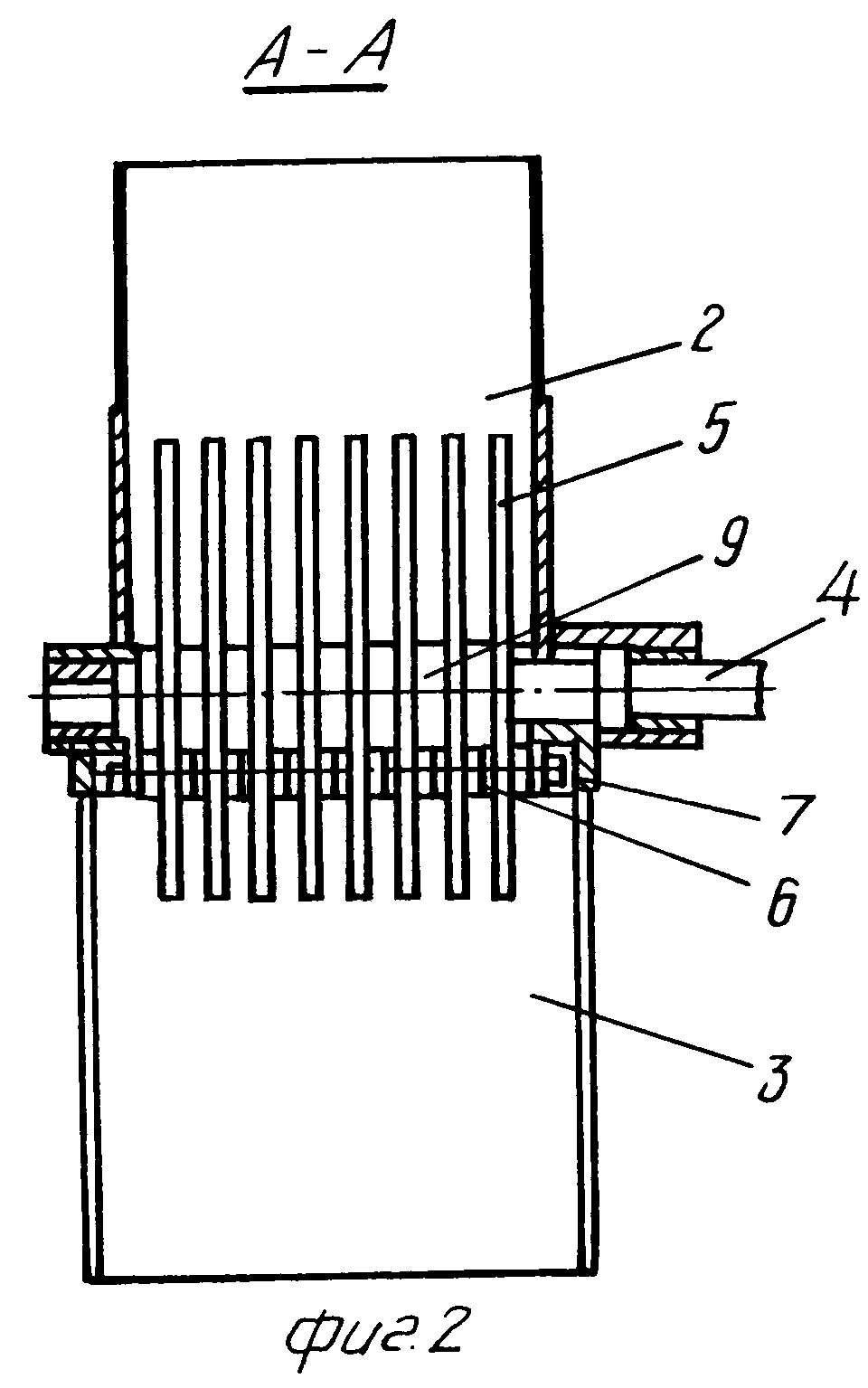
На фиг.1 изображена конструкция устройства для резки овощей, корнеплодов и фруктов, на фиг.2 разрез А-А на фиг.1.

[9]

Устройство для резки овощей, корнеплодов и фруктов (фиг.1) содержит цилиндрический корпус 1 с загрузочным 2 и разгрузочным 3 бункерами, приводной вал 4 с блоком толкателей, состоящим из отдельных толкателей 5, блок неподвижных ножей, состоящий из отдельных установленных параллельно друг другу ленточных ножей 6, причем блок ножей 6 установлен в прижимных фланцах 7. Отдельный нож 6 представляет собой заточенную с одной стороны стальную пластину. Блок толкателей состоит из отдельных толкателей 5, представляющих собой диски с симметрично расположенными вырезами 8 (на фиг.1 на толкателе 5 показано три выреза 8). Между отдельными толкателями 5 установлены распорные втулки 9 (фиг.2). Ножи 6 имеют рабочую (заточенную) 10 и нерабочую (незаточенную) 11 кромки.

[10]

Условие работоспособности устройства:
L1 ≥ L2,
где L1 расстояние от центра диска толкателя 5 (от центра оси вала 4) до выреза 8 на диске толкателя 5;
L2 расстояние от оси вала 4 по нормали до нерабочей кромки 11 ленточного ножа 6.

[11]

Устройство для резки овощей, корнеплодов и фруктов (фиг.1 и фиг.2) работает следующим образом. Подлежащие резке корнеплоды, например картофель, подаются в загрузочный бункер 2 и проникают внутрь корпуса 1. Вращающиеся по часовой стрелке толкатели 5 прижимают клубни к ножам 6, при этом клубни вдавливаются в блок ножей 6 и разрезаются ножами 6 на калиброванные по размерам пластины, например на пластины толщиной 4 мм. При этом все нарезанные пластины имеют одну и ту же толщину, так как расстояния между ножами 6 одинаковы.

[12]

Все без исключения нарезанные пластины выходят из блока ножей 6 в разгрузочный бункер 3.

[13]

В устройстве на фиг.1 выдержано соотношение L1 ≥ L2. Это необходимое для данного устройства соотношение. Если L1 < L2, то нарезанные пластины имеют возможность не выйти из ножей 6, остаться между ножами 6, защемившись краем пластины на длину L L2 L1. При движении диска 5 пластина клубня может перемещаться вдоль ножей 6 и снова выйти через блок ножей 6 в верхнюю часть устройства, при этом она выйдет из блока ножей и будет разрезана вторично. Эксперименты при L1 < L2 показывают, что 10-15% пластин выходят в верхнюю часть устройства и режутся повторно. Это снижает качество резки, так как среди нормально нарезанных калиброванных пластин имеется немалое количество некондиционно нарезанного (брусочки, соломка и т.п.). Следовательно, соотношение L1 ≥ L2 необходимо выдерживать для качественной работы устройства. В этом случае ни одна из нарезаемых пластин не поступает на повторную резку.

[14]

Ножи 8 представляют собой заточенные с одной стороны стальные полосы. Толщина ножа выбирается в пределах 0,3-1 мм. Расстояние между ножами выбирается в пределах от 3 до 12 мм. В соответствии с этим толщина нарезаемых пластин от 3 до 12 мм.

[15]

Техническим преимуществом предложенного устройства для резки овощей, корнеплодов и фруктов по сравнению с прототипом является повышение качества резки, а именно повышение калиброванности резки, снижение количества мелочи в нарезаемом продукте.2 Техническим преимуществом предложенного устройства для резки овощей, корнеплодов и фруктов по сравнению с базовым устройством (овощерезка стационарная ОМ-300 Пермского завода ТОРГМАШ) является повышение качества резки. Предложенное устройство режет продукт, в то время как базовое устройство продукт строгает. Резаные поверхности гладкие поверхности, строганые поверхности рыхлые поверхности. Нарезанные пластины с гладкими поверхностями по сравнению с пластинами с рыхлыми поверхностями впитывают при жарении значительно меньше масла, что является положительным фактором - жареный продукт не должен быть перенасыщен маслом. Следовательно, предложенное устройство по сравнению с базовым устройством имеет лучшее качество резки.

Как компенсировать расходы
на инновационную разработку
Похожие патенты