патент
№ RU 2060354
МПК E21B21/01

СИСТЕМА ЗАМКНУТОГО ОБОРОТНОГО ВОДОСНАБЖЕНИЯ ПРИ ЭКСПЛУАТАЦИИ НЕФТЯНЫХ И ГАЗОВЫХ СКВАЖИН

Авторы:
Морозов О.А.
Номер заявки
93026136/03
Дата подачи заявки
06.05.1993
Опубликовано
20.05.1996
Страна
RU
Как управлять
интеллектуальной собственностью
Чертежи 
3
Реферат

[38]

Использование: в нефтегазовой промышленности, при разработке нефтяных и газовых месторождений. Сущность изобретения: система включает замкнутый контур производственных сточных вод, содержащий блоки эксплуатационных и нагнетательных скважин, блок сбора сточных вод, блок отделения твердой фазы и осветления воды и блок очищенной воды (БОВ). Система дополнительно снабжена блоками концентрирования, первичной и вторичной переработки и утилизации минерализованных вод, сообщенными своими выходами с контуром производственных сточных вод и БОВ. Очищенная вода получается в блоках концентрирования и вторичной переработки. 3 ил.

Формула изобретения

Система замкнутого оборотного водоснабжения при эксплуатации нефтяных и газовых скважин, включающая замкнутый контур производственных сточных вод, содержащий блоки эксплуатационных и нагнетательных скважин, блок сбора сточных вод, блок отделения твердой фазы и осветления воды и блок очищенной воды, отличающаяся тем, что она снабжена блоками концентрирования, первичной и вторичной переработки и утилизации минерализованных вод, сообщенными своими выходами с контуром производственных сточных вод и блоком очищенной воды, получаемой в блоках концентрирования и вторичной переработки.

Описание

[1]

Изобретение относится к нефтегазовой промышленности и может быть использовано при разработке нефтяных и газовых месторождений.

[2]

Известны технологические схемы, по которым осуществляются указанные процессы, которые включают систему эксплуатационных скважин систему сбора сточных (пластовых, попутных, производственных) вод систему очистки воды от загрязнений систему нагнетательных скважин [1]
Недостатком такой системы водопользования является то, что полученное попутно с нефтью и газом ценное гидроминеральное сырье вновь закачивается в поглощающие пласты. Кроме того, поскольку при добыче и повторных закачках сточных вод вопросы их обессоливания не решаются, то сохраняется опасность попадания высокоминерализованных вод в поверхностные водоемы, почвы, подземные источники пресных вод, что приводит к их засолению и отравлению.

[3]

В этой связи более рациональной является система замкнутого оборотного водоснабжения, взятая в качестве прототипа, включающая замкнутый контур производственных сточных вод, содержащий блоки эксплуатационных и нагнетательных скважин, блок сбора сточных вод, блок отделения твердой фазы и осветления воды и блок очищенной воды, а также химическую обработку закачиваемых стоков [2]
Однако и данная система предусматривает только очистку сточных вод от взвешенных частиц и частично от органических примесей, а более глубокая очистка, утилизация воды и ее отходов не предусматриваются.

[4]

Цель изобретения повышение эффективности утилизации пластовых и попутных вод с возможностью одновременного совершенствования процессов вторичной добычи углеводородного и минерального сырья.

[5]

Поставленная цель достигается тем, что система замкнутого оборотного водоснабжения, включающая замкнутый контур производственных сточных вод, содержащий блоки эксплуатационных и нагнетательных скважин, блок сбора сточных вод, блок отделения твердой фазы и осветления воды и блок очищенной воды, дополнительно снабжена блоками концентрирования, первичной и вторичной переработки и утилизации минерализованных вод, сообщенные своими выходами с контуром производственных сточных вод и блоком очищенной и обессоленной воды, получаемой в блоках концентрирования и вторичной переработки.

[6]

Существенными отличительными признаками заявляемой системы замкнутого оборотного водоснабжения является то, что она дополнительно снабжена блоками концентрирования, первичной и вторичной переработки и утилизации минерализованных вод, сообщенные своими выходами с контуром производственных сточных вод и блоком очищенной и обессоленной воды, получаемой в блоках концентрирования и вторичной переработки.

[7]

Изобретательский уровень заявляемого изобретения не вызывает сомнения, так как существенные отличительные признаки изобретения в совокупности с известными позволят достичь цели изобретения и являться неочивидными для специалистов в данной отрасли.

[8]

Изобретение является промышленно применимым, так как может быть использовано в промышленности, в частности, в газовой и нефтяной промышленности при добыче и переработке пластовых вод.

[9]

На фиг. 1-3 представлена предлагаемая система замкнутого водоснабжения эксплуатационных и нагнетательных скважин при разработке нефтегазовых месторождений.

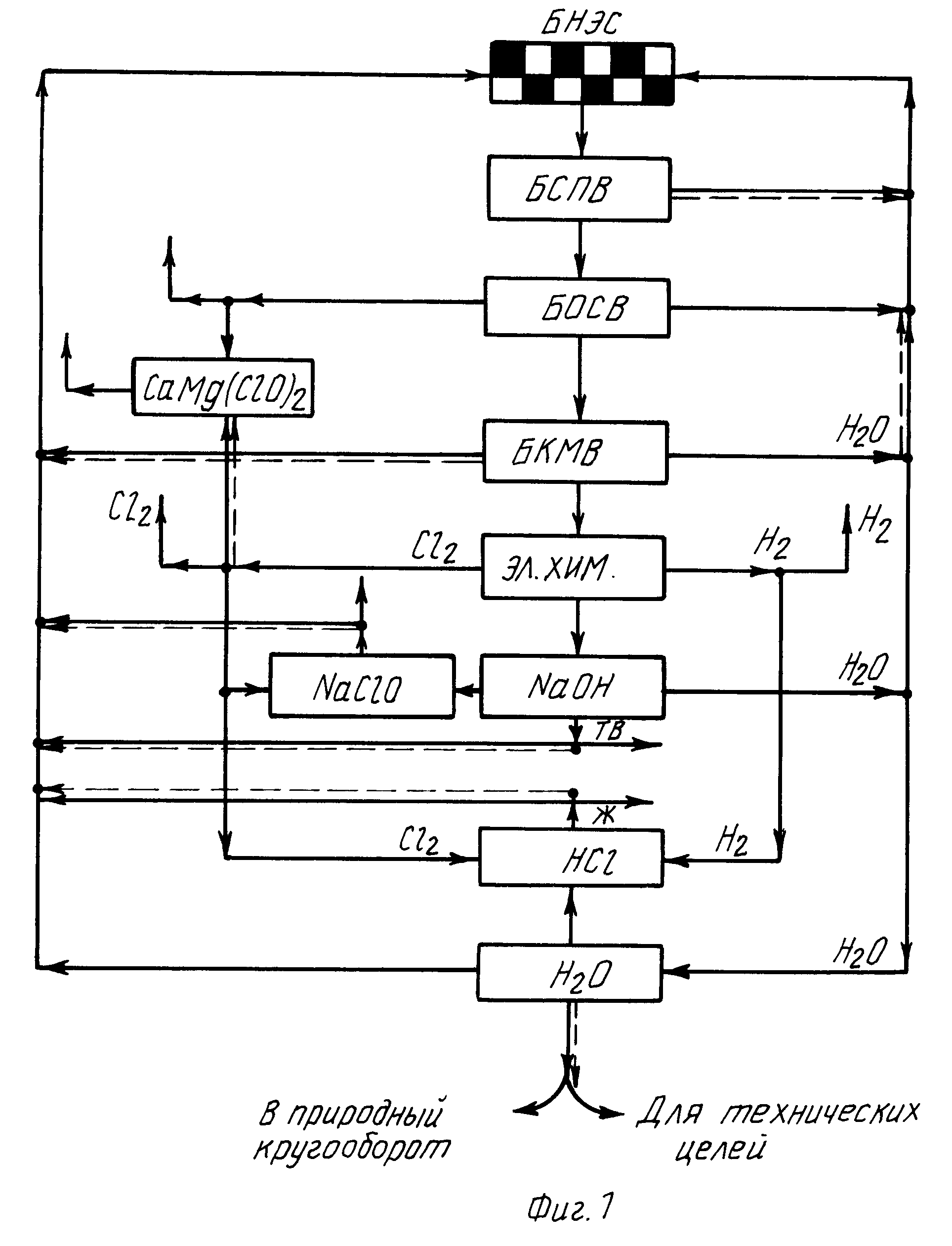
[10]

Система состоит из блока нагнетательных и эксплуатационных скважин (БНЭС), блока сбора сточных вод (пластовых, попутных, пластовых) (БСПВ), блока отделения твердой фазы и осветления воды (БОСВ), блока концентрирования минерализованных вод (БКМВ), блока первичной переработки минерализованных вод (БППМВ), блоков вторичной переработки минерализованных вод (БВПМВ) и блока очищенной и обессоленной воды (БООВ).

[11]

Технологический процесс замкнутого оборотного водоснабжения при разработке нефтегазовых месторождений осуществляется следующим образом. Добываемая через эксплуатационные скважины водо-углеводородная (газ, газоконденсат, нефть) смесь поступает в блок сбора производственных сточных вод (БСПВ), где происходит отделение углеводородных компонентов от воды, а очищенная минерализованная вода подается в блок отделения твердой фазы (БОСВ), в котором происходит выделение из воды механических примесей и при необходимости осаждение солей кальция, магния и других многовалентных ионов.

[12]

Очищенная от твердой фазы, осветленная вода поступает в блок концентрирования минерализованных вод (БКМВ), в котором методами испарения, вымораживания, электродиализа, обратного осмоса или иными средствами происходит выделение из раствора избытка пресной воды и концентрирование растворенных в ней солей (например NaCl, CaCl2) и других химических компонентов (например иод, бром, цезий и др.).

[13]

Обессоленная вода отводится в блок очищенной и обессоленной воды (БООВ), а оставшийся рассол поступает в блок первичной переработки минерализованных вод, в котором одним из выбранных методов (химическое осаждение, экстракции, ионный обмен, электрохимическое воздействие и др.) происходит первичная переработка воды в химические продукты различного целевого назначения. Последние в первоначальном виде или после вторичной переработки (блоки БВПМВ1, БВПМВ2 и т.д.) используются либо по прямому назначению, а именно в процессах нефтегазодобычи в качестве добавок к закачиваемой в пласт воде, либо для других целей в иных технологических процессах. Получаемая в процессах вторичной переработки очищенная и обессоленная вода отводится в блок БООВ и в дальнейшем может быть использована как для закачки в пласт, так и для технических целей или сбрасываться в природный кругооборот.

[14]

Работоспособность предлагаемой системы может быть проиллюстрирована на примере комплексной утилизации пластовых и попутных вод Вой-Вожского нефтепромысла (фиг. 2).

[15]

Поступающая из системы (блока) эксплуатационных скважин (БНЭС) водонефтяная смесь собирается в блоке БСПВ, где известными методами ее разделяют на нефть и воду, после чего последнюю перекачивают в блок отделения твердой фазы и осветления воды (БОСВ).

[16]

Примем объемы воды, поступающей в блок БОСВ, в 100 тыс. м3/г при средней ее минерализации 135 г/л и содержании солей, г/л: NaCl 88,5; CaCl2 36,0; MgCl2 10,5.

[17]

В блоке БОСВ путем добавления в поступающую воду определенных реагентов (например, щелочи) происходит выпадение в осадок соединений кальция и магния , которые совместно с имеющимися в воде нерастворимыми примесями и загрязнениями методами отстоя, фильтрации и другими удаляются из нее. В результате поступающая на следующий передел (блок БКМВ) минерализованная вода оказывается обогащенной только хлоридом натрия. В блоке БКМВ одним из выбранных методов (выпаривание, вымораживание, электродиализ и др.) происходит дальнейшее концентрирование хлорида натрия до его содержания 310-320 г/л, а избыточная обессоленная и очищенная вода поступает в блок БООВ. Полученный в результате обезвоживания рассол NaCl подается на первичную обработку в блок БППМВ, представляющий собой систему ртутных, диафрагменных или мембранных электролизеров.

[18]

В поступающей в электролизеры минерализованной воде под действием электрического тока протекают различные электрохимические реакции, в результате которых образуются новые химические продукты. Поскольку в данном случае электрическому воздействию подвергается водный раствор хлорида натрия, то результатом электрохимической обработки воды является получение щелочи (гидроокиси натрия NaOH) хлора (Cl2) и водорода (Н2), которые в дальнейшем в блоках вторичной переработки могут быть преобразованы в другие химические продукты целевого назначения.

[19]

Гидроокись натрия может быть получена как в виде раствора, так и в виде гранулированного твердого материала (блок БВПМВ2):
при сжигании хлора и водорода образуется хлористый водород (Cl2 + H2 2HCl), растворение которого в воде приводит к получению соляной кислоты (блок БВПМВ2);
при взаимодействии хлора и щелочи образуется новый химический продукт (Cl2 + +2NaOH NaCl + NaClO + H2O) гипохлорит натрия, NaClO (блок БВПМВ3);
при взаимодействии гидроокиси магния и кальция с хлором образуются гипохлориты кальция и магния Ca(ClO)2, Mg(ClO)2 (блок БВПМВ4) и т.д.

[20]

Возможности дальнейшей утилизации продуктов первичной и вторичной переработки пластовых вод могут быть весьма разнообразны. Во-первых, это прямое использование химических реагентов в процессах вытеснения нефти из пласта путем закачки щелочных растворов в систему нагнетательных скважин. Существенная особенность щелочного заводнения заключается в том, что взаимодействие щелочи с кислыми компонентами нефти приводит к образованию непосредственно в пласте поверхностно-активных веществ (ПАВ), что сопровождается снижением межфазного натяжения на границе раздела "нефть-раствор щелочи", улучшением угла смачивания и образованием высоковязкой эмульсии на фронте вытеснения нефти раствором щелочи. Все это приводит к улучшению условий вытеснения нефти в пласте, и, как следствие, увеличению нефтеотдачи пласта. Во-вторых, при заводнении эксплуатационных объектов призабойная зона нагнетательных скважин с течением времени заиливается механическими примесями и продуктами перекристаллизации минерализованных вод, закачиваемых в пласт. Вследствие этого нагнетательные скважины постепенно снижают свою приемистость вплоть до полной потери ее. В этих случаях для восстановления приемистости нагнетательных скважин производят кислотные обработки призабойной зоны путем закачки в скважины соленокислых растворов (раствор HCl). В-третьих, заводнение пластов в ряде случаев приводит к их бактерицидному загрязнению, для исключения которого закачиваемую воду обрабатывают хлором или другим бактерицидом, например NaClO, Ca(ClO)2 и др.

[21]

Как видно из вышеизложенного, предлагаемая система водоснабжения, предусматривает не только возможность закачки в нагнетательные скважины определенной воды, но и расширяет эти возможности, используя получаемые непосредственно на промысле продукты утилизации пластовых вод для приготовления щелочных, кислотных и бактерицидных растворов, повышая тем самым экономическую (повышение нефтеотдачи пластов) и технологическую (кислотная и бактерицидная закачка) эффективность системы водоснабжения.

[22]

Получаемые в процессах комплексной переработки химические реагенты могут быть использованы как самостоятельные целевые продукты и в других отраслях промышленности. Например, кислоты и щелочи, хлор и водород находят широкое применение в органическом и неорганическом синтезе, химической технологии и других областях, гипохлориты натрия и кальция применяются в целлюлозно-бумажной промышленности в качестве эффективных отбеливателей, для обеззараживания сточных вод и т.д.

[23]

В этой связи продукция переработки пластовых вод может рассматриваться как товарная, поставляемая потребителям по оптовым или договорным ценам. Оценка экономической эффективности производства продуктов переработки от их реализации показывает следующее.

[24]

Вой-Вожские пластовые воды, добываемые в объеме порядка 100 тыс. м3/г, содержат в своем составе г/л: NaCl 88,5; CaCl2 36,0; MgCl2 10,5. Комплексная переработка всего объема этих вод позволяет получать, т/г: NaOH до 8500; Cl2 7600; H2 300; Ca (ClO)2 2500; NaClO 5600; HCl 6500.

[25]

Срок окупаемости такого производства 1-2 года, что говорит о высокой рентабельности и эффективности комплексной переработки воды как производства.

[26]

Из вышеизложенного представляется очевидным, что возможны различные варианты реализации предлагаемой схемы оборотного водоснабжения. Так, при захоронении стоков обычно используется система, включающая блок эксплуатационных скважин (БЭС) сбор сточных вод (БСПВ) блок нагнетательных скважин (БНС), а закачка осуществляется по схемам БЭС-БСПВ-1-БНС (фиг. 2) или А-В-1-А (фиг. 3).

[27]

Известная система заводнения пластов, включающая блок эксплуатационных скважин (БЭС), сбор промысловых сточных вод (БСПВ), очистку воды от загрязнений (БОСВ) и блок нагнетательных скважин, осуществляется по схеме БЭС-БСПВ-БОСВ-2-БНС (фиг. 2) или А-В-С-2-А (фиг. 3).

[28]

Предлагаемая система оборотного водоснабжения дополнительно содержит блок концентрирования минерализованной воды (БКМВ), в результате работы которого значительная часть пластовых вод обессоливается и поступает в систему оборотного водоснабжения.

[29]

В этом случае процесс заводнения пластов протекает по схеме БЭС-БСПВ-БОСВ-БКМВ-3-БНС (фиг. 2) или А-В-С-Д-3-А (фиг. 3).

[30]

Если система оборотного водоснабжения предполагает дальнейшую переработку воды первичную (БППМВ) и вторичную (БППМВ1), то процессы заводнения осуществляют по схемам (БЭС-БСПВ-БОСВ-БКМВ-БППМВ-БППМВ1-6-3 и БНС (фиг. 2) или А-В-С-Д-Е-F-6-3-А (фиг. 3).

[31]

При необходимости щелочного заводнения оно осуществляется по схемам БООВ-13-9-БНС (фиг. 2) или Н-13-19-А (фиг. 3), при этом щелочной реагент получают по схеме А-В-С-Д-Е-F-13 (фиг. 3), а очищенную и обессоленную воду по схемам А-В-С-Д-3-Н и А-В-С-Д-Е-F-6-Н (фиг. 3).

[32]

Заводнение с одновременным восстановлением приемистости нагнетательных скважин осуществляют по схемам БООВ-12-19-БНС (фиг. 2) или Р-12-19-А (фиг. 3). При этом соляную кислоту получают по совмещенным схемам А-В-С-Д-Е-4-G и А-В-С-Д-Е-18-G (фиг. 3), а обессоленную воду по вышеуказанной схеме.

[33]

Бактерицидное заводнение осуществляют по схемам БООВ-15-19-БНС (фиг. 2) или Н-15-19-А (фиг. 3), а бактерицид получают по совмещенным схемам А-В-С-Д-Е-18-14-К-16 и А-В-С-Д-Е-F-К-16 (фиг. 3).

[34]

Для более полной утилизации продуктов очистки и переработки пластовых вод могут быть предусмотрены в рамках предлагаемой системы оборотного водоснабжения технологические процессы получения целевых химических продуктов, например CaMg(OH)2 по схеме А-В-С-22-21 (фиг. 3) и CaMg(ClO2) по совмещенным схемам А-В-С-22-L-20 и А-В-С-Д-Е-18-L-20 (фиг. 3).

[35]

Предлагаемая схема оборотного водоснабжения не исключает и более глубокую переработку пластовых вод. Извлекая содержащиеся в них микрокомпоненты (иод, бром, литий, цезий и др.), можно в значительной мере повысить рентабельность процессов заводнения и оборотного водоснабжения.

[36]

Таким образом, предлагаемая система замкнутого оборотного водоснабжения при эксплуатации нефтяных и газовых скважин обеспечивает:
частичное или полное обессоливание пластовых и попутных вод и их очистку от загрязнений;
комплексную переработку пластовых вод с выпуском целевых химических продуктов различного назначения;
дополнительный отбор углеводородного сырья за счет улучшения условий их вытеснения водой;
дополнительный отбор гидроминерального сырья за счет выщелачивания горных пород опресненной или подкисленной водой,
стабилизацию воды при подщелачивании, подкислении или бактерицидной обработке;
стабильный темп закачки воды за счет ликвидации зон заиливания,
предотвращение загрязнений поверхностных и подземных водоемов высокоминерализованными водами за счет их деминерализации.

[37]

Предлагаемая система полностью вписывается в любую технологическую схему разработки нефтегазовых месторождений, обеспечивая высокую экономическую, технологическую и экологическую эффективность процессов оборотного водоснабжения и эксплуатации скважин.

Как компенсировать расходы
на инновационную разработку
Похожие патенты