патент
№ RU 205742
МПК D06F19/00

УЛЬТРАЗВУКОВАЯ СТИРАЛЬНАЯ МАШИНА

Авторы:
Страбыкин Игорь Анатольевич
Номер заявки
2021110817
Дата подачи заявки
16.04.2021
Опубликовано
06.08.2021
Страна
RU
Как управлять
интеллектуальной собственностью
Чертежи 
2
Реферат

Полезная модель относится к бытовой технике, а именно к конструкции ультразвуковых стиральных машин, и может быть применена в прачечных промышленного уровня, а также в домашних условиях. Техническим результатом исследуемого технического решения является сокращение времени стирки, который достигается за счет того, что стиральная машина, содержащая генератор ультразвука, содержит камеру для стирки, к которой присоединён с помощью кинематической связи электродвигатель, снизу камеры для стирки выходит патрубок для воды, который последовательно соединяет первый мутномер, фильтр, второй мутномер и одним входом заходит в блок управляющих клапанов, выходы которого патрубками для воды соединены с резервуаром для воды, камерой для стирки, насосом. Насос соединён патрубком для воды с резервуаром для воды и имеет обратную связь с блоком управляющих клапанов. Сигнальные выходы мутномеров последовательно подключены с помощью проводных кабелей к компаратору и блоку управляющих клапанов, выходы которого проводными кабелями подключены к электродвигателю, генератору ультразвука, блоку управляющих клапанов и насосу. 6 з.п. ф-лы, 2 ил.

Формула изобретения

1. Стиральная машина, содержащая генератор ультразвука, отличающаяся тем, что содержит камеру для стирки, к которому присоединён с помощью кинематической связи электродвигатель, снизу камеры для стирки выходит патрубок для воды, который последовательно соединяет первый мутномер, фильтр, второй мутномер и одним входом заходит в блок управляющих клапанов, выходы которого патрубками для воды соединены с резервуаром для воды, камерой для стирки, насосом, при этом насос соединён патрубком для воды с резервуаром для воды и имеет обратную связь с блоком управляющих клапанов, при этом сигнальные выходы мутномеров последовательно подключены, с помощью проводных кабелей, к компаратору и блоку управляющих клапанов, выходы которого проводными кабелями подключены к электродвигателю, генератору ультразвука, блоку управляющих клапанов и насосу.

2. Устройство по п. 1, отличающееся тем, что в резервуаре для воды выполнен патрубок для залива воды из водопровода.

3. Устройство по п. 1, отличающееся тем, что генератор ультразвука смонтирован на двери стиральной машины.

4. Устройство по п. 1, отличающееся тем, что первый мутномер выполнен с возможностью передачи в компаратор по проводному кабелю значения о степени прозрачности воды на выходе с барабана.

5. Устройство по п. 1, отличающееся тем, что второй мутномер выполнен с возможностью передачи в компаратор по проводному кабелю значение прозрачности воды, соответствующее требуемому уровню чистоты белья.

6. Устройство по п. 1, отличающееся тем, что блок управляющих клапанов выполнен с возможностью распределения потоков воды, циркулирующих в контуре стиральной машины.

7. Устройство по п. 1, отличающееся тем, что камера для стирки выполнена в виде барабана.

Описание

[1]

Полезная модель относится к бытовой технике, а именно к конструкции ультразвуковых стиральных машин, и может быть применена в прачечных промышленного уровня, а также в домашних условиях [МПК D06F19/00].

[2]

Из уровня техники известна СТИРАЛЬНАЯ МАШИНА [SU153717 (A1), опубл. 18.06.1963 г.], содержащая корпус с герметичной крышкой, расположенную внутри корпуса камеру с горизонтальной перфорированной перегородкой для размещения материала, вибропривод, соединенный с камерой, и средство для создания вакуума, соединенное через клапан с верхней частью камеры.

[3]

Недостатком аналога является: при использовании данного технического решения для стирки используют моющий раствор, что требует использование режима полоскания.

[4]

Также из уровня техники известна УЛЬТРАЗВУКОВАЯ МАШИНА ДЛЯ ОЧИЩЕНИЯ ЭЛАСТИЧНЫХ ПОВЕРХНОСТЕЙ [UA93820 (C2), опубл. 10.11.2010 г.], включающая в себя заполненный моющим раствором неподвижный корпус с верхней крышкой, один или несколько ультразвуковых резонансных поводов-излучателей, которые контактируют поверхностью излучения с моющим раствором, и погруженный в моющий раствор сетчатый каркас для размещения белья. Неподвижный корпус выполнен цилиндрическим, ультразвуковые приводы-излучатели размещены в верхней крышке в ее центральной части и закреплены по сечению нулевой деформации с образованием герметичной воздушной полости между крышкой и поверхностью моющего раствора, оснащены трансформаторами скорости с развитой поверхностью излучения, погружена в моющий раствор, а сетчатый каркас выполнен цилиндрическим секционным со свободной вдоль оси центральной частью, дополнительно, внутри недвижимого корпуса под сетчатым каркасом размещена камера, например, в виде свернутой в спираль трубки, на поверхности которой выполнено много малых отверстий и подключена к компрессору, а в верхней крышке выполнено отверстие для выхода воздуха, также трансформаторы скорости выполнены ступенчатыми, причем длина ступени малого диаметра выполнена кратной нечетному количеству четвертей длины продольной стоячей волны упругой деформации в материале трансформатора скорости, а на поверхности ступени малого диаметра в сечениях максимальной амплитуды деформации выполнены дисковые элементы, диаметры которых значительно меньше половины длины волны деформации, причем на цилиндрической поверхности дисковых элементов выполнены глубокие проточки с наклонными поверхностями.

[5]

Недостатками данного аналога являются:

[6]

- при использовании данного изобретения частично используется моющий раствор, что требует введения режима полоскания и соответственно слив в канализацию химических элементов, что негативно сказывается на экологии;

[7]

- в конструкции данного технического решения не проработана возможность измерения степени чистоты стираемого белья для определения момента прекращения стирки, что, соответственно, может негативно сказываться на качестве стирки.

[8]

Наиболее близким по технической сущности является СТИРАЛЬНАЯ МАШИНА [RU2154129 (C1), опубл. 10.08.2000 г.], содержащая корпус с герметичной крышкой, расположенную внутри корпуса камеру с горизонтальной перегородкой, средство для создания вакуума, соединенное через клапан с верхней частью камеры, и вибропривод, отличающаяся тем, что содержит электроуправляемые клапаны подачи и сброса воды, подачи воздуха, а вибропривод выполнен в виде ультразвукового излучателя, при этом разрежение, создаваемое средством для создания вакуума, составляет 0,29-0,49 МПа, а частота колебаний, создаваемых ультразвуковым излучателем, составляет 46-200 кГц.

[9]

Основной технической проблемой прототипа является то, что в данном техническом решении в режиме стирки ультразвуковой вибратор работает по установленному реле временем периоду (5-10 мин), это не дает гарантии полного устранения загрязнения белья, что может сказаться на качестве стирки. Также при расположении ультразвукового вибратора под камерой существует высокая вероятность электрического замыкания при возникновении протекания воды внутри корпуса стиральной машины, что существенно снижает надежность конструкции.

[10]

Задачей полезной модели является устранение недостатков прототипа.

[11]

Техническим результатом исследуемого технического решения является сокращение времени стирки.

[12]

Указанный технический результат достигается за счет того, что стиральная машина, содержащая генератор ультразвука, отличающаяся тем, что содержит камеру для стирки, к которой присоединён с помощью кинематической связи электродвигатель, снизу камеры для стирки выходит патрубок для воды, который последовательно соединяет первый мутномер, фильтр, второй мутномер и одним входом заходит в блок управляющих клапанов, выходы которого патрубками для воды соединены с резервуаром для воды, камерой для стирки, насосом, при этом насос соединён патрубком для воды с резервуаром для воды и имеет обратную связь с блоком управляющих клапанов, при этом сигнальные выходы мутномеров последовательно подключены с помощью проводных кабелей к компаратору и блоку управляющих клапанов, выходы которого проводными кабелями подключены к электродвигателю, генератору ультразвука, блоку управляющих клапанов и насосу.

[13]

В частности, в резервуаре для воды выполнен патрубок для залива воды из водопровода.

[14]

В частности, генератор ультразвука смонтирован на двери стиральной машины.

[15]

В частности, прикреплённый первый мутномер выполнен с возможностью передачи в компаратор по проводному кабелю значения о степени прозрачности воды на выходе с барабана.

[16]

В частности, второй мутномер выполнен с возможностью передачи в компаратор по проводному кабелю значение прозрачности воды, соответствующее требуемому уровню чистоты белья.

[17]

В частности, блок управляющих клапанов выполнен с возможностью распределения потоков воды, циркулирующих в контуре стиральной машины.

[18]

В частности, камера для стирки выполнена в виде барабана.

[19]

Краткое описание чертежей

[20]

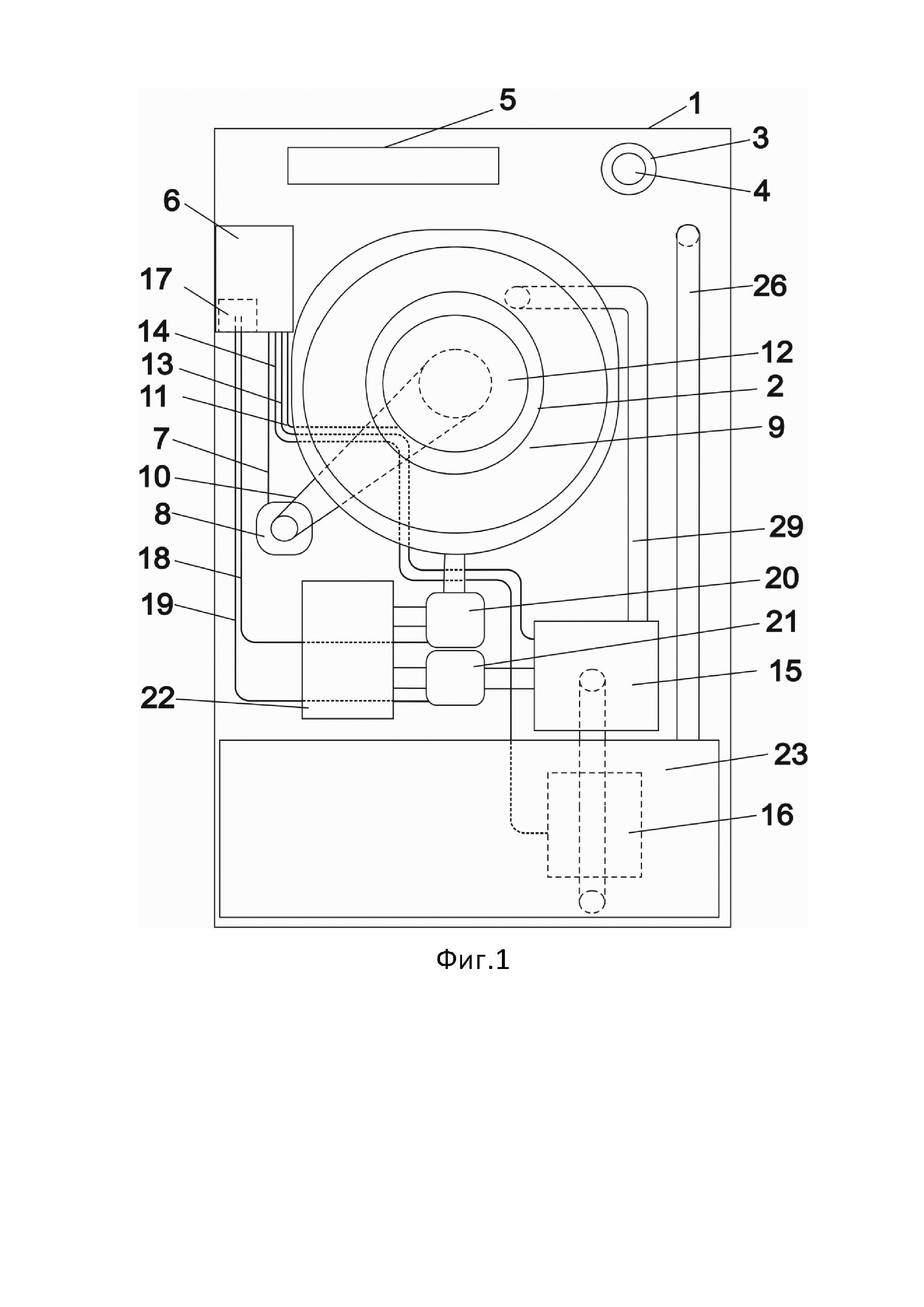
На фиг. 1 показан продольный разрез вида спереди стиральной машины.

[21]

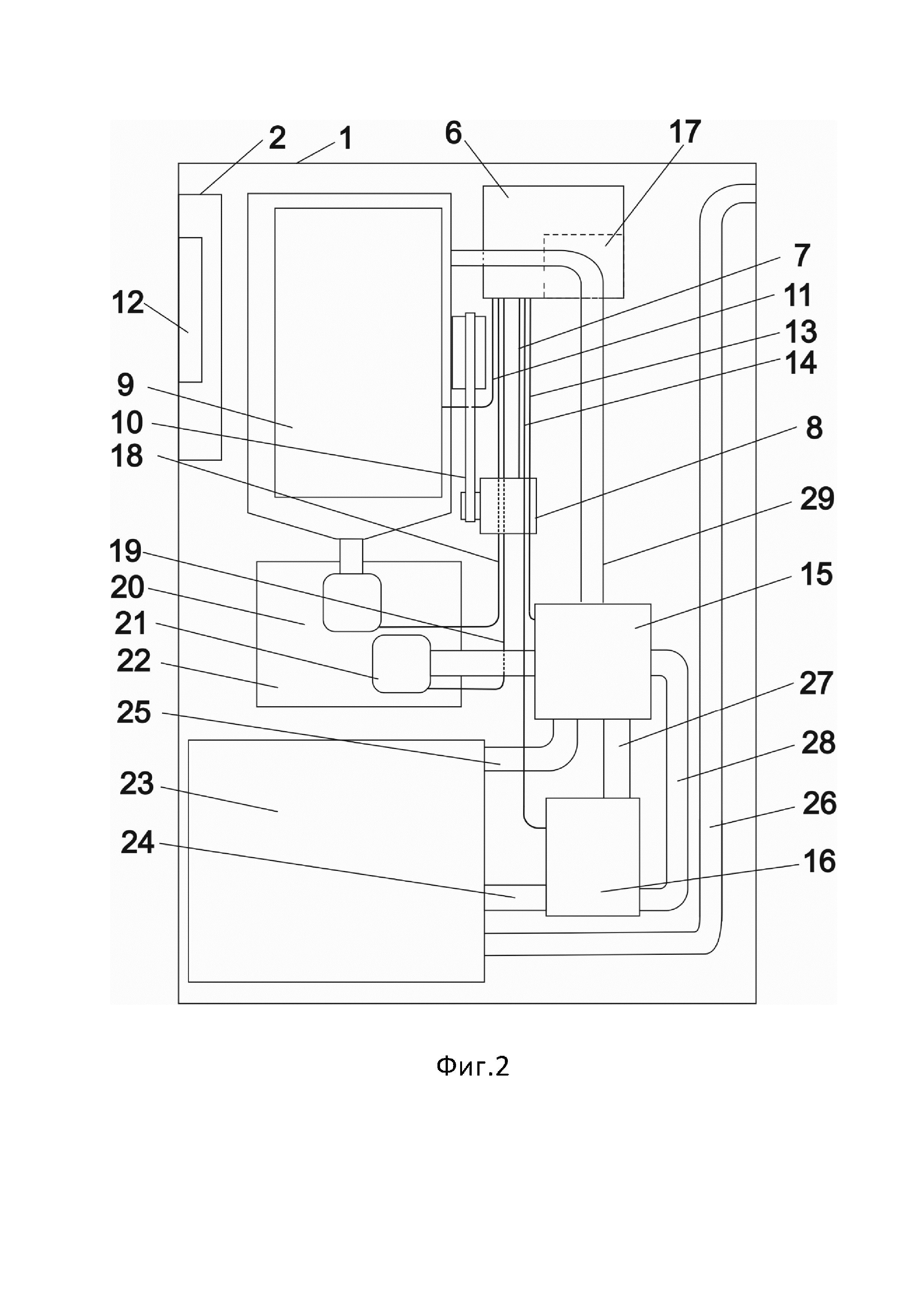
На фиг. 2 показан продольный разрез вида сбоку стиральной машины.

[22]

На чертежах обозначено: 1 – корпус стиральной машины, 2 – герметичная дверь,
3 – ручка выбора режима стирки, 4 – кнопка пуска, 5 – панель отображения состояния работы, 6 – блок питания с управляющей автоматикой, 7 – первый проводной кабель, 8 – электродвигатель, 9 – камера для стирки, 10 – ременная передача, 11 – второй проводной кабель, 12 – генератор ультразвука, 13 – третий проводной кабель,
14 – четвертый проводной кабель, 15 – блок управляющих клапанов, 16 – насос,
17 – компаратор, 18 – пятый проводной кабель, 19 – шестой проводной кабель,
20 – первый мутнометр, 21 – второй мутнометр, 22 – фильтр, 23 – резервуар для воды, 24 – первый патрубок для воды, 25 – второй патрубок для воды, 26 – патрубок для залива воды, 27 – третий патрубок для воды, 28 – четвертый патрубок для воды,
29 – пятый патрубок для воды.

[23]

Осуществление полезной модели

[24]

Рассмотрим один из возможных вариантов реализации заявленного технического решения. Стиральная машина состоит из корпуса стиральной машины 1 с герметичной дверью 2, у которого снаружи по фронту в верхней части вмонтированы ручка выбора режима стирки 3, кнопка пуска 4 и панель отображения состояния работы 5. Внутри к корпусу стиральной машины 1 в верхней части прикреплен блок питания с управляющей автоматикой 6, соединенный первым проводным кабелем 7 с электродвигателем 8, который сообщается с установленной в средней части корпуса стиральной машины 1 камерой для стирки 9 ременной передачей 10. Также блок питания с управляющей автоматикой 6 соединён вторым проводным кабелем 11 с прикрепленным к герметичной двери 2 генератором ультразвука 12, третьим и четвертым проводными кабелями 13,14 с расположенным в задней части корпуса стиральной машины 1 блоком управляющих клапанов 15 и насосом 16 соответственно. Внутри блока питания с управляющей автоматикой 6 смонтирован компаратор 17, который пятым и шестым проводными кабелями 18, 19 соединён с первым мутномером 20 и вторым мутномером 21. В свою очередь, первый и второй мутномеры 20, 21 с одной стороны соединены патрубками для воды с фильтром 22, а с другой – первый мутномер 20 с камерой для стирки 9, а второй мутномер 21 с блоком управляемых клапанов 15. В нижней части корпуса стиральной машины 1 смонтирован резервуар для воды 23, который соединён первым патрубком для воды 24 с насосом 16 и вторым патрубком для воды 25 с блоком управляемых клапанов 15. Также в резервуар для воды 23 заходит патрубок для залива воды 26. Кроме того, насос 16 соединён третьим и четвертым патрубками 27 и 28 с блоком управляемых клапанов 15, а сам блок управляемых клапанов 15 соединён пятым патрубком 29 с камерой для стирки 9.

[25]

Стиральную машину используют следующим образом.

[26]

Первоначально в стиральную машину через патрубок для залива воды 26 заливают воду в резервуар для воды 23, объёмом в зависимости от варианта исполнения от 0,08 до 0,11 куб. м. Затем погружают белье в камеру для стирки 9 и закрывают герметичную дверь 2. Далее с помощью ручки выбора режима стирки 3 выбирают необходимый режим стирки, параметры которого отображаются на панели отображения состояния работы 5 и запускают в работу стиральную машину кнопкой пуск 4. В результате нажатия кнопки пуск 4 блок питания с управляющей автоматикой 6 по четвёртому проводному кабелю 14 подаёт команду на насос 16, который осуществляет закачку воды из резервуара для воды 23 в камеру для стирки 9 через первый патрубок для воды 24, третий патрубок для воды 27, блок управляемых клапанов 15, который управляет потоками воды при различных режимах работы стиральной машины, четвертый патрубок для воды 28 и пятый патрубок для воды 29. Также блок питания с управляющей автоматикой 6 по первому проводному кабелю 7 выдаёт команду на запуск электродвигателя 8, который осуществляет вращение камерой для стирки 9 с помощью ременной передачи 10, одновременно включает через второй и третий проводные кабели 11, 13 генератор ультразвука 12 и блок управляющих клапанов 15. В данном варианте исполнения генератор ультразвука 12 для создания условий герметизации и максимального приближения излучающих элементов к массе воды со стираемым бельём крепится к герметичной двери 2. При этом генератор ультразвука 12 создаёт режим кавитации во всём объёме воды, находящейся в камере для стирки 9, при котором отделяющиеся частицы грязи и жира удаляются водой и задерживаются в фильтре 22.

[27]

В режиме стирки насос 16 обеспечивает циркуляцию воды по патрубкам для воды из камеры для стирки 9 через первый мутномер 20, где производится измерение уровня прозрачности воды, фильтр 22, который производит очистку воды, второй мутномер 21, который выдаёт значение прозрачности воды по шестому проводному кабелю 19 в компаратор 17, блок управляемых клапанов 15, четвёртый патрубок для воды 28, насос 16 и обратно в камеру для стирки 9. Остановка стирки производится в момент совпадения значений прозрачности воды, передающихся в компаратор 17 из первого мутномера 20 и второго мутномера 21.

[28]

После окончания режима стирки белья, включается режим отжима, в котором в результате вращения камеры для стирки 9, насос 16 выкачивает воду, при этом вода проходит через первый мутномер 20, фильтр 22, второй мутномер 21, блок управляющих клапанов 15, который направляет воду по второму патрубку для воды 25 обратно в резервуар для воды 23. Режим работает по заданному времени, согласно выбранного режима.

[29]

Таким образом, использование исследуемого технического решения позволяет достичь заявленный технический результат.

[30]

Кроме того, используемые технические решения позволяют повысить надежность конструкции благодаря использованию блока управляющих клапанов 15, выполненного с возможностью распределения потоков воды, циркулирующих в контуре стиральной машины. Также надежность конструкции достигается за счёт использования смонтированного внутри блока питания с управляющей автоматикой 6 компаратора 17, который проводными кабелями соединён с первым и вторым мутномерами 20, 21, выполненные с возможностью передачи в компаратор 17 для сравнения значений о степени прозрачности воды, в том числе, на основе которых принимается решение о чистоте белья, что позволяет достичь минимально достаточного времени стирки.

Как компенсировать расходы
на инновационную разработку
Похожие патенты