патент
№ RU 2055214
МПК E21F1/06

СОЕДИНЕНИЕ ГИБКИХ ВЕНТИЛЯЦИОННЫХ ТРУБ

Авторы:
Ермолаев А.А.
Номер заявки
93040834/03
Дата подачи заявки
10.08.1993
Опубликовано
27.02.1996
Страна
RU
Как управлять
интеллектуальной собственностью
Чертежи 
2
Реферат

[13]

Использование: при проветривании тупиковых горных выработок с местными слоевыми скоплениями метана. Сущность изобретения: соединение гибких вентиляционных труб содержит зажимные элементы с зажимными поверхностями, размещенными с возможностью перемещения относительно друг друга и воздухозаборное устройство, состоящее из заборника и взвихривателя. Взвихриватель размещен с наружной стороны соединения, а заборник воздуха - внутри става вентиляционных труб с возможностью углового и поперечного перемещений относительно зижимных элементов. Возможно изготовление взвихривателя в виде реактивных вращающихся форсунок. 1 з. п. ф-лы, 2 ил.

Формула изобретения

1. СОЕДИНЕНИЕ ГИБКИХ ВЕНТИЛЯЦИОННЫХ ТРУБ, включающее съемные жесткие зажимные элементы с зажимными поверхностями, охватывающими концы соединяемых гибких труб и размещенными относительно друг друга с возможностью перемещения, отличающееся тем, что оно снабжено пропущенным через один из зажимных элементов воздухозаборным устройством, состоящим из заборника и взвихривателя, при этом взвихриватель размещен с наружной стороны соединения, а заборник воздуха - внутри става вентиляционных труб с возможностью углового и поперечного перемещений относительно зажимных элементов.

2. Соединение по п.1, отличающееся тем, что взвихриватель выполнен в виде реактивных вращающихся форсунок.

Описание

[1]

Изобретение относится к угольной и горнодобывающей промышленности и может быть использовано при проветривании тупиковых горных выработок с местными слоевыми скоплениями метана.

[2]

Известна вентиляционная труба для нагнетательного проветривания [1] состоящая из конусной и цилиндрической частей. Цилиндрическая часть трубы выполнена с регулируемым по величине отверстием, обеспечивающим разделение потока воздуха для проветривания одновременно призабойного пространства и рабочего места машиниста комбайна, а конусная часть трубы размещена внутри цилиндрической части.

[3]

Недостатком этой вентиляционной трубы являются ограниченные технические возможности в силу конструктивного исполнения. Труба не может разгозировать выработку на всем ее протяжении, что немаловажно для создания безопасных условий труда, так как разделитель потока воздуха размещен в конечной части вентиляционной трубы. Размещение разделителя по всему ставу без значительных конструктивных и материальных затрат не представляется возможным.

[4]

Наиболее близким к изобретению является соединение гибких вентиляционных труб [2] содержащее съемные жесткие зажимные элементы с зажимными поверхностями, охватывающими концы соединяемых гибких труб и установлены с возможностью перемещения относительно друг друга. Данное соединение обеспечивает надежное (исключаются разрывы ставов) герметичное соединение отрезков гибких вентиляционных труб на всем протяжении вентиляционного става.

[5]

Однако соединение не обеспечивает в силу незначительных утечек воздуха через это соединение разгазирование местных слоевых скоплений метана, имеющих место у кровли подготовительных выработок на всем их протяжении.

[6]

Сущность предлагаемого изобретения заключается в следующем.

[7]

Соединение концов гибких вентиляционных труб включает съемные жесткие зажимные элементы, установленные с возможностью перемещения относительно друг друга. Через один из зажимных элементов пропущено воздухозаборное устройство, состоящее из заборника и турбулентного взвихривателя. Заборник размещен внутри става вентиляционных труб с возможностью углового и поперечного перемещения относительно зажимных элементов, а взвихриватель с наружной стороны указанного соединения. Другое отличие состоит в том, что взвихриватель выполнен в виде реактивных вращающихся форсунок.

[8]

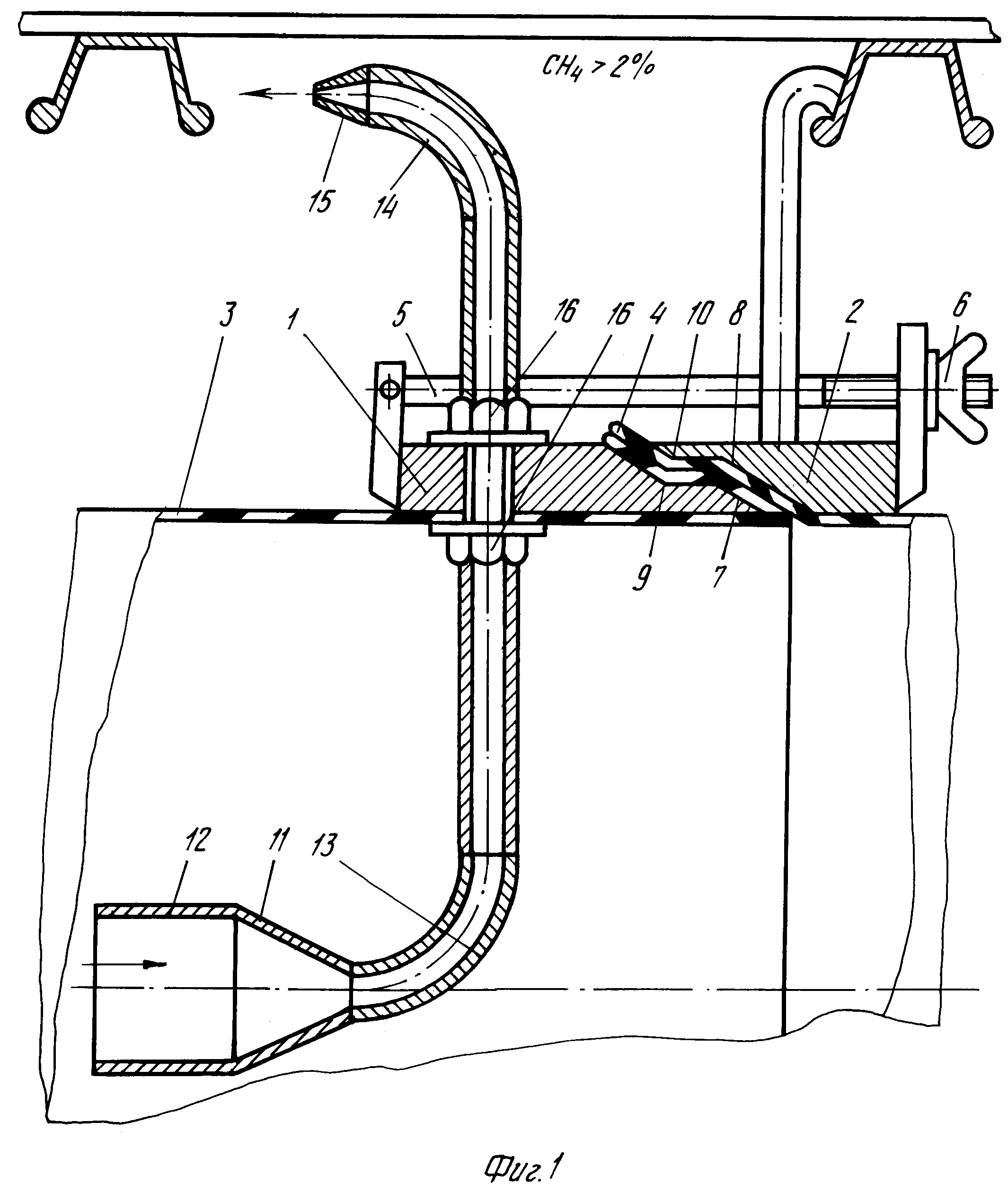
На фиг.1 показано соединение устройства для ликвидации слоевых скоплений метана у кровли выработки; на фиг.2 вращающиеся форсунки.

[9]

Соединение гибких вентиляционных труб содержит жесткие зажимные элементы 1 и 2, внутренние диаметры которых соответствуют наружному диаметру соединяемых концов труб 3 и 4. Зажимные элементы 1 и 2 соединены стяжными болтами 5 с резьбой под гайки 6 и установлены на соединяемых трубах с возможностью перемещения относительно друг друга и соединяемых труб, а между их зажимными поверхностями 7, 8 размещены концы гибких труб. Зажимная поверхность 7 элемента 1 выполнена с чередующимися кольцево-цилиндрическими проточками 9, а зажимная поверхность 8 элемента 2 выполнена с соответствующими им выступами 10. Воздухозаборное устройство состоит из заборника 11, представляющего собой тонкостенный цилиндр 12, плавно переходящий в конус. Диаметр цилиндра превышает малый диаметр конуса в 3-5 раз, который, в свою очередь, равен диаметру трубки 13 для отвода воздуха. Трубка 13 отвода воздуха изогнута под углом 90о с радиусом изгиба, равным не менее пяти внутренних диаметров трубки отвода. Радиус изгиба трубки 14 подвода равен радиусу изгиба трубки отвода. Взвихриватель 15 представляет собой коническую насадку с винтообразными прорезями на внутренней поверхности. Заборник фиксируется на одном из зажимных элементов посредством гаек 16. Взвихриватель может быть выполнен и в виде реактивных вращающихся форсунок (фиг.2).

[10]

Соединение гибких вентиляционных труб работает следующим образом. Заборник 11 устанавливается внутри става вентиляционных труб навстречу движущемуся потоку воздуха. Воздух улавливается заборником, частично сжимается под действием скоростного напора в трубопроводе, в силу чего скорость его несколько возрастает и через турбулентный взвихриватель 15 подается к месту скопления метана у кровли выработки. Таким образом разжимаются местные слоевые скопления метана у кровли выработки до безопасной концентрации.

[11]

Регулирование количества отвода воздуха из вентиляционного става производится за счет диаметра трубки отвода, поворота заборника относительно оси трубопровода, подъема или опускания заборника по сечению трубопровода.

[12]

Использование предлагаемого соединения при проветривании тупиковых горных выработок обеспечит надежность соединения отрезков гибких вентиляционных труб (исключены разрывы стыков труб), герметичность всего соединения, выпуск регулируемого определенного количества воздуха, т.е. организацию утечек в нужном количестве и в нужном направлении с подводом струи к местам концентрации метана и турбулентного взвихривания и разжижения последнего.

Как компенсировать расходы
на инновационную разработку
Похожие патенты