патент
№ RU 204960
МПК E21B34/06

КЛАПАН-ОТСЕКАТЕЛЬ ДЛЯ ПОДЗЕМНОГО РЕМОНТА СКВАЖИН

Авторы:
Раупов Инзир Рамилевич Куншин Андрей Андреевич Кузьмин Максим Игоревич
Все (4)
Номер заявки
2021109826
Дата подачи заявки
09.04.2021
Опубликовано
21.06.2021
Страна
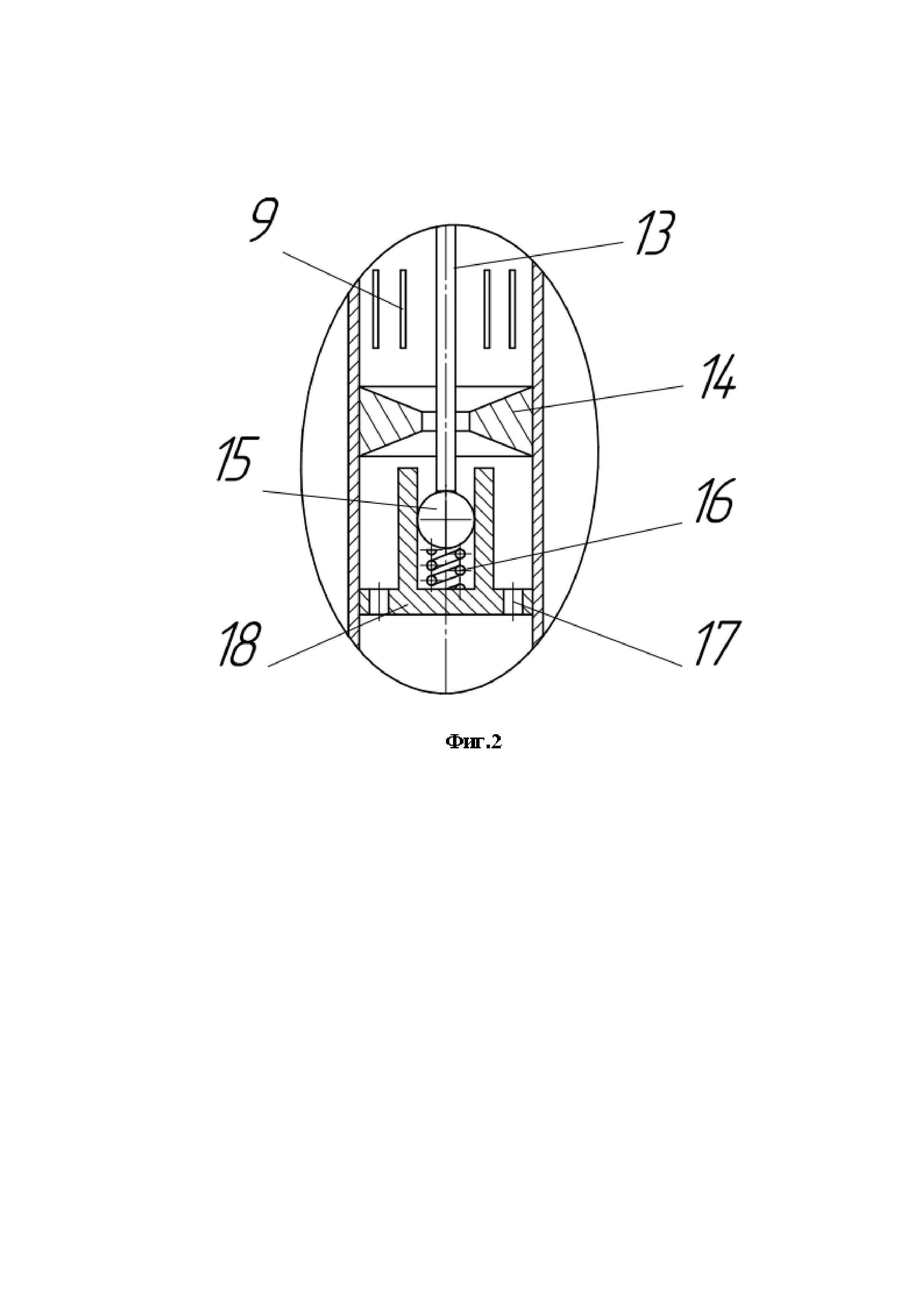
RU
Как управлять
интеллектуальной собственностью
Чертежи 
2
Реферат

Полезная модель относится к области добычи углеводородов и может быть использована при подземном ремонте скважин, оборудованных электропогружными насосами.Техническим результатом является обеспечение возможности управляемого отключения продуктивной части пласта, исключая вредное влияние технологических жидкостей на призабойную зону продуктивного пласта.Клапан-отсекатель для подземного ремонта скважин способствует сохранению продуктивности скважины при проведении подземного ремонта. Надежность обеспечивается за счет герметичного разобщения надпакерной и подпакерной зон пласта, что позволяет снизить риск возникновения газонефтеводопроявлений и попадания технологической жидкости в призабойную зону пласта.

Формула изобретения

Клапан-отсекатель для подземного ремонта скважин, включающий запорный элемент, пакер, толкатель и перфорированный патрубок, отличающийся тем, что дополнительно установлен стингер, на поверхности которого выполнены на одинаковом расстоянии друг от друга перфорационные отверстия, а во внутренней полости установлен клапанный узел нажимного действия, а пружина закреплена внутри седла и одним концом соединена с шаром, а другим - с дном седла.

Описание

[1]

Полезная модель относится к области добычи углеводородов и может быть использована при подземном ремонте скважин, оборудованных электропогружными насосами.

[2]

Известен клапан-отсекатель (патент RU №2672898, опубл. 20.11.2018), включающий корпус, внутренняя полость которого разделена на камеры нагнетания, слива и установки пружины, установленное в камере нагнетания седло, размещенный в камере слива запорный элемент, поджатый к седлу пружиной через шток, который установлен в отверстии внутренней перегородки корпуса, разделяющей камеру слива и камеру установки пружины. На штоке выполнен кольцевой выступ, контактирующий с корпусом ниже внутренней перегородки корпуса. Над кольцевым выступом штока расположены боковые каналы, сообщающиеся с камерой нагнетания через осевой канал, выполненный в штоке и запорном элементе. Верхний конец штока выполнен глухим. В камере слива установлена цанга, головки лепестков которой опираются на коническую втулку, закрепленную на штоке. Седло установлено на закрепленную в корпусе резьбовую втулку и поджато сверху упругим элементом и связанной с корпусом гайкой, имея тем самым возможность ограниченного осевого перемещения вверх.

[3]

Недостатком данной конструкции является то, что пружина, установленная во внутренней полости корпуса, не регулируется по степени сжатия, вследствие чего возникают осложнения при работе в различных горно-технологических условиях.

[4]

Известен скважинный клапан-отсекатель (патент RU №2651860, опубл.24.04.2018), включающий корпус с выходными радиальными окнами, ступенчатую втулку, запорный элемент, привод в виде камеры и штока, имеющего возможность ограниченного возвратно-поступательного осевого перемещения. В корпусе ниже выходных радиальных окон выполнены входные радиальные окна. Ступенчатая втулка установлена на корпусе с образованием кольцевого зазора между ними, сообщающегося с полостью корпуса через входные радиальные окна. Запорный элемент установлен на штоке с возможностью перекрытия входных радиальных окон корпуса в верхнем положении штока. Корпус закрыт снизу заглушкой, при этом полости корпуса над и под запорным элементом гидравлически связаны через продольные каналы в теле последнего.

[5]

Недостатком данной конструкции является то, что уплотнительные элементы запорного узла при переходе поршня в открытое или закрытое положение деформируются и приводят к выходу устройства из строя.

[6]

Известен клапан перепускной управляемый (патент RU№2610953,опубл. 17.02.2017),включающий верхний и нижний переводники с цилиндрической полостью, полый корпус, размещенный между переводниками, выполнен с радиальным сквозным отверстием, подпружиненный поршень, на поверхности которого выполнен фигурный управляемый паз, штифт управляющий, сопло, размещенное в поршне под верхним переводником, стакан, заглушку сливную, подшипник, уплотнительные кольца и соответствующие им пазы в стакане, верхнем и нижнем переводниках, пружину спиральную, подпружинивающую поршень.

[7]

Недостатком данной конструкции является то, что спиральная пружина не защищена от попадания механических примесей с затрубного пространства, что приводит к ее заклиниванию и, следовательно, несрабатыванию устройства.

[8]

Известен клапан-отсекатель проходной механический (патент RU№2738553, опубл. 14.12.2020), принятый за прототип, включающий корпус, установленные внутри корпуса седло с шаром, выполненным с осевым отверстием, цангу, толкатель, с помощью которого осуществляется открытие или закрытие клапана-отсекателя. Внутри корпуса установлен поршень с возможностью сообщения его радиальных каналов с отверстиями верхнего и нижнего седел. Поршень соединен с цангой через планки, передающие вращение шару через сухари, установленные в пазах шара. Толкатель в нижней части имеет наружный выступ, взаимодействующий с верхними буртиками цанги при извлечении толкателя из корпуса для закрытия клапана-отсекателя и с нижними буртиками цанги – при установке толкателя в корпус, перемещая цангу соответственно в верхнее и нижнее положение.

[9]

Недостатком данной конструкции является то, что исполнение соединений поршня, планки, цанги, сухаря и шара выполнено с использованием гибких соединений, вследствие чего возникают очаги повышенного напряженно-деформированного состоянияи разгерметизация радиальных каналов между поршнем и нижним седлом, что ведет к выходу из строя клапана-отсекателя.

[10]

Техническим результатом является обеспечение возможности управляемого отключения продуктивной части пласта, исключая вредное влияние технологических жидкостей на призабойную зону продуктивного пласта.

[11]

Технический результат достигается тем, что дополнительно установлен стингер, на поверхности которого выполнены на одинаковом расстоянии друг от друга перфорационные отверстия, а во внутренней полости установлен клапанный узел нажимного действия, а пружина закреплена внутри седла и одним концом соединена с шаром, а другим с дном седла.

[12]

Клапан-отсекатель для подземного ремонта скважин поясняется следующими фигурами:

[13]

фиг. 1 – структурная схема устройства скважинного клапана-отсекателя;

[14]

фиг. 2 – клапанный узел нажимного действия, где:

[15]

1 – станция управления;

[16]

2 –насосно-компрессорные трубы (НКТ);

[17]

3 –силовой кабель;

[18]

4 – крепежные пояса;

[19]

5 – электропогружной насос;

[20]

6 – электродвигатель;

[21]

7 – толкательный механизм;

[22]

8 – стингер;

[23]

9 – перфорационные отверстия;

[24]

10 - пакерная компоновка;

[25]

11 –запорный элемент;

[26]

12 – продуктивный пласт;

[27]

13 – шток;

[28]

14–конусная шейка;

[29]

15 – шар;

[30]

16 – пружина;

[31]

17 – каналы;

[32]

18– седло.

[33]

Клапан-отсекатель содержит стингер 8 (фиг.1), на поверхности которого выполнены на одинаковом расстоянии друг от друга перфорационные отверстия 9. Стингер 8 соединен с толкательным механизмом 7 резьбовым соединением и соосно расположен в пакерной компоновке 10. Пакерная компоновка 10 смонтирована при помощи разжимной резиновой манжеты (на фигурах не указана). Запорный элемент 11 закреплен в корпусе пакерной компоновки 10 в продольных пазах. Запорный элемент 11 выполнен в виде шарового механизма и с герметизацией со стенками стингера 8. Во внутренней полости стингера 8 установлен клапанный узел нажимного действия (фиг.2), включающий шток 13, соединенный с толкательным механизмом 7, и шар 15. Шар 15 соединен с пружиной 16, например, посредством точечной сварки. Пружина 16 установлена внутри седла 18, и жестко закреплена на дне. На торцевых поверхностях седла 16выполнены каналы 17. Седло 18 соединено с поверхностью стингера 8, например стыковой сваркой. Соединение внутренней поверхности стингера 8 и конусной шейки 14 осуществляются, например стыковой сваркой.

[34]

Устройство работает следующим образом. Нефть, поступающая в скважину из продуктивного пласта 12, перемещается из подпакерной зоны во внутреннюю полость стингера 8. Шток 13 при этом находится в крайнем нижнем положении. Проходя по стингеру 8, нефть через перфорационные отверстия 9 попадает в надпакерную зону и идет на прием электропогружного насоса 5.

[35]

Для отключения продуктивной части пласта подается команда со станции управления 1 через силовой кабель 3 к электродвигателю 6. Толкательный механизм втягивает шток 13, шар 15 при этом поднимается при помощи пружины 16, перекрывая проходное сечение конусной шейки 14 и, соответственно, стингера 8.Подпакерная и надпакерная зоны надежно изолируются.

[36]

Для извлечения подземного оборудования производится разгерметизация устья скважины. Происходит извлечение электропогружного насоса 5 и электродвигателя 6 вместе с закрепленным на нем толкательным механизмом 7 и стингером 8. При извлечении стингера 8 из пакерной компоновки10 осуществляется автоматическое перекрытие запорного элемента11.

[37]

В случае необходимости проведения исследований или обработки продуктивного пласта 12 производится подъем колонны НКТ 2 с одновременным снятием крепежных поясов 4 и извлечением силового кабеля 3. Далее проводится демонтаж электропогружного насоса 5 и электродвигателя 6. После этого в скважину осуществляется спуск технологической колонны НКТ 2 с полым стингером, закрепленным на конце данной колонны. При заходе и уплотнении полого стингера во внутренней полости пакерной компоновки 10 производится взаимодействие полого стингера с элементами данной компоновки 10, которые открывают запорный элемент 11, что обеспечивает дальнейшее прохождение полого стингера и колонны НКТ в подпакерную зону. Таким образом, реализуется герметичный канал от подпакерного пространства до устья скважины.

[38]

Применение заявленного устройства позволит сохранить продуктивность скважины при проведении подземного ремонта за счет конструктивного исполнения клапанного узла нажимного действия и запорного элемента пакерной компоновки, позволяющих надежно изолировать подпакерное и надпакерное пространства.

Как компенсировать расходы
на инновационную разработку
Похожие патенты