патент
№ RU 2044627
МПК B27C9/00

КОМБИНИРОВАННЫЙ ДЕРЕВООБРАБАТЫВАЮЩИЙ СТАНОК

Авторы:
Бузанов Виктор Иванович[UA]
Номер заявки
5042321/15
Дата подачи заявки
19.05.1992
Опубликовано
27.09.1995
Страна
RU
Как управлять
интеллектуальной собственностью
Чертежи 
2
Реферат

[45]

Изобретение относится к деревообрабатывающей промышленности, в частности к универсальному деревообрабатывающему оборудованию. Станок содержит средство для пиления, строгания, райсмусования и токарный агрегат. Корпус состоит из двух частей, выполненных в виде рам, на одной раме установлен неподвижный стол, ножевой вал и электродвигатель. Один из хвостовиков ножевого вала выполнен с внутренним конусом для установки специальных инструментов. На другой раме установлены два эксцентриковых вала. На эксцентриках валов закреплен подвижный стол, а на раме установлен электрический блок управления станком. Все столы имеют удлинители. 3 з. п. ф-лы, 2 ил.

Формула изобретения

1. КОМБИНИРОВАННЫЙ ДЕРЕВООБРАБАТЫВАЮЩИЙ СТАНОК, включающий корпус, средства для пиления, строгания, рейсмусования и токарный агрегат, отличающийся тем, что корпус состоит из двух частей, выполненных в виде рам, на одной раме установлены неподвижный стол, ножевой вал с шарикоподшипниками и электродвигатель, соединенный с ножевым валом ременной передачей, один из хвостовиков ножевого вала выполнен с внутренним конусом для установки специальных инструментов в виде фрез, сверл, а второй хвостовик ножевого вала выполнен с наружным конусом для установки режущего инструмента в виде пилы или шлифовальных кругов, причем на раме размещен стол для пиления с механизмом перемещения, снабженный подвижным упором, выполненным с возможностью вращения, при этом на другой раме установлены два эксцентриковых вала с возможностью вращения в шарикоподшипниках на угол ~90°, связанные рычагом, рккояткой и тягой и снабженные фиксирующим тормозом, кроме того, на эксцентриках валов посредством кронштейнов с роликами для прижима обрабатываемого материала при рейсмусовании закреплен подвижный стол с обнижениями по бокам, а на раме смонтирован электрический блок управления станком.

2. Станок по п.1, отличающийся тем, что столы выполнены с удлинителями.

3. Станок по п.1, отличающийся тем, что обе рамы имеют стенки с возможностью образования рукавов для направления опилок в приемную тару.

4. Станок по п.1, отличающийся тем, что тормоз ножевого вала выполнен в виде подпружиненного рычага и размещен с возможностью взаимодействия с ножевым валом.

Описание

[1]

Изобретение относится к деревообрабатывающей промышленности, в частности, к универсальному деревообрабатывающему оборудованию.

[2]

Известен деревообрабатывающий станок, включающий станину, поворотный блок, узлы строгания, пиления, сверления и точения с рабочими органами и привод, который снабжен подвижной кареткой и дополнительными поворотными блоками, станина выполнена в виде двух столов с расположенными между ними направляющими, причем каретка смонтирована с возможностью перемещения на направляющих и подпружинена относительно последних, а поворотные блоки и привод установлены на каретке, при этом последний установлен с возможностью поворота [1]
Изобретение позволяет уменьшить время на переналадку станка, однако, данный станок не может быть быстро разобран на отдельные узлы для транспортировки (перестановки) и последующей сборки и переналадки.

[3]

В качестве прототипа взят комбинированный деревообрабатывающий настольный станок, включающий корпус со смонтированными на нем пильным, рейсмусовым и токарным агрегатами, смонтированный внутри корпуса подъемный стол рейсмусового агрегата, установленный между передней и задней бабками токарного агрегата, подручник и привод, в котором токарный агрегат смонтирован на передней по ходу подачи заготовок стенке корпуса станка посредством кронштейна, имеющего устройство регулирования его положения по высоте, при этом подручник токарного агрегата находится в плоскости стола рейсмусового агрегата. Кроме того, токарный станок снабжен приводным роликом, который установлен между передней и задней бабками так, что качательная плоскость образующей ролика совпадает с плоскостью стола рейсмусового агрегата [2]
Изобретение позволяет производить обработку длинномерных заготовок, вместе с тем, обладает существенным недостатком: конструкция не позволяет перекомпоновать или легко и быстро разобрать станок на узлы для его перевозки (перестановки), что необходимо и важно для бытовых деревообрабатывающих станков.

[4]

Целью заявляемого изобретения является упрощение перекомпоновки и сборки-разборки станка в зависимости от условий работы и размеров обрабатываемой древесины, и при максимальной мощности привода, обеспечение минимально возможного веса отдельных узлов. С этой целью в известном комбинированном деревообрабатывающем станке, включающем корпус, средство для пиления, строгания, средство для рейсмусования и токарный агрегат, корпус состоит из двух частей, выполненных в виде рам, на одной раме установлен неподвижный стол, ножевой вал с шарикоподшипниками и электродвигатель, соединенный с ножевым валом ременной передачей, ножевой вал снабжен крышкой, один из хвостовиков ножевого вала выполнен с внутренним конусом для установки специальных инструментов, а второй хвостовик ножевого вала снабжен наружным конусом для установки режущего инструмента пилы или шлифовальных кругов, на другой раме установлены два эксцентриковых вала с возможностью вращения в шарикоподшипниках на угол 90о и связанные рычагом, рукояткой и тягой, кроме того, на эксцентриках валов посредством кронштейнов закреплен подвижный стол, а на раме закреплен электрический блок управления станком. Все столы имеют удлинители.

[5]

Известен универсальный деревообрабатывающий станок (а.с. N 1645144), включающий станину со столом, шпиндельный вал с ножевым валом и дисковой пилой, механизм регулировки шпиндельного вала по высоте, ограждение и привод, в котором на станине закреплены направляющие и линейки с пазами, шпиндельный вал смонтирован на плите, шарнирно установленной на каретке, снабженной фиксаторами и катками, контактирующими с направляющими, причем плита снабжена упорами, взаимодействующими с пазами линеек.

[6]

Известен также переносной универсальный деревообрабатывающий станок (а. с. N 1623859), включающий корпус с рабочей плитой, в котором установлен рабочий вал с ножами, связанный с электродвигателем посредством ременной передачи со ступенчатыми шкивами, и установленное на корпусе токарное приспособление в виде горизонтальных направляющих с передней и задней бабками и подручником, в котором рабочая плита смонтирована на корпусе шарнирно и снабжена смонтированными перед рабочим валом по ходу подачи заготовок стойками с пружинным роликом, при этом корпус снабжен кронштейном с вертикальными пазами для регулирования рабочей плиты по высоте, а токарное приспособление установлено на корпусе посредством подъемной опоры, причем электродвигатель смонтирован в корпусе посредством продольных направляющих.

[7]

Известные станки содержат отдельные признаки заявляемого станка, в частности, ножевой вал, однако известные станки не обеспечивают оперативной, упрощенной перекомпоновки и сборки-разборки станка в зависимости от условий работы и размеров обрабатываемой древесины.

[8]

Таким образом заявляемое изобретение соответствует критериям "новизна" и "изобретательский уровень".

[9]

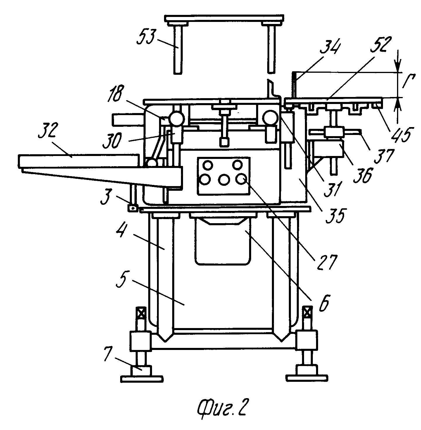
На фиг. 1 и 2 представлен станок в сборе (три проекции).

[10]

Станок выполнен в двух вариантах: настольном фиг. 1 и на верстаке фиг. 2. Для установки на верстак снимаются 4 ножки 1, два опорных болта 2 и освобожденные резьбовые отверстия используются для закрепления станка на плите 3 верстака.

[11]

Верстак выполнен в виде рамы 4, сваренной из труб. На раме закреплена плита 3, на которой сверху устанавливается станок, а снизу крепятся в направляющих ящик 5 для сбора опилок (в плите предусмотрено окно необходимых размеров) и ящик 6 для инструмента и запчастей.

[12]

Верстак имеет также четыре ножки 7, позволяющие производить регулировку высоты и горизонтировать плиту 3 верстака.

[13]

Станок фиг. 1 и фиг. 2 содержит соединенные четырьмя болтами раму 8 и раму 9, на которых смонтированы основные узлы.

[14]

Рамы 8, 9 сварены из уголков, швеллеров, полос и т.п. после сварки произведены механическая обработка плоскостей, нарезаны резьбы, просверлены необходимые отверстия и т.д.

[15]

На раме 8 установлен неподвижный стол 10, ножевой вал 11, вращающийся в шарикоподшипниках. Вращение ножевому валу 11 от электродвигателя 12 передается с помощью ременной передачи 13.

[16]

Электродвигатель закреплен на фланце 14, имеющем пазы для обеспечения натяжения ремней. Подвижные части привода закрыты кожухом 15, через который проходит ось тормоза 16, выполненного в форме подпружиненного рычага, который при нажатии на него рукой за счет касания и трения тормозит ножевой вал.

[17]

На раме 9 установлены четыре подшипника 17, в которых могут вращаться на угол ≈ 90о два эксцентриковых вала 18, связанные между собой рычагом 19, рукояткой 20 и тягой 21. Тяга фиксируется тормозом 22. Тормоз выполнен в виде скобы, через которую проходит тяга, снабженная резьбовым штырем, фиксируемым на скобе специальной гайкой.

[18]

На эксцентриках валов 18 установлены четыре кронштейна 23, на которых закреплен подвижный стол 24. В кронштейнах 22 имеются специальные пазы для установки в них осей роликов 25. В кронштейнах, кроме того, установлены пружины, поджимающие ролики 25 кверху и установочные винты, шлицы которых выходят по краям пазов А плиты 24. Кроме того, на раме 9 закреплен шкаф электрический, имеющий органы управления (кнопки) 27 для пуска, реверса и остановки станка.

[19]

Ножевой вал 11 закрыт крышкой 32. Хвостовик Б ножевого вала 11 имеет внутренний конус для установки специнструмента (фрез, сверл) и для выполнения операций сверления, пазования и т.п. через отверстия "В" в плитах 10 и 24, используя направляющие втулки 29 и 30, устанавливается дополнительный стол 32, опирающийся на упор 33.

[20]

Противоположный хвостовик ножевого вала 1 имеет укороченный наружный конус для установки режущего инструмента: пилы 34, фрез или шлифовальных кругов.

[21]

Для защиты от вращающегося инструмента и направления образующихся при работе станка опилок на рамах 8 и 9 закреплен специальных кожух 35, имеющий неподвижную опору 36 с установленной в ней бронзовой гайкой, которая вращается руками с помощью ручек 37, выполненных крестообразно.

[22]

При вращении бронзовой гайки, с помощью подъемного винта, установленного в ней, перемещается вверх-вниз стол 38 и регулируется глубина резания Г выступающим инструментом (пилой 34 и др.).

[23]

Стол 38 закрепляется на необходимой высоте во втулках 31. При продольной распиловке на раме 8 устанавливается, при необходимости, направляющий упор 39. При этом упор 40, используемый при фуговании, снимается.

[24]

При необходимости рейсмусования (обработки в заданный по толщине размер) упоры 39, 40 снимаются и устанавливаются рейсмус 41 и, если требуется, прижим 42 (для длинного и тонкого пиломатериала). При этом прижим 42 может быть, в зависимости от размеров и жесткости доски, установлен в одно из нескольких положений, в т.ч. в положение: над ножевым валом при фуговании (со снятым рейсмусом).

[25]

Рейсмус содержит подвижную на рычагах пластину 43, к которой с помощью роликов 25 прижимается обрабатываемый пиломатериал. Пластина фиксируется с помощью специальных гаек 44.

[26]

Рейсмус закрепляется на подвижном столе с помощью 4-х болтов.

[27]

Стол 38 имеет по краю направляющую 45, по которой перемещается упор 46, используемый при поперечной распиловке пиломатериалов. Упор 46 содержит поворотное устройство 47, поддерживающую лапу 48, удлинитель 49, который также имеет поддерживающую лапу и упор 50.

[28]

При необходимости длина неподвижного стола 10, подвижного стола 24 и стола 38 может быть увеличена с помощью удлинителей 51, устанавливаемых на стержнях, закрепленных в направляющих 52.

[29]

Кроме того, площадь стола 38 увеличивают с помощью съемного стола 53, который устанавливается через отверстия В и Д в столах 10 и 24 и закрепляется на необходимой высоте во втулках 29 и 30 (при этом дополнительный стол 32 должен быть снят).

[30]

При установке на хвостовик ножевого вала пил для поперечной и продольной распиловки на раме 9 закрепляется распиливающий нож, оборудованный защитным устройством 54.

[31]

Конструкция рамы 9 позволяет использовать окно Е для укладки кабеля, соединяющего шкаф электрический 26 с сетью электропитания станка.

[32]

Токарный агрегат известен (см. а.с. N 1606322).

[33]

Блок управления станком выполнен следующим образом.

[34]

Стандартные электроузлы: кнопки, пускатели, конденсаторы и т.д. установлены и закреплены внутри короба, выполненного из тонколистового материала. На переднюю панель выведены две лампочки, устанавливаемые в фонарях, кнопки "ПУСК", "СТОП" и "РЕВЕРС". Через заднюю стенку короба выведены жгут проводов, идущий к электросети.

[35]

Блок управления закрепляется на раме с помощью 4-х винтов.

[36]

Работает станок следующим образом.

[37]

При фуговании крышку 32 сдвигают на необходимую величину или снимают, а потом рукояткой 20 устанавливают необходимую толщину снимаемого слоя и фиксируют подвижный стол 24 с помощью тормоза 22 на тяге 21. Кроме того, данная конструкция подъема-опускания стола 24 позволяет удобно в процессе работы над одной заготовкой пиломатериала менять толщину фугования и получать необходимые изменения конфигурации обрабатываемой поверхности, а также легко и быстро фиксировать, при необходимости, подвижный стол фуганка. Для быстрой остановки ножевого вала после выключения электропитания станка служит тормоз 16, позволяющий без задержки произвести следующее включение станка и повышающий безопасность работы со станком. Пиление осуществляют путем ручной подачи заготовки древесины по столу 38 с помощью упоров 39 и 46 (для продольного и поперечного распилов соответственно). При этом глубина распила регулируется высотой стола 38 с помощью ручек 37. Для фугования за два и более проходов пиломатериалов, имеющих ширину больше ширины ножей ножевого вала, конфигурация неподвижного стола выполнена с обнижениями по бокам стола на величину максимальной толщины фугования.

[38]

Рейсмусование осуществляется ручной подачей заготовки древесины (проталкивания) над подвижным 24, неподвижным 10 столами, при опущенном подвижном столе и выдвинутых роликах 25, которые прижимают заготовку вверх к рейсмусу 41. Пpи рейсмусовании ролики 25 выдвигают из стола 24 на максимальную величину. При этом стол 24 должен находиться в нижнем положении. Подвижная пластина рейсмуса 43, имеющая для снижения усилия проталкивания по ней пиломатериала поперечные рифы, с помощью мерных брусков устанавливается на необходимую высоту и фиксируется гайками 44.

[39]

Данная конструкция с верхним расположением рейсмуса, позволяет удобнее, чем с нижним расположением, работать на станке: проталкивать заготовку, используя толкатели в виде деревянных брусков, повышает безопасность в работе. При необходимости, при фуговании и рейсмусовании пиломатериалов на неподвижном столе 10 устанавливается прижим 42, содержащий два подпружиненных ролика. Прижим также позволяет обрабатывать различные, в том числе и очень тонкие, заготовки и повышает безопасность работы, а также качество обработанной поверхности. Например, при рейсмусовании разномерной древесины, стол 43 рейсмуса устанавливается на высоте, которая обеспечивает подачу древесины над ножевым валом 11 и снятие не более 1,5-2 мм слоя стружки с обрабатываемой стороны. Вначале обрабатываются подготовленные (профугованные с одной стороны) доски одинаковой толщины (20 мм), а затем рейсмус переналаживается на другую требуемую толщину (30 мм) и производится обработка досок.

[40]

Рамы 8 и 9 выполнены раздельно и соединены на болтах, что позволяет при сохранении возможности демонтажа и транспортировки в руках без применения подъемно-транспортных средств увеличить мощность электродвигателя и жесткость всей конструкции, которая при большей массе становится более долговечной и виброустойчивой. Кроме того, рама 9 содержит окно, в которое укладывается кабель питания. Следующая особенность конструкции рам 8 и 9 состоит в том, что в них предусмотрены стенки, образующие под ножевым валом рукав, направляющий опилки в ящик 5. Аналогичным рукавом служит также кожух 35 для сбора опилок, образующихся при работе пилы 34.

[41]

Все остальные узлы станка также легкосъемные и имеют минимальные габариты в разобранном виде, что позволяет транспортировать узлы станка, например, в багажнике автомобиля и, в то же время, габариты столов станка достаточно большие в сборе, чтобы позволить обрабатывать на нем многометровые заготовки пиломатериалов. К таким узлам станка относится стол 38, стол дополнительный 32, стол съемный 53, удлинители столов 51.

[42]

Устройство подъема опускания стола 38 позволяет механизировать этот процесс. В то же время, за счет объединения опоры 36, содержащей подъемный механизм винт-гайку, с кожухом пилы 35 данное устройство имеет компактную конструкцию, при минимальном расходе материала имеет достаточную жесткость.

[43]

Особенность упора 46 состоит в том, что он может перемещаться вдоль стола 38 под углом к плоскости циркулярной пилы 45о.90о и содержит опорные лапы 48 и 50 (последняя на легкосъемном удлинителе).

[44]

Заявляемое изобретение позволяет обеспечить максимальную мощность привода при значительном упрощении процесса сборки и разборки станка на узлы достаточно легкие, чтобы 1-2 человека могли их перенести, например в автомобиль и т.д. и т.п. т.е. станок легок и компактен для транспортирования, удобен в эксплуатации, легко перестраивается в зависимости от условий работы и размера древесины, а также обеспечивает все основные операции, необходимые для обработки древесины при столярных работах.

Как компенсировать расходы
на инновационную разработку
Похожие патенты