Изобретение относится к полупроводниковой металлургии. Сущность изобретения: кристаллы
кремния выращивают методом Чохральского при наложении постоянного магнитного поля с
индукцией 0,03 0,06 Тл с вращением тигля и кристалла. Тигель используют со сферическим дном. Соотношение диаметров
тигля dт и кристалла dкр dт≥ 3,15dкр. 3 ил. 1 табл.
СПОСОБ ПОЛУЧЕНИЯ МОНОКРИСТАЛЛОВ КРЕМНИЯ,
включающий вытягивание монокристаллов на затравку из кварцевого тигля цилиндрической
формы со сферическим дном с одновременным вращением кристалла и тигля и воздействием на расплав осесимметричного
постоянного магнитного поля с индукцией 0,03 0,06 Тл, отличающийся тем, что вытягивание
кристалла из цилиндрической части тигля ведут при постоянной частоте вращения тигля не более 3 мин-1, при достижении уровня расплава сферической части тигля значение частоты
вращения тигля увеличивают на 0,4 0,5 мин-1 на каждый 1 см длины кристалла до величины 10
15 мин-1, а внутренний диаметр цилиндрической части тигля dт выбирают из соотношения dт ≥ 3,15 dкр, где dкр диаметр растущего кристалла.
Изобретение относится к полупроводниковой металлургии, в частности к методам выращивания монокристаллов кремния по Чохральскому. Метод Чохральского включает выращивание
кристаллов на монокристаллическую затравку из расплава кремния, помещенного в кварцевый тигель. Непрерывное растворение кварцевого тигля в расплаве кремния и поставка обогащенного
кислородом расплава от стенок тигля к фpонту кристаллизации является главной причиной высоких концентраций кислорода N0 в выращиваемых по методу Чохральского кристаллах кремния. Кристаллы
кремния с высоким N0 обладают низкой термостабильностью электрофизических и структурных параметров, что сдерживает применение такого материала в производстве высоковольтных
полупроводниковых приборов (силовых диодов, тиристоров, мощных транзисторов), а также в производстве некоторых типов интегральных схем на основе кремния. Наиболее близким к изобpетению
является способ снижения концентрации кислорода в монокристаллах кремния, в котором достигнутая концентрация кислорода в кристаллах, выращенных при воздействии СИ Р-магнитного поля с параметрами
ВZ 0,32 Тл и ВR 0,2 Тл, составляет примерно 2,5.1017 см-3. Недостатками данного способа являются необходимость применения высоких
индукций магнитных полей для получения низких концентраций кислорода в кристаллах, а также трудность практической реализации магнитных полей такой конфигурации. Известны способы
выращивания монокристаллов кремния с пониженным содержанием кислорода путем воздействия на расплав осесимметричного постоянного магнитного поля и одновременно выбором соответствующих частот вращения
кристалла и тигля. В соответствии с прототипом монокристаллы кремния диаметром 105 и 155 мм выращивали при воздействии на расплав осесимметричного постоянного магнитного поля с
индукцией 0,13-0,06 Тл. Достигнутые величины n0 в кристаллах диаметром 105 и 155 мм находились в пределах (2,5-6,0).1017 см-3 и (5,5-8,0).1017 см-3 соответственно. Недостатком данного метода является высокая осевая неоднородность распределения кислорода. В концевой части кристаллов, выращивание которых
происходило из сферической части тигля, наблюдается резкое возрастание концентрации кислорода. Кроме того, достигнутый минимальный уровень N0 в кристаллах достаточно высок.
Целью изобретения является снижение концентрации кислорода при обеспечении высокой однородности его распределения. Для этого в способе получения монокристаллов кремния, включающем
вытягивание из кварцевого тигля цилиндрической формы со сферическим дном с одновременным вращением кристалла и воздействием на расплав осесимметричного постоянного магнитного поля с индукцией 0,03-0,
06 Тл, вытягивание кристалла из цилиндрической части тигля ведут при неизменной частоте вращения тигля не более 3 об/мин, а при достижении уровня расплава сферической части тигля значение частоты
вращения тигля увеличивают на (0,4-0,5) об/мин на каждый сантиметр длины кристалла до величины 10-15 об/мин, причем внутренний диаметр цилиндрической части тигля dт выбирают из
соотношения Реализация предложенного способа осуществляется на установках
выращивания монокристаллов по Чохральскому, оборудованных расположенной коаксиально с тиглем и выращиваемым монокристаллом соленоидной системой постоянного тока, создающей в зоне расплава
вертикальное
симметричное относительно оси роста постоянное магнитное поле в индукцией до 0,1 Тл. Сущность предложенного способа состоит в следующем. При выращивании монокристаллов
заданного
диаметра с низким содержанием кислорода первоначально выбирают диаметр кварцевого тигля из указанного соотношения. Далее в тигель загружают кремний-сырец (или смесь сырца и оборотного
материала) и
расплавляют его с помощью нагревательных элементов. Затем на расплав воздействуют симметричным относительно оси роста постоянным магнитным полем с индукцией 0,03-0,06 Тл и производят
затравление
кристалла при изо- или противовращении кристалла и тигля с частотой не выше 3 об/мин, разращивают кристалл до необходимого диаметра и ведут его выращивание при указанных значениях
индукции поля и
частот вращения кристалла и тигля до момента достижения расплавом сферической части тигля. Далее для сохранения высокой осевой однородности распределения кислорода величину частоты
вращения тигля
увеличивают на (0,4-0,5) об/мин на каждый сантиметр длины кристалла до величины (10-15) об/мин и на этом уровне частоту вращения тигля сохраняют постоянной до завершения процесса
выращивания. Физическая сущность происходящих при реализации предлагаемого способа явлений заключается в следующем. В предложенных условиях выращивания в расплаве кремния существуют
гидродинамические
потоки, обусловленные вращением кристалла, тигля и тепловой конвекцией. Потоки расплава, обусловленные вращением тигля и тепловой конвекцией, поднимаются у стенок тигля, проходят
вдоль открытой
поверхности расплава (где кислород частично испаряется в виде SiO) и далее достигают фронта кристаллизации. При воздействии слабого магнитного поля подвижность этого потока еще
сохраняется достаточно
высокой, в то время как доля испаряющегося SiO заметно возрастает, что способствует снижению N0 в растущем кристалле. Причем с увеличением длины открытой области
расплава степень снижения
N0 возрастает. Этим и обусловлен выбор экспериментально установленного оптимального соотношения диаметров. При переходе расплава из цилиндрической
части тигля в сферическую
резко возрастает влияние потока, стимулированного вращением кристалла (опускание потока у стенок тигля и подъем накислороженного расплава к фронту кристаллизации под
кристаллом), что является причиной
резкого возрастания концентрации кислорода в концевой части кристалла. Для подавления усиливающегося вклада кристалла в движение потоков расплава в предлагаемом
способе рекомендовано при переходе
расплава из цилиндрической в сферическую часть тигля увеличить частоту вращения тигля. Выбор указанного выше диапазона скоростей увеличения частоты вращения тигля
при достижении расплавом сферической
части тигля (0,4-0,5) об/мин на 1 см длины кристалла и максимальных величин dт, до которых это увеличение будет проведено (10-15) об/мин, а также
соотношения внутреннего диаметра тигля к
диаметру кристалла обусловлен экспериментально найденными условиями достижения максимального положительного эффекта. Пи изменении частоты менее 0,4 об/мин.см
не удается подавить резкое возрастание в
концевой части кристалла, что не обеспечивает низкую концентрацию кислорода по всей длине кристалла (а следовательно, требуемую степень осевой однородности
распределения кислорода).
При изменении частоты более 0,5 об/мин.см может произойти срыв бездислокационного роста кристалла. При величинах максимальных
частот вращения тигля при выращивании концевой
части кристалла менее 10 об/мин потоки расплава, обусловленные вращением тигля, не могут в полной мере нейтрализовать потоки, обусловленные вращением
кристалла, что приводит к повышенным значениям
концентрации кислорода в нижних частях кристаллов. Увеличение максимальной величины dт выше 15 об/мин нецелесообразно, так как это оказывает
слабое влияние на однородность распределения
кислорода, а техническое обеспечение высоких частот сопряжено с трудностями. Использование малых значений индукции поля, не возрастающих в
процессе выращивания монокристалла, приводит
к дополнительному эффекту снижению энергоемкости процесса, поскольку индукция магнитного поля определяется при прочих равных условиях силой тока в
обмотках магнитной системы, а ее энергоемкость
квадратично зависит от силы тока. П р и м е р 1. Монокристалл кремния диаметром 105 мм марки КДБ 12, <100>, был выращен на
установке "Редмет-30" в протоке аргона из тигля
диаметром 356 мм (внутренний диаметр 344 мм), поверхность которого состояла из цилиндpической и сферической частей, при массе загрузки в тигель 21 кг.
При этом отношение внутреннего диаметра
цилиндрической части тигля к диаметру кристалла составляло 3,26. Установка выращивания была оснащена соленоидной системой постоянного тока,
обеспечивающей получение внутри рабочей
камеры установки вертикально симметричного относительно оси роста постоянного магнитного поля с индукцией до 0,1 Тл. Исходное сырье (смесь
поликристаллического кремния и оборотного
материала) загружали в тигель и расплавляли с помощью нагревательных элементов при вращении тигля с частотой 2 об/мин. После полного расплавления исходного
сырья на расплав воздействовали
осесимметричным постоянным магнитным полем с индукцией 0,05 Тл. Выращивание кристалла из цилиндрической части тигля осуществляли при постоянных частотах
противовращения кристалла и тигля, равных 2
об/мин, а по достижении уровнем расплава сферической части тигля частоту вращения тигля увеличивали на 0,45 об/мин на каждый сантиметр длины кристалла до
12 об/мин, при этом частоту вращения кристалла
оставляли неизменной. После достижения частоты вращения тигля 12 об/мин ее также не изменяли до конца процесса выращивания. Программа изменения частоты
вращения тигля реализовалась микропроцессорным
комплексом КМ3111 (на базе КТС ЛИУС-2) с учетом рассчитанных ранее длин кристалла, выращенных из цилиндрических сферических частей тигля.
Расход аргона в рабочей камере установки
выращивания составлял 1200 л/ч, остаточное давление 10 мм рт.ст. Скорость вытягивания изменялась в процессе роста от 1,2 мм/мин в начальной части кристалла
до 0,5 мм/мин в концевой по специальной
программе. В выращенном указанным выше способом монокристалле методом ИК-поглощения на длине волны 9,1 мкм при К 2,45.1017
см-3 была измерена
концентрация кислорода в центральной области в 9 сечениях по длине кристалла. Результаты приведены на фиг. 1. Как видно на фиг. 1,
применение предложенного способа
позволило обеспечить низкую концентрацию кислорода (1,5-1,8).1017 см-3 в кристалле при высокой осевой однородности его
распределения. П р и м е р 2. 5
монокристаллов кремния диаметром 78 мм марки КДБ 12, <100>, были выращены на установке "Редмет-30" (оснащение магнитом аналогично примеру
1) в протоке аргона из стандартного тигля
диаметром 330 мм (внутренний диаметр 318 мм) при загрузке в тигель 17 кг. При этом отношение внутреннего диаметра цилиндрической части тигля к диаметру
кристалла было равно ≈ 4.
Монокристаллы выращивали по режимам, представленным в таблице. Во всех приведенных в таблице случаях кристалл и тигель вращали в противоположные
стороны, частота вращения кристалла составляла 2
об/мин. Приведем более подробно пример реализации одного из описанных в таблице режимов (режима 1). После полного расплавления
исходного сырья на расплав воздействовали осесимметричным
постоянным магнитным полем с индукцией 0,05 Тл. При вращении из цилиндрической части тигля dт оставляли постоянным и равным 2
об/мин. При достижении расплавом сферической части тигля (длина
выращенного кристалла 60 см) dт увеличивали на 0,45 об/мин на каждый сантиметр длины кристалла до 11 об/мин (на длине
кристалла 80 см) и далее оставляли неизменным до конца процесса
выращивания. Изменение dт осуществляли автоматически аналогично описанному в примере 1. Прочие условия выращивания, в
частности расход газа, остаточное давление и скорость вытягивания,
также были аналогичны описанным в примере 1. В монокристалле, выращенном по режиму 1, была измерена концентрация
кислорода в центральной области в 10 сечениях по длине кристалла. Результаты приведены на фиг. 2. В других монокристаллах кремния, режимы выращивания которых приведены
в таблице, концентрацию кислорода измеряли в 3-х сечениях (верх,
середина, половина длины и низ) по длине кристалла. Результаты ее изменения из расчета осевой неоднородности распределения кислорода в
монокристаллах, выращенных по предложенному способу, приведены в
таблице. В этой же таблице приведены результаты анализа N0 и Δ N0 в кристаллах,
выращенных в режимах, выходящих за пределы предложенного способа (режимы
1-10 таблицы) и по способу-прототипу (11 и 12). Условия выращивания кристалла диаметром 78 мм при несоблюдении
рекомендованного в предложенном способе отношения dт/dкр (режим 10 таблицы) отличались от описанных выше диаметром тигля 200 мм (внутренний диаметр 194 мм) и массой загрузки в
тигель 6 кг. При этом dт/dкр было равно 2,5. Анализируя представленные в таблице и на фиг. 2 данные, можно сказать, что применение предложенного способа (режим
1-5) обеспечивает получение монокристаллов с низкой (<1,8.
1017 см-3) концентрацией и высокой осевой однородностью распределения кислорода (Δ N0 < 15%). Применение скорости изменения частоты
вращения тигля менее 0,4 об/мин.см (режим 6) или более 0,5 об/мин.см (режим 7) приводит в первом случае к
заметному возрастанию осевой неоднородности распределения кислорода, а во втором к
срыву бездислокационного роста кристалла. Использование частот вращения тигля при выращивании сферической части
тигля менее 10 об/мин (режим 8) или более 15 об/мин (режим 9) также приводит к
существенному увеличению осевой неоднородности распределения кислорода. Уменьшение отношения диаметра
тигля к диаметру кристалла (режим 10) приводит к резкому (более чем в 4 раза)
увеличению концентрации кислорода по всей длине кристалла. В соответствии с прототипом были выращены два
кристалла: Прочие условия выращивания кристалла (расход аргона,
остаточное давление и скорость вытягивания) не отличались от условий выращивания по предложенному способу.
2. Монокристалл кремния диаметром 105 мм из тигля диаметром 270 мм
(внутренний диаметр 260 мм) при загрузке в тигель 16 кг. При этом отношение диаметров было равно 2,4, что существенно ниже 3,15 по
предложенному способу. Частоты противовращения кристалла и тигля были
равны соответственно 2 и 3 об/мин и не изменялись в процессе выращивания. Величина индукции магнитного поля при выращивании из
цилиндрической части тигля (длина кристалла 40 см) составляла 0,045 Тл, а
при достижении расплавом сферической части тигля увеличивалась до 0,09 Тл. Прочие условия выращивания не отличались от
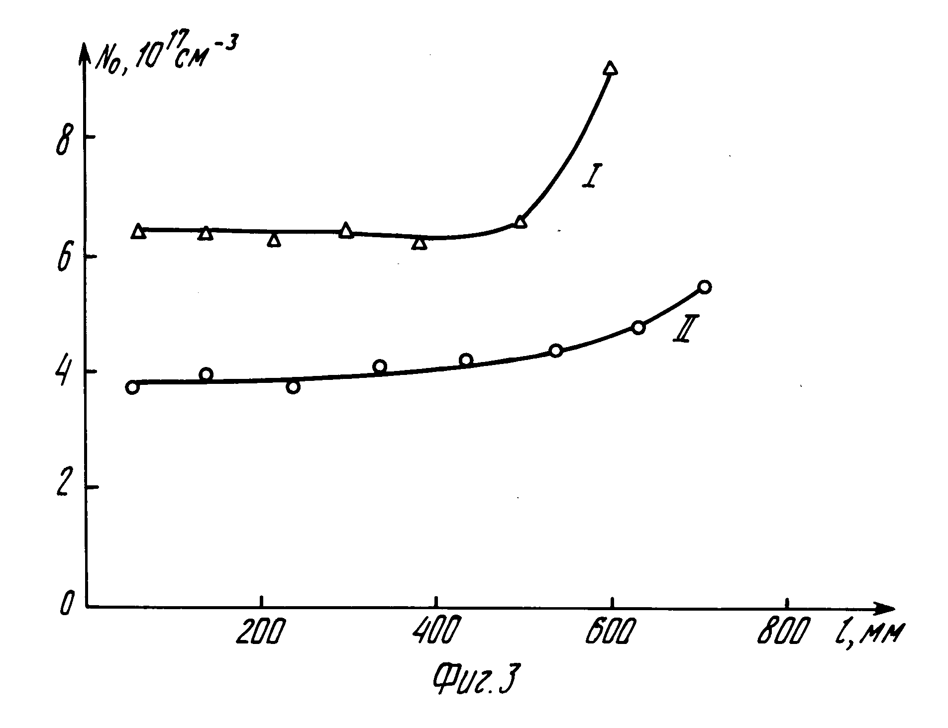
условий выращивания по предложенному способу. Как видно на фиг. 3,
в монокристаллах, выращенных в соответствии с прототипом, наблюдаются достаточно высокие концентрации кислорода. Так,
в монокристалле диаметром 158 мм (I случай из описанных выше) она лежит в
пределах (6,3-9,5).1017 см-3 и в монокристалле диаметром 105 мм (II случай) в пределах (3,
8-5,5).1017 см-3, что существенно выше, чем
в кристаллах, выращенных по предложенному способу. Таким образом, указанные режимы, параметры и
последовательность ведения процесса являются оптимальными и целесообразным с точки
зрения практической реализации и достижения требуемого положительного эффекта снижения концентрация кислорода при
сохранении высокой однородности его распределения в кристаллах. Такие кристаллы могут
быть успешно использованы в силовых и электронных приборах, где в качестве первоочередного требования выдвигается
высокая термостабильность структурных и электрофизических параметров кремния.
dт ≥ 3,15dкр, где dкр диаметр растущего кристалла.
1. Монокристалл кремния диаметром 158 мм из тигля диаметром
330 мм (внутренний диаметр 318 мм) при загрузке в тигель 30 кг. При этом отношение внутреннего диаметра цилиндрической
части тигля к диаметру кристалла составляло 2, что существенно ниже
рекомендованного в предложенном способе (≥ 3,15) (такой режим в настоящее время является типичным при выращивании
монокристаллов диаметром 150 мм на отечественном оборудовании). Выращивание
осуществляли при неизменных частотах противовращения кристалла и тигля, равных 2 об/мин. Величина индукции магнитного поля
при выращивании кристалла из цилиндрической части тигля (длина кристалла 50
см) составляла 0,05 Тл, а при достижении расплавом сферической части тигля ее увеличивали до 0,085 Тл со скоростью 0,002
Тл/мин.