патент
№ RU 2027735
МПК C10B1/04

УСТАНОВКА ДЛЯ ПРОИЗВОДСТВА ДРЕВЕСНОГО УГЛЯ

Авторы:
Богданович Николай Иванович
Правообладатель:
Все (2)
Номер заявки
92002036/05
Дата подачи заявки
27.10.1992
Опубликовано
27.01.1995
Страна
RU
Как управлять
интеллектуальной собственностью
Чертежи 
3
Реферат

[27]

Использование: в области пиролиза древесины для получения древесного угля. Сущность изобретения: в установке для производства древесного угля, содержащей по меньшей мере одну печную камеру с выемным контейнером для обрабатываемой древесины, топку с жаровой трубой и систему газоходов, контейнер выполнен в виде емкости с крышкой и днищем, в центральной части которой вертикально установлена выполненная перфорированной жаровая труба, открытая со стороны крышки и днища емкости, а система газоходов включает последовательно расположенные жаровую трубу, пространство между стенками камеры и контейнера и отводящий газоход. При использовании двух и более печных камер система газоходов установки содержит для каждой пары соседних печных камер газоход, расположенный на уровне нижней части конвейеров и соединяющий эти камеры. 1 з.п. ф-лы, 3 ил.

Формула изобретения

1. УСТАНОВКА ДЛЯ ПРОИЗВОДСТВА ДРЕВЕСНОГО УГЛЯ, содержащая по меньшей мере одну печную камеру с выемным контейнером для обрабатываемой древесины, топку с жаровой трубой и систему газоходов, отличающаяся тем, что контейнер выполнен в виде емкости с крышкой и днищем, в центральной части которой вертикально установлена выполненная перфорированной жаровая труба, открытая со стороны крышки и днища емкости, а система газоходов включает последовательно расположенные жаровую трубу, пространство между стенками камеры и контейнера и отводящий газоход.

2. Установка по п.1, отличающаяся тем, что при использовании двух и более печных камер система газоходов установки содержит для каждой пары соседних печных камер газоход, расположенный на уровне нижней части контейнеров и соединяющий эти камеры.

Описание

[1]

Изобретение относится к области пиролиза древесины и может быть использовано для получения древесного угля без отбора парогазов.

[2]

Известна установка фирмы "Ламбиот", состоящая из реторты с узлами загрузки сырья и выгрузки угля и с узлом дожигания парогазов [1].

[3]

Однако в известной установке получают древесный уголь низкого качества. Это вызвано неудовлетворительной сушкой сырья в реторте вследствие большой начальной влажности и неэффективного процесса сжигания получающихся парогазов.

[4]

Известна установка, состоящая из камеры с выемкой вертикальной ретортой и топкой, расположенной в нижней части камеры. Камера также снабжена каналом для отвода дымовых газов [2].

[5]

В известной установке происходит загрязнение атмосферного воздуха парогазовыми продуктами пиролиза древесины и высокий расход топлива на подогрев реторты.

[6]

В качестве ближайшего аналога служит установка для производства древесного угля, содержащая по меньшей мере одну печную камеру с выемным контейнером для обрабатываемой древесины, топку и систему газоходов. Данной установкой является углевыжигательная печь [3]. Она включает три печные камеры, конструкция которых одинакова. В камере установлен контейнер, который является сборным из десяти металлических емкостей, каждая из которых имеет объем 8,8 м3.

[7]

Система газоходов включает канал для подвода газов от топки, пространство между емкостями и камерой и канал для вывода газов из камеры.

[8]

Однако в известной установке получают неравномерно прокаленный уголь по причине значительного удаления центральной части емкости от потока топочных газов, что является причиной неравномерного теплового воздействия на древесину.

[9]

Парогазы, выделяются при пиролизе древесины, вместе с дымовыми газами от топки выбрасываются в атмосферу, загрязняя ее. Велик расход топлива на обогрев емкостей с древесиной.

[10]

Цель изобретения - повышение эффективности работы установки, улучшение качества получаемого древесного угля, увеличение производительности установки и уменьшение расхода топлива на обогрев контейнеров, снижение вредных выбросов и создание экологически чистого и безопасного для производства окружающей среды.

[11]

Цель достигается тем, что в установке для производства древесного угля, содержащей по меньшей мере одну печную камеру с выемным контейнером для обрабатываемой древесины, топку с жаровой трубой и систему газоходов, контейнер выполнен в виде емкости с крышкой и днищем, в центральной части которой вертикально установлена выполненная перфорированной жаровая труба, открытая со стороны крышки и днища емкости, а система газоходов включает последовательно расположенные жаровую трубу, пространство между стенками камеры и контейнера и отводящий газоход.

[12]

При использовании двух и более печных камер система газоходов установки содержит для каждой пары соседних печных камер газоход, расположенный на уровне нижней части контейнеров и соединяющий эти камеры.

[13]

Установка для производства древесного угля представлена в виде двух камер. На чертежах показано устройство каждой камеры, которое является одинаковым независимо от числа камер.

[14]

На фиг. 1 показана предлагаемая установка; на фиг. 2 - часть камеры, примыкающей к нижней части жаровой трубы; на фиг. 3 - схема соединения газоходами обеих камер.

[15]

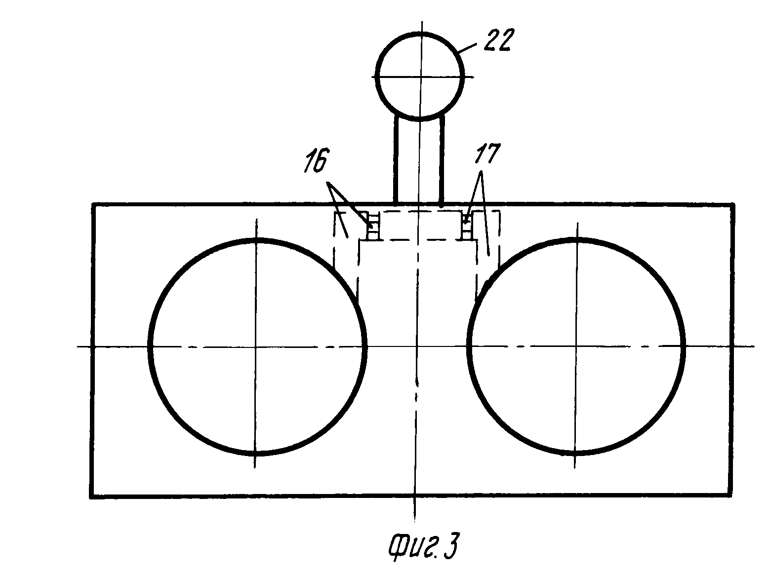
Установка содержит печные камеры 1 и 2 со стенкой 3 между ними, в которых установлены выемные контейнеры 4 и 5 для обрабатываемой древесины, топки 6 и 7 и систему газоходов. Каждый контейнер выполнен в виде емкости, в центральной части которой вертикально установлена перфорированная жаровая труба. На фиг. 1 жаровые трубы обозначены позициями 8 и 9. Жаровые трубы открыты со стороны крышек 10 и 11 и днищ 12 и 13 контейнеров. Боковые стенки, днища и крышки контейнеров выполнены металлическими и сплошными. Контейнеры в крышках 10 и 11 и днищах 12 и 13 имеют отверстия для жаровых труб 8 и 9. Система газоходов последовательно включает для каждой камеры жаровую трубу, пространство между стенками камеры и контейнера и отводящий газоход с заслонкой: позиции 8,14,16 для первой камеры и 9,15, 17 - для второй. На уровне нижней части контейнеров 4 и 5 система газоходов имеет газоход 18, соединяющий обе камеры 1 и 2. Печные камеры сверху закрыты крышками 19 и 20.

[16]

На фиг. 2 показана часть контейнера 4 с днищем 12, жаровой трубой 8 и ее перфорациями 21. На фиг. 3 показаны отводящие газоходы 16 и 17 с заслонками, соединенные с дымовой трубой 22.

[17]

Устройство работает следующим образом.

[18]

С помощью загрузочного устройства, например крана, через открытую крышку 19 в камеру 1 помещают контейнер 4 с древесиной. Крышку закрывают, а в топку 6 через печную дверцу загружают топливо, например кусковые древесные отходы, закрывают заслонку на отводящем газоходе 16, открывают заслонку на газоходе 17. Затем топку 6 разжигают.

[19]

Дымовые газы от сжигаемого топлива проходят в камере 1 от топки 6 вверх к днищу контейнера 4 и поднимаются по жаровой трубе 8, а затем вниз между стенками контейнера 4 и камеры 1 к входным отверстиям соединительного газохода 18 (фиг.1). По соединительному газоходу 18 газы проходят в камеру 2 и через отводящий газоход 17 с открытой заслонкой отводятся в дымовую трубу 22.

[20]

Таким образом осуществляется сушка древесины в контейнере 4. Когда процесс сушки древесины завершается (через 3,5-7,0 ч после начала обогрева), в камеру 2 через крышку 20 устанавливается контейнер 5 с древесиной.

[21]

При дальнейшем прогреве контейнера 4 в нем начинает идти процесс пиролиза древесины с выделением парогазов, которые выходят через перфорации 21 в стенке жаровой трубы 8 и выгорают в пламени горящего топлива в объеме жаровой трубы 8. Поскольку при этом увеличивается выделение тепла, подача топлива в топку 6 может быть сокращена до минимума, потребного для полного выгорания парогазов. Дымовые газы отводятся тем же путем, с той лишь разницей, что в камере 2 они двигаются вверх между стенками контейнера 5 и стенками камеры 3 внутри жаровой трубы 9, отдавая тепло на сушку древесины в этом контейнере, а потом отводятся через газоход 17 под контейнером 5 в дымовую трубу 22.

[22]

По окончании процесса пиролиза и прокалки угля в контейнере 4 камеры 1 через крышку 19 контейнер 4 вынимается и помещается в сушильник (не показан), где уголь охлаждается и стабилизируется, а на его место в камере 1 устанавливается новый контейнер с древесиной. При этом превращается сжигание топлива в топке 6, открывается заслонка отводящего газохода 16 и закрывается заслонка газохода 17.

[23]

Осуществляется розжиг топки 7 камеры 2, древесина в которой уже достаточно высохла и готова для пиролиза.

[24]

Теперь уже дымовые газы от сжигаемого топлива и продуктов пиролиза из камеры 2 тем же способом, но в обратную сторону поступают в камеру 1, где древесина в контейнере 4 подвергается в это время сушке.

[25]

По изложенной технологии процесс повторяется многократно.

[26]

При использовании предлагаемой установки для производства древесного угля обеспечивается максимально возможная экологическая чистота производства, а также снижается расход топлива в 2 или более раз.

Как компенсировать расходы
на инновационную разработку
Похожие патенты