патент
№ RU 2026670
МПК A61K31/00

СПОСОБ ПОЛУЧЕНИЯ ТОНКОДИСПЕРСНОГО ТВЕРДОГО ФАРМАЦЕВТИЧЕСКОГО ВЕЩЕСТВА

Авторы:
Уильям Дж.Шмитт[US]
Правообладатель:
Номер заявки
4895204/26
Дата подачи заявки
04.04.1991
Опубликовано
20.01.1995
Страна
RU
Дата приоритета
16.12.2025
Номер приоритета
Страна приоритета
Как управлять
интеллектуальной собственностью
Чертежи 
2
Реферат

[55]

Изобретение относится к способам получения тонкодисперсных твердых веществ, преимущественно фармацевтических препаратов (ФП). Способ включает растворение твердого(ФП) в органическом растворителе-носителе (Р) и его контактирование со сверхтекучей средой (С) при сверхкритических условиях. Контактирование ведут путем инжекции раствора в антирастворитель (А). В качестве (Р) используют тетрагидрофуран, в качестве (А) - двуокись углерода, а в качестве (ФП) - трианцинолонацетонид. Инжекционный раствор добавляют в реактор непрерывно или периодически. 6 з.п. ф-лы, 1 ил., 2 табл.

Формула изобретения

1. СПОСОБ ПОЛУЧЕНИЯ ТОНКОДИСПЕРСНОГО ТВЕРДОГО ФАРМАЦЕВТИЧЕСКОГО ВЕЩЕСТВА, включающий контактирование и смешивание его раствора со сверхтекучей средой при сверхкритических или почти сверхкритических для нее условиях с последующим отделением твердого вещества, отличающийся тем, что предварительно твердое фармацевтическое вещество растворяют в органическом растворителе-носителе, в качестве сверхтекучей среды используют антирастворитель, не растворяющий твердое вещество и смешивающийся в растворителе, а контактирование ведут путем инжекции раствора в антирастворитель.

2. Способ по п. 1, отличающийся тем, что в качестве фармацевтического вещества выбирают трианцинолонацетонид.

3. Способ по п.2, отличающийся тем, что в качестве растворителя-носителя используют тетрагидрофуран, а в качестве антирастворителя - двуокись углерода.

4. Способ по п. 1, 2 или 3, отличающийся тем, что твердое вещество растворяют в жидком растворителе-носителе до той степени, которая соответствует от 1 до 100 мас.% насыщения.

5. Способ по п. 1, 2, 3 или 4, отличающийся тем, что инжекционный раствор добавляют непрерывно в антирастворитель и непрерывно собирают тонкодисперсное твердое вещество.

6. Способ по п. 1, 2, 3 или 4, отличающийся тем, что инжекционный раствор добавляют в антирастворитель и тонкодисперсное твердое вещество собирают периодически.

7. Способ по пп. 1-6, отличающийся тем, что собирают тонкодисперсное твердое вещество и способствуют сбору нагреванием, вакуумом, подачей инертного газа под низким давлением или сочетанием этих средств.

Описание

[1]

Изобретение относится к способам получения тонкодисперсных твердых порошков, в частности фармацевтических, которые в обычных условиях трудно перевести в растворенное состояние в водной среде или измельчить без экстенсивной химической или физической обработки, в частности без пропускания через микронную коллоидную мельницу или повторных операций дробления, которые, если обрабатываемые вещества являются взрывчатыми, представляют собой опасные процедуры.

[2]

Предлагается способ получения тонкодисперсных твердых кристаллических или аморфных порошкообразных веществ, включающий использование суб- или суперкритического газа, причем возможность применения этого способа не ограничивается растворимостью этих твердых веществ в чистом суперкритическом газе.

[3]

Прием добавления находящегося в нормальных условиях в жидком состоянии антирастворителя в жидкий раствор твердого вещества, которое необходимо осадить или измельчить, или добавления жидкого раствора, содержащего твердое вещество, которое необходимо осадить или измельчить, в жидкий антирастворитель хорошо известен в химической заводской практике, причем на такой прием часто ссылаются как на эффект "высаливания".

[4]

Прием добавления раствора твердого вещества, растворенного в хорошем для него жидком растворителе, и относительно большой объем плохого для него жидкого растворителя как регулируемого микроосаждение, практикуется в промышленном масштабе для получения различных твердых продуктов.

[5]

Применение сжатого суперкритического газа благодаря его эффекту растворяющей способности в отношении тех же самых твердых веществ, известно [1] , но интерес к нему при получении тонкодисперсных порошков возник совсем недавно.

[6]

Известен способ получения тонкодисперсного твердого вещества [2] с использованием суперкритической текучей среды в качестве растворителя для этого твердого вещества, которое необходимо измельчить, причем приготовленный таким образом раствор затем подвергают расширению под пониженным давлением в вакуумной атмосфере, что позволяет быстро отделить находящийся под низким давлением суперкритический газ в качестве растворителя от твердого продукта.

[7]

Во всех этих литературных источниках говорится о необходимости вначале растворить твердое вещество, которое подвергают тончайшему помолу или измельчению, в соответствующей суперкритической текучей среде. Затем суперкритическую текучую среду, содержащую растворенное вещество, подвергают быстрому расширению (отпариванию) с целью отделить суперкритический газ от твердого вещества и получить сухой тонкодисперсный порошок.

[8]

Известно, что сложные маслоподобные, смолоподобные или аналогичные высоковязкие природные продукты, в частности сырой лецитин, можно отделить от его более летучих компонентов путем экстрации суперкритическим газом, который после удаления оставляет нерастворимый материал в форме рекуперируемого порошка [3]. Это явление образует основу всех операций выщелачивания с помощью суперкритического растворителя, в которых, например, неэкстрагированная масса может представлять собой органический материал, например выщелачивание кофе [4] или пряности [5]. В том случае, если уголь подвергнуть экстракционной обработке смесью суперкритического ксилола и тетралина, нерастворенная часть представляет собой порошкообразную золу, содержащую органический уголь и неорганические минералы.

[9]

Аналогичный по существу, но противоположный способ описан в технической литературе в последнее время. Этот способ носит название ГАР-способа (газ-антирастворитель), его осуществляют добавлением суперкритической текучей среды в предварительно приготовленное количество растворенного вещества, которое растворено в органическом жидком растворителе. По мере растворения в растворе суперкритической текучей среды из него выпадает в осадок твердое вещество.

[10]

Известен способ получения полимерного порошка высокой плотности [6], при осуществлении которого предусматривается плавление термопластичного полимера с получением расплава, смешение этого по-лимерного расплава с растворителем и выброс смеси полимерного расплава с растворителем через насадку в контакте с продуваемым газом, в частности с азотом. В способе не используют суперкритический растворитель или процедуру с суперкритическим антирастворителем.

[11]

Известен способ получения полимерных порошков [7], при осуществлении которого предусматривается стадия атомизации полимерного шлама в зоне выпаривания в присутствии сушащего газа. В способе отсутствует какое-либо упоминание о применении процедеры с суперкритическим газообразным антирастворителем.

[12]

Известен способ получения труднорастворимых стерольных исходных материалов в ферментационной среде [8] путем растворения стерола в органическом растворителе с последующим удалением органического растворителя нагреванием или под пониженным давлением.

[13]

В описании к патенту [9] предлагается способ стерилизации твердых веществ, например фармацевтически активных компонентов, растворением нестерильного твердого вещества в газе в суперкритических условиях с последующим пропусканием образовавшегося раствора через стерилизационный фильтр, в результате чего получают стерильную смесь газообразной текучей среды с твердым веществом.

[14]

Эти способы отличаются от предлагаемого способа, при осуществлении которого предусматривается добавление раствора растворенного вещества, которое необходимо подвергнуть микронизации или измельчению, в обычном жидком растворителе, после чего этот раствор добавляют в ожиженный под давлением или суперкритический газ, причем этот газ представляет собой антирастворитель или нерастворитель для твердого вещества, которое необходимо подвергнуть микронизации или измельчению в твердом состоянии. Более того, область применения указанных способов за исключением ГАР-способа, согласно которому предусматривается использование суперкритических или ожиженных газов, ограничена теми твердыми веществами, которые способны растворяться в атмосфере суперкритического газа. Однако многие фармацевтические вещества, которые необходимо подвергнуть дополнительному измельчению, неудовлетвори- тельно растворяются в обычных и умеренно дорогих суперкритических газовых растворителях, в частности в двуокиси углерода, закиси азота, этилена, фтороформе и т.п.

[15]

Целью изобретения является решение проблемы обработки твердых веществ, в частности тех, которые не растворяются в достаточной степени в обычных суперкритических или ожиженных газообразных растворителях, для получения больших количеств этих твердых веществ, которые необходимо подвергнуть тонкому измельчению, например фармацевтических веществ.

[16]

Способ получения тонкодисперсного твердого вещества включает растворение твердого вещества, которое необходимо подвергнуть тонкому измельчению, в жидком носителе-растворителе с получением инжекционного раствора и добавление этого инжекционного раствора в некоторый объем антирастворителя, достаточный для осаждения или кристаллизации такого твердого вещества.

[17]

Кроме того, в способе предусматривается растворение твердого вещества, которое необходимо подвергнуть тонкому измельчению, в жидком растворителе как носителе с получением инжекционного раствора, пропускание этого инжекционного раствора через стерилизующий фильтр, пропускание через стерилизующий фильтр антирастворителя, добавление инжекционного раствора в некоторый объем антирастворителя, достаточный для осаждения или кристаллизации твердого вещества в стерилизованном автоклаве.

[18]

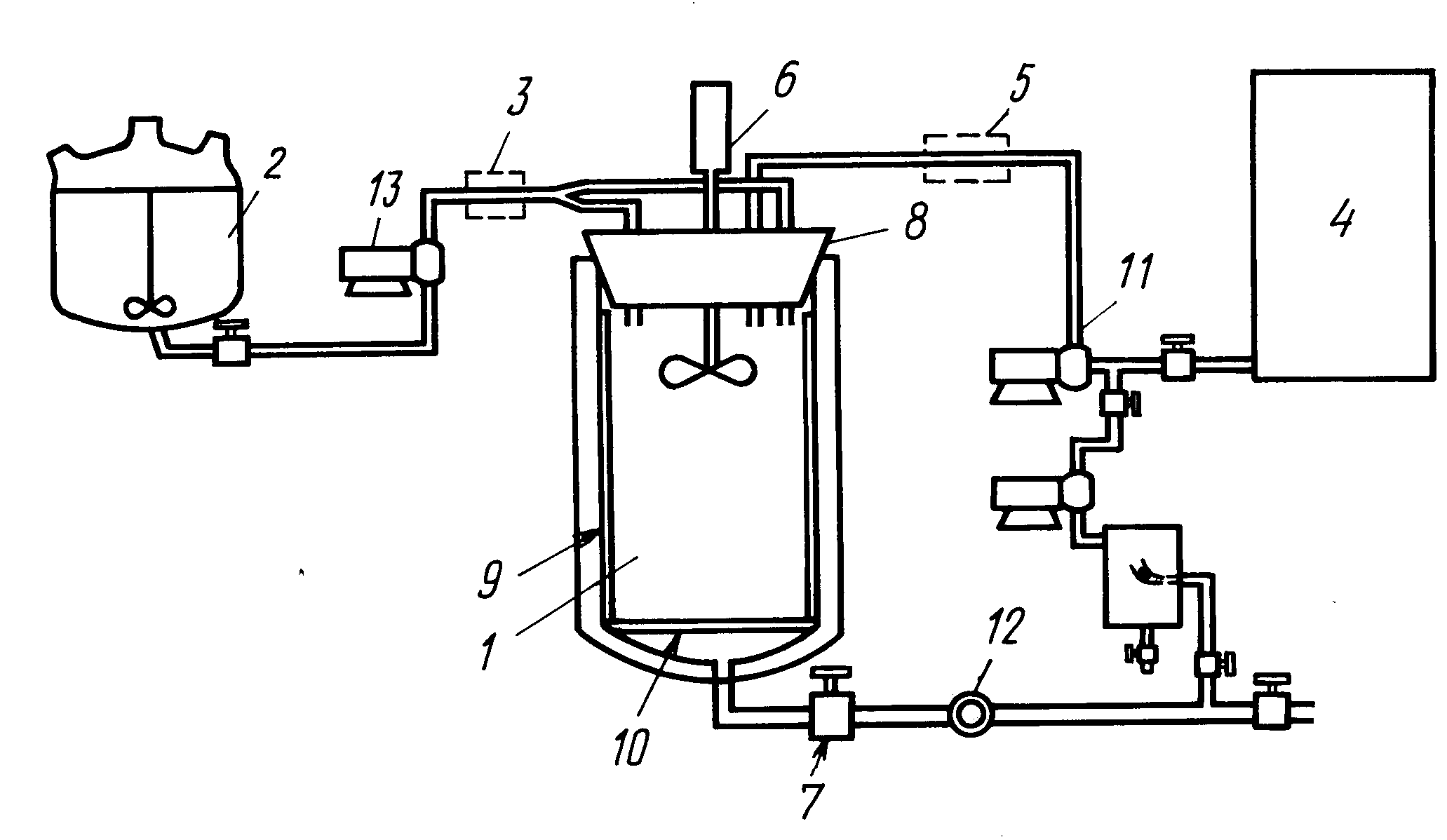
На чертеже показана установка, которая может быть использована для осуществления предлагаемого способа.

[19]

К обрабатываемым твердым веществам, которые необходимо подвергнуть тонкому измельчению при осуществлении способа, относится практически любой твердый материал, который нуждается в измельчении в твердом состоянии и который может быть растворен в определенном жидком растворителе в качестве носителя. По предпочтительному варианту такое твердое вещество должно представлять собой фармацевтическое вещество (как прописанные, так и непрописанные лекарства). По предпочтительному варианту такое фармацевтическое вещество должно представлять собой стероид, бензодиазепен, пенициллин или цефалоспорин.

[20]

К примерам таких фармацевтических веществ относятся трианцинолонацетонид, триамцинолон, дексаметазон, декаметазоннатрийфосфат, метилпреднизолонацетат, гидрокортизон, гидрокортизонацетат, медроксипрогестеронацетат, изофлупредонацетат, альпразолам, триазолам, пени- циллин, глибурид, ампициллин, ибупрофен, спектиномицин, эритромицин, флурбипрофен и их соли.

[21]

Твердое вещество, которое необходимо подвергнуть тонкому измельчению, вначале растворяют в приемлемом жидком растворителе как носителе. Этот жидкий растворитель-носитель выбирают, основываясь на его способности растворять такое твердое вещество, подвергаемое тонкому измельчению, смешиваемости с антирастворителем, токсичности, стоимости и других факторах. Образовавшийся раствор твердого вещества, растворенного в жидком растворителе-носителе, называют инжекционным раствором.

[22]

Жидкий растворитель-носитель представляет собой обычный жидкий растворитель (при комнатной температуре), в котором в достаточной степени растворимо твердое вещество, которое необходимо тонко измельчить. Кроме того, такой жидкий растворитель должен обладать по меньшей мере частично смешиваемостью с антирастворителем. Большинство органических растворителей по меньшей мере частично смешиваются с большинством антирастворителей. Вода лишь слабо растворима в таком антирастворителе, как двуокись углерода, и даже еще менее растворима в этане, вследствие чего хотя воду можно использовать в качестве жидкого растворителя-носителя, соотношение между антирастворителем и инжекционным раствором cледует соблюдать на очень высоком уровне, что позволяет предотвратить образование богатой водой фазы, в которой все еще остается в растворенном состоянии большое количество полученного в растворе тонкоизмельченного твердого вещества.

[23]

Обычно жидкий растворитель-носитель выбирают по таким характеристикам, как высокая растворяющая способность в отношении твердого вещества, которое необходимо тонко измельчить, смешиваемость с используемым антирастворителем, низкая токсичность, довольно высокая летучесть, отсутствие коррозионной активности в отношении оборудования и довольно низкая вязкость, что упрощает инжекцию. Совершенно очевидно, что для каждого конкретного твердого вещества применяют различные предпочтительные жидкие растворители-носители, которые можно легко определить. Предпочтительный жидкий растворитель-носитель для любого конкретного твердого вещества, которое необходимо тонко измельчить, должен отвечать указанным критериям, а также образует частицы приемлемого размера, кристаллической формы и с низким содержанием остаточного растворителя в токноизмельченном твердом продукте из конкретного твердого вещества, которое подвергают микроосаждению. Класс приемлемых жидких растворителей-носителей охватывает все органические растворители, которые способны растворять предназначенное для растворения вещество и его смеси.

[24]

Обычно отсутствуют какие-либо предпочтительные растворители-носители, поскольку каждое твердое вещество обладает своими характеристиками растворимости. Каждому твердому веществу характерны его собственные предпочтительные жидкие носители.

[25]

Класс конкретных жидких растворителей-носителей охватывает метанол, этанол, н- и изопропанол, н- втор- и третбутанол, пентанолы, гексанолы, гептанолы, бензиловый спирт, тетрагидрофуран (ТГФ), диэтиловый эфир, метилтретбутиловый спирт, формамид ДНФ N-диметилацктамид, ацетон, метилэтилкетон, пентан, гексан, гептан, октан, циклопентан, бензол, толуол, ксилол, пиридин, метиленхлорид, хлороформ, четыреххлористый углерод, хлорметан, этилендихлорид, бутилхлорид, трихлорэтилен, 1,1,2-трихлортрифторэтандиоксан, хлорбензол, этилацетат, бутилацетат, ацетонитрил, глим и их смеси.

[26]

Антирастворитель, который следует использовать, выбирают на основании некоторых факторов, из которых одним из самых важных является низкая растворяющая способность в отношении чистого твердого вещества, которое необходимо тонко измельчить в антирастворителе, и высокая способность жидкого растворителя-носителя растворяться в антирастворителе. При выборе антирастворителя принимаются во внимание минимальная стоимость, максимальный выход продукта, минимальная токcичность и другие экспериментальные аспекты, в частности полученные правильной кристаллической формы и простота удаления из кристаллического твердого вещества, а также то, что он должен быть оптимальным нерастворителем для твердого вещества, которое необходимо тонко измельчить. Выбранный антирастворитель представляет собой такой антирастворитель, который по меньшей мере частично, предпочтительнее полностью, смешивается с жидким растворителем-носителем в интервалах величин давления и температуры, которые создаются при осуществлении предлагаемого способа.

[27]

Термин "антирастворитель" относится к газу, который находится при температуре, равной или превышающей критическую температуру чистого газа, и под давлением, равным или превышающим критическое давление чистого газа. Таким образом, "антирастворитель" - суперкритические текучие среды, сжатые ожиженные газы и плотные пары. Поскольку в качестве антирастворителя выбирают такой, который проявляет низкую равновесную растворяющую способность для твердого вещества, подвергаемого микроосаждению, этот антирастворитель при осуществлении способа представляет собой нерастворитель. Так как растворимость какого-либо твердого вещества в антирастворителе является функцией как температуры, так и давления суперкритической текучей среды (Т ≥ Тс и Р ≥ Рс), оптимальный выход тонкоизмельченного твердого вещества может быть достигнут регулированием либо температуры, либо давления антирастворителя. Известно, что понижение температуры текучей среды способствует понижению растворимости растворяемого вещества. Таким образом, предлагаемый способ с достижением хороших результатов можно осуществлять при температуре антирастворителя, которая ниже критической температуры для данного антирастворителя, но давление должно превышать соответствующее давление паров данного газа при выбранной рабочей температуре. В этих условиях суперкритическую текучую среду называют сжатым ожиженным газом, на который также часто ссылаются как на почти критическую жидкость (примерно, 0, 8Тс< T < To и P> Pпар). В термодинамическом смысле этот критерий является жидким состоянием. Более того, предлагаемый способ можно также осуществлять, хотя и не столь успешно, если антирастворитель находится в фазе плотного пара (T< Tc и P<Pc), но, например, инжекция инжекционного растворителя в условиях низкого давления паров (T<Tc) или низкого давления газа (T>Tc) не позволяет достичь удовлетворительных результатов при получении тонкоизмельченного твердого вещества, поскольку антирастворитель не способен быстро дифундировать в поток пропитывающего инжекционного растворителя, вследствие чего не способен быстро солюбилизировать жидкий растворитель-носитель.

[28]

Класс антирастворителей включает суперкритические текучие среды, сжатые ожиженные газы и плотные пары. К рабочим антирастворителям относится двуокись углерода, этан, этилен, закись азота, фтороформ (СНF3), диметиловый эфир, пропан, бутан, изобутаны, пропилен, хлортрифторметан (CClF3), гексафторид серы (SF6), бромтрифторметан (CBrF3), хлордифторметан (CHClF2), гексафторэтан, четырехфтористый углерод и их смеси.

[29]

Класс предпочтительных антирастворителей охватывает двуокись углерода, этан, этилен и CClF3, более предпочтительным является двуокись углерода.

[30]

Твердое вещество, которое необходимо тонко измельчить, растворяют в жидком растворителе-носителе с получением инжекционного раствора, который обычно содержит в концентрации, несколько более низкой, чем концентрация насыщения, твердое вещество в жидком растворителе-носителе при температуре, при которой содержит инжекционный раствор. В качестве такой температуры обычно выбирают комнатную температуру (20-25оС), что удобно с практической точки зрения, однако такой инжекционный раствор можно приготовить и использовать при температуре, которая превышает или ниже комнатной температуры, если это желательно. К причинам использования температуры, отличной от комнатной, относятся более высокая растворимость твердого вещества в жидком растворителе-носителе при более высокой или более низкой температуре, вследствие чего повышается скорость образования тонкоизмельченного твердого продукта или влияние температуры инжекционного растворителя на размеры частиц, форму кристаллов или их особенность, остаточное содержание растворителя или другое физическое свойство получаемого тонкоизмельченного твердого вещества. Хотя жидкий растворитель-носитель может быть насыщен твердым веществом (теперь уже растворенным веществом), обычно предпочтительнее инжектировать инжекционные растворы с концентрацией, которая несколько ниже концентрации насыщения, поскольку создание таких условий сводит к минимуму забивание пористых фильтров, обратных клапанов и другого технологического оборудования, через которое инжекционный раствор протекает перед его инжекцией в антирастворитель.

[31]

Затем этот инжекционный раствор добавляют в относительно большой объем антирастворителя, который в технологических условиях представляет собой суперкритическую текучую среду, ожиженный газ или плотный пар. Согласно обычному способу проведения процесса инжекционный раствор закачивают в снабженный мешалкой автоклав, содержащий сжатый антирастворитель. Когда инжекционный раствор (жидкий растворитель-носитель, содержащий растворенное твердое вещество) входит в контакт с антирастворителем, в этот инжекционный раствор быстро проникает антирастворитель за счет обычного процесса взаимного диффундирования. Поскольку растворимость твердого вещества в антирастворителе немного ниже, чем в жидком растворителе-носителе, растворенное твердое вещество выпадает из смеси антирастворителя с жидким растворителем-носителем вскоре после осуществления такого контакта. Поскольку контактирование, смешение и диффундирование проходят быстро, твердое вещество выпадает из смеси в виде мелких, тонкодисперсных частиц. При более медленном контактировании (это может быть достигнуто при медленном добавлении антирастворителя в заданный объем системы жидкий растворитель-носитель) раствора растворенного вещества можно ожидать образования более крупных частиц выпадающего в осадок твердого вещества, поскольку для кинетически регулируемого роста кристаллов имеется большое количество времени. Медленная кристаллизация обычно ведет в образованию более крупных кристаллов, чем быстрое осаждение.

[32]

После добавления в антирастворитель желаемого количества инжекционного растворителя выпавшее в осадок тонкодисперсное твердое вещество (продукт) необходимо отделить от находящегося под давлением антирастворительного рафината. Этот рафинт представляет собой гомогенную смесь, главным образом, антирастворителя, содержащего обычно 2-10 мас.% жидкого растворителя-носителя. Таким образом, большое значение имеет смешиваемость жидкого растворителя-носителя с антирастворителем при всех рабочих температурах и давлениях, которые создают в технологических процессах, когда рафинат все еще находится в контакте с тонкодисперсным твердым продуктом. В этом случае, когда достигается такая температура, давление или состав, который вызывает образование в рафинате второй фазы, богатой жидким растворителем-носителем, тонкодисперсное твердое вещество может селективно растворяться вновь в этой фазе и оказывается нерекуперируемым в тонкодисперсном твердом состоянии. Образование двух фаз в газе или жидкости (третьей фазой является твердая фаза) может быть допущено в смеси в том случае, если тонкодисперсное твердое вещество умеренно растворимо в обеих фазах.

[33]

Сбор тонкодисперсного твердого продукта целесообразно проводить просеиванием этого твердого вещества в ходе проведения операции сеточного фильтрования. Смесь антирастворителя (жидкого растворителя-носителя) и осадка тонкодисперсного твердого вещества пропускают через тонкопористый корзиночный фильтр, установленный в днище осадительной камеры, под полным технологическим давлением. Этот тонкодисперсный твердый продукт задерживается корзиночным фильтром, тогда как антирастворительный рафинат легко проходит через слой собранного твердого вещества и сеточный фильтр, после чего он стекает с днища осадительной камеры в виде осветленного фильтра. Низкая вязкость и низкое поверхностное натяжение антирастворителя особенно способствуют высокой скорости фильтрования через слой мелких частиц в отличие от того, что происходит при фильтровании с использованием обычных жидких растворителей с характерными для них повышенными вязкостью и поверхностным натяжением. В таких условиях фильтрования микроосаждение из суперкритической текучей среды создает преимущества быстрого фильтрования, которое обычно не наблюдается при микроосаждении из обычной жидкости, в частности в том случае, когда в качестве антирастворителя используют воду.

[34]

Способ настоящего изобретения предпочтительнее на практике осуществлять в ходе проведения непрерывного процесса. В этом случае антирастворитель и инжекционный раствор подают в осадительную камеру, а профильтрованный рафинат отводят из камеры в виде движущегося сверху вниз потока через находящееся в ее нижней части корзиночное фильтрующее устройство с такой регулируемой скоростью, при которой давление в камере остается практически постоянным в течение всего процесса. Когда количество растворенного в жидком растворителе-носителе твердого продукта, добавленного в фильтровальную корзину, является достаточным для ее заполнения полученным твердым веществом, подаваемый поток инжекционного раствора временно приостанавливается, в то время как поток чистого антирастворителя продолжает поступать в нее из осадительной камеры под рабочим давлением, что позволяет промывать осадительную камеру антирастворителем, содержащим смешивающийcя растворитель-носитель. После прохождения определенного объема чистого антирастворителя через камеру впускное отверстие для подачи антирастворителя перекрывают, тогда как движение сверху вниз потока антирастворителя продолжается. В результате такой операции давление в камере понижается до нормального, что позволяет открыть камеру и удалить фильтровальную корзину, содержащую тонкодисперсное полученное твердое вещество. В результате получают тщательно высушенный легкосыпучий тонкодисперсный твердый продукт. Использование вакуума, с которым сообщают осадительную камеру до ее открывания, может способствовать полному удалению (обезгаживанию) остаточного антирастворителя и/или остаточного жидкого растворителя-носителя из тонкодисперсного твердого продукта. Пропускание под низким давлением потока азота или другого инертного газа через камеру, в которой понижено давление, перед ее открыванием также упрощает полное удаление антирастворителя, который может быть адсорбирован твердым веществом.

[35]

В ходе проведения периодического процесса микроосаждения, где не предусмотрено наличие никакого выхода потока в нижней части фильтровальной корзины, помимо заполнения доверху корзины для сбора продукта на логическое завершение процесса микроосаждения могут оказывать влияние другие факторы. Периодический процесс обычно ограничивается тем фактором, что по мере накопления жидкого растворителя-носителя в осадительной камере растворимость тонкодисперсного твердого продукта в смеси жидкого растворителя-носителя с антирастворителем также повышается то такой степени, когда в рафинате могло бы раствориться значительное количество целевого продукта, вследствие чего прекращается накопление в системе фильтровальной корзины. Более того, поскольку инжекционный раствор непрерывно подают в осадительную камеру для осуществления периодического микроосаждения, давление в камере постоянно повышается, что может послужить причиной необходимости завершения периодического процесса до того, как будет превышено максимально допустимое давление, остающееся в этом случае в рабочих пределах.

[36]

В ходе проведения периодического или непрерывного процесса можно предвидеть и другие приемлемые методы сброса давления и сбора тонкодисперсного твердого продукта, которыми не ограничиваются рамки настоящего изобретения, поскольку основной эффект осуществления предлагаемого способа достигается введением твердого вещества, растворенного в хорошем жидком растворителе-носителе, в контакте с антирастворителем, что позволяет получить выделяемый тонкодисперсный твердый продукт, который обладает полезными и выгодными свойствами. В соответствии с одной из таких альтернативных схем сбора продукта можно было бы исключить сбор этого твердого продукта в сеточной фильтровальной корзине в камере смешения и осаждения, а пропускать шлам микроосажденного продукта в антирастворителе по выпускному каналу, который разветвляется на два отдельных устройства фильтрования (сбора таким образом, что наличие соответствующего клапанного вентильного приспособления позволяет одно корзиночное приспособление для сбора разгружать после сброса в нем давлния, тогда как другое приспособление использовать для непрерывного сбора твердого продукта). В результате можно избежать проведения прерывистых операций смешения и осаждения в смесительной камере с целью ее освобождения от собранного продукта и обеспечить возможность проведения действительно непрерывного процесса микроосаждения антирастворителем.

[37]

Рабочими условиями являются такие, при которых обеспечивается растворение твердого вещества в жидком растворителе-носителе приблизительно 1-100% от предела насыщения этим твердым веществом жидкого растворителя-носителя, предпочтительнее примерно 50-95%, более предпочтительно 70-95%.

[38]

Возможно, если это желательно, осуществление способа в стерильных условиях, позволяющих получать тонкодисперсный стерильный кристаллический или порошкообразный продукт, с использованием стерилизующих фильтрующих устройств (в частности, с фильтром со средним размером пор 0,2 мкм), установленных последовательно, за которыми следует автоклав 1 (см.чертеж). Так, например, раствор растворенного вещества в растворителе-носителе можно подвергать стерилизации фильтрованием путем пропускания этого раствора из расходного резервуара 2 для раствора через стерилизационный фильтр 3 и пропускания сжатого ожиженного или суперкритического газа из резервуара 4 для хранения газа через стерилизационный фильтр 5 перед смешиванием соответствующих растворенного компонента и газовых поток в стерилизованной автоклаве 1.

[39]

Обозначения, принятые в тексте описания и таблицах:
ДМФ - диметилформамид;
СО2 - двуокись углерода.

[40]

Рафинат - раствор или смесь, которая образуется, содержащая жидкий растворитель-носитель, растворенный в антирастворителе, с небольшим количеством растворенного твердого вещества (растворенного вещества) или без него.

[41]

Термин "фармацевтический" служит для обозначения как прописанных, так и непрописанных лекарств.

[42]

Термин "фармацевтически приемлемый" служит для указания на те свойства и/или вещества, которые приемлемы для пациента с фармакологической (токсикологической) точки зрения и для химико-фармацевта с физической и химической точки зрения, принимая во внимание количественный и качественный состав, стабильность, допустимость для пациента и биологическую пригодность.

[43]

При использовании растворительных пар соотношения между количествами растворителей выражены в объеме на объем (об/об.)
При ссылке на растворимость твердого вещества в растворителе используют соотношение между твердыми веществами и растворителем мас./об.

[44]

В табл.1 приведено термодинамическое состояние в зависимости от температуры Т и давления Р.

[45]

В табл.2 - возможный подбор жидкого растворителя-носителя и сверхкритической жидкости для получения различных фармацевтических препаратов.

[46]

П р и м е р 1. Периодическая кристаллизация.

[47]

Готовят раствор 6,5 г трианцинолонацетонида в 140 мл ТГФ.

[48]

Двухлитровый автоклав 1 заполняют двуокисью углерода при 24оС и с помощью мембранного компрессора жидкость в автоклаве сжимают под давлением 100 бар. Затем включают перемешивающее устройство 6 (источник приводящей энергии не показан). Резервуар 2 (50 мл) наполняют раствором ТГФ (трианцинолонацетонида. В момент времени 0 включают дизирующий насос высокого давления, с помощью которого в перемешиваемую двуокись углерода начинают подавать ТГФ-стероидный раствор с расходом потока 7 мл/мин. По истечении 5,5 мин количество введенного ТГФ (стероидного раствора) достигнет 39 мл, а дозирующий насос на мгновение выключают. Расходный резервуар вновь заполняют ТГФ-стероидным раствором и вновь включают дозирующий насос. По истечении 12,5 мин расходный резервуар вновь оказывается почти пустым, вследствие чего приходится вновь отключать дозирующий насос. В общей сложности в автоклав загружают 4 г трианцинолонацетонида. Избыточное давление в автоклаве 1 сбрасывают постепенным удалением содержащейся в нем жидкой смеси двуокись углерода - ТГФ под высоким давлением через нижний клапан (вентиль) 7 автоклава (продувочный газ сброшен в атмосферу). Затем кристаллы промывают повторным заполнением жидкой двуокисью углерода и созданием в сосуде повышенного давления (60 бар), перемешивают в течение 10 мин, а затем давление сбрасывают через нижний клапан 7. Далее устройство 5 отключают. Вновь пропускают через нижний клапан 7 двуокись углерода. Затем снимают крышку 8 автоклава и удаляют фильтрующую корзину 9. На боковых стенках фильтровальной корзины остается прилипшим приблизительно 1 г тонкодисперсного белого порошка, тонкий слой которого покрывает также большую часть нижней пластины 10 микронного фильтра.

[49]

При исследовании под калиброванным обычным микроскопом порошка определяют, что размеры большей части индивидуальных частиц составляет менее 10 мкм, а размеры немногих более крупных частиц равны 20-30 мкм.

[50]

П р и м е р 2. Непрерывная кристаллизация.

[51]

Такой вариант процесса является предпочтительным. В результате можно получить значительно больше продукта в единицу времени.

[52]

Почти насыщенный инжекционный раствор готовят растворением 8 г трианцинолонацетонида в 250 мл ТГФ при 20-25оС. Затем в автоклаве 1 с установленной фильтровальной корзиной с использованием двуокиси углерода, подаваемого компрессором 11 создают давление, достигающее 110 бар, и с перемешиванием со скоростью 2200 об./мин содержимое нагревают до 49оС. Расходный резервуар 2 заполняют 250 мл трианцинолонацетонид/ТГФ-инжекционного раствора. Затем нижний клапан 7 автоклава открывают и выпускают через днище двуокись углерода, одновременная подача которого позволяет поддерживать в автоклаве постоянное давление 110-111 бар, которое регулируется регулятором 12 обратного давления.

[53]

При непрерывной подаче чистой двуокиси углерода с постоянной скоростью потока приблизительно 30 г/мин включают дозирующий насос 13 высокого давления, который обеспечивает подачу ТГФ-трианцинолонацетонидного инжекционного раствора в автоклав 1 при 20-25оС и постоянной скорости 6,8 мл/мин. Инжекцию продолжают в течение 34 мин, до подачи приблизительно 230 мл инжекционного раствора в постоянный ток двуокиси углерода (0,90 кг). Затем подачу инжекционного раствора прекращают, но через автоклавную камеру пропускают примерно 0,2 кг чистой двуокиси углерода при 49oС и давлении 110 бар, собирая твердый продукт, для удаления из камеры остатков ТГФ.

[54]

Далее отверстие для впуска двуокиси углерода перекрывают, продолжая выпускать двуокись углерода из нижней части автоклава до тех пор, пока давление в нем не понизится до нормального. Затем автоклав открывают и удаляют систему с корзиночным фильтром. Камера для сбора продукта содержит 7,05 т трианцинолонацетонида в виде тонкодисперсного белого сухого порошка, что соответствует степени рекуперации 88 мас.%. Средний размер частиц микроосажденного продукта составляет приблизительно 5-10 мкм, как это определяют с помощью калиброванного оптического микроскопа.

Как компенсировать расходы
на инновационную разработку
Похожие патенты